|
|
(21), (22) Заявка: 2006141347/11, 29.06.2005
(24) Дата начала отсчета срока действия патента:
29.06.2005
(30) Конвенционный приоритет:
15.07.2004 FR 04 07863
(43) Дата публикации заявки: 27.05.2008
(46) Опубликовано: 20.04.2009
(56) Список документов, цитированных в отчете о поиске:
US 3666211 А1, 30.05.1972. US 3936017 A1, 03.02.1976. RU 2100257 C1, 27.12.1997. EP 1069044 A, 17.01.2001. FR 1047027 A, 10.12.1953.
(85) Дата перевода заявки PCT на национальную фазу:
22.11.2006
(86) Заявка PCT:
FR 2005/001649 20050629
(87) Публикация PCT:
WO 2006/016031 20060216
Адрес для переписки:
129090, Москва, ул. Б.Спасская, 25, стр.3, ООО “Юридическая фирма Городисский и Партнеры”, пат.пов. Ю.Д.Кузнецову, рег. 595
|
(72) Автор(ы):
КАЗАЛЬ Оливье (FR), ЖЕНТИ ДЕ ЛЯ САНЬ Жэм (FR), РИТТЭНГО Дени (FR)
(73) Патентообладатель(и):
ЭРБЮС ФРАНС (FR)
|
(54) МНОГОМОТОРНЫЙ САМОЛЕТ
(57) Реферат:
Изобретение относится к области авиации, более конкретно – к многомоторному самолету и способу снижения шума, создаваемого самолетом. Способ снижения шума, создаваемого самолетом, оборудованным двумя двигателями, установленными на крыльях симметрично по отношению к вертикальной продольной плоскости симметрии фюзеляжа упомянутого самолета, заключается в том, что заднюю часть упомянутого фюзеляжа оборудуют хвостовыми частями, образующими канал, симметричный по отношению к упомянутой продольной плоскости фюзеляжа. При этом на верхнюю часть задней части упомянутого фюзеляжа устанавливают третий двигатель. Этот третий двигатель расположен своей осью в плоскости симметрии упомянутого канала, соответствующей упомянутой вертикальной продольной плоскости симметрии, приподнят относительно упомянутой верхней части задней части фюзеляжа и расположен перед упомянутыми хвостовыми частями. При этом его выход находится на входе упомянутого канала, образованного упомянутыми хвостовыми частями. Упомянутый третий двигатель отличается от двигателей, установленных на крыльях, или идентичен им. Изобретение направлено на снижение шума, создаваемого двигателями самолета. 3 н. и 16 з.п. ф-лы, 5 ил.
Настоящее изобретение относится к многомоторному самолету, а точнее, хотя и не исключительно, к самолету, оснащенному тремя двигателями, два из которых соединяют соответствующим образом с крыльями фюзеляжа симметрично по отношению к вертикальной продольной плоскости фюзеляжа, а третий устанавливают в задней части фюзеляжа в зоне хвостовых частей.
Известны самолеты, оснащенные тремя двигателями и имеющие конструкцию, кратко описанную выше, например Lockheed L1011 и McDonnell Douglas DC-10 или MD-11. В частности, третий двигатель конструктивно и геометрически устанавливают между горизонтальным оперением и вертикальным оперением в хвостовой части, и он несет на себе киль вертикального хвостового оперения. Такие самолеты, конструкцию которых датируют 1970-ми годами и некоторые из которых все еще находятся в эксплуатации, оснащают силовыми двигателями для выполнения полетов на дальние расстояния, однако вследствие той эпохи, когда они были разработаны, эти двигатели создают значительный шум и имеют высокий расход топлива. Точнее, шум, создаваемый третьим двигателем, особенно беспокоит пассажиров, находящихся в задней части салона, а также жителей, проживающих вблизи аэропортов, когда самолет находится в режиме посадки или взлета, поскольку расположение третьего двигателя означает, что шум распространяется по кругу от задней части фюзеляжа.
Поэтому от такой конструкции постепенно отказались, заменяя ее более простой конструкцией, содержащей два реактивных двигателя, с получением при этом тождественных эксплуатационных характеристик.
В настоящее время, за исключением самолетов, предназначенных для весьма дальних полетов, типа Airbus A-340 и Boeing 747, авиалайнеры конструируют главным образом с двумя двигателями, например турбовентиляторными, которые размещены симметрично и соответствующим образом на крыльях фюзеляжа. Прогресс, достигнутый в технике, сделал возможным разработку особенно мощных турбовинтовых двигателей, обладающих высокими рабочими характеристиками, так что эти воздушные корабли с двумя реактивными двигателями могут совершать полеты не только на короткие и средние расстояния, поскольку большинство из них аттестовано на выполнение полетов на большие расстояния с обеспечением при этом полной безопасности несмотря на использование только двух двигателей и даже в случае отказа одного из них.
Однако, с другой стороны, эти мощные турбовинтовые двигатели имеют увеличенные массу и размеры, что вызывает необходимость соответствующего проектирования конструкции самолета (фюзеляжа, крыльев и особенно стоек шасси) так, чтобы она могла выдерживать возникающие напряжения, а вследствие своих повышенных размеров реактивные двигатели также создают значительный уровень шума как для пассажиров, так и для жителей, проживающих вблизи аэропортов (в режиме взлета и посадки), несмотря на тот прогресс, который достигнут в этой области изготовителями двигателей.
Цель настоящего изобретения заключается в устранении указанных недостатков.
Согласно изобретению для достижения этой цели многомоторный самолет содержит, по меньшей мере, два первых двигателя и третий двигатель, который устанавливают на задней части фюзеляжа, имеющего хвостовое оперение, вдоль вертикальной продольной плоскости симметрии фюзеляжа, причем хвостовые части оперения образуют канал, который симметричен по отношению к продольной плоскости фюзеляжа, и третий двигатель размещают в плоскости симметрии канала, соответствующей продольной плоскости симметрии фюзеляжа, и устанавливают на верхней части фюзеляжа приподнятым перед хвостовыми частями так, чтобы выходное отверстие третьего двигателя было расположено по существу у входа канала, образуемого хвостовыми частями оперения, при этом самолет отличается тем, что два первых двигателя соединяют с крыльями фюзеляжа соответствующим образом и симметрично по отношению к вертикальной продольной плоскости симметрии фюзеляжа, и тем, что хвостовые части, образующие канал, включают в себя горизонтальную хвостовую часть, оснащенную стабилизаторами, при этом стабилизаторы горизонтальной хвостовой части незначительно отклонены симметрично к задней части фюзеляжа, так чтобы придать им, если смотреть в горизонтальной плоскости, перпендикулярной вертикальной продольной плоскости, расходящуюся V-образную форму, заострение которой соответствует их соединению с задней частью фюзеляжа.
Таким образом, согласно изобретению конструкция хвостовых частей и компоновка третьего двигателя у входа канала позволяют значительно уменьшить прежние проблемы в отношении акустики, поскольку шум, создаваемый третьим двигателем на фюзеляже, будет поглощен каналом, и будет выходить вдоль канала и вверх от фюзеляжа, то есть в сторону от пассажиров, находящихся в задней части салона и в сторону значительного удаления от жителей, проживающих в районе аэропортов. Таким образом, создаваемый шум будет заглушен хвостовыми частями фюзеляжа, которые образуют акустический экран.
Следовательно, поскольку изобретение позволяет частично устранить проблемы, связанные с шумом, можно возвратиться к конструкции с тремя двигателями и таким образом спроектировать самолет, преимущественно оснащенный двигателями на крыльях, которые имеют меньшие размеры и поэтому имеют меньший вес и менее шумны, но с сохранением при этом общей мощности, которая аналогична мощности самолета с двумя реактивными двигателями, причем оснащенного большими двигателями.
Кроме того, использование трех двигателей не приводит к увеличению массы самолета по сравнению с самолетом, имеющим два двигателя (поскольку двигатели на крыльях меньше), а дополнительная масса, связанная с конструкцией канала, образуемого хвостовыми частями, будет в значительной степени компенсирована снижением массы стоек шасси по той причине, что в случае меньших двигателей стойки шасси будут иметь меньшие размеры и будут менее массивными.
Предпочтительно, чтобы канал, образуемый задними хвостовыми частями, приблизительную имел форму U, основание которой соответствует двум стабилизаторам горизонтальной хвостовой части, которые выходят соответственно с каждой стороны задней части фюзеляжа, в то время как боковые ответвления соответствуют двум килям вертикальной хвостовой части, которые расположены у концов стабилизаторов.
Согласно еще одному варианту хвостовые части могут быть сформированы в виде Н, при этом верхняя часть Н соответствует каналу.
Предпочтительно, чтобы третий двигатель, расположенный перед каналом, был установлен таким образом, чтобы его геометрическая ось, находящаяся в вертикальной продольной плоскости симметрии, проходила вблизи от основания канала. Таким образом, газы, выходящие из двигателя, будут «захвачены» в донном месте канала и будут течь вдоль хвостовых частей, теряя в течение этого процесса некоторую часть своей энергии.
Предпочтительно, чтобы верхний участок задней части фюзеляжа был ровным в плоскости, которая перпендикулярна вертикальной продольной плоскости симметрии фюзеляжа. Таким образом, если каналу придана U-образная форма, горизонтальная хвостовая часть продлевает выровненный задний участок фюзеляжа фактически непрерывным образом.
Помимо указанного для возможности оптимального поглощения каналом газов, выходящих из двигателя, и, следовательно, для максимального глушения создаваемого шума, стабилизаторы горизонтальной хвостовой части незначительно симметрично наклонены в верхнем направлении, так чтобы придать им, если смотреть в вертикальной плоскости, перпендикулярной вертикальной продольной плоскости, расходящуюся V-образную форму, заострение которой соответствует их соединению с задней частью фюзеляжа.
Кроме того известно оснащение гражданских самолетов вспомогательным генератором мощности в дополнение к двигателям, в частности для работы вспомогательных систем, когда самолет находится на земле. Согласно изобретению третий двигатель может приводить в действие вспомогательный генератор мощности.
Далее, третий двигатель может быть идентичен двум двигателям на крыльях или отличается от них.
Из прилагаемых чертежей будет вполне понятно, как может быть осуществлено изобретение. На этих чертежах идентичные позиции использованы для обозначения подобных элементов.
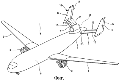
На фиг.1 показан вид в перспективе представленного в качестве примера варианта осуществления конструкции многомоторного самолета согласно изобретению.
На фиг.2, 3 и 4 показаны соответственно вид сбоку, вид сверху и вид спереди самолета, представленного на фи.1.
На фиг.5 представлен увеличенный вид в перспективе задней части фюзеляжа, оснащенной третьим двигателем.
В показанном в качестве примера варианте осуществления конструкции, представленном на фиг.1-4, самолет 1 снабжен тремя двигателями (турбовинтового типа), два 2, 3 из которых расположены соответствующим образом под крыльями 4, 5 фюзеляжа 6 симметрично по отношению к вертикальной продольной плоскости Р симметрии фюзеляжа, а третий двигатель 7 установлен в задней части 8 фюзеляжа, содержащей горизонтальную и вертикальную задние хвостовые части 9 и 10, вдоль продольной плоскости Р. Позиция 13 обозначает обычную стойку шасси такого самолета.
На фиг.1, 4 и 5 показано более определенно, что горизонтальная 9 и вертикальная 10 хвостовые части согласно изобретению образуют канал 11, который в этом примере выполнен приблизительно U-образным и который геометрически симметричен по отношению к продольной плоскости Р фюзеляжа 6. Третий двигатель 7 расположен в плоскости симметрии канала, то есть в плоскости Р, и предпочтительно установлен в верхней части 8А задней части 8 фюзеляжа перед горизонтальной 9 и вертикальной 10 хвостовыми частями, так что его выходное отверстие 7А находится у входа канала 11, как показано, в частности, на фиг.2 и 3.
Горизонтальная хвостовая часть 9 конструктивно состоит из двух стабилизаторов 12, жестко прикрепленных к задней части фюзеляжа и расположенных симметрично и соответствующим образом с каждой стороны его плоскости Р симметрии. Эти стабилизаторы образуют основание U-образного канала 11 и для оптимального заключения в канал распространяемого шума, создаваемого двигателем, они отклонены вверх и назад по отношению к фюзеляжу.
При этом на фиг.1, 4 и 5 показано, что стабилизаторы 12 незначительно наклонены вверх, симметрично, по отношению к горизонтали, так чтобы придать им широко расходящуюся V-образную форму, заострение которой соответствует зоне 14 задней части фюзеляжа, который их соединяет. Таким образом, основание U-образного канала 11 незначительно вогнуто. Кроме того, стабилизаторы 12 также отклонены симметрично в заднем направлении, если смотреть сверху, как показано на фиг.3, так чтобы придать им широко расходящуюся V-образную форму, которая начинается от фюзеляжа и заострение которой соответствует зоне соединения 14. Безусловно, стабилизаторы 12 горизонтальной хвостовой части 9 снабжены соответствующими рулями высоты 15.
Что касается вертикальной хвостовой части 10, то она состоит из двух килей 16, которые симметричны по отношению к плоскости Р и которые жестко прикреплены к верхней части свободных концов стабилизаторов 12, то есть тех концов, которые противоположны концам, идущим от фюзеляжа. Кили 16 расположены по вертикали параллельно друг другу и образуют боковые ответвления U-образной формы канала так, как, в частности, показано на фиг.4. У заднего края килей дополнительно установлены рули направления 17, а передний край килей наклонен таким образом, что каждый киль, если смотреть в плоскости согласно фиг.2, сужается в направлении его верхнего концевого края.
Кроме того, верхняя часть 8А задней части 8 фюзеляжа незначительно выровнена в плоскости, которая перпендикулярна вертикальной продольной плоскости Р, так чтобы стабилизаторы 12 горизонтальной хвостовой части приблизительно следовали за верхним профилем выровненной соединительной зоны 14 задней части, как, в частности, показано на фиг.5.
Третий двигатель 7, который расположен спереди от канала, образуемого хвостовыми частями 9, 10, устанавливают таким образом, чтобы его горизонтальная геометрическая ось А, которая находится в плоскости Р, проходила в донной части U-образной формы канала.
Поэтому для обеспечения такой возможности третий двигатель устанавливают приподнятым по отношению к выровненной задней части фюзеляжа, так чтобы его входное отверстие 7В было расположено выше фюзеляжа, как показано на фиг.2 и 4, и так, чтобы его выходное отверстие 7А было направлено к донной части U-образной формы канала 11, то есть находилось вблизи, но на расстоянии от зоны 14 соединения с горизонтальной хвостовой частью.
Таким образом, температура газов, выпускаемых соплом двигателя 7, не оказывает воздействия на окружающую конструкцию, а создаваемые акустические волны будут направлены к каналу 11 с профилями, схематически указанными на фиг.2 и 3 позициями В1 и В2 (см. ниже).
Благодаря сочетанию хвостовых частей в форме U-образного канала 11 и расположения третьего двигателя 7 впереди от канала в его плоскости симметрии акустические проблемы, связанные с расположением этого двигателя, большей частью будут решены, поскольку акустические волны, создаваемые двигателем и генерируемые соплом и винтом (соответственно В1 и В2 на фиг.2 и 3), будут рассеяны в случае указанных профилей по выровненному концу 14 задней части 8 фюзеляжа и по стабилизаторам 12, так чтобы подниматься в направлении стрелок f, как показано схематически (фиг.2-4), посредством расходящейся V-образной компоновки стабилизаторов к вертикальным килям 17 и вдоль них, откуда они будут отведены наружу и вверх, то есть в сторону от пассажиров, которые находятся сзади, и далеко в сторону от жителей, проживающих вблизи аэропортов.
Следовательно, применение третьего двигателя позволяет использовать два двигателя под крыльями, тяга которых меньше, чем у обычного двухмоторного самолета, и которые поэтому создают меньший шум и имеют меньшую массу, так что размер и масса стоек шасси 13 (основных и носовой) могут быть уменьшены, при этом снижение массы в значительной степени будет компенсировать дополнительную массу, создаваемую U-образными хвостовыми частями.
Кроме того, третий двигатель также может быть использован для приведения в действие вспомогательного генератора мощности.
Безусловно, третий двигатель может обладать мощностью, которая отличается от мощности двух двигателей под крыльями.
Формула изобретения
1. Способ снижения шума, создаваемого самолетом, оборудованным двумя двигателями, установленными на крыльях симметрично по отношению к вертикальной продольной плоскости симметрии фюзеляжа упомянутого самолета, отличающийся тем, что заднюю часть (8) упомянутого фюзеляжа оборудуют хвостовыми частями (9, 10), образующими канал (11), симметричный по отношению к упомянутой продольной плоскости фюзеляжа, при этом на верхнюю часть (8А) задней части (8) упомянутого фюзеляжа устанавливают третий двигатель (7) так, что этот третий двигатель расположен своей осью в плоскости симметрии упомянутого канала, соответствующей упомянутой вертикальной продольной плоскости симметрии, приподнят относительно упомянутой верхней части (8А) задней части фюзеляжа и расположен перед упомянутыми хвостовыми частями, при этом его выход (7А) находится на входе упомянутого канала (11), образованного упомянутыми хвостовыми частями.
2. Самолет, в котором реализуется способ по п.1, отличающийся тем, что упомянутый третий двигатель отличается от упомянутых двигателей, установленных на крыльях.
3. Самолет по п.2, отличающийся тем, что упомянутый канал (11), образованный задними хвостовыми частями, имеет приблизительную форму U, основание которой соответствует двум стабилизаторам (12) горизонтальной хвостовой части (9), выступающим соответственно по обе стороны задней части упомянутого фюзеляжа, тогда как боковые ответвления соответствуют двум килям (16) вертикальной хвостовой части (10), которые находятся у конца упомянутых стабилизаторов.
4. Самолет по п.2, отличающийся тем, что упомянутый канал (11) имеет по существу форму V.
5. Самолет по п.2, отличающийся тем, что хвостовые части приблизительно образуют форму Н, при этом верхняя часть формы Н соответствует каналу (11).
6. Самолет по любому из пп.2-5, отличающийся тем, что упомянутый третий двигатель (7), располагаемый перед упомянутым каналом (11), установлен таким образом, что его ось, находящаяся в вертикальной продольной плоскости симметрии, проходит вблизи от основания упомянутого канала.
7. Самолет по любому из пп.2-5, отличающийся тем, что верхняя часть (8А) задней части (8) фюзеляжа (6) выровнена в плоскости, которая перпендикулярна упомянутой вертикальной продольной плоскости симметрии фюзеляжа.
8. Самолет по п.3 или 5, отличающийся тем, что упомянутые стабилизаторы (12) горизонтальной хвостовой части незначительно симметрично отклонены в сторону задней части упомянутого фюзеляжа так, чтобы придать им, если смотреть в горизонтальной плоскости, перпендикулярной к упомянутой вертикальной продольной плоскости, расходящуюся V-образную форму, заострение которой соответствует их соединению с задней частью упомянутого фюзеляжа.
9. Самолет по п.3 или 5, отличающийся тем, что упомянутые стабилизаторы (12) горизонтальной хвостовой части незначительно симметрично отклонены в верхнем направлении так, чтобы придать им, если смотреть в вертикальной плоскости, перпендикулярной к упомянутой вертикальной продольной плоскости симметрии, расходящуюся V-образную форму, заострение которой соответствует их соединению с задней частью упомянутого фюзеляжа.
10. Самолет по любому из пп.2-5, отличающийся тем, что он оборудован вспомогательным генератором мощности, причем упомянутый третий двигатель (7) может приводить в действие упомянутый вспомогательный генератор мощности.
11. Самолет, в котором реализуется способ по п.1, отличающийся тем, что упомянутый третий двигатель идентичен упомянутым двигателям, установленным на крыльях.
12. Самолет по п.11, отличающийся тем, что упомянутый канал (11), образованный задними хвостовыми частями, имеет приблизительную форму U, основание которой соответствует двум стабилизаторам (12) горизонтальной хвостовой части (9), выступающим соответственно по обе стороны задней части упомянутого фюзеляжа, тогда как боковые ответвления соответствуют двум килям (16) вертикальной хвостовой части (10), которые находятся у конца упомянутых стабилизаторов.
13. Самолет по п.11, отличающийся тем, что упомянутый канал имеет по существу форму V.
14. Самолет по п.11, отличающийся тем, что хвостовые части приблизительно образуют форму Н, при этом верхняя часть формы Н соответствует каналу (11).
15. Самолет по любому из пп.11-14, отличающийся тем, что упомянутый третий двигатель (7), располагаемый перед упомянутым каналом (11), установлен таким образом, что его ось, находящаяся в вертикальной продольной плоскости симметрии, проходит вблизи от основания упомянутого канала.
16. Самолет по любому из пп.11-14, отличающийся тем, что верхняя часть (8А) задней части (8) фюзеляжа (6) выровнена в плоскости, которая перпендикулярна упомянутой вертикальной продольной плоскости симметрии фюзеляжа.
17. Самолет по п.12 или 14, отличающийся тем, что упомянутые стабилизаторы (12) горизонтальной хвостовой части незначительно симметрично отклонены в сторону задней части упомянутого фюзеляжа так, чтобы придать им, если смотреть в горизонтальной плоскости, перпендикулярной к упомянутой вертикальной продольной плоскости, расходящуюся V-образную форму, заострение которой соответствует их соединению с задней частью упомянутого фюзеляжа.
18. Самолет по п.12 или 14, отличающийся тем, что упомянутые стабилизаторы (12) горизонтальной хвостовой части незначительно симметрично отклонены в верхнем направлении так, чтобы придать им, если смотреть в вертикальной плоскости, перпендикулярной к упомянутой вертикальной продольной плоскости симметрии, расходящуюся V-образную форму, заострение которой соответствует их соединению с задней частью упомянутого фюзеляжа.
19. Самолет по любому из пп.11-14, отличающийся тем, что он оборудован вспомогательным генератором мощности, причем упомянутый третий двигатель (7) может приводить в действие упомянутый вспомогательный генератор мощности.
РИСУНКИ
|
|