|
|
(21), (22) Заявка: 2007135655/11, 25.09.2007
(24) Дата начала отсчета срока действия патента:
25.09.2007
(46) Опубликовано: 20.04.2009
(56) Список документов, цитированных в отчете о поиске:
RU 24989 U1, 10.09.2002. RU 49495 U1, 27.11.2005. US 5115999 A, 26.05.1992. DE 9421813 U1, 28.11.1996.
Адрес для переписки:
432027, г.Ульяновск, ул. Северный Венец, 32, ГОУ ВПО “Ульяновский государственный технический университет”, проректору по научной работе
|
(72) Автор(ы):
Белый Давид Михайлович (RU)
(73) Патентообладатель(и):
Государственное образовательное учреждение высшего профессионального образования “Ульяновский государственный технический университет” (RU)
|
(54) СПОСОБ ДИСТАНЦИОННОГО УПРАВЛЕНИЯ УГЛОМ ПОВОРОТА АВИАЦИОННЫХ ПАССАЖИРСКИХ КРЕСЕЛ И УСТРОЙСТВО ДЛЯ ЕГО ОСУЩЕСТВЛЕНИЯ
(57) Реферат:
Способ дистанционного управления углом поворота авиационных пассажирских кресел и устройство для его осуществления предназначены для оборудования пассажирских самолетов Устройство, обеспечивающее реализацию способа, содержит раму с размещенным на ней сиденьем со спинкой. Рама связана с механизмами дистанционного поворота и перемещения в горизонтальной плоскости, а также со средствами для установки кресла на монтажное место салона. Соединение кресла с рамой выполнено с возможностью поворотов в горизонтальной плоскости на фиксированные углы за счет перестройки своей геометрической структуры под действием сигналов управления. Сиденье и спинка каждого кресла представляют собой единый модуль, соединенный с рамой с помощью винтовой цилиндрической пружины, выполненной из сплава с эффектом памяти механической формы и характеризующейся несколькими последовательно нарастающими температурными порогами срабатывания с также нарастающими однонаправленными фиксированными углами закручивания, соответствующими фиксированным угловым положениям кресла. Торцы пружины изолированы от сиденья и рамы и снабжены клеммами, подключенными к соответствующим данному креслу контактам на пульте управления в кабине пилотов. Достигается обеспечение безопасности полетов. 2 н.п. ф-лы, 2 ил.
Изобретение относится к оборудованию салонов транспортных средств, в частности пассажирских самолетов, обеспечивающему максимальную безопасность и комфортность при движении.
Известны способы дистанционного управления углом поворота авиационных пассажирских кресел на монтажных местах салона, заключающиеся либо в предполетных шаговых поворотах кресел относительно оснований и их фиксации в заданных угловых положениях (см. патент РФ на полезную модель 49495, кл. B60N 2/02, 2/14, 2005 [1]), либо также в предполетных двухкоординатных смещениях кресел в горизонтальной плоскости с их последующими поворотами в той же плоскости (см. патент РФ на изобретение 2224689, кл. B64D 11/06, B60N 2/005, 2/04, 2001 [2]).
Недостатками известных способов являются невозможность оперативной перестройки угла установки кресла непосредственно в процессе полета в зависимости от режима последнего, что ограничивает функциональные возможности способа, снижает комфортность и безопасность полетов, подвергает пассажиров действию дополнительных инерционных нагрузок, то есть ухудшает эксплуатационные характеристики. Это объясняется тем, что при различных режимах полета: взлете, посадке, раскачиванию по углам крена и т.п., пассажир, сидящий в кресле, испытывает максимальные инерционные нагрузки также в различных пространственных направлениях. Наиболее желательным и комфортным является вариант, когда смещения тела пассажира под действием этих инерционных нагрузок ограничиваются не ремнями или боковинами с подлокотниками и т.д., а непосредственно спинкой кресла, в которую пассажир при действии нагрузок будет упираться спиной (очевидно, что такой вариант не сравним с упором, например, животом или грудной клеткой в пристегные ремни).
Наиболее близким способом того же назначения к заявленному изобретению по совокупности признаков является способ дистанционного управления углом поворота авиационных кресел для пассажиров на монтажных местах салона, включающий исходную предполетную установку каждого кресла в заданное положение путем двух его линейных ортогональных смещений в горизонтальной плоскости и последующего поворота в той же плоскости (см. патент РФ на полезную модель 24989, кл. B64D 11/06, B60N 2/14, 2001 [3], и принятый за прототип).
Недостатком известного способа-прототипа являются низкие комфортность и безопасность полетов вследствие невозможности перестройки угла установки кресла непосредственно в процессе полета в зависимости от его режима, то есть ограниченные функциональные возможности и низкие эксплуатационные характеристики.
Известны устройства для дистанционного управления углом поворота авиационных пассажирских кресел на монтажных местах салона, содержащие либо два поворотных относительно друг друга фланца, закрепленных на сиденье и основании, и механизм фиксации в виде размещенного между фланцами шарика, взаимодействующего с коническими отверстиями и регулировочным винтом, размещенным на плоской пружине [1], либо механизм поворота, жестко связанный с механизмом перемещения в горизонтальной плоскости, содержащем опоры скольжения в двух ортогональных направлениях, а также ползуны и поперечные тормоза в каждом направлении [2].
Недостатками известных устройств являются предельная сложность конструкции, низкая надежность, а также ограниченные функциональные возможности вследствие их неспособности изменять угол поворота кресел непосредственно в процессе полета в зависимости от его режимов.
Наиболее близким устройством того же назначения к заявленному изобретению по совокупности признаков является устройство для дистанционного управления углом поворота авиационных пассажирских кресел на монтажных местах салона, содержащее раму с размещенными на ней сиденьем и спинкой, связанную с механизмом дистанционного поворота и перемещения в горизонтальной плоскости, а также со средствами для установки кресла на монтажное место салона [3], принятое за прототип.
Недостатками устройства-прототипа являются его ограниченные функциональные возможности, а также низкие эксплуатационные характеристики.
Сущность изобретения заключается в создании простого и надежного способа управления и устройства для его осуществления, отличающихся расширенными функциональными возможностями и высокими эксплуатационными характеристиками вследствие возможности дистанционного управления углом поворота авиационных пассажирских кресел в горизонтальной плоскости на фиксированные углы непосредственно в процессе полета в зависимости от его режимов за счет перестройки геометрических параметров средств соединения кресел с монтажными местами салона под действием сигналов управления, определяемых режимами полета.
Технический результат – расширение функциональных возможностей способа и устройства для его осуществления, а также улучшение их эксплутационных характеристик.
Указанный технический результат при осуществлении изобретения заключается в том, что в известном способе дистанционного управления углом поворота авиационных пассажирских кресел на монтажных местах салона, включающем исходную предполетную установку каждого кресла в заданное угловое положение с помощью механизма поворота, особенность заключается в том, что соединение кресла с рамой выполнено с возможностью поворотов в горизонтальной плоскости на фиксированные углы за счет перестройки своей геометрической структуры под действием сигналов управления, для чего сиденье и спинка каждого кресла представляют собой единый модуль, соединенный с рамой с помощью винтовой цилиндрической пружины, выполненной из сплава с эффектом памяти механической формы и характеризующейся несколькими последовательно нарастающими температурными порогами срабатывания с также нарастающими однонаправленными фиксированными углами закручивания, соответствующими фиксированным угловым положениям кресла, торцы пружины изолированы от сиденья и рамы и снабжены клеммами, подключенными к соответствующим данному креслу контактами на пульте управления в кабине пилотов, при этом осуществляют повороты всех кресел непосредственно в процессе полета самолета в фиксированные угловые положения, зависящие от режимов полета, в частности в режиме взлета, в положения, совпадающие с ориентацией кресел пилотов; в режиме посадки – в положения, развернутые на угол 180°С относительно ориентации кресел пилотов.
В известном устройстве для осуществления способа дистанционного управления углом поворота авиационных пассажирских кресел, содержащем раму с размещенными на ней сиденьем и спинкой, связанную с механизмами дистанционного поворота и перемещения в горизонтальной плоскости, а также со средствами для установки кресла на монтажное место салона, особенность заключается в том, что соединение кресла с рамой выполнено с возможностью поворотов в горизонтальной плоскости на фиксированные углы за счет перестройки своей геометрической структуры под действием сигналов управления, для чего сиденье и спинка каждого кресла представляют собой единый модуль, соединенный с рамой с помощью винтовой цилиндрической пружины, выполненной из сплава с эффектом памяти механической формы и характеризующейся несколькими последовательно нарастающими температурными порогами срабатывания с также нарастающими однонаправленными фиксированными углами закручивания, соответствующими фиксированным угловым положениям кресла, при этом торцы пружины изолированы от сиденья и рамы и снабжены клеммами, подключенными к соответствующим данному креслу контактам на пульте управления в кабине пилотов.
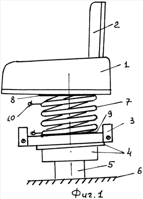
На фиг.1 схематично на общем виде показано одно из кресел с предлагаемым устройством; на фиг.2 – последовательность положений кресел на виде сверху, поясняющая предлагаемый способ.
Устройство для осуществления предлагаемого способа дистанционного управления углом поворота авиационных пассажирских кресел содержит кресло в виде сиденья 1 и спинки 2, жестко соединенных между собой в единый модуль, установленные на раме 3, связанной с механизмами дистанционного поворота и перемещения 4 в горизонтальной плоскости, а также со средствами 5 для установки кресла на монтажное место 6 салона (механизмы 4 и средства 5 изображены схематично, так как они полностью соответствуют устройству-прототипу [3]). При этом соединение кресла 1, 2 с рамой 3 выполнено с возможностью поворота в горизонтальной плоскости на фиксированные углы за счет перестройки своей геометрической структуры под действием сигналов управления, зависящих от режимов полета самолета, для чего модуль сиденье 1 – спинка 2 соединен с рамой 3 с помощью винтовой цилиндрической пружины 7, выполненной из сплава с эффектом памяти механической формы и характеризующейся несколькими последовательно нарастающими температурными порогами срабатывания с также нарастающими однонаправленными фиксированными углами закручивания, соответствующими фиксированным угловым положениям кресла. Торцы пружины 7 изолированы от сиденья 1 и рамы 3 прокладками 8, 9, при этом пружина 7 снабжена по краям боковыми клеммами 10, соединенными с соответствующими данному креслу контактами на пульте управления в кабине пилотов (на чертежах пульт управления не показан), соединенном с источником электрического сигнала, и в частности – с источником постоянного тока. В качестве материала для изготовления винтовой цилиндрической пружины 7 кручения с памятью механической формы использован сплав нитинол (TiNi), относящейся к классу интерметаллических соединений и имеющий стехиометрический состав с содержанием 50 ат.% Ti. Пружина 7 запоминает свое угловое состояние, приданное ей на этапе фазовых превращений материала, причем при нарастании температуры и достижения определенных температурных порогов пружина 7 скачками срабатывает и приобретает фиксированные и также нарастающие в одну сторону угловые положения. В исходном состоянии пружина 7 не деформирована, при нагреве до 180°С примерно за 3 сек пропускания через нее тока пружина скачком закручивается на угол 90°, при дальнейшем нагреве до 160°С пружина еще раз скачком закручивается опять на 90°С, то есть в итоге на 180°С, и, наконец, при нагреве до 190° следует новый скачок в ту же сторону еще на 90°С, то есть в итоге на 270°С. При поддержании указанной температуры пружины 7 сохраняет свое новое состояние, а при сбрасывании температуры также обратными скачками при тех же температурных порогах возвращается в исходное состояние. Изолирующие прокладки 8, 9 изготовлены из фторопласта, выдерживающего разогрев до 250°С и более, теплоизолированного от сиденья 1.
Реализация предлагаемого способа дистанционного управления углом поворота авиационных пассажирских кресел с помощью вышеописанного устройства иллюстрируется схемой на фиг.2. Причем здесь показано разное исходное угловое положение кресел, обеспеченное заданной предполетной их установкой (см. ряды горизонтальные а), б), в), а в каждом из рядов показано три последовательных положения кресел, занимаемых ими в результате регулировки предлагаемым способом. Так на фиг.2а) одно кресло исходно ориентировано в направлении кресел пилотов, при этом пассажир расположен на нем лицом вперед, спинка 2 сзади; на фиг.2б) секция из двух расположенных рядом кресел с такой же угловой ориентацией; на фиг.2в) одно кресло исходно повернуто на 90° относительно кресел пилотов, пассажир обращен исходно лицом к проходу салона самолета.
Теперь рассмотрим режимы реализации предлагаемого способа, при которых осуществляется поворот кресел непосредственно в процессе полета в зависимости от режимов полета. Остановимся на трех характерных режимах полета:
Режим взлета (разгон). Оптимальный вариант, когда спинка 2 кресла сзади пассажира и последнего силы инерции прижимают спиной к спинке 1 кресла. В этом случае на пружины 7 кресел, расположенных, как показано на фиг.2а) и 2б) сигнал с пульта управления не подается, а на кресло на фиг.2в) подается электрический сигнал с пульта управления в кабине пилотов (либо с Земли), пружина разогревается до 120°С и происходит поворот данного кресла против часовой стрелки на угол 90° (пружина установлена соответствующим образом), при этом данный электрический сигнал с заданной амплитудой постоянного тока выдерживается все время взлета, после чего сигнал убирается и кресло на фиг.2в) скачком возвращается в исходное состояние.
Режим бортовой качки (раскачивающий крем). Здесь желательно, чтобы при движении (качании) в одну сторону пассажир упирался спиной в спинку 2 кресла, а в другую сторону – грудью в привязные ремни, в результате спинка 2 будет срывать возможные раскачивания пассажира в кресле. В этой случае кресло на фиг.2а) поворачивают подачей сигнала на угол 90° против часовой стрелки, разогревая пружину до 120°С (2-ая схема в верхнем ряду), в кресло на фиг.2в) сигнал не подают, а в паре расположенных рядом кресел на фиг.2б) пружины 7 установлены встречно, каждую разогревают до 120°С, и они поворачиваются скачком в противоположные стороны на углы 90°С (2-ая схема из 2-х кресел в среднем ряду), при этом крестиком показаны оси вращения кресел, совпадающие с продольными осями пружин 7. (После окончания раскачивания электрический сигнал снимается и кресла на фиг.2а) и 2б) возвращаются в исходные состояния крайние слева положения).
Режим посадки (торможение). Пассажир под действием сил инерции движется вперед, и желательно, чтобы сиденье со спинкой повернулось на 180° относительно ориентации кресел пилотов и пассажир уперся спиной в спинку кресла. Пружина кресла на фиг.2а) подачей в нее тока разогревается до 160°С, в результате чего происходит последовательными скачками два поворота на 90° каждый, в итоге – на 180° против часовой стрелки (3-я схема в верхнем ряду). Аналогичный процесс и на фиг.2б), только оба кресла секции разворачиваются на 180° каждое в противоположные стороны; на фиг.2в) подачей тока пружина разогревается до 190°С, в результате чего она последовательно три раза поворачивается на 90°, и а итоге – на 270° против часовой стрелки (3-я схема в нижнем ряду).
Очевидно, что предложенные способ и устройство его осуществления позволяют значительно облегчить перенесение пассажиром действия инерционных нагрузок, возникающих при различных режимах полота. Естественно, что прижатие пассажира возникающими перегрузками спиной к спинке кресла при любом режиме полета переносится пассажиром гораздо комфортнее и легче, чем прижатие такой же перегрузкой к ремню кресла грудной клеткой или животом, как и прижатие к боковинам кресла с подлокотниками также грудной клеткой. В соответствии с вышесказанным предложенный способ и устройство для его осуществления обладают расширенными функциональными возможностями и улучшенными эксплутационными характеристиками.
Формула изобретения
1. Способ дистанционного управления углом поворота авиационных пассажирских кресел на монтажных местах салона, включающий исходную предполетную установку каждого кресла в заданное угловое положение с помощью механизма поворота, отличающийся тем, что соединение кресла с рамой выполнено с возможностью поворотов в горизонтальной плоскости на фиксированные углы за счет перестройки своей геометрической структуры под действием сигналов управления, для чего сиденье и спинка каждого кресла представляют собой единый модуль, соединенный с рамой с помощью винтовой цилиндрической пружины, выполненной из сплава с эффектом памяти механической формы и характеризующейся несколькими последовательно нарастающими температурными порогами срабатывания с также нарастающими однонаправленными фиксированными углами закручивания, соответствующими фиксированным угловым положениям кресла, торцы пружины изолированы от сиденья и рамы и снабжены клеммами, подключенными к соответствующим данному креслу контактам на пульте управления в кабине пилотов, при этом осуществляют повороты всех кресел непосредственно в процессе полета самолета в фиксированные угловые положения, зависящие от режимов полета, и в частности – в режиме взлета – в положения, совпадающие с ориентацией кресел пилотов; в режиме посадки – в положения, развернутые на угол 180° относительно ориентации кресел пилотов.
2. Устройство для осуществления способа дистанционного управления углом поворота авиационных пассажирских кресел по п.1, содержащее раму с размещенными на ней сиденьем и спинкой и связанную с механизмами дистанционного поворота и перемещения в горизонтальной плоскости, а также со средствами для установки кресла на монтажное место салона, отличающееся тем, что соединение кресла с рамой выполнено с возможностью поворотов в горизонтальной плоскости на фиксированные углы за счет перестройки своей геометрической структуры под действием сигналов управления, для чего сиденье и спинка каждого кресла представляют собой единый модуль, соединенный с рамой с помощью винтовой цилиндрической пружины, выполненной из сплава с эффектом памяти механической формы и характеризующейся несколькими последовательно нарастающими температурными порогами срабатывания с также нарастающими однонаправленными фиксированными углами закручивания, соответствующими фиксированным угловым положениям кресла, при этом торцы пружины изолированы от сиденья и рамы и снабжены клеммами, подключенными к соответствующим данному креслу контактам на пульте управления в кабине пилотов.
РИСУНКИ
|
|