|
(21), (22) Заявка: 2006119946/11, 07.06.2006
(24) Дата начала отсчета срока действия патента:
07.06.2006
(43) Дата публикации заявки: 27.12.2007
(46) Опубликовано: 20.04.2009
(56) Список документов, цитированных в отчете о поиске:
US 4125128 А, 14.11.1978. US 3697043 А1, 10.10.1972. RU 2004110401 С1, 10.02.2005. DE 3705162 А1, 27.08.1987. Автотормозное и пневматическое оборудование подвижного состава рельсового транспорта. Каталог комплектующего оборудования. – М.: АСТО, 2003, с.71-75. RU 22646 U1, 20.04.2002.
Адрес для переписки:
170100, г.Тверь, а/я 298, Н.В. Евстигнеевой
|
(72) Автор(ы):
Баранов Дмитрий Владимирович (RU), Белов Игорь Вячеславович (RU)
(73) Патентообладатель(и):
ОТКРЫТОЕ АКЦИОНЕРНОЕ ОБЩЕСТВО “РИТМ” ТПТА (RU)
|
(54) РАЗОБЩИТЕЛЬНЫЙ КРАН ВОЗДУШНОЙ МАГИСТРАЛИ ПОДВИЖНОГО СОСТАВА И ЗАПОРНЫЙ УЗЕЛ (ВАРИАНТЫ)
(57) Реферат:
Группа изобретений относится к области пневматических систем тормозного оборудования подвижного состава рельсового транспорта. Запорный узел разобщительного крана воздушной магистрали подвижного состава содержит установленную с герметичным опиранием на противолежащие уплотнительные кольца и соединенную с ручным приводом поворотную шаровую пробку. Шаровая пробка имеет сквозной проходной канал. Запорный орган выполнен в виде съемного корпуса, имеющего переходной канал, входное русло которого имеет выход к месту соединения с выходом канала входного отверстия, а выходное русло имеет выход к месту соединения с выходом канала выходного отверстия. Поворотная шаровая пробка установлена внутри съемного корпуса. В первом варианте во входном русле переходного канала установлен внутренний резьбовой кольцевой ложемент шаровой пробки. Во втором варианте в торце внешнего резьбового ложемента шаровой пробки возможна установка одного из уплотнительных колец. В третьем варианте запорный узел содержит соединенную с ручным приводом подпружиненную плотно притертую к корпусу поворотную коническую пробку, имеющую сквозной проходной канал и сквозное отверстие. Запорный узел выполнен в виде съемного корпуса, имеющего переходной канал. Поворотная коническая пробка установлена внутри съемного корпуса. Сквозной проходной канал поворотной конической пробки выполнен криволинейным. Достигается возможность исключения влияния условий ремонта и/или проведения профилактических работ на месте их проведения на работоспособность разобщительного крана. 3 н. и 27 з.п. ф-лы, 11 ил.
Область техники, к которой относятся изобретения
Группа изобретений относится к унифицированным серийно выпускаемым элементам пневматических систем тормозного оборудования подвижного состава рельсового транспорта (железнодорожного, метрополитена, трамваев), в частности к разобщительным кранам, и могут быть использованы для перекрытия воздушных тормозной и питательной магистралей отдельной единицы подвижного состава.
Известен разобщительный шаровой кран, состоящий из полого корпуса с установленными в нем входным и выходным штуцерами, на внутренних торцах которых размещены кольцевые манжеты, поджимающие шаровой затвор, имеющий проходной канал и паз для установки стержня управления, на верхней части которого закреплен рычаг управления, имеющий ограничительную ось поворота, при этом паз шарового затвора выполнен наклонным относительно горизонтальной оси разобщительного крана (патент РФ 2246064, МПК F16K 5/06, 2005 (аналог)).
Известен разобщительный кран воздухопровода тормоза железнодорожного транспортного средства, содержащий полый корпус с размещенными в нем штуцерами для соединения с входной и выходной трубами воздухопровода, установленный в полости корпуса между штуцерами поворотный шаровой затвор с проходным каналом и пробку с атмосферным отверстием (патент РФ 2003529, МПК В60Т 17/04, F16K 5/06, 2003 (аналог)).
Наиболее близким по технической сущности к заявляемому является разобщительный кран воздушной магистрали подвижного состава, содержащий корпус с входным отверстием, с противолежащим входному выходным отверстием и с атмосферным отверстием между ними и установленный в корпусе между двумя уплотнительными кольцами имеющий сквозной канал поворотный запорный элемент, соединенный с ручным приводом (свидетельство на полезную модель РФ 22646, МПК В60Т 17/04, 2002 (прототип)).
Недостатком известного разобщительного крана является то, что в процессе эксплуатации при нарушении герметичности поворотного запорного элемента для его ремонта требуется демонтировать трубопровод, а затем и сам кран. При этом чтобы обеспечить доступ к запорному элементу, необходимо разобрать и сам кран, для чего требуется соответствующее оборудование. В результате трудоемкость ремонтных и профилактических работ значительно возрастает.
Наиболее близким по технической сущности к заявляемому является запорный элемент разобщительного крана, имеющего корпус с входным отверстием, с противолежащим входному выходным отверстием и с атмосферным отверстием, выполненный в виде соединенной с ручным приводом установленной с герметичным опиранием на противолежащие уплотнительные кольца поворотной шаровой пробки, имеющей сквозной проходной канал, выполненный с обеспечением возможности совмещения в открытом положении поворотной шаровой пробки пары его отверстий с входным и выходным отверстиями, и сквозное отверстие, выполненное с обеспечением возможности образования в закрытом положении поворотной шаровой пробки сквозного канала от выходного отверстия до атмосферного отверстия при одновременном герметичном перекрытии сквозного проходного канала (свидетельство на полезную модель РФ 22646, МПК В60Т 17/04, 2002 (прототип)).
Наиболее близким по технической сущности к заявляемому является запорный элемент разобщительного крана, имеющего корпус с входным отверстием, с противолежащим входному выходным отверстием и с атмосферным отверстием, выполненный в виде установленного в корпусе соединенного с ручным приводом подпружиненной снизу поворотной конической пробки, имеющей сквозной проходной канал, выполненный с обеспечением возможности совмещения в открытом положении поворотной конической пробки пары его отверстий с входным и выходным отверстиями, и атмосферное отверстие, выполненное с обеспечением возможности образования в закрытом положении поворотной конической пробки сквозного канала от выходного отверстия до атмосферного отверстия при одновременном герметичном перекрытии сквозного проходного канала (В.И.Крылов, Е.В.Клыков, В.Ф.Ясенцев «Тормоза подвижного состава» – М., Транспорт, 1980, стр.208 (прототип)).
Раскрытие изобретений
При создании изобретений перед авторами стояла задача создания такой конструкции разобщительного крана, которая позволила бы во время ремонта и профилактических работ быстро заменять без демонтажа трубопровода на месте их проведения отработавший свой ресурс или вышедший из строя запорный элемент разобщительного крана другим, причем изготовленным в заводских условиях или отремонтированным в условиях депо, быстро монтируя на месте без доводки и выполнения других сборочно-монтажных работ и заведомо обеспечивая соответствие всем техническим требованиям, предъявляемым к разобщительным кранам, что исключает необходимость в высококвалифицированных специалистах, а также исключает влияние условий проведения ремонта и профилактических работ на месте их проведения, т.е. вне заводских условий или условий депо, на работоспособность разобщительного крана.
Технический результат – создание конструкции разобщительного крана с исключением влияния условий ремонта и/или проведения профилактических работ на месте их проведения на работоспособность разобщительного крана путем изготовления в заводских условиях полностью собранных его узлов и соединения их на месте проведения ремонта и/или профилактических работ.
Указанный технический результат достигается тем, что разобщительный кран воздушной магистрали подвижного состава, содержащий корпус с входным и с противолежащим ему выходным отверстиями и соединенный с ручным приводом поворотный запорный элемент, имеющий сквозной проходной канал, согласно изобретению выполнен составленным из опорного и запорного узлов, установленных с обеспечением возможности жесткой фиксации их положения и положения составных элементов относительно друг друга и герметичности соединения, при этом опорный узел выполнен в виде корпуса с обособленными входным и с противолежащим ему выходным отверстиями, каждое из которых имеет собственный канал с выходом к месту соединения с запорным узлом, а запорный узел выполнен в виде съемного корпуса, имеющего переходной канал, входное русло которого имеет выход к месту соединения с выходом канала входного отверстия, а выходное русло имеет выход к месту соединения с выходом канала выходного отверстия, при этом запорный элемент установлен внутри съемного корпуса, а его сквозной проходной канал выполнен с обеспечением возможности совмещения в открытом положении поворотного запорного элемента пары его отверстий с соответствующими отверстиями входного и выходного русел переходного канала.
При этом согласно изобретению переходной канал съемного корпуса запорного узла выполнен криволинейным.
При этом согласно изобретению сквозной проходной канал запорного элемента запорного узла выполнен криволинейным.
При этом согласно изобретению входное и выходное отверстия корпуса опорного узла выполнены резьбовыми.
При этом согласно изобретению входное и выходное отверстия корпуса опорного узла выполнены безрезьбовыми.
При этом согласно изобретению одно из отверстий корпуса опорного узла выполнено резьбовым.
При этом согласно изобретению запорный элемент выполнен в виде поворотной шаровой пробки.
При этом согласно изобретению запорный элемент выполнен в виде поворотной конической пробки.
Указанный технический результат достигается тем, что запорный узел разобщительного крана воздушной магистрали подвижного состава, содержащий установленную с герметичным опиранием на противолежащие уплотнительные кольца соединенную с ручным приводом поворотную шаровую пробку, имеющую сквозной проходной канал, согласно изобретению выполнен в виде съемного корпуса, имеющего переходной канал, входное русло которого имеет выход к месту соединения с выходом канала входного отверстия, а выходное русло имеет выход к месту соединения с выходом канала выходного отверстия, при этом поворотная шаровая пробка установлена внутри съемного корпуса, ее сквозной проходной канал выполнен с обеспечением возможности совмещения в открытом положении поворотной шаровой пробки пары ее отверстий с соответствующими отверстиями входного и выходного русел переходного канала, а в закрытом положении с обеспечением возможности образования сквозного прохода от выходного русла переходного канала до атмосферного отверстия при герметичном перекрытии отверстия входного русла.
При этом согласно изобретению сквозной проходной канал шаровой пробки выполнен криволинейным.
При этом согласно изобретению съемный корпус имеет внешний резьбовой ложемент шаровой пробки с выполненным в нем атмосферным отверстием.
При этом согласно изобретению съемный корпус имеет внутренний резьбовой кольцевой ложемент шаровой пробки, установленный во входном русле переходного канала.
При этом согласно изобретению кольцевой ложемент шаровой пробки, установленный во входном русле переходного канала, выполнен в виде выступа за одно целое с корпусом опорного узла.
При этом согласно изобретению одно из уплотнительных колец установлено в торце внешнего резьбового ложемента шаровой пробки.
При этом согласно изобретению одно из уплотнительных колец установлено в торце внутреннего резьбового ложемента шаровой пробки.
При этом согласно изобретению ось поворота рукоятки расположена параллельно плоскости соединения опорного и запорного узлов.
При этом согласно изобретению съемный корпус и ложементы имеют, по крайней мере, по одному кольцевому выступу с треугольным сечением, выполненному на сопряженной с соответствующим уплотнительным кольцом торцевой поверхности.
При этом согласно изобретению съемный корпус со стороны внешнего ложемента снабжен полым тонкостенным цилиндрическим уплотнительным элементом из пластичного материала.
При этом согласно изобретению уплотнительные кольца выполнены из термопластичного эластомера.
При этом согласно изобретению уплотнительные кольца выполнены из эластомера «Т-Экопур».
При этом согласно изобретению шаровая пробка в месте ее сочленения с приводом имеет паз прямоугольного сечения с вогнутым основанием.
При этом согласно изобретению паз с вогнутым основанием выполнен так, что его длина ориентирована вдоль оси переходного канала в закрытом положении шаровой заслонки.
При этом согласно изобретению рукоятка ручного привода выполнена в виде рычага, прямого или изогнутого в плоскости, перпендикулярной плоскости поворота рычага.
Указанный технический результат достигается тем, что запорный узел разобщительного крана воздушной магистрали подвижного состава, содержащий установленную с герметичным опиранием на противолежащие уплотнительные кольца соединенную с ручным приводом поворотную шаровую пробку, имеющую сквозной проходной канал и сквозное отверстие, согласно изобретению выполнен в виде съемного корпуса, имеющего переходной канал, входное русло которого имеет выход к месту соединения с выходом канала входного отверстия, а выходное русло имеет выход к месту соединения с выходом канала выходного отверстия, при этом поворотная шаровая пробка установлена внутри съемного корпуса, ее сквозной проходной канал выполнен с обеспечением возможности совмещения в открытом положении поворотной шаровой пробки пары ее отверстий с соответствующими отверстиями входного и выходного русел переходного канала, а в закрытом положении с обеспечением возможности образования сквозного прохода от выходного русла до атмосферного отверстия при герметичном перекрытии сквозного проходного канала поворотной шаровой пробки.
При этом согласно изобретению сквозной проходной канал шаровой пробки выполнен криволинейным.
При этом согласно изобретению съемный корпус имеет внешний резьбовой ложемент шаровой пробки с выполненным в нем атмосферным отверстием.
При этом согласно изобретению одно из уплотнительных колец установлено в торце внешнего резьбового ложемента шаровой пробки.
При этом согласно изобретению ось поворота рукоятки расположена перпендикулярно плоскости соединения опорного и запорного узлов.
При этом согласно изобретению съемный корпус и ложементы имеют, по крайней мере, по одному кольцевому выступу с треугольным сечением, выполненному на сопряженной с соответствующим уплотнительным кольцом торцевой поверхности.
При этом согласно изобретению съемный корпус со стороны внешнего ложемента снабжен полым тонкостенным цилиндрическим уплотнительным элементом из пластичного материала.
При этом согласно изобретению уплотнительные кольца выполнены из термопластичного эластомера.
При этом согласно изобретению уплотнительные кольца выполнены из эластомера «Т-Экопур».
При этом согласно изобретению шаровая пробка в месте ее сочленения с приводом имеет паз прямоугольного сечения с вогнутым основанием.
При этом согласно изобретению паз с вогнутым основанием выполнен так, что его длина ориентирована вдоль оси переходного канала в открытом положении шаровой заслонки.
При этом согласно изобретению рукоятка ручного привода выполнена в виде рычага, прямого или изогнутого в плоскости, перпендикулярной плоскости поворота рычага.
Указанный технический результат достигается тем, что запорный узел разобщительного крана воздушной магистрали подвижного состава, содержащий соединенную с ручным приводом плотно притертую к корпусу подпружиненную поворотную коническую пробку, имеющую сквозной проходной канал и сквозное отверстие, согласно изобретению он выполнен в виде съемного корпуса, имеющего переходной канал, входное русло которого имеет выход к месту соединения с выходом канала входного отверстия, а выходное русло имеет выход к месту соединения с выходом канала выходного отверстия, при этом поворотная коническая пробка установлена внутри съемного корпуса, ее сквозной проходной канал выполнен с обеспечением возможности совмещения в открытом положении поворотной конической пробки пары ее отверстий с соответствующими отверстиями входного и выходного русел переходного канала, а в закрытом положении с обеспечением возможности образования сквозного прохода от выходного русла переходного канала до атмосферного отверстия при герметичном перекрытии сквозного проходного канала поворотной конической пробки.
При этом согласно изобретению сквозной проходной канал конической пробки выполнен криволинейным.
При этом согласно изобретению коническая пробка подпружинена охватывающей ее снаружи цилиндрической пружиной сжатия.
При этом согласно изобретению пружина установлена между съемным корпусом и рукояткой.
При этом согласно изобретению ось поворота рукоятки расположена перпендикулярно плоскости соединения опорного и запорного узлов.
При этом согласно изобретению рукоятка ручного привода выполнена в виде рычага, прямого или изогнутого в плоскости, перпендикулярной плоскости поворота рычага.
Краткое описание чертежей
Изобретение поясняется описанием конкретного примера его выполнения и прилагаемыми чертежами, где на:
фиг.1 изображен разобщительный кран воздушной магистрали подвижного состава рельсового транспорта, общий вид;
фиг.2 – разрез А-А фиг.1 (разобщительный кран с запорным узлом с шаровым запорным элементом (в открытом положении), ось поворота рукоятки параллельна плоскости соединения узлов (вариант 1);
фиг.3 – разобщительный кран с запорным узлом по варианту 1 с внешним резьбовым ложементом шаровой пробки (в закрытом положении);
фиг.4 – разобщительный кран с запорным узлом по варианту 1 с кольцевым резьбовым ложементом шаровой пробки (в открытом положении);
фиг.5 – разобщительный кран с запорным узлом по варианту 1 с кольцевым резьбовым ложементом шаровой пробки (в закрытом положении);
фиг.6 – разобщительный кран с запорным узлом по варианту 1 с кольцевым ложементом шаровой пробки, выполненным в виде выступа за одно целое с корпусом опорного узла (в открытом положении);
фиг.7 – разрез Б-Б фиг.2 (сочленение шаровой пробки с ручным приводом);
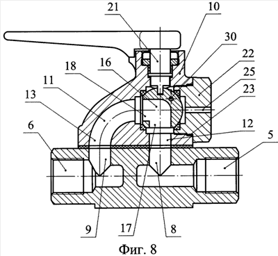
фиг.8 – разобщительный кран с запорным узлом с шаровым запорным элементом (в открытом положении), ось поворота рукоятки перпендикулярна плоскости соединения узлов (вариант 2);
фиг.9 – разобщительный кран с запорным узлом по варианту 2 (в закрытом положении);
фиг.10 – разобщительный кран с запорным узлом с коническим запорным элементом (в открытом положении), ось поворота рукоятки перпендикулярна плоскости соединения узлов (вариант 3);
фиг.11 – разобщительный кран с запорным узлом по варианту 3 (в закрытом положении).
Осуществление изобретения
Сведения, подтверждающие возможность осуществления изобретения заключаются в следующем.
Разобщительный кран воздушной магистрали подвижного состава составлен из опорного 1 и запорного 2 узлов, установленных с обеспечением возможности жесткой фиксации их положения и положения составных элементов относительно друг друга и герметичности соединения. Опорный 1 и запорный 2 узлы, составляющие разобщительный кран, могут быть соединены между собой посредством традиционно применяемых крепежных элементов 3, например болтов и стопорных шайб, предохраняющих от самопроизвольного ослабления резьбового соединения.
Опорный 1 узел выполнен в виде корпуса 4 с обособленными, т.е. не сообщающимися между собой, входным 5 и с противолежащим ему выходным 6 отверстиями, каждое из которых имеет собственный канал с выходом к месту 7 соединения с запорным 2 узлом: входное 5 отверстие имеет канал 8, выходное 6 отверстие – канал 9.
Входное 5 и выходное 6 отверстия корпуса 4 опорного 1 узла могут быть выполнены резьбовыми, как это показано в наших примерах, а могут быть выполнены безрезьбовыми, либо одно из отверстий 5 и 6 корпуса 4 может быть выполнено резьбовым, а другое безрезьбовым.
Запорный 2 узел выполнен в виде съемного 10 корпуса, имеющего переходной канал 11, входное 12 русло которого имеет выход к месту 7 соединения с выходом канала 8 входного 5 отверстия, а выходное русло 13 имеет выход к месту 7 соединения с выходом канала 9 выходного 6 отверстия. Переходной канал 11 может быть выполнен криволинейным.
Внутри съемного 10 корпуса установлен запорный элемент, который может быть выполнен в виде поворотной шаровой 14 пробки, как это показано на фиг.2-9, или в виде поворотной конической 15 пробки, как это показано на фиг.10 и 11. Запорный элемент и в виде шаровой 14 пробки и в виде конической 15 пробки имеет сквозной проходной канал 16, который выполнен с обеспечением возможности совмещения в открытом положении поворотного запорного элемента пары его отверстий 17 и 18 с соответствующими отверстиями входного 12 и выходного 13 русел переходного 11 канала.
Запорный 2 узел разобщительного крана воздушной магистрали подвижного состава выполнен в трех вариантах.
Вариант 1.
Ось поворота рукоятки 19 ручного привода параллельна плоскости соединения опорного 1 и запорного 2 узлов.
Запорный 2 узел разобщительного крана воздушной магистрали подвижного состава по варианту 1, выполненный, как это уже описано выше, в виде съемного 10 корпуса, содержит установленную с герметичным опиранием на противолежащие уплотнительные кольца 20 соединенную со шпинделем 21 ручного привода, т.е. с ручным приводом, поворотную шаровую 14 пробку, имеющую сквозной проходной канал 16, который может быть выполнен криволинейным, как это показано в нашем примере (фиг.2).
Съемный корпус 10 имеет внешний резьбовой ложемент 22 шаровой 14 пробки. Внешний резьбовой ложемент 22 выполнен в виде торцевой гайки с наружной резьбой для установки в съемном 10 корпусе. Съемный 10 корпус со стороны внешнего ложемента снабжен полым тонкостенным цилиндрическим уплотнительным элементом 23 из пластичного материала, например из эластомера «Т-Экопур».
В торце внешнего резьбового ложемента 22 установлено одно из уплотнительных колец 20. Другое уплотнительное кольцо 20 размещено напротив, но в канавке съемного 10 корпуса. Уплотнительные кольца 20 выполнены из термопластичного эластомера, например из эластомера «Т-Экопур».
Съемный 10 корпус и ложемент 22 имеют, по крайней мере, по одному, как это показано в нашем примере, кольцевому выступу 24, выполненному на сопряженной с соответствующим уплотнительным кольцом 20 торцевой поверхности для предотвращения прокручивания уплотнительных колец. Кольцевой выступ 24 может иметь, например, треугольное сечение.
В теле внешнего резьбового ложемента 22 выполнено сквозное отверстие 25, которое выполняет функцию атмосферного отверстия.
Поворотная шаровая 14 пробка установлена внутри съемного 10 корпуса. Благодаря тому что ее сквозной проходной канал 16 выполнен криволинейным, в открытом положении поворотной шаровой 14 пробки ее отверстие 17 совмещается с соответствующим ему отверстием входного 12 русла, т.е. устанавливается напротив соответствующего ему отверстия входного 12 русла, а отверстие 18 – с соответствующим ему отверстием выходного 13 русла переходного 11 канала (фиг.2). Таким образом образован сквозной проход от входного отверстия 5 через канал 8, входное 12 русло переходного 11 канала, шаровую 14 пробку, выходное 13 русло переходного 11 канала, канал 9 и выходное отверстие 6 к тормозному прибору, например к воздухораспределителю (не показан).
В закрытом же положении отверстие 17 совмещается с отверстием выходного 13 русла, образуя сквозной проход от выходного русла 13 переходного 11 канала до атмосферного отверстия 25 при герметичном перекрытии отверстия входного 12 русла (фиг.3). Ввиду того что входное 12 русло, имеющее выход к месту 7 соединения с выходом канала входного 5 отверстия, перекрыто, а выходное 13 русло, имеющее выход к месту 7 соединения с выходом канала 9 выходного 6 отверстия, соединено с атмосферным отверстием 25, воздух из воздушной магистрали может стравливаться через атмосферное отверстие 25.
Вместо внешнего резьбового ложемента 22 съемный 10 корпус может иметь внутренний резьбовой кольцевой ложемент 26 шаровой 14 пробки, установленный во входном 12 русле переходного 11 канала (фиг.4). Внутренний резьбовой кольцевой ложемент 26 может быть выполнен в виде гайки с отверстием под ключ, которое может выполнять функцию входного 12 русла переходного 11 канала. В этом случае атмосферное отверстие 25 размещается в теле съемного 10 корпуса напротив отверстия входного 12 русла. Уплотнительные кольца 20 устанавливаются так же, как описано выше: одно из них в канавке внутреннего резьбового кольцевого ложемента 26, а другое напротив – в канавке съемного 10 корпуса.
В открытом положении поворотной шаровой 14 пробки ее отверстие 17 совмещается с соответствующим ему отверстием входного 12 русла, т.е. устанавливается напротив отверстия под ключ кольцевого ложемента 26, а отверстие 18 сквозного проходного канала 16 устанавливается напротив отверстия выходного 13 русла переходного 11 канала (фиг.4). Таким образом образован сквозной проход от входного отверстия 5 через канал 8, входное 12 русло переходного 11 канала, шаровую 14 пробку, выходное 13 русло переходного 11 канала, канал 9 и выходное отверстие 6 к тормозному прибору, например к воздухораспределителю (не показан).
В закрытом же положении отверстие 17 совмещается с отверстием выходного 13 русла, образуя сквозной проход от выходного русла 13 переходного 11 канала до атмосферного отверстия 25 при герметичном перекрытии отверстия входного 12 русла (фиг.5). Ввиду того что входное 12 русло, имеющее выход к месту 7 соединения с выходом канала входного 5 отверстия, перекрыто, а выходное 13 русло, имеющее выход к месту 7 соединения с выходом канала 9 выходного 6 отверстия, соединено с атмосферным отверстием 25, воздух из воздушной магистрали может стравливаться через атмосферное отверстие 25.
Установленный во входном 12 русле переходного 11 канала кольцевой ложемент 27 шаровой пробки отличается от внутреннего резьбового кольцевого ложемента 26 только тем, что он выполнен в виде выступа за одно целое с корпусом 4 опорного 1 узла (фиг.6), поэтому схема совмещения отверстий в открытом положении шаровой 14 пробки, изображенная на фиг.6, полностью совпадает со схемой совмещения отверстий, изображенной на фиг.4. В связи с этим схема совмещения отверстий в закрытом положении шаровой 14 пробки для данного случая, повторяющая фиг.5, не приводится.
Ручной привод выполнен в виде шпинделя 21, соединенного с шаровой 14 пробкой. Шпиндель 21 имеет рукоятку 19.
Шаровая 14 пробка в месте ее сочленения с ручным приводом, т.е. со шпинделем 21, имеет паз 28 прямоугольного сечения, например, с вогнутым основанием, который выполнен так, что его длина ориентирована вдоль оси переходного 11 канала в закрытом положении шаровой 14 заслонки (фиг.7).
Рукоятка 19 ручного привода может быть выполнена в виде рычага, прямого или изогнутого в плоскости, перпендикулярной плоскости поворота рычага.
Опорный 1 и запорный 2 узлы соединены между собой через эластичное уплотнение 29 с соответствующими отверстиями для соединяемых каналов 8 и 12 и 9 и 13. Уплотнение 29 может быть выполнено, например, из полиуретана.
Вариант 2.
Ось поворота рукоятки 19 ручного привода перпендикулярна плоскости соединения опорного 1 и запорного 2 узлов.
Запорный узел разобщительного крана воздушной магистрали подвижного состава по варианту 2 отличается от запорного узла по варианту 1 тем, что ось поворота рукоятки 19 расположена перпендикулярно плоскости соединения опорного 1 и запорного 2 узлов, а поворотная шаровая 14 пробка, кроме сквозного проходного 16 канала, имеет и сквозное отверстие 30 (фиг.8).
Так же как и в варианте 1, запорный 2 узел разобщительного крана воздушной магистрали подвижного состава содержит установленную с герметичным опиранием на противолежащие уплотнительные кольца 20 соединенную с ручным приводом поворотную шаровую 14 пробку, имеющую сквозной проходной канал 16, и выполнен в виде съемного 10 корпуса, имеющего переходной 11 канал, входное 12 русло которого имеет выход к месту 7 соединения с выходом канала 8 входного 5 отверстия, а выходное 13 русло имеет выход к месту 7 соединения с выходом канала 9 выходного 6 отверстия. Поворотная шаровая 14 пробка установлена внутри съемного 10 корпуса, а ее сквозной проходной канал 16 выполнен с обеспечением возможности совмещения в открытом положении поворотной шаровой 14 пробки пары ее отверстий 17 и 18 с соответствующими отверстиями входного 12 и выходного 13 русел переходного 11 канала, создавая сквозной проход от входного отверстия 5 через канал 8, входное 12 русло переходного 11 канала, шаровую 14 пробку, выходное 13 русло переходного 11 канала, канал 9 и выходное отверстие 6 к тормозному прибору, например к воздухораспределителю (не показан).
В связи с тем, что схема компоновки запорного узла изменилась, для отвода воздуха от выходного 6 отверстия в атмосферное отверстие 25, т.е. в закрытом положении шаровой пробки, в теле шаровой 14 пробки выполнено, как уже было сказано выше, сквозное отверстие 30. Оно выполнено так, что при повороте шаровой пробки на 90° сквозное отверстие 30, расположенное вне зоны сквозного проходного канала 16, попадает, с одной стороны, в зону выходного 13 русла переходного 11 канала, а с другой – в зону атмосферного отверстия 25, обеспечивая сквозной проход воздуха от выходного 13 русла до атмосферного отверстия 25 при одновременном герметичном перекрытии отверстия 18 сквозного проходного канала 16 шаровой 14 пробки, т.е. перекрытии сквозного проходного канала шаровой пробки, предотвращая тем самым поступление воздуха из магистрали к тормозным приборам, например к воздухораспределителю (фиг.9).
Как и по варианту 1, сквозной проходной канал 16 шаровой 14 пробки выполнен криволинейным. Съемный 10 корпус имеет внешний резьбовой ложемент 22 шаровой пробки с выполненным в нем атмосферным отверстием 25. В отличие от варианта 1 внешний резьбовой ложемент 22, а с ним и атмосферное отверстие 25 расположены по другую сторону от выходного 13 русла переходного 11 канала.
Как и по варианту 1, одно из уплотнительных колец установлено в торце внешнего резьбового ложемента 22, а другое – напротив, в канавке съемного 10 корпуса.
Съемный 10 корпус и ложемент 22 имеют, по крайней мере, по одному кольцевому выступу 24, выполненному на сопряженной с соответствующим уплотнительным кольцом 20 торцевой поверхности. Кольцевой выступ имеет треугольное сечение.
Съемный 10 корпус со стороны внешнего ложемента 22 снабжен полым тонкостенным цилиндрическим уплотнительным элементом 23 из пластичного материала, например из эластомера «Т-Экопур».
Уплотнительные кольца 20 также выполнены из термопластичного эластомера, например из эластомера «Т-Экопур».
Шаровая 14 пробка в месте ее сочленения с приводом, т.е. со шпинделем 21, имеет паз 28 прямоугольного сечения с вогнутым основанием, которое может быть выполнено так, что его длина ориентирована вдоль оси переходного канала в закрытом положении шаровой заслонки.
Рукоятка 19 ручного привода может быть выполнена в виде рычага, прямого или изогнутого в плоскости, перпендикулярной плоскости поворота рычага.
Вариант 3.
Ось поворота рукоятки 19 ручного привода перпендикулярна плоскости соединения опорного 1 и запорного 2 узлов, как и по варианту 2.
Запорный 2 узел разобщительного крана воздушной магистрали подвижного состава по варианту 3 отличается от варианта 1 и варианта 2 тем, что запорный элемент выполнен в виде поворотной конической 15 пробки, соединенной с ручным приводом.
В конической 15 пробке имеется сквозной проходной канал 16, который может быть выполнен криволинейным, как это показано в нашем примере, и сквозное отверстие 31.
Запорный 2 узел разобщительного крана воздушной магистрали подвижного состава по варианту 3, как это описано выше, выполнен в виде съемного 10 корпуса, имеющего переходной 11 канал, входное 12 русло которого имеет выход к месту 7 соединения с выходом канала 8 входного 5 отверстия, а выходное 13 русло имеет выход к месту 7 соединения с выходом канала 9 выходного 6 отверстия.
Поворотная коническая 15 пробка размещена внутри съемного 10 корпуса, ее сквозной проходной канал 16 выполнен с обеспечением возможности совмещения в открытом положении поворотной конической пробки пары ее отверстий 17 и 18 с соответствующими отверстиями входного 12 и выходного 13 русел переходного 11 канала, т.е. в открытом положении поворотной конической 15 пробки отверстие 17 сквозного проходного канала 16 устанавливается напротив отверстия входного 12 русла переходного 11 канала, а отверстие 18 сквозного проходного канала 16 устанавливается напротив отверстия выходного 13 русла переходного 11 канала (фиг.10), создавая тем самым сквозной проход от входного отверстия 5 через канал 8, входное 12 русло переходного 11 канала, коническую 15 пробку, выходное 13 русло переходного 11 канала, канал 9 и выходное отверстие 6 к тормозному прибору, например к воздухораспределителю (не показан).
Для отвода воздуха от выходного 6 отверстия в атмосферное отверстие 25 в закрытом положении конической 15 пробки в ее теле выполнено, как уже было сказано выше, сквозное отверстие 31. Оно выполнено так, что при повороте рукояткой 19 конической 15 пробки на 180° сквозное отверстие 31, расположенное вне зоны сквозного проходного канала 16, попадает, с одной стороны, в зону выходного 13 русла переходного 11 канала, а с другой – в зону атмосферного отверстия 25, обеспечивая сквозной проход воздуха от выходного 13 русла до атмосферного отверстия 25 при одновременном герметичном перекрытии отверстия 18 сквозного проходного канала 16 конической 15 пробки, т.е. перекрытии сквозного проходного канала конической пробки, предотвращая тем самым поступление воздуха из магистрали к тормозным приборам, например к воздухораспределителю (фиг.11).
Коническая 15 пробка плотно притерта к съемному 10 корпусу.
Коническая 15 пробка подпружинена охватывающей ее снаружи цилиндрической пружиной 32 сжатия, установленной в направляющих 33, закрывающих ее снаружи, между съемным 10 корпусом и рукояткой 19, которая традиционно закреплена на конической 15 пробке посредством, например, винта со стопорной шайбой.
Рукоятка 19 ручного привода посредством крепежного элемента может быть выполнена в виде рычага, прямого или изогнутого в плоскости, перпендикулярной плоскости поворота рычага.
Разобщительный кран воздушной магистрали подвижного состава собирают на месте установки.
Корпус 4 опорного 1 узла встраивают в воздушную магистраль 35 подвижного состава. Затем к опорному 1 узлу посредством крепежных элементов 3 через эластичное уплотнение 29 пристыковывается запорный 2 узел. В результате получили разобщительный кран, входное 5 отверстие опорного 1 узла которого через канал 8 соединено с входным 12 руслом переходного 11 канала запорного 2 узла, а выходное 6 отверстие опорного 1 узла через канал 9 соединено с выходным 13 руслом этого же переходного 11 канала запорного 2 узла.
В связи с тем, что ручной привод имеет рукоятку 19, соединенную с запорным элементом, например, через шпиндель 21 с поворотной шаровой 14 пробкой для варианта 1 и варианта 2 или непосредственно с поворотной конической 15 пробкой, управление запорным элементом, установленным в запорном 2 узле, осуществляется поворотом рукоятки 19 до упоров крайнего положения, которые могут быть выполнены традиционно в виде соответствующих выступающих приливов на внешней поверхности съемного 10 корпуса запорного 2 узла. При этом взаимное расположение упоров соответствует углу поворота запорного элемента для обеспечения надежного перекрытия того или иного отверстия. Например, в настоящих примерах выполнения разобщительного крана шаровой запорный элемент в вариантах 1 и 2 должен повернуться на 90 градусов вокруг своей оси, угол поворота рукоятки составляет также 90 градусов, а конический запорный элемент в варианте 3 должен повернуться на 180 градусов вокруг своей оси, угол поворота рукоятки составляет также 180 градусов.
Работа разобщительного крана воздушной магистрали подвижного состава осуществляется следующим образом.
Разобщительный кран воздушной магистрали соединен с тормозной магистралью 35.
В открытом положении разобщительного крана сквозной проходной канал 16 запорного элемента, шаровой 14 пробки (вариант 1 и 2) или конической 15 пробки (вариант) совмещается с отверстиями входного 12 и выходного 13 русел переходного 11 канала запорного 2 узла, каждый из которых, в свою очередь, соединены через соответствующие каналы 8 и 9 со входным 5 отверстием и с выходным 6 отверстием корпуса 4 опорного 1 узла, обеспечивая тем самым возможность образования в открытом положении запорного элемента сквозного канала от входного 5 до выходного 6 отверстия и далее к тормозному прибору, например воздухораспределителю (не показан). В это время атмосферное отверстие 25 герметично перекрыто. Сжатый воздух, свободно проходя от входного отверстия 5 через канал 8, входное 12 русло переходного 11 канала, сквозной проходной канал 16 запорного элемента, выходное 13 русло переходного 11 канала, канал 9 и выходное отверстие 6 поступает к тормозному прибору, например к воздухораспределителю.
Для переключения разобщительного крана из открытого положения в закрытое рукоятку 19 ручного привода поворачивают до контакта боковой поверхности прилива рукоятки 19 с упором съемного 10 корпуса, при этом запорный элемент повернется вокруг своей оси симметрии соответственно на 90 градусов для варианта 1 и 2 или на 180 градусов для варианта 3 и перекроет либо входное 12 русло переходного 11 канала запорного 2 узла по варианту 1, либо сквозной проходной канал 16 запорного элемента по варианту 2 и варианту 3, т.е. тормозная магистраль отсоединена от воздухораспределителя, и в то же время образован канал для сброса воздуха из воздухораспределителя в атмосферу через атмосферное отверстие 25.
При отказе работы запорного элемента либо его ручного привода, негерметичности запорного узла разобщительного крана разобщительный кран легко ремонтируется непосредственно под вагоном путем замены вышедшего из строя на новый, изготовленный или отремонтированный в заводских условиях, причем без демонтажа воздушной магистрали, в которой он установлен. При этом обеспечивается высокое качество ремонта, обеспечивается возможность исключения влияния условий ремонта на месте эксплуатации на работоспособность разобщительного крана.
Таким образом, технический результат достигнут: создана конструкция разобщительного крана с исключением влияния условий ремонта и/или проведения профилактических работ на месте их проведения на работоспособность разобщительного крана путем изготовления в заводских условиях или ремонтируя в условиях депо полностью собранных его узлов и соединения их на месте проведения ремонта и/или профилактических работ.
Формула изобретения
1. Запорный узел разобщительного крана воздушной магистрали подвижного состава, содержащий установленную с герметичным опиранием на противолежащие уплотнительные кольца соединенную с ручным приводом поворотную шаровую пробку, имеющую сквозной проходной канал, отличающийся тем, что он выполнен в виде съемного корпуса, имеющего переходной канал, входное русло которого имеет выход к месту соединения с выходом канала входного отверстия, а выходное русло имеет выход к месту соединения с выходом канала выходного отверстия, и установленный во входном русле переходного канала внутренний резьбовой кольцевой ложемент шаровой пробки, при этом поворотная шаровая пробка установлена внутри съемного корпуса, ее сквозной проходной канал выполнен с обеспечением возможности совмещения в открытом положении поворотной шаровой пробки пары ее отверстий с соответствующими отверстиями входного и выходного русел переходного канала, а в закрытом положении с обеспечением возможности образования сквозного прохода от выходного русла переходного канала до атмосферного отверстия при герметичном перекрытии отверстия входного русла.
2. Запорный узел разобщительного крана по п.1, отличающийся тем, что сквозной проходной канал шаровой пробки выполнен криволинейным.
3. Запорный узел разобщительного крана по п.1, отличающийся тем, что съемный корпус имеет внешний резьбовой ложемент шаровой пробки с выполненным в нем атмосферным отверстием.
4. Запорный узел разобщительного крана по п.1, отличающийся тем, что кольцевой ложемент шаровой пробки, установленный во входном русле переходного канала, выполнен в виде выступа заодно целое с корпусом опорного узла.
5. Запорный узел разобщительного крана по п.1, отличающийся тем, что одно из уплотнительных колец установлено в торце внешнего резьбового ложемента шаровой пробки.
6. Запорный узел разобщительного крана по п.1, отличающийся тем, что одно из уплотнительных колец установлено в торце внутреннего резьбового ложемента шаровой пробки.
7. Запорный узел разобщительного крана по п.1, отличающийся тем, что ось поворота рукоятки расположена параллельно плоскости соединения опорного и запорного узлов.
8. Запорный узел разобщительного крана по любому из пп.1, 5 и 6, отличающийся тем, что съемный корпус и ложементы имеют, по крайней мере, по одному кольцевому выступу с треугольным сечением, выполненному на сопряженной с соответствующим уплотнительным кольцом торцевой поверхности.
9. Запорный узел разобщительного крана по п.1, отличающийся тем, что съемный корпус со стороны внешнего ложемента снабжен полым тонкостенным цилиндрическим уплотнительным элементом из пластичного материала.
10. Запорный узел разобщительного крана по п.1, отличающийся тем, что уплотнительные кольца выполнены из термопластичного эластомера.
11. Запорный узел разобщительного крана по п.10, отличающийся тем, что уплотнительные кольца выполнены из эластомера «Т-Экопур».
12. Запорный узел разобщительного крана по п.1, отличающийся тем, что шаровая пробка в месте ее сочленения с ручным приводом имеет паз прямоугольного сечения с вогнутым основанием.
13. Запорный узел разобщительного крана по п.12, отличающийся тем, что паз с вогнутым основанием выполнен так, что его длина ориентирована вдоль оси переходного канала в закрытом положении шаровой заслонки.
14. Запорный узел разобщительного крана по п.1, отличающийся тем, что рукоятка ручного привода выполнена в виде рычага, прямого или изогнутого в плоскости, перпендикулярной плоскости поворота рычага.
15. Запорный узел разобщительного крана воздушной магистрали подвижного состава, содержащий установленную с герметичным опиранием на противолежащие уплотнительные кольца соединенную с ручным приводом поворотную шаровую пробку, имеющую сквозной проходной канал и сквозное отверстие, отличающийся тем, что он выполнен в виде съемного корпуса, имеющего переходной канал, входное русло которого имеет выход к месту соединения с выходом канала входного отверстия, а выходное русло имеет выход к месту соединения с выходом канала выходного отверстия, при этом поворотная шаровая пробка установлена внутри съемного корпуса, ее сквозной проходной канал выполнен с обеспечением возможности совмещения в открытом положении поворотной шаровой пробки пары ее отверстий с соответствующими отверстиями входного и выходного русел переходного канала, а в закрытом положении с обеспечением возможности образования сквозного прохода от выходного русла до атмосферного отверстия при герметичном перекрытии сквозного проходного канала поворотной шаровой пробки, при этом одно из уплотнительных колец установлено в торце внешнего резьбового ложемента шаровой пробки.
16. Запорный узел разобщительного крана по п.15, отличающийся тем, что сквозной проходной канал шаровой пробки выполнен криволинейным.
17. Запорный узел разобщительного крана по п.15, отличающийся тем, что съемный корпус имеет внешний резьбовой ложемент шаровой пробки с выполненным в нем атмосферным отверстием.
18. Запорный узел разобщительного крана по п.15, отличающийся тем, что ось поворота рукоятки расположена перпендикулярно плоскости соединения опорного и запорного узлов.
19. Запорный узел разобщительного крана по пп.15 и 17, отличающийся тем, что съемный корпус и ложементы имеют, по крайней мере, по одному кольцевому выступу с треугольным сечением, выполненному на сопряженной с соответствующим уплотнительным кольцом торцевой поверхности.
20. Запорный узел разобщительного крана по п.15, отличающийся тем, что съемный корпус со стороны внешнего ложемента снабжен полым тонкостенным цилиндрическим уплотнительным элементом из пластичного материала.
21. Запорный узел разобщительного крана по п.15, отличающийся тем, что уплотнительные кольца выполнены из термопластичного эластомера.
22. Запорный узел разобщительного крана по п.21, отличающийся тем, что уплотнительные кольца выполнены из эластомера «Т-Экопур».
23. Запорный узел разобщительного крана по п.15, отличающийся тем, что шаровая пробка в месте ее сочленения с приводом имеет паз прямоугольного сечения с вогнутым основанием.
24. Запорный узел разобщительного крана по п.23, отличающийся тем, что паз с вогнутым основанием выполнен так, что его длина ориентирована вдоль оси переходного канала в закрытом положении шаровой заслонки.
25. Запорный узел разобщительного крана по п.24, отличающийся тем, что рукоятка ручного привода выполнена в виде рычага, прямого или изогнутого в плоскости, перпендикулярной плоскости поворота рычага.
26. Запорный узел разобщительного крана воздушной магистрали подвижного состава, содержащий соединенную с ручным приводом подпружиненную плотно притертую к корпусу поворотную коническую пробку, имеющую сквозной проходной канал и сквозное отверстие, отличающийся тем, что он выполнен в виде съемного корпуса, имеющего переходной канал, входное русло которого имеет выход к месту соединения с выходом канала входного отверстия, а выходное русло имеет выход к месту соединения с выходом канала выходного отверстия, при этом поворотная коническая пробка установлена внутри съемного корпуса, ее сквозной проходной канал выполнен криволинейным с обеспечением возможности совмещения в открытом положении поворотной конической пробки пары ее отверстий с соответствующими отверстиями входного и выходного русел переходного канала, а в закрытом положении с обеспечением возможности образования сквозного прохода от выходного русла переходного канала до атмосферного отверстия при герметичном перекрытии сквозного проходного канала поворотной конической пробки.
27. Запорный узел разобщительного крана по п.26, отличающийся тем, что коническая пробка подпружинена охватывающей ее снаружи цилиндрической пружиной сжатия.
28. Запорный узел разобщительного крана по п.27, отличающийся тем, что пружина установлена между съемным корпусом и рукояткой.
29. Запорный узел разобщительного крана по п.26, отличающийся тем, что ось поворота рукоятки расположена перпендикулярно плоскости соединения опорного и запорного узлов.
30. Запорный узел разобщительного крана по п.26, отличающийся тем, что рукоятка ручного привода выполнена в виде рычага, прямого или изогнутого в плоскости, перпендикулярной плоскости поворота рычага.
РИСУНКИ
TK4A – Поправки к публикациям сведений об изобретениях в бюллетенях “Изобретения (заявки и патенты)” и “Изобретения. Полезные модели”
Напечатано: (54) РАЗОБЩИТЕЛЬНЫЙ КРАН ВОЗДУШНОЙ МАГИСТРАЛИ ПОДВИЖНОГО СОСТАВА И ЗАПОРНЫЙ УЗЕЛ (ВАРИАНТЫ)
Следует читать: (54) ЗАПОРНЫЙ УЗЕЛ РАЗОБЩИТЕЛЬНОГО КРАНА ВОЗДУШНОЙ МАГИСТРАЛИ ПОДВИЖНОГО СОСТАВА (ВАРИАНТЫ)
Номер и год публикации бюллетеня: 11-2009
Код раздела: FG4A
Извещение опубликовано: 10.04.2010 БИ: 10/2010
|