|
|
(21), (22) Заявка: 2006136447/02, 17.10.2006
(24) Дата начала отсчета срока действия патента:
17.10.2006
(43) Дата публикации заявки: 27.04.2008
(46) Опубликовано: 20.04.2009
(56) Список документов, цитированных в отчете о поиске:
ЕР 0494714 А1, 15.07.1992. SU 262075 A1, 26.01.1970. JP 2280927 A, 16.11.1990. FR 2727882 A1, 14.06.1994. DE 19845386 A1, 18.05.2000. US 2003/0221476 A1, 04.12.2003. JP 2004337950 A, 02.12.2004.
Адрес для переписки:
191036, Санкт-Петербург, а/я 24, “НЕВИНПАТ”, пат.пов. А.В.Поликарпову
|
(72) Автор(ы):
МАЦЦОККИ Доменико (IT)
(73) Патентообладатель(и):
Роллери С.п.А. (IT)
|
(54) БЫСТРОДЕЙСТВУЮЩЕЕ УСТРОЙСТВО ДЛЯ ПРИСОЕДИНЕНИЯ ИНСТРУМЕНТОВ К ВЕРХНЕЙ ПОПЕРЕЧИНЕ ЛИСТОШТАМПОВОЧНОГО ПРЕССА И ОТСОЕДИНЕНИЯ ОТ НЕЕ ИНСТРУМЕНТОВ
(57) Реферат:
Изобретение относится к быстродействующим устройствам для присоединения и отсоединения инструментов листоштамповочных прессов. Быстродействующее устройство для присоединения инструментов к верхней поперечине листоштамповочного пресса и отсоединения от нее инструментов содержит зажимные/разжимные фиксаторы для прикрепления каждого инструмента к указанной поперечине пресса или к промежуточному звену, выполняющему функцию удлинительного узла соединительной части инструмента. Устройство содержит по меньшей мере один толкатель, выполненный с возможностью введения в фиксатор или в верхнюю поперечину, или в промежуточное звено, или в соединительную часть инструмента. Толкатель содержит ползунок с оконечной частью сужающейся формы, прижимаемый пружиной для введения во взаимодействие с пазом, расположенным, соответственно, на соединительной части инструмента, или в фиксаторе, или в верхней поперечине, или в промежуточном звене, с обеспечением предотвращения выпадения инструмента. Количество толкателей может выбираться с учетом веса инструмента. В результате достигается упрощение и облегчение присоединения и отсоединения инструментов листоштамповочного пресса. 7 з.п. ф-лы, 29 ил.
Данное изобретение относится к быстродействующему устройству для присоединения и отсоединения инструментов листоштамповочного пресса.
ПРЕДПОСЫЛКИ ИЗОБРЕТЕНИЯ
Обычно листоштамповочные прессы снабжены защитным устройством, предназначенным для предотвращения выпадения установленных верхних инструментов, когда фиксаторы инструментов находятся в открытом положении.
Наличие подобного защитного устройства, предотвращающего выпадение инструмента, обусловливает проведение монтажа и демонтажа инструмента на верхней поперечине или на промежуточном звене (дополнительном модуле соединительной части инструмента, установленном между соединительной частью инструмента и верхней поперечиной) в горизонтальном направлении, что означает, что инструмент при нахождении фиксатора соединительной части инструмента в открытом положении может быть выдвинут со скольжением в поперечном направлении вдоль полости верхней поперечины или промежуточного звена, в которую введена соединительная часть инструмента.
Поскольку такая необходимость в движении скольжения инструмента в горизонтальном направлении приводит к слишком длинным периодам наладки машины, были разработаны защитные устройства, предотвращающие выпадение инструмента, позволяющие монтировать и демонтировать инструмент в вертикальном направлении, что приводит к значительному снижению времени наладки машины. Однако для наибольшей части этих решений требуется дополнительная установка пневматической или гидравлической системы монтажа и демонтажа инструмента, что значительно увеличивает эксплуатационные расходы.
В настоящее время также имеются в наличии полностью механические системы, предназначенные для вертикального монтажа и демонтажа инструмента. Однако они весьма сложны и заставляют оператора удерживать пуансон одной рукой во время этапа отсоединения, в то время как другой рукой он должен приводить в действие устройство, предназначенное для отсоединения данного инструмента. Одна из таких последних систем, показанная на фиг.2а, описана в Европейском патентном документе ЕР 494714.
СУЩНОСТЬ ИЗОБРЕТЕНИЯ
Задачей данного изобретения является создание быстродействующего устройства для присоединения и отсоединения инструментов листоштамповочного пресса, позволяющего упростить и облегчить присоединение и отсоединение инструментов.
В соответствии с изобретением предложено быстродействующее устройство для присоединения к верхней поперечине листоштамповочного пресса и отсоединения от нее инструментов, содержащее зажимные/разжимные фиксаторы для прикрепления каждого инструмента к указанной поперечине пресса или к промежуточному звену, выполняющему функцию удлинительного узла соединительной части инструмента, которое, согласно изобретению, снабжено по меньшей мере одним толкателем, содержащим наружное гнездо и ползунок с оконечной частью сужающейся формы, расположенный в наружном гнезде, имеющем на одной стороне отверстие, с возможностью перемещения и частичного выхода его оконечной части за пределы указанного отверстия, и пружину для прижима ползунка с обеспечением выступания его оконечной части из указанного отверстия, и выполнено с пазом, имеющим горизонтальную ось, параллельную фронтальной части пресса, и расположенным, в соответствии с первым вариантом, на вертикальной поверхности соединительной части инструмента, установленной в полости для ее размещения, выполненной в верхней поперечине пресса или в промежуточном звене, в соответствии со вторым вариантом – в полости для размещения соединительной части инструмента, выполненной в верхней поперечине пресса или в полости промежуточного звена, а в соответствии с третьим вариантом – на зажимающем/разжимающем фиксаторе в выполненной в нем полости для размещения соединительной части инструмента, причем толкатель расположен в соответствии с указанным первым вариантом – в зажимающем/разжимающем фиксаторе или в верхней поперечине пресса, или в промежуточном звене, при этом отверстие наружного гнезда толкателя выходит к части поверхности фиксатора, или к части верхней поперечины, или к части промежуточного звена и расположено напротив указанного паза при установленном инструменте, в соответствии с указанными вторым и третьим вариантами, в соединительной части инструмента, при этом указанное отверстие выходит к части поверхности соединительной части инструмента и расположено напротив указанного паза при установленном инструменте, причем толкатель расположен с обеспечением возможности вхождения указанной оконечной части ползунка в указанный паз и ее нажатия на край паза с обеспечением предотвращения падения инструмента, пружина выбрана и откалибрована с обеспечением воздействия на ползунок в положении размещения его оконечной части в контакте с пазом при максимальном вхождении давлением, предотвращающим выпадение инструмента при нахождении соответствующего зажимного/разжимного фиксатора в освобождающем положении, край паза в соответствии с первым вариантом является верхним краем, а в соответствии со вторым и третьим вариантами – нижним краем.
Наружное гнездо может иметь цилиндрическую форму, а ползунок – сферическую форму.
Максимальный выход ползунка из отверстия наружного гнезда толкателя может составлять 30%-33% от диаметра ползунка.
Оконечная часть ползунка может иметь цилиндрическую форму или быть выполнена с поперечным сечением V-образной формы или в форме равнобедренной трапеции.
Паз может быть выполнен с поперечным сечением V-образной формы и углом между двумя плоскими поверхностями, составляющим 90°, причем наклон указанных плоских поверхностей может составлять соответственно 45° и -45°.
Наружное гнездо может иметь цилиндрическую форму, ползунок – сферическую форму, а расстояние между краями V-образного паза может составлять около 90% от диаметра сферического ползунка.
Устройство может быть выполнено с возможностью обеспечения воздействия на ползунок при нахождении его оконечной части, прижимающейся к краю паза для предотвращения выпадения инструмента, в положении максимального вхождения давлением, обеспечивающим по меньшей мере равенство вертикальной составляющей силы, прикладываемой к пазу, величине Р/n, где “Р” – вес инструмента, а “n” – количество толкателей в зажимающем/разжимающем фиксаторе, оказывающих давление на паз.
Количество толкателей, установленных на одном зажимающем/разжимающем фиксаторе соединительной части инструмента или верхней поперечине пресса, или промежуточном элементе, может составлять один толкатель на каждые 1,5 кг веса инструмента.
Предложенное устройство обладает следующими преимуществами:
– наличие весьма простой конструкции,
– возможность его установки без существенного влияния на конструкцию инструмента и пресса и/или промежуточного звена,
– возможность его установки на прессах и инструментах широкого диапазона, а также модернизации существующих прессов выполнением небольших модификаций применительно к имеющимся инструментам и/или фиксаторам,
– возможность использования на инструментах весом свыше 12,5 кг,
– кроме того, возможность использования на инструментах небольших габаритов,
– возможность захвата инструмента при его отсоединении наиболее подходящим способом без одновременного приведения в действие какого-либо освобождающего устройства.
КРАТКОЕ ОПИСАНИЕ ЧЕРТЕЖЕЙ
Характеристики и преимущества данного изобретения будут более очевидны из последующего описания, относящегося к нескольким предпочтительным вариантам выполнения неограничивающего характера, со ссылкой на прилагаемые чертежи, на которых:
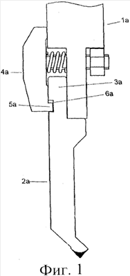
фиг.1, 2, 3 являются типичными примерами присоединений инструмента к верхней поперечине листоштамповочного пресса, обеспечивающих работы по монтажу и демонтажу инструмента в боковом направлении,
фиг.2А представляет известное устройство, обеспечивающее возможность модификации соединительной части, показанной на фиг.2, в соединительную часть фронтального типа, что означает, что она обеспечивает присоединение и отсоединение данного инструмента в вертикальном направлении,
фиг.4, 5, 6, 7 представляют предпочтительные примеры варианта выполнения данного изобретения в соответствии с несколькими вариантами,
фиг.9, 9А, 9В, 9С иллюстрируют примеры применения данного изобретения, позволяющие преобразовать соединительную часть бокового типа, как показано на фиг.2, во фронтальную соединительную часть,
фиг.10, 10А, 10В, 10С, 10D иллюстрируют примеры применения данного изобретения, позволяющие преобразовать соединительную часть бокового типа, как показано на фиг.1, во фронтальную соединительную часть,
фиг.11, НА, 11В, НС, 11D иллюстрируют примеры применения данного изобретения, позволяющие преобразовать боковое соединение, как показано на фиг.3, во фронтальную соединительную часть.
ОПИСАНИЕ ПРЕДПОЧТИТЕЛЬНЫХ ВАРИАНТОВ ВЫПОЛНЕНИЯ
Фиг.1, 2, 3 иллюстрируют типичные примеры присоединения инструмента к верхней поперечине, или к промежуточному звену листоштамповочного пресса, присоединений, которые обеспечивают действия по присоединению и отсоединению инструмента, требующие движения скольжения инструмента в боковом направлении.
На данных чертежах различные обозначения обозначают:
1а, 1b, 1с – верхние поперечины или промежуточные звенья пресса, 2а, 2b, 2 с – инструменты, 3а, 3b, 3с – соединительные части инструмента,
4а, 4b, 4с – фиксаторы инструмента на верхней поперечине или на промежуточном звене,
5а, 5b, 5с – неровности, проходящие вдоль нижнего края фиксатора, 6а, 6b – неровности, проходящие вдоль бокового участка соединительной части инструмента,
7 – цилиндрические штифты, прикрепленные к боковым участкам соединительной части инструмента,
8а, 8b – пазы, имеющиеся на верхней поперечине,
9 – неровность, проходящая от бокового участка соединительной части инструмента.
На фиг.1 защитное приспособление, предназначенное для защиты инструмента от выпадения, представлено частями 5а и 6а. При освобождении соединительной части инструмента в результате ослабления зажима фиксатора 4а инструмент 2а в действительности не выпадает, так как неровность 5а остается в зацеплении с пазом 6а. Для демонтажа инструмента необходимо заставить его скользить горизонтально вдоль фронтальной части пресса до момента выхода неровности 5а из взаимодействия с пазом 6а.
На фиг.2 защитное устройство, предназначенное для защиты инструмента от выпадения, представлено частями 7 и 8а. При освобождении соединительной части инструмента после ослабления зажима фиксатора 4b, инструмент 2b в действительности не выпадает, так как цилиндрические штифты 7 остаются в зацеплении с пазами 8а. Даже в этом случае для демонтажа инструмента необходимо заставить его скользить горизонтально вдоль фронтальной части пресса до момента выхода штифтов 7 из взаимодействия с пазом 8а.
На фиг.3 защитное устройство, предназначенное для защиты инструмента от выпадения, представлено частями 5с и 9. При освобождении соединительной части инструмента после ослабления зажима фиксатора 4с, инструмент 2с не выпадает, так как неровность 9 остается в зацеплении с неровностью 5с (если инструмент установлен так, что неровность 9 находится справа, он не выпадет вследствие его взаимодействия с пазом 8b). Для демонтажа этого инструмента необходимо заставить его скользить горизонтально вдоль фронтальной части пресса до момента выхода неровности 9 из взаимодействия с неровностью 5с.
Фиг.2А схематически показывает разрез известного устройства, которое позволяет преобразовать соединение бокового типа, показанного на фиг.2, в соединение фронтального типа, что означает, что оно допускает операции присоединения и отсоединения инструмента в вертикальном направлении. В соответствии с этим устройством штифты 7 отсутствуют и вместо них имеется зубец 10, расположенный с возможностью движения скольжения в горизонтальном направлении внутри полости соединительной части, при этом он прижат пружиной 12 для сохранения положения зацепления с одной из двух полостей 8а. При смещении фиксатора 4b влево в положение освобождения инструмент не выпадает за счет указанного зацепления.
Для приведения устройства, предотвращающего падение инструмента, в нерабочее состояние необходимо нажать кнопку 11 (с тем, чтобы вывести зубец 10 из зацепления с полостью 8а) и одновременно необходимо поддерживать одной рукой инструмент, чтобы предотвратить его падение. Затем инструмент, поддерживаемый рукой оператора, может быть отсоединен посредством вертикального перемещения книзу.
На фиг.5, 6, 7 схематически показаны несколько предпочтительных вариантов выполнения данного изобретения.
На каждом из этих чертежей схематически показана нижняя оконечность 1 верхней поперечины пресса (или установленного в ней промежуточного звена), верхняя оконечность 2 установленного инструмента, фиксатор 4 и предлагаемое быстродействующее устройство присоединения и отсоединения, по существу содержащее толкательный элемент 12, выполненный с возможностью введения в фиксатор 4 или в соединительную часть 2 инструмента, или в верхнюю поперечину/промежуточное звено, содержащий ползунок, выполненный с возможностью движения скольжения, имеющий оконечную часть сужающейся формы и выполненный с возможностью взаимодействия с пазом (16, 17, 18, 19), имеющимся, соответственно, в соединительной части инструмента, или в фиксаторе, или в верхней поперечине/промежуточном звене.
В частности, элемент 12, показанный на фиг.4 в увеличенном масштабе, в соответствии с предпочтительным вариантом выполнения, содержит:
– гнездо 13 с отверстием на одной стороне,
– металлический ползунок 14 сферической формы, выполненный с возможностью движения скольжения в гнезде и частично выступающий из указанного отверстия частью, действующей в качестве верхушки,
– пружину 15, прижимающую ползунок с обеспечением его выступания из указанного отверстия своей верхушкой.
В соответствии с вышеупомянутым предпочтительным вариантом выполнения гнездо имеет цилиндрическую форму, однако оно может иметь другую форму, например призматическую.
Кроме того, сферическая форма ползунка не является обязательной. В действительности ползунок вместе с оконечной частью может быть любой сужающейся формы, например цилиндрической формы, или с вертикальным поперечным сечением, имеющим V-образную форму, или форму равнобедренной трапеции.
Что касается паза, то он имеет горизонтальную ось на фронтальной части пресса и расположен:
– в соответствии с первым вариантом (фиг.5, 5В и 7, 7В) на вертикальной поверхности части соединительной части инструмента, вставленной в полость верхней поперечины, которая предназначена для размещения соединительной части инструмента (см. на фиг.5 – паз 16 с прямоугольным поперечным сечением, на фиг.7, 7В и 5В – паз 18 с V-образным поперечным сечением, на фиг.5А и 7А см. увеличенные виды частей, показанных пунктирной линией на фиг.5 и 7),
– в соответствии со вторым вариантом (фиг.6) на верхней поперечине/промежуточном звене в опорной полости – соединительной части инструмента (см. паз 17 с прямоугольным поперечным сечением в участке, показанном на фиг.6 пунктирной линией, а в увеличенном масштабе – на фиг.6А),
– в соответствии с третьим вариантом (фиг.8) на присоединяющем и отсоединяющем фиксаторе инструмента (см. V-образный паз 19 в участке, показанном на фиг.8 пунктирной линией, а в увеличенном масштабе – на фиг.8А).
Как следует из этих чертежей, толкатель расположен:
– в соответствии с указанным первым вариантом – в присоединяющем и отсоединяющем фиксаторе инструмента, или в верхней поперечине, или промежуточном звене, при этом его указанное отверстие выходит к части поверхности, соответственно, фиксатора, или верхней поперечины, или промежуточного звена, то есть напротив указанного паза, когда инструмент установлен,
– в соответствии с вышеупомянутым вторым и третьим вариантом – в соединительной части инструмента, при этом указанное отверстие выходит к части поверхности соединительной части инструмента напротив указанного паза.
На каждом из фиг.5-8 показан только один толкатель. Однако очевидно, что возможна установка нескольких толкателей на одном фиксаторе, или на одной соединительной части инструмента, при этом все они предназначены для нахождения во взаимодействии с одним пазом.
Толкатель расположен с обеспечением возможности вхождения рабочего конца ползунка в паз с прижатием к одному краю самого паза. Кроме того, пружина выбрана и откалибрована так, что когда верхушка ползунка, будучи в контакте с пазом, находится в положении максимального вхождения, давление, оказываемое пружиной на ползунок, таково, что предотвращено выпадение инструмента при нахождении соответствующего фиксатора в положении закрепления.
В указанном первом варианте край паза, к которому прижат ползунок, является верхним краем, тогда как в указанном втором и третьем варианте он является нижним краем.
Что касается предпочтительных вариантов выполнения, показанных на фиг.5-8, то предпочтительными критериями являются:
– максимальный выход сферического ползунка из отверстия гнезда толкателя – выход составляет 30-33% от диаметра сферы,
– угол между двумя плоскими поверхностями, образующими V-образные пазы, показанные на фиг.7 и 8, составляет 90°, так как наклон двух поверхностей соответственно составляет 45° и -45°,
– ширина (расстояние между краями) V-образных пазов составляет около 90% от диаметра сферического ползунка,
– вертикальная составляющая силы, прикладываемой верхушкой ползунка к пазу, по меньшей мере равна Р/n, где “Р” – вес инструмента, а “n” – количество толкателей на фиксатор, прижатых к пазу,
– количество толкателей, установленных в одном фиксаторе или соединительной части инструмента, составляет один толкатель на каждые 1,5 кг веса инструмента.
Что касается выполняемых вручную способов монтажа и демонтажа инструментов, снабженных предлагаемым устройством, то было замечено, что самой легкой процедурой является монтаж и демонтаж инструмента за счет его поворота относительно его рабочей оси приблизительно на 30% до приложения направленной вверх (загрузка) силы, или направленной вниз (разгрузка) силы.
На фиг.9А, 9В, 9С проиллюстрирован прикладной пример данного изобретения, позволяющий преобразовать боковую соединительную часть, тип которой показан на фиг.2 (фиг.9), во фронтальную соединительную часть.
Это использование в действительности предусматривает исключение цилиндрических штифтов 7 и использование вместо них толкателя 12, вставленного в соединительную часть инструмента.
На фиг.9А показан инструмент, закрепленный фиксатором 4b.
На фиг.9В проиллюстрировано положение инструмента после перемещения фиксатора в положение закрепления: фактически, вместо падения инструмент удерживается в подвешенном состоянии за счет воздействия толкателя на нижний край паза 8а.
На фиг.9С показано, как действует толкатель во время операции демонтажа инструмента, осуществляемого вручную.
Фиг.10А, 10В, 10С и 10D иллюстрируют прикладные примеры данного изобретения, обеспечивающие преобразование боковой соединительной части, тип которой показан на фиг.1 (фиг.10), во фронтальную соединительную часть.
В соответствии с этими примерами неровность 5а на фиксаторе 4а отсутствует, и вместо нее имеется:
– V-образный паз, выполненный в фиксаторе, и толкатель, введенный в соединительную часть инструмента в соответствии с примером, показанным на фиг.10А,
– V-образный паз, выполненный в соединительной части инструмента, и толкатель, введенный в фиксатор в соответствии с примером, показанным на фиг.10В,
– толкатель, введенный в фиксатор в положение, в котором возможно взаимодействие верхушки толкателя с верхним краем паза 6а соединительной части инструмента, в соответствии с примером, показанным на фиг.10с,
– V-образный паз, выполненный в соединительной части инструмента, и толкатель, введенный в верхнюю поперечину/промежуточное звено, в соответствии с примером, показанным на фиг.10D.
Фиг.11А, 11В, 11С и 11D иллюстрируют прикладные примеры настоящего изобретения, обеспечивающие преобразование боковой соединительной части, тип которой использован на фиг.3 (фиг.11), во фронтальную соединительную часть.
В соответствии с этими примерами неровность 9 в соединительной части инструмента отсутствует, и вместо нее имеется:
– V-образный паз, выполненный в соединительной части инструмента, и толкатель, введенный в фиксатор в соответствии с примером, показанным на фиг.11А (на фиг.11А на соединительной части инструмента выполнены два противоположных паза с обеспечением возможности установки инструмента в двух возможных положениях, которые показаны на чертеже, полученных поворотом инструмента на 180° относительно оси соединительной части инструмента),
– V-образный паз, выполненный в фиксаторе, и толкатель, введенный в соединительную часть инструмента в соответствии с примером, показанным на фиг.11В (на фиг.11В пунктирными линиями показан второй паз на верхней поперечине/промежуточном звене, который должен быть выполнен при необходимости установки инструмента в соответствии с двумя возможными положениями, как показано на фиг.11А),
– толкатель, введенный в соединительную часть инструмента в положение, обеспечивающее зацепление рабочего конца толкателя с нижним краем паза 8b верхней поперечины/промежуточного звена, в соответствии с примером, показанным на фиг.11с,
– V-образный паз, выполненный в соединительной части инструмента, и толкатель, введенный в верхнюю поперечину/промежуточное звено, в соответствии с примером, показанным на фиг-11D.
Очевидно, что примеры вышеприведенных вариантов выполнения, описанные для описательной и неограничительной целей, допускают множество очевидных видоизменений, модификаций, вариантов и замен некоторых элементов другими элементами функционально эквивалентного типа, без отклонения от сущности данного изобретения и объема правовой охраны, изложенных в последующей формуле изобретения.
Формула изобретения
1. Быстродействующее устройство для присоединения инструментов к верхней поперечине листоштамповочного пресса и отсоединения от нее инструментов, содержащее зажимные/разжимные фиксаторы для прикрепления каждого инструмента к указанной поперечине пресса или к промежуточному звену, выполняющему функцию удлинительного узла соединительной части инструмента, отличающееся тем, что оно снабжено по меньшей мере одним толкателем, содержащим наружное гнездо и ползунок с оконечной частью сужающейся формы, расположенный в наружном гнезде, имеющем на одной стороне отверстие, с возможностью перемещения и частичного выхода его оконечной части за пределы указанного отверстия, и пружину для прижима ползунка с обеспечением выступания его оконечной части из указанного отверстия, и выполнено с пазом, имеющим горизонтальную ось, параллельную фронтальной части пресса, и расположенным в соответствии с первым вариантом на вертикальной поверхности соединительной части инструмента, установленной в полости для ее размещения, выполненной в верхней поперечине пресса или в промежуточном звене, в соответствии со вторым вариантом – в полости для размещения соединительной части инструмента, выполненной в верхней поперечине пресса или в полости промежуточного звена, а в соответствии с третьим вариантом – на зажимном/разжимном фиксаторе в выполненной в нем полости для размещения соединительной части инструмента, причем толкатель расположен в соответствии с указанным первым вариантом – в зажимном/разжимном фиксаторе или в верхней поперечине пресса, или в промежуточном звене, при этом отверстие наружного гнезда толкателя выходит к части поверхности фиксатора или к части верхней поперечины, или к части промежуточного звена и расположено напротив указанного паза при установленном инструменте, в соответствии с указанным вторым и третьим вариантами – в соединительной части инструмента, при этом указанное отверстие выходит к части поверхности соединительной части инструмента и расположено напротив указанного паза при установленном инструменте, причем толкатель расположен с обеспечением возможности вхождения указанной оконечной части ползунка в указанный паз и ее нажатия на край паза с обеспечением предотвращения падения инструмента, пружина выбрана и откалибрована с обеспечением воздействия на ползунок в положении размещения его оконечной части в контакте с пазом при максимальном вхождении давлением, предотвращающим выпадение инструмента при нахождении соответствующего зажимного/разжимного фиксатора в освобождающем положении, край паза в соответствии с первым вариантом является верхним краем, а в соответствии со вторым и третьим вариантами – нижним краем.
2. Устройство по п.1, отличающееся тем, что наружное гнездо имеет цилиндрическую форму, а ползунок – сферическую форму.
3. Устройство по п.2, отличающееся тем, что максимальный выход ползунка из отверстия наружного гнезда толкателя составляет 30-33% от диаметра ползунка.
4. Устройство по п.1, отличающееся тем, что оконечная часть ползунка имеет цилиндрическую форму или выполнена с поперечным сечением V-образной формы или в форме равнобедренной трапеции.
5. Устройство по п.1, отличающееся тем, что паз выполнен с поперечным сечением V-образной формы и углом между двумя плоскими поверхностями, составляющим 90°, причем наклон указанных плоских поверхностей составляет, соответственно, 45° и -45°.
6. Устройство по п.5, отличающееся тем, что наружное гнездо имеет цилиндрическую форму, ползунок имеет сферическую форму, а расстояние между краями V-образного паза составляет около 90% от диаметра сферического ползунка.
7. Устройство по п.1, отличающееся тем, что оно выполнено с возможностью обеспечения воздействия на ползунок при нахождении его оконечной части, прижимающейся к краю паза для предотвращения выпадения инструмента, в положении максимального вхождения давлением, обеспечивающим по меньшей мере равенство вертикальной составляющей силы, прикладываемой к пазу, величине Р/n, где Р – вес инструмента, a n – количество толкателей в зажимном/разжимном фиксаторе, оказывающих давление на паз.
8. Устройство по п.1, отличающееся тем, что количество толкателей, установленных на одном зажимном/разжимном фиксаторе соединительной части инструмента или верхней поперечине пресса, или промежуточном элементе, составляет один толкатель на каждые 1,5 кг веса инструмента.
РИСУНКИ
|
|