|
|
(21), (22) Заявка: 2007108712/02, 10.08.2005
(24) Дата начала отсчета срока действия патента:
10.08.2005
(30) Конвенционный приоритет:
13.08.2004 GB 0418180.6
(43) Дата публикации заявки: 20.09.2008
(46) Опубликовано: 20.04.2009
(56) Список документов, цитированных в отчете о поиске:
ЕР 1252980 А2, 30.10.2002. RU 2104689 С1, 20.02.1998. RU 2104859 С2, 20.02.1998. RU 2108233 С1, 10.04.1998. US 6126669 А, 03.10.2000. US 5337478 A, 16.08.1994.
(85) Дата перевода заявки PCT на национальную фазу:
13.03.2007
(86) Заявка PCT:
GB 2005/003143 20050810
(87) Публикация PCT:
WO 2006/016159 20060216
Адрес для переписки:
105215, Москва, Щелковское ш., 48, стр. 1, а/я 26, Н.А.Рыбиной
|
(72) Автор(ы):
КЛАРК Шон Питер (GB)
(73) Патентообладатель(и):
ДЗЕ ЖИЛЛЕТ КОМПАНИ (US)
|
(54) БРИТВА
(57) Реферат:
Изобретение относится к режущим устройствам и может быть использовано для бритья. Бритва содержит нагнетающую систему для подачи жидкости из резервуара к дозирующему отверстию для нанесения на кожу во время бритья. Упомянутая система имеет электрически приводимый в действие дозатор для регулируемой подачи жидкости и устройство управления для регулируемого включения дозатора. Устройство управления выполнено с возможностью формирования управляющего сигнала для включения дозатора при касании кожи во время бритья и выключения дозатора после заданной длительности работы. В результате обеспечивается достижение оптимальной дозировки жидкости для бритья и предотвращение подачи излишнего количества жидкости. 23 з.п. ф-лы, 9 ил.
ОБЛАСТЬ ТЕХНИКИ
Настоящее изобретение относится к лезвиям. В частности, оно относится к безопасным бритвам, а именно к бритвам с одним или несколькими лезвиями либо тонкими пластинами с острыми режущими кромками, хотя изобретение в его общей концепции может быть также использовано для бритв сухого бритья, то есть бритв, в которых пластина и режущая головка перемещаются относительно друг друга, срезая волосы за счет сдвигающего действия. Изобретение детально описано на примере безопасной бритвы.
ПРЕДШЕСТВУЮЩИЙ УРОВЕНЬ ТЕХНИКИ
Известно много решений, направленных на создание безопасной бритвы с системой дозированного нанесения на кожу во время бритья вещества, облегчающего бритье, такое как пена для бритья или другая смазывающая жидкость, которое по существу хранится внутри резервуара готовым для использования. В соответствии с некоторыми этими решениями резервуар размещен внутри рукоятки бритвы, несмотря на то, что были предложены другие конструкции, например, такая как прикрепленная к резервуару бритва, описанная в нашей более ранней заявке WO 00/47374 (Симе). В общем случае в нагнетающую систему включено устройство для управления подачей жидкого вещества из резервуара во время бритья, такое как клапан для выпуска жидкости из резервуара, в котором она находится под давлением. Клапан может быть выполнен с возможностью срабатывания при соприкосновении лезвийной головки бритвы с кожей, как в случае бритвы, описанной в упомянутой заявке WO 00/47374, хотя в других конструкциях предусмотрена отдельная кнопка, которая может быть нажата пальцем руки, в которой держат бритву. В патенте США 5337478 описана безопасная бритва, имеющая баллон с пеной для бритья под давлением, размещенный в рукоятке, и имеющая клапан, предназначенный для выпуска пены для бритья и подачи ее к лезвийной головке бритвы с таким расчетом, чтобы обеспечивалась дозированная подача пены на соприкасающуюся с кожей поверхность лезвийной головки. Для управления клапаном служит соленоид, который питается от батареи, помещенной в батарейном отсеке, присоединенном к основанию рукоятки, при этом включение соленоида осуществляется с помощью электрического ключа, расположенного в бритвенной головке таким образом, что ключ включен и, соответственно, включен соленоид для открывания клапана, когда головка касается кожи во время осуществления бреющего прохода. В этой системе и других конструкциях, известных из уровня техники, сложно управлять подачей жидкого продукта, наносимого на кожу, так чтобы можно было обеспечить приемлемую отмеренную порцию и исключить подачу чрезмерного количества продукта. Кроме того, в отдельных системах жидкость может подаваться, по меньшей мере, в течение короткого времени после того, как лезвийная головка будет отведена от кожи, и это может быть не приемлемо, в особенности, если это происходит после окончания бритья. В патенте US 3176392 описана электрическая бритва для сухого бритья, имеющая резервуар для облегчающего скольжение жидкого вещества, которое может подаваться по желанию пользователя. Жидкость может находиться под давлением в резервуаре и подаваться за счет клапана, приводимого в действие вручную с помощью рычага, расположенного на стенке корпуса бритвы. Как альтернатива, предложено использовать мотор бритвы для приведения в действие насоса, предназначенного для подачи жидкости. Эти предложения имеют такие же недостатки, как и обсуждавшиеся выше.
КРАТКОЕ ОПИСАНИЕ ИЗОБРЕТЕНИЯ
Заявляемое изобретение направлено на устранение недостатков известных дозирующих систем и представляет бритву, содержащую систему для подачи жидкости из резервуара к подающему отверстию во время соприкосновения с кожей при бритье, при этом подводящая система включает электрически приводимый в действие дозатор для регулируемой подачи жидкости и устройство управления работой дозатора, при этом устройство управления выполнено с возможностью формирования управляющего сигнала для включения дозатора, когда бритва касается кожи, и выключения дозатора после заданного времени работы.
Путем ограничения времени, в течение которого дозатор остается включенным каждый раз, когда бритва находится в контакте с кожей, достигнута в значительной степени оптимальная дозировка жидкости, наносимой на кожу во время бритья, в частности может быть предотвращена подача излишнего количества жидкости.
Изобретение в предпочтительном варианте осуществления представлено в виде безопасной бритвы, имеющей рукоятку, в которой размещен резервуар, и лезвийную головку с одним или более лезвиями, размещенную на рукоятке, при этом подающее отверстие расположено по существу на или вблизи контактирующей с кожей поверхности, имеющейся на лезвийной головке вблизи лезвия (лезвий), например на защитной детали впереди лезвия (лезвий) или верхней ограничительной детали за лезвием (лезвиями).
Жидкость может находиться в резервуаре под давлением, и дозатор в этом случае может быть выполнен в виде электрически управляемого клапана. Однако лучшее управление расходом подаваемой жидкости может быть достигнуто с помощью системы, имеющей электрический насос для управления подачей жидкости. Электрический насос может включаться на фиксированное время, обеспечивающее постоянный расход, и может обеспечить гибкость в управлении потоком. Привод насоса посредством переключателя может быть соединен с источником энергии, предпочтительно батареей, размещенной в рукоятке бритвы, при этом устройство управления генерирует импульсы фиксированной длительности, т.е. ширины, для управления переключателем.
Достаточная подача жидкости может быть обеспечена за счет заданной длительности работы в диапазоне от 0,1 до 2 секунд, в частности от 0,2 до 1 секунды. Наиболее эффективная подача жидкости может быть достигнута при заданной длительности работы от 0,3 до 0,6 секунд, например около 0,4 секунды. Устройство управления может быть выполнено с возможностью обеспечения задержки между последующими включениями дозатора, что позволяет ограничить подачу жидкости, когда бритвой выполнено несколько коротких бреющих проходов, следующих быстро друг за другом. Рекомендуется задержка, по крайней мере, в одну секунду, например задержка в диапазоне от 1 до 10 секунд, или более предпочтительно – от 2 до 6 или 8 секунд. Для большинства пользователей задержка приблизительно в 4 секунды может быть подходящей для достижения хороших результатов при все еще адекватной подаче жидкости. Также можно с помощью устройства управления ограничить подачу жидкости, выполнив его так, что дозатор будет выключен все время, пока бритва касается кожи во время осуществления бреющего прохода. Так, например, устройство управления может быть выполнено с возможностью включения дозатора во время каждого второго, третьего или четвертого бреющего прохода. Такая конструкция может быть особенно предпочтительной, если лезвийная головка содержит абсорбирующий или пористый материал, к которому подается жидкость и который служит для того, чтобы обеспечить постепенное нанесение жидкости на кожу во время выполнения бреющего прохода. Устройство управления может быть также выполнено с возможностью учета длительности бреющих проходов и/или их количества бреющих проходов, по существу выполненных надлежащим образом, для управления подачей жидкости соответственно. Кроме того, может быть обеспечен более длительный от начала бритья период эксплуатации дозатора, например, путем реверсивной работы подающего насоса, когда до окончания бритья может быть включен режим обратного всасывания для оттягивания жидкости назад от лезвийной головки.
Лезвийная головка бритвы в предпочтительном варианте выполнена как сменный картридж, что предполагает возможность его замены, когда лезвие или лезвия затупятся. Картридж и рукоятка могут иметь средство сочленения, образующее путь подачи жидкости. Как альтернатива, подающая головка, например распылительная головка, может быть выполнена в рукоятке независимо от картриджа, обеспечивая подачу жидкости, например, прямо перед защитной деталью картриджа. Если использована распылительная головка, подачей жидкости можно управлять с помощью средств регулировки, основанных на “струйной” технологии.
Дозируемая жидкость в предпочтительном варианте осуществления включает смягчающий кожу жидкий компонент, в частности кремнийорганическое масло, для которого устанавливается расход менее 3 г/мин. Тем не менее, имеется широкий ассортимент улучшенных жидких продуктов для бритья, которые могут быть нанесены на кожу во время бритья с использованием бритвы, выполненной в соответствии с изобретением, включая жидкости, проявляющие одно или более из следующих свойств или качеств:
(i) крем для бритья;
(ii) смягчающий компонент;
(iii) кондиционер для ухода за кожей;
(iv) увлажнитель кожи;
(v) смягчитель волос или кондиционер для облегчения срезания;
(vi) ароматизатор;
(vii) очищающее кожу средство;
(viii) бактериальный или лекарственный лосьон; и
(ix) коагулянт крови или подобное вещество для лечебного воздействия на небольшие порезы и царапины, которые могут быть получены во время бритья.
Устройство управления может содержать механический переключатель, однако в предпочтительном варианте конструкции бритвы устройство управления имеет чувствительность на непосредственную близость или касание кожи и содержит датчик, установленный таким образом, что он находится в непосредственной близости или касается кожи во время осуществления бреющего прохода, и в ответ на это включается дозатор.
В случае, когда безопасная бритва снабжена устройством управления, чувствительным на сближение, дозатор может быть включен, когда лезвийная головка находится на расстоянии не более чем приблизительно 10 мм от тела, например на расстоянии 5 мм или меньше. Могут быть использованы бесконтактные переключатели, срабатывающие на свет, инфракрасное или радиоволновое излучение. В частном случае выполнения изобретения использовано чувствительное на контакт устройство управления, включение которого происходит немедленно, как только лезвийная головка коснется кожи. Датчик, установленный на лезвийной головке, предпочтительно выполнен в виде электрода и для удобства может быть представлен, по крайней мере, одним лезвием лезвийной головки. Взамен этого, если целесообразно, может быть применен отдельный электрод. Лезвийная головка может иметь пластиковую оправку, по меньшей мере, часть которой может быть выполнена из проводящей пластмассы и образует электрод и/или электрический контакт с электродом. Электрический контакт с электродом также может быть обеспечен за счет металлизации или покрытия оправки лезвийной головки электрически проводящим материалом или снабжением лезвийной головки одной или более проводящими пластинками.
В предпочтительном варианте осуществления изобретения бритва снабжена вторым электродом, а управляющее устройство выполнено чувствительным к изменению электрических параметров среды между электродами, таких как электрическая проводимость или емкость. В частности, второй электрод может быть выполнен так, чтобы при использовании он находился в непосредственной близости или контактировал с телом пользователя, например удобно его выполнить как часть рукоятки для контакта с рукой пользователя, держащего бритву.
Устройство управления может содержать генератор сигналов, выполненный с возможностью генерирования пары электрических сигналов, компаратор, выполненный с возможностью сравнения упомянутых электрических сигналов и формирования выходного сигнала, характеризующего заданное изменение соотношения между упомянутыми сигналами, и средство, реагирующее на выходной сигнал компаратора и запускающее дозатор, при этом заданное изменение соотношения между сравниваемыми сигналами возникает, когда оба электрода находятся в непосредственной близости или касаются кожи бреющегося человека.
В частном случае генератор сигналов выполнен как генератор электрических колебаний, а пара электрических сигналов представляет собой пару электрических колебаний, первый и второй конденсаторы выполнены с возможностью их заряда от соответствующих электрических колебаний, при этом электроды по существу выполнены так, что, например, благодаря дополнительной емкости, по существу подсоединенной параллельно к первому конденсатору и возникающей, когда бритва приведена пользователем в состояние, в котором оба электрода находятся в непосредственной близости от кожи или касаются ее, первый конденсатор заряжается медленнее, чем второй конденсатор.
Бритва в соответствии с изобретением желательно содержит источник электрической энергии, в частности батарею, для снабжения электрической энергией устройства управления и дозатора, а также переключатель, выполненный с возможностью подачи или отключения электрической энергии от упомянутого источника к устройству управления и насосу или иному дозатору. Переключатель может быть расположен снаружи устройства с возможностью ручного управления пользователем. Как альтернатива, переключатель может быть выполнен с возможностью взаимодействия с соответствующей кассетой для хранения бритвы, обеспечивая отключение электрической энергии от упомянутого источника электрической энергии, когда бритва вставлена в кассету, и подключение электрической энергии, когда бритва извлечена из кассеты. Кассета для хранения бритвы в общем случае может быть выполнена, как это описано в патенте US 5782346.
ОПИСАНИЕ ЧЕРТЕЖЕЙ
Для ясного понимания изобретения ниже детально описан пример выполнения безопасной бритвы со ссылкой на прилагаемые чертежи, на которых изображено:
Фиг.1 – безопасная бритва, вид сзади;
Фиг.2 – безопасная бритва, вид сбоку;
Фиг.3 – безопасная бритва, вид спереди;
Фиг.4 – перспективный вид сзади, представляющий верхний конец рукоятки и лезвийный картридж;
Фиг.5 – вид сбоку, на котором показан держатель для бритвы, выполненный в форме кассеты, в которой хранится бритва, когда она не используется, при этом бритва показана отдельно от кассеты на небольшом расстоянии от нее;
Фиг.6 – то же, когда бритва изображена находящейся на большем расстоянии от кассеты для хранения;
Фиг.7 – блок-схема электрического устройства управления, размещенного в бритве;
Фиг.8 – пример конкретного выполнения переключателя; и
Фиг.9 – пример конкретного выполнения генератора импульсов и блока управления насосом.
ОПИСАНИЕ ПРИМЕРОВ ОСУЩЕСТВЛЕНИЯ
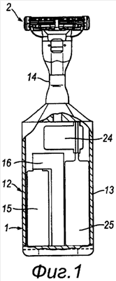
Безопасная бритва, представленная на чертежах, имеет рукоятку 1 и лезвийную головку или картридж 2, разъемно присоединяемый к верхнему концу рукоятки. Лезвийная головка содержит в общем случае прямоугольную раму 3 и некоторое количество лезвий 4, например три, четыре или пять лезвий, которые имеют по существу параллельные острые режущие кромки, размещены в раме и удерживаются на месте с помощью металлических хомутиков 5, расположенных вокруг рамы 3 с противоположных концов лезвийной головки 2. Защитная деталь 6 включает полоску из эластомера и расположена на раме для контакта с кожей перед лезвиями, а верхняя ограничительная деталь 7 расположена на раме для контакта с кожей позади лезвий при осуществлении бреющего прохода. Рама шарнирно удерживается с помощью вилки 8, имеющей пару кронштейнов 9, которые выходят из втулки 10 и шарнирно соединяются с противоположных концов с рамой 3, так что лезвийная головка 2 может качаться относительно рукоятки 1 вокруг оси, по существу параллельной кромкам лезвий. Втулка 10 соединена разъемно с концом рукоятки 1. Как было описано ранее, использована бритва известной конструкции, и для более детального представления можно воспользоваться более ранней патентной публикацией, например WO 97/37819.
Рукоятка бритвы включает основную часть 12, предназначенную для удержания в руке, шейку 14, вытянутую вверх из основной части, и свободный конец, к которому присоединяется лезвийная головка 2. Основная или захватная часть 12 рукоятки 1 содержит электропроводящий, например металлический корпус 13, который служит в качестве электрода для электрического контакта с рукой пользователя, как это более детально описано ниже. Внутри батарейного отсека в рукоятке размещена заменяемая или перезаряжаемая батарея 15. Также внутри рукоятки размещено электронное устройство управления 16. Батарея 15 электрически соединена с устройством управления 16 с помощью переключателя, который служит для отключения устройства управления, чтобы сохранять заряд батареи в то время, когда бритва не используется. Переключатель мог бы быть размещен на рукоятке для включения вручную, однако в предпочтительном варианте осуществления изобретения переключатель выполнен с возможностью срабатывания при вынимании бритвы из держателя, в котором бритва размещается для хранения на время, когда она не используется, и при установке бритвы обратно в держатель. Известная конструкция держателя бритвы состоит из кассеты 18, как показано на Фиг.5 и 6, где кассета 18 имеет на верхней стороне седло 19, приспособленное для размещения в нем и легкого схватывания шейки 14 рукоятки 1 бритвы. Рукоятка 1 бритвы может быть снабжена механическим переключателем, выполненным совместно с кассетой 18 так, что переключатель срабатывает автоматически, когда бритва извлечена из кассеты 18, чтобы подать энергию от батареи 15 к включаемому устройству 16, и срабатывает при возвращении бритвы в кассету для прерывания подачи энергии. В предпочтительном варианте по сути такой же результат достигается с помощью переключателя в виде геркона 20, размещенного внутри рукоятки 1, при этом кассета 18 снабжена постоянным магнитом 21. Когда бритва плотно вставлена в кассету 18, геркон, как это показано на Фиг.5, за счет близко расположенного магнита 21 находится в разомкнутом состоянии и электрическая энергия от батареи не подводится, однако когда бритва извлечена из кассеты, геркон замыкается и электрическая энергия подается на устройство управления 16, как показано на Фиг.6.
Устройство управления 16 в процессе, детально описанном ниже, управляет включением электрического насоса 24 (Фиг.2 и 3), размещенного внутри рукоятки 1. Насос 24 имеет вход, соединенный с резервуаром 25, размещенным внутри рукоятки 1 и в котором хранится запас смягчающей жидкости, а именно силиконовое масло. Резервуар может быть заменяемым или перезаряжаемым. Выход насоса 24 соединен с трубкой 26, проходящей сквозь шейку 14 рукоятки бритвы. Трубка 16 может быть соединена с трубкой, сформированной в одном или обоих кронштейнах 9 вилки 8 для подачи масла к картриджу 2, который имеет дозирующее отверстие, расположенное на или вблизи контактирующей с кожей поверхности картриджа. Как альтернатива, отдельное соединение может быть выполнено между рукояткой и картриджем для пропускания смягчающей жидкости, подаваемой по трубке 26 к картриджу. Подходящий картридж может содержать удлиненный распределительный трубопровод между защитной деталью 6 и лезвиями 4, где распределительный трубопровод имеет одну или более дозирующих щелей, разнесенных вдоль картриджа параллельно лезвиям и предназначенных для вытекания смягчающей жидкости, наносимой на поверхность кожи во время бритья. Смягчающая жидкость дозируется при подаче к дозирующим щелям путем управляемого включения насоса 24, как это описано ниже.
Устройство управления 16 выполнено чувствительным к касанию, так что насос 24 включается, когда лезвийная головка или бритва касается тела пользователя бритвы, которым является человек, держащий рукоятку 1 бритвы. Лезвийная головка 2 включает в себя электрод, который для удобства выполнен, по меньшей мере, как одно лезвие или предпочтительно включает все лезвия 4 лезвийной головки. Электрическое соединение между устройством управления 16 и этими электродами обеспечено посредством шейки 14 рукоятки 1, имеющей контакт 30, выполненный проходящим сквозь втулку 10 вилки 8 и плотно соприкасающимся с контактной полоской 32, закрепленной на тыльной стороне лезвийной головки, при этом контактная полоска 32 имеет боковые ответвления 33, которые простираются до скрепляющих лезвия металлических хомутиков 5 и электрически с ними соединены, при этом хомутики, в свою очередь, имеют контакт с лезвиями 4. Конечно, не обязательно использовать лезвия 4 в качестве электрода, например, на лезвийной головке со стороны, касающейся кожи, когда лезвийная головка 2 осуществляет бреющий проход, может быть выполнен отдельный электропроводящий элемент. Контакт 30 образует постоянный электрический контакт с контактной полоской 32, так что электрическая цепь между электродом на лезвийной головке не разрывается во время качания лезвийной головки 2 на рукоятке 1, что происходит, когда лезвийная головка касается кожи и двигается по ней. Контакт 30 удобно выполнить в форме подпружиненного плунжера, создающего сопротивление качению лезвийной головке, когда она отклоняется от состояния покоя. Контакт 30 показан электрически соединенным с устройством управления 16 с помощью проводника 35, который проходит сквозь шейку 14 рукоятки 1.
Конечно, есть иные возможности обеспечить электрическое соединение электрода на лезвийной головке и устройства управления. Например, рамка 3 лезвийной головки может быть изготовлена из электропроводящего материала, такого как проводящая пластмасса. Также, тыльная сторона рамки 3 может иметь гальваническое покрытие, нанесенное или напечатанное проводящим материалом, или иметь нанесенную на нее адгезивную металлическую пленку, или иметь заделанную внутри металлическую деталь, обеспечивающую электрическое соединение между контактом 30 и хомутиками 5, или с электродом как таковым, или другим конструктивным элементом, контактирующим с электродом. В качестве альтернативы, рамка может иметь отформованную литьем под давлением металлическую часть, обеспечивающую проводящую связь между электродом и контактом 30, или для создания электропроводной цепи может быть достаточно воды, содержащейся в капиллярных канавках.
На Фиг.7 представлена блок-схема, иллюстрирующая работу устройства управления 16. Как видно, устройство управления содержит генератор электрических колебаний 61, компаратор, генератор импульсов и блок 63 управления насосом, а также первый и второй конденсаторы 64, 65. Устройство управления 16 дополнительно соединено с двумя сенсорными электродами, образованными лезвиями 4, как это описано выше, и внешним корпусом 13 рукоятки 1, соответственно. Генератор импульсов и блок 63 управления насосом соединены для управления током возбуждения двигателя насоса 24. Как было указано выше, энергия, необходимая для питания устройства управления 16, обеспечена батареей 15, подключаемой через переключатель. Для простоты, подключение питания не показано на Фиг.7, по существу понятно, что последующее описание работы устройства управления 16 соответствует случаю, когда питание на него подано путем подачи энергии от батареи.
Генератор электрических колебаний 61 выполнен с возможностью формирования двух электрических колебаний на выходах 611 и 612 соответственно. Выходы 611 и 612 через первый и второй конденсаторы, соответственно, соединены с линией 66, которая служит в качестве земляной шины для электрической схемы. С выходов 611 и 612 пара сигналов подается на компаратор 62. По существу, компаратор 62 чувствителен к изменению соотношения между этими двумя сигналами. Сенсорные электроды соединены так, что соотношение между обоими сигналами на компараторе изменяется соответственно тому, оба или только один из электродов касаются тела пользователя. Будучи чувствительным к такому изменению, компаратор, когда оба электрода соприкасаются с телом пользователя, формирует запускающий сигнал для генератора импульсов и блока 63 управления насосом.
Более детально на Фиг.7 можно видеть, что выход 612 дополнительно соединен с одним из сенсорных электродов. Когда нет действительного электрического соединения между двумя электродами, сигналы, генерируемые генератором 61 на выходах 611 и 612, имеют первое заданное соотношение на входе компаратора 62. Когда оба сенсорных электрода находятся в контакте с телом пользователя, образуется некоторая дополнительная электрическая цепь между выходом 612 и земляной шиной 66. Это может быть, например, дополнительно подключенная к конденсатору 65 емкость и/или электрическое сопротивление. В любом случае, дополнительная цепь оказывает влияние на изменение характеристик сигнала с выхода 612 на входе компаратора 62. Соответственно, соотношение между двумя сигналами изменяется, и компаратор 62 срабатывает, формируя запускающий сигнал для блока 63, который, в свою очередь, управляет работой насоса 24.
Как было описано выше, устройство управления 16 срабатывает, когда оба сенсорных электрода находятся в контакте с телом пользователя. В зависимости от условий работы устройства или чувствительности компаратора устройство управления 16 может быть также чувствительным и к другим условиях. В частности, если пользователь держит бритву и вследствие этого находится в контакте с одним из электродов, это может быть достаточным условием для срабатывания устройства 16 при поднесении другого электрода близко, но без касания тела. Близость другого электрода к телу достаточна в данном случае для возникновения дополнительной емкости между выходом 612 и шиной 66 и вызывает описанное выше изменение сигналов на выходе 612. Чтобы установить приблизительное расстояние до тела, на котором будет достигаться этот результат, может быть задана чувствительность компаратора или другого заменяющего его устройства. Например, может быть установлено приблизительно 10 мм.
Дополнительно устройство управления 16 может быть выполнено с возможностью формирования определенного выходного сигнала всякий раз, когда на него подано питание с помощью переключателя 20, соединяющего батарею с устройством управления. Может быть использовано устройство индикации, такое как светодиод 28 (Фиг.4), обозначенный на Фиг.8 как LED1, который загорается, когда переключатель находится в положении “включено”. Это же или другое устройство индикации может быть выполнено мигающим при низком уровне заряда батареи или низком уровне жидкости в резервуаре 25.
На Фиг.8 и 9 показан пример электрической схемы устройства управления 16, представленного на Фиг.7. Данный пример показан только с иллюстративной целью и возможны другие варианты обеспечения функциональных возможностей устройства управления 16. На Фиг.8 и 9 показаны интегральные микросхемы IC1:А, IC1:В и IC1:С, а также другие компоненты схемы – резисторы, конденсаторы, диоды и транзисторы, обозначенные первыми буквами R, С, D и Q с указанием их параметров.
На Фиг.8 показан переключатель RL1, описанный ранее и который представляет собой язычковый контакт, управляемый с помощью магнита, установленного в кассете, предназначенной для хранения устройства, когда оно не используется. Когда устройство извлечено из кассеты, переключатель RL1 находится в показанном положении, так что батарея 15 подсоединена к клеммам Т1,1 и Т1,2, при этом питание подано на схему по шине +5 V и горит светодиод LED1. Клемма Т2,1 соединена с внешним корпусом 13 рукоятки 1 устройства, обеспечивая соединение одного из двух электродов и шины “земля” электрической схемы.
Микросхема IC1:А является ядром генератора колебаний 61 и соединена с резисторами R1, R2, конденсаторами С3, С4 и транзистором Q1, что обеспечивает формирование электрических колебаний на выходах 611 и 612. Они служат входными сигналами для компаратора 62, ядром которого является микросхема IC1:В, и подаются через резистивно-емкостные цепочки R4, RV1 и С6, и R3 и С5.
В каждом цикле электрических колебаний, когда сигнал на выходе 611 имеет высокий потенциал, конденсатор С5 начинает заряжаться через резистор R3. Следовательно, на вход синхронизации микросхемы IC1:В будет подаваться увеличивающийся сигнал. При определенном уровне этого входного сигнала уровень сигнала на входе синхронизации микросхемы IC1:В изменится от низкого до высокого. Частота колебаний и скорость заряда конденсатора С5 установлены таким образом, что напряжение на входе синхронизации микросхемы IC1:В достигает значения “высокое” в течение нескольких циклов колебаний. Как известно, когда напряжение на входе синхронизации увеличивается до значения сигнала на входе D микросхемы IC1:В, на выходе Q формируется сигнал, где – ему инверсный.
Также в каждом цикле электрических колебаний, когда сигнал на выходе 612 имеет высокий потенциал, конденсатор С6 начинает заряжаться через резистор R4 и переменный резистор RV1. Поскольку конденсатор С6 имеет такое же значение емкости, как и конденсатор С5, когда ничего не соединено с выводом Т3,3, и RV1 установлен так, что соединение R4 и RV1 эквивалентно R3, скорость заряда обоих конденсаторов одинакова. Поэтому RV1 может быть использован для настройки схемы таким образом, чтобы в таком положении С6 заряжался, по меньшей мере, быстрее, чем С5, благодаря чему, когда уровень сигнала на входе синхронизации микросхемы IC1:В повышается, уровень сигнала на входе D с выхода 612 также высокий. В таком состоянии на выходе Q всегда сохраняется высокий потенциал.
Вывод Т3,3 соединен с электродом в картридже бритвы. Следовательно, когда этот электрод касается или находится в непосредственной близости от кожи пользователя, который держит рукоятку, соединенную с выводим Т2,1, образуется дополнительная цепь, состоящая из конденсатора С7 и некоторого сопротивления и емкости тела человека. Имеет место эффект снижения скорости заряда конденсатора С6, так что, когда на входе синхронизации микросхемы IC1:В высокий потенциал, на входе D – все еще низкий потенциал, благодаря чему на выходе Q устанавливается низкий потенциал. Как описано более детально ниже, генератор импульсов и блок 63 управления насосом, показанный на Фиг.9, срабатывает по отрицательному фронту, и таким образом, переход сигнала на выходе Q из состояния высокого потенциала в низкий обеспечивает необходимый запускающий сигнал.
Что касается Фиг.9, в качестве микросхемы IC1:С использован таймер (в данном случае – таймер серии 555), который служит базовым элементом генератора импульсов и вход запуска которого соединен емкостной связью через конденсатор С12 с выводом Т3,2, который соединен с выходом Т3,1 компаратора 62. Каждый вывод конденсатора С12 соединен с шиной питания 71 напряжением +5 V через соответствующие резисторы R8, R9, так что когда выход Q компаратора 62 переходит в состояние низкого потенциала, как описано выше, на вход запуска TRG микросхемы IC1:С поступает запускающий сигнал, при этом микросхема IC1:С немедленно срабатывает, формируя установленный импульс напряжения на выходе OUT микросхемы IC1:С. Времязадающая цепочка (R10, C14) определяет длительность или ширину выходного импульса в соответствии с уровнем напряжения, приложенного ко входу THR задания порога срабатывания микросхемы IC1:С. Уровень порогового напряжения и, следовательно, длительность выходного импульса может регулироваться потенциометром R10, который выполнен как переменный резистор, соединенный одним выводом к шине питания +V, а другим выводом – к земляной шине через конденсатор C14. Таким образом, выходной импульс прерывается после установленной длительности. Несмотря на то, что на схеме не показаны соответствующие элементы, тем не менее ясно, что может быть организована задержка перед тем, как генератор будет вновь запущен для формирования следующего выходного импульса. Этот и другие параметры управления может обеспечить схема, включающая микропроцессорное управление. Выходной импульс генератора импульсов подается на управляющий вход переключающего устройства, показанного как полевой транзистор (FET) Q2, который включает и выключает подачу энергии от батареи к мотору насоса 24. Диод D4 соединен параллельно с полевым транзистором FET Q2 для защиты от обратной эдс, генерируемой мотором насоса. Понимается, что насос 24 приводится в действие в течение определенной длительности выходного импульса, формируемого генератором импульсов, чтобы отмерить определенное количество жидкости на дозирующем выходе на лезвийной головке 2, когда лезвийная головка касается кожи пользователя, держащего бритву за рукоятку. Подходящий период работы насоса составляет от 0,1 до 2 секунд, в частности от 0,2 до 1 секунды, и наиболее предпочтительно – от 0,3 до 0,6 секунды. Предполагается, что длительность работы, равная 0,4 секунды, обеспечивает подачу достаточного количества смазывающей жидкости во время бритья. Бритва может быть снабжена элементом управления, позволяющим пользователю бритвы, изменяя установку переменного резистора R10, регулировать в некоторых пределах длительность работы, руководствуясь личными предпочтениями. Когда задана задержка между последовательными включениями, это может быть по меньшей мере как длительность работы и может быть от 1 до 10 секунд, например от 2 до 6 или 8 секунд, при этом считается, что для большинства пользователей подходит задержка приблизительно в 4 секунды.
Понятно, что приведенное выше описание предпочтительного варианта воплощения дано не с целью представления только такого ограничивающего варианта и что возможны иные модификации без отступления от сущности изобретения, как это охарактеризовано в формуле изобретения, которая следует ниже. Как пример одной из возможных модификаций упомянуто, что электропроводящий корпус 13 рукоятки может быть снабжен тонким покрывающим слоем изоляционного материала, за счет чего обеспечивается высокая переходная емкость и сопротивление между рукой пользователя и электродом рукоятки. Кроме того, если желательно включение вручную, переключающий механизм может быть смонтирован на рукоятке и соединен электрически последовательно с переключателем 20, для использования пользователем, который предпочитает не использовать кассету 18 для хранения бритвы, когда она не используется. Этот или другой переключатель, такой как электронный тумблер, который включает и/или выключает после некоторой задержки, может быть применен, что позволит пользователю выбрать режим без подачи жидкости, например, в начале бритья, когда пена для бритья или гель были нанесены на кожу.
Формула изобретения
1. Бритва, содержащая нагнетающую систему для подачи жидкости из резервуара к дозирующему отверстию для нанесения на кожу во время бритья, которая включает электрически приводимый в действие дозатор для регулируемой подачи жидкости и устройство управления для регулируемого включения дозатора, выполненное с возможностью формирования управляющего сигнала для включения дозатора при касании бритвой кожи пользователя во время бритья и его выключения после заданной длительности работы.
2. Бритва по п.1, характеризующаяся тем, что является безопасной бритвой, содержащей рукоятку, в которой расположен резервуар, и лезвийную головку с одним или более лезвиями, удерживаемую на рукоятке, при этом дозирующее отверстие по существу расположено на или в непосредственной близости от входящей в контакт с кожей пользователя поверхности, имеющейся на лезвийной головке в непосредственной близости от лезвий.
3. Бритва по п.1, в которой жидкость в резервуаре находится под давлением, а в качестве дозатора для регулируемой подачи жидкости использован электрически приводимый в действие клапан.
4. Бритва по п.1, в которой дозатор для регулируемой подачи жидкости содержит насос.
5. Бритва по п.4, в которой насос имеет мотор, подключенный к источнику энергии посредством переключателя.
6. Бритва по п.5, в которой устройство управления выполнено с возможностью генерирования выходного импульса для управления переключателем в соответствии с длительностью выходного импульса.
7. Бритва по п.1, которая выполнена с возможностью обеспечения заданной длительности работы, составляющей от 0,1 до 2 с.
8. Бритва по п.1, в которой устройство управления выполнено с обеспечением задержки между следующими друг за другом включениями дозатора.
9. Бритва по п.8, в которой устройство управления выполнено с обеспечением задержки, составляющей по меньшей мере одну секунду.
10. Бритва по п.9, в которой устройство управления выполнено с обеспечением задержки, составляющей от 1 до 10 с.
11. Бритва по п.1, в которой устройство управления выполнено с обеспечением выключения дозатора при контакте бритвы с кожей пользователя во время осуществления бреющего прохода.
12. Бритва по п.11, в которой устройство управления выполнено с обеспечением включения дозатора при каждом втором, третьем или четвертом бреющем проходе.
13. Бритва по п.1, в которой использована жидкость, содержащая смягчающее вещество.
14. Бритва по п.1, в которой устройство управления выполнено чувствительным на приближение бритвы к коже пользователя или на касание ее и содержит датчик, выполненный с обеспечением вхождения в контакт или расположения в непосредственной близости с бреемой кожей пользователя при осуществлении бреющего прохода.
15. Бритва по п.14, в которой датчик содержит электрод.
16. Бритва по п.15, которая содержит второй электрод, а устройство управления выполнено чувствительным к изменению электрических параметров среды между электродами.
17. Бритва по п.16, в которой второй электрод выполнен с обеспечением нахождения в непосредственной близости или контакте с телом пользователя при использовании.
18. Бритва по п.17, в которой второй электрод выполнен в виде части рукоятки бритвы.
19. Бритва по п.16, в которой в качестве электрического параметра использовано электрическое сопротивление.
20. Бритва по п.16, в которой в качестве электрического параметра использована электрическая емкость.
21. Бритва по п.16, в которой устройство управления содержит генератор сигналов, выполненный с возможностью генерирования пары электрических сигналов, и компаратор, выполненный с возможностью сравнения упомянутых электрических сигналов и формирования выходного сигнала, характеризующего заданное изменение соотношения между упомянутыми сигналами, который по существу включает дозатор, а электроды выполнены с обеспечением перемещения бритвы пользователем в состояние, когда оба электрода находятся в непосредственной близости или контактируют с телом пользователя, что вызывает упомянутое заданное изменение соотношения между сигналами.
22. Бритва по п.21, в которой в качестве генератора сигналов использован генератор электрических колебаний, а в качестве пары электрических сигналов использована пара электрических колебаний.
23. Бритва по п.22, в которой устройство управления содержит первый и второй конденсаторы, включенные с возможностью их заряда упомянутой парой электрических колебаний, электроды по существу выполнены с обеспечением заряжения первого конденсатора медленнее второго, при приведении устройства управления пользователем в состояние, при котором оба электрода находятся в непосредственной близости с телом пользователя или касаются его.
24. Бритва по п.23, в которой первый и второй электроды выполнены с обеспечением подсоединения добавочного конденсатора параллельно упомянутому первому конденсатору при приведении бритвы пользователем в состояние, при котором оба электрода находятся в непосредственной близости с телом пользователя или касаются его.
РИСУНКИ
|
|