|
|
(21), (22) Заявка: 2007118809/02, 21.05.2007
(24) Дата начала отсчета срока действия патента:
21.05.2007
(43) Дата публикации заявки: 27.11.2008
(46) Опубликовано: 20.04.2009
(56) Список документов, цитированных в отчете о поиске:
SU 1579750 A1, 23.07.1990. SU 772838 A1, 02.11.1980. SU 1121131 A1, 30.10.1984. SU 795921 A1, 15.01.1981. RU 2090346 C1, 20.09.1997. JP 2004025351 A, 29.01.2004.
Адрес для переписки:
355029, г.Ставрополь, пр-кт Кулакова, 2, СевКавГТУ
|
(72) Автор(ы):
Городецкий Вадим Вадимович (RU)
(73) Патентообладатель(и):
Государственное образовательное учреждение высшего профессионального образования “Северо-Кавказский государственный технический университет” (RU)
|
(54) КОРПУС ДРОБЕМЕТНОГО АППАРАТА
(57) Реферат:
Изобретение относится к оборудованию для очистки поверхностей деталей или для их поверхностного упрочнения. Корпус дробеметного аппарата содержит рабочее колесо, импеллер, распределительную камеру, кожух, плиты бронезащиты, регулировочные винты и боковые плиты защиты. Плиты бронезащиты выполнены из износостойкой резины, имеют профильную рабочую поверхность, установлены без зазоров и поджаты к боковым плитам защиты регулировочными винтами, в результате чего снижается металлоемкость и повышается долговечность защитных элементов корпуса дробеметного аппарата. 2 ил.
Изобретение относится к оборудованию для очистки поверхностей деталей или для поверхностного упрочнения.
Известен дробеметный барабан (А.с. СССР 1505767, кл. В24С 3/12, опубл. 07.09.1989 г.).
С целью упрочнения конструкции и повышения долговечности защитные элементы выполнены в виде износостойкого дисперсного наполнителя, при этом рабочая обкладка выполнена цельнолитой из износостойкого полиуретановго эластомера, а каркас и нерабочая обкладка замкнуты посредством ступенчатого вкладыша, выполненного в виде ответвления от рабочей обкладки. В качестве дисперсного наполнителя использована дробь.
Недостатки данной конструкции: не ясно, каким образом наполнитель в виде дроби удерживается на рабочей обкладке. При деформировании ленты дробь будет отскакивать. Очень сложна конструкция ответвления в виде ступенчатого вкладыша по всей ширине ленты.
В связи с этим цель изобретения – упрочнение конструкции не достигнута.
Известен стол дробеструйной камеры (А.с. СССР 592585, кл. В24С 3/20, опубл. 15.02.1978 г.).
Содержание изобретения: с целью обеспечения возможности частичной замены изношенной решетчатой поверхности она состоит из коаксиально расположенных с зазором относительно друг друга втулок, скрепленных между собой посредством прокладок и шпилек; втулки и прокладки выполнены из резины.
Недостатки данной конструкции: между резиновыми втулками и прокладками будет скапливаться дробь; при частичной замене изношенной решетчатой поверхности необходимо разобрать двенадцать шпилек, убрать изношенные втулки; разборка и сборка данной конструкции трудоемка (16 втулок, 16 прокладок, 12 шпилек).
Наиболее близким по технической сущности и достигнутому положительному эффекту является корпус дробеметного аппарата (А.с. СССР 1579750, кл. В24С 5/06, опубл. 23.07.1990 г.).
Сущность изобретения: корпус дробеметного аппарата состоит из питающего патрубка, распределительной втулки с окном для вылета дроби, импеллера, винта для крепления импеллера к валу. На валу смонтирована ступица, к которой прикреплен задний диск, жестко соединенный с передним диском. Между дисками установлены рабочие лопасти, между дисками и кожухом закреплены боковые защитные элементы и верхний защитный элемент. Защитные элементы смонтированы без зазоров одноименными полюсами в местах стыка.
Недостатком данной конструкции является использование износостойких магнитных элементов, которые смонтированы без зазоров одноименными полюсами в местах стыков. Не ясно, что из себя представляют магнитные элементы. На элементы бронезащиты (особенно в местах стыков) будет налипать большое количество дроби. Магнитное поле будет замыкаться через кожух и диски дробеметного аппарата. На защитных элементах будет скапливаться большое количество намагниченной дроби. Этот слой будет тормозить вращающиеся лопасти; в магнитном поле будет намагничиваться дробь и траектория полета дроби изменится, что отразится на работоспособности дробеметного аппарата.
Технический результат, достигаемый при реализации заявленного изобретения, заключается в упрощении конструкции, снижении металлоемкости и повышении долговечности защитных элементов.
Указанный технический результат достигается тем, что плиты бронезащиты установленные без зазоров и поджимаемые к боковым плитам защиты винтами, изготовлены из износостойкой резины, а рабочая поверхность самих плит бронезащиты имеет сложный профиль.
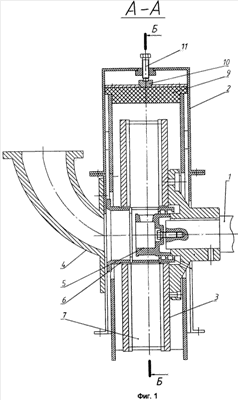
На фиг.1 показан разрез А-А корпуса, на фиг.2 – разрез Б-Б.
Корпус дробеметного аппарата состоит из вала 1, с одной стороны на конце вала закреплена ступица 8 и диск рабочего колеса 3, рабочих лопаток 7, импеллера 5, питателя 4, распределительной камеры 6, кожуха 2, который облицован изнутри плитами бронезащиты 9, 14, 15, регулировочных винтов 11, гаек 12 и упоров 10, боковых плит защиты 13, 16.
Преимущества заявленного изобретения заключаются в снижении металлоемкости; упрощении конструкции корпуса дробеметного аппарата и проведения ремонтных работ; увеличении износостойкости плит бронезащиты; уменьшении стоимости плит бронезащиты.
Формула изобретения
Корпус дробеметного аппарата, содержащий вал, ступицу, диск рабочего колеса, рабочие лопатки, импеллер, питатель, распределительную камеру, кожух, плиты бронезащиты, регулировочные винты, гайки, упоры и боковые плиты защиты, отличающийся тем, что плиты бронезащиты выполнены из износостойкой резины с профильной рабочей поверхностью, установлены без зазоров и поджаты к боковым плитам защиты регулировочными винтами.
РИСУНКИ
|
|