|
|
(21), (22) Заявка: 2007127565/02, 19.07.2007
(24) Дата начала отсчета срока действия патента:
19.07.2007
(46) Опубликовано: 20.04.2009
(56) Список документов, цитированных в отчете о поиске:
Под ред. Б.Д.Орлова Технология и оборудование контактной сварки. – М.: Машиностроение, 1975, с.172, рис.5.25з. RU 2064385 C1, 27.07.1996. SU 1754371 A1, 15.08.1992. SU 1174212 A1, 23.08.1985. JP 200203949 A, 05.02.2002. JP 6277853 A, 04.10.1994. JP 5318135 A, 03.12.1993. US 3784779 A, 08.01.1974.
Адрес для переписки:
125284, Москва, 1-й Боткинский пр-д, 7, ОАО “РСК “МиГ”, отд. 5856, Л.В.Симкиной
|
(72) Автор(ы):
Лопаткин Александр Иванович (RU), Овчинников Виктор Васильевич (RU), Верденский Владимир Борисович (RU), Алексеев Вячеслав Владимирович (RU), Смирнов Сергей Вячеславович (RU)
(73) Патентообладатель(и):
ОАО “Российская самолетостроительная корпорация “МиГ” (RU)
|
(54) СПОСОБ КОНТАКТНОЙ ТОЧЕЧНОЙ СВАРКИ СТЕРЖНЯ С ПЛАСТИНОЙ
(57) Реферат:
Изобретение относится к способу контактной точечной сварки пластины со стержнем и может быть использовано в авиастроении, ракетостроении, судостроении и других отраслях машиностроения для получения соединений игольчатого крепежа, предназначенного для крепления деталей из композиционных материалов. Диаметр отверстия в пластине задают не более чем на 0,20 мм больше диаметра стержня. Перед пропусканием основного импульса тока пропускают подогревающий импульс с величиной тока 0,6-0,7 от тока основного импульса и длительностью 0,6-0,8 с. Величину тока основного импульса выбирают в диапазоне (1,2-1,3)I0, где I0 – величина тока импульса при сварке пакета из двух листов с суммарной толщиной, равной толщине пластины. 8 ил., 1 табл.
Изобретение относится к области образования неразъемных соединений, возникающих в результате нагрева металла протекающим через детали электрическим током и пластической деформации зоны соединения.
Контактная точечная сварка находит широкое применение в производстве летательных аппаратов, в судостроении и автомобилестроении.
Известен способ контактной точечной сварки заклепки с пластиной (см. Кочергин К.А. Контактная сварка. – Л.: Машиностроение, Ленинградское отделение, 1987 – 240 с. с ил., с.109, рис.2.27). При данном способе контактной сварки в верхнем электроде контактной машины выполняют отверстие, в которое устанавливают стержень заклепки. Регламентируют высоту выступания головки заклепки относительно рабочей поверхности верхнего электрода. Со стороны пластины размещают электрод с плоской рабочей поверхностью. Затем электроды сближают до касания головкой заклепки поверхности пластины, пропускают импульс сварочного тока и включают усилие осадки.
За счет протекания тока происходит разогрев деталей в зоне контакта головки заклепки с пластиной, образуется жидкая прослойка металла, при кристаллизации которой формируется соединение.
Недостатком данного способа сварки заклепки с пластиной является частое образование выплеска при формировании соединения. Это снижает качество соединений, что недопустимо при изготовлении ответственных деталей таких, как втулки крепления радиопрозрачного конуса летательного аппарата из композиционного материала. Кроме того, при реализации данного способа необходимо дополнительное устройство для точного позиционирования заклепок относительно друг друга (сохранение постоянства шага приварки заклепок).
Наиболее близким по технической сущности к заявляемому способу является способ контактной сварки заклепки с потайной головкой с пластиной (Технология и оборудование контактной сварки. Учебное пособие. Под редакцией Орлова Б.Д. – М.: Машиностроение. 1975, 536 с.: ил. стр.172, рис.5.25з). При данном способе в пластине выполняют отверстие, которое создает вариант контакта «острой гранью». Высокая плотность тока поддерживается малой площадью соприкосновения острой кромки отверстия с наклонной поверхностью головки заклепки.
Недостатком прототипа является формирование соединения без образования жидкой фазы, что делает его не контролепригодным. Кроме того, такой вариант формирования соединения отличается большим разбросом прочности (разрушающего усилия).
Предлагаемый способ контактной сварки пластины со стержнем обеспечивает формирование жидкой фазы в контакте между стержнем и пластиной и, как следствие, стабилизацию прочностных свойств получаемых соединений.
Технический результат, на достижение которого направлено данное изобретение, обеспечивается выполнением в пластине отверстия размером, не более чем на 0,20 мм превышающим диаметр стержня, перед пропусканием основного импульса тока пропусканием подогревающего импульса с величиной тока 0,6-0,7 от тока основного импульса и длительностью 0,6-0,8 с, а величину тока основного импульса выбирают в диапазоне (1,2-1,3)I0, где I0 – величина тока импульса при сварке пакета из двух листов с суммарной толщиной, равной толщине пластины.
Подробнее сущность заявляемого способа поясняется чертежами:
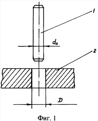
на фиг.1 показана схема сборки соединения стержня с пластиной под сварку в соответствии с заявляемым способом;
на фиг.2 – схема сварки стержня с пластиной в соответствии с заявляемым способом;
на фиг.3 – структура соединения стержня с пластиной при зазоре между деталями 0,25 мм;
на фиг.4 – макроструктура соединения стержня с пластиной при зазоре 0,15 мм после подогревающего импульса с величиной тока 0,65 от тока основного импульса и длительностью 0,7 с;
на фиг.5 – схема (а) и макроструктура (б) соединения при токе импульса 1,1I0;
на фиг.6 – схема (а) и макроструктура (б) соединения при токе импульса 1,25I0;
на фиг.7 – схема (а) и макроструктура (б) соединения при токе импульса 1,4I0;
на фиг.8 – внешний вид пластины с рядом приваренных стержней.
Сборку соединения стержня 1 с пластиной 2 под сварку осуществляют следующим образом. В пластине 2 (фиг.1) выполняют отверстие диаметром D. Диаметр отверстия в пластине выбирают не более чем на 0,20 мм больше диаметра d0 стержня.
Сварка осуществляется следующим образом: стержень 1 устанавливается в отверстии в пластине 2 (фиг.2). Под пластину 2 подводится нижний электрод 3. Стержень 1 располагается в отверстии в промежуточном электроде 5. Промежуточный электрод 5 размещают под верхним 4 электродом контактной машины. После сжатия верхнего 4 и нижнего 3 электродов машины через них (и соответственно промежуточный электрод 5) пропускают импульс сварочного тока. В результате прохождения импульса тока в контакте между стержнем 1 и поверхностью отверстия в пластине 2 образуется литое ядро 6.
Сборка соединения стержня 1 с пластиной 2 без зазора практически невозможна. Величина зазора оказывает существенное влияние на формирование соединения. При плотном соединении (запрессовке стержня 1 в отверстие в пластине 2) возможно образование литого ядра 6. Однако на практике это требует повышения требований к точности сборки и усложнения процесса соединения стержней с пластиной.
Практически величина зазора между стержнем 1 и поверхностью отверстия в пластине 2 колеблется в пределах 0,01-0,10 мм на сторону. Формирование литого ядра в пластине 2 и в теле стержня 1 наблюдается при зазоре не более 0,04 мм. При большей величине зазора наблюдается выплеск, сопровождающийся формированием полости в литом ядре (фиг.3). Кроме того, при большой величине зазора наблюдается формирование литого ядра только в пластине 2, а в стержне 1 оно отсутствует.
Для устранения зазора между стержнем 1 и пластиной 2 применяется подогревающий импульс. Величину тока подогревающего импульса выбирают в диапазоне 0,6-0,7 от тока основного импульса. Назначение подогревающего импульса заключается в том, чтобы разогреть металл пластины вокруг стержня и путем его деформирования за счет давления электродом устранить зазор между стержнем и пластиной. При величине тока в подогревающем импульсе меньше чем 0,6 от тока основного импульса не наблюдается достаточного разогрева металла пластины 2 вокруг стержня 1 и не происходит устранения зазора между указанными деталями перед пропусканием основного импульса тока. При величине тока подогревающего импульса более 0,7 от тока основного импульса наблюдается образование литого ядра в материале пластины 2 и его выплеск в зазор между пластиной 2 и стержнем 1. Поэтому величину тока подогревающего импульса задают в пределах 0,6-0,7 от тока основного импульса.
На степень разогрева металла пластины 2 вокруг стержня 1 большое влияние оказывает время протекания тока подогревающего импульса. При длительности подогревающего импульса менее 0,6 с не происходит достаточного разогрева металла пластины 2 вокруг стержня 1 и зазор не устраняется. При времени протекания подогревающего импульса 0,6-0,8 с наблюдается разогрев металла пластины 2 вокруг стержня 1 до пластичного состояния и устранение зазора между указанными деталями до пропускания основного импульса (фиг.4). Увеличение времени пропускания подогревающего импульса тока более 0,8 с нецелесообразно, так как это не приводит к устранению зазоров большей величины, а сопровождается укрупнением зерна металла в зоне термического влияния. Такое укрупнение зерна сопровождается снижением механических свойств соединений.
Применение подогревающего импульса тока позволяет устранить зазор в соединении стержня 1 с пластиной 2 величиной 0,20 мм.
На формирование соединения стержня с пластиной существенное влияние оказывает ток основного импульса. Величину тока импульса в процессе сварки задают равной величине 1,2-1,3 тока импульса при сварке пакета из двух листов, суммарной толщиной, равной толщине пластины. При токе основного импульса менее 1,2 от тока импульса при сварке пакета из двух листов, суммарной толщиной, равной толщине пластины, формирование литого ядра 6 происходит только в материале пластины 2 (фиг.5а, б) и не затрагивает материал стержня 1. В этом случае отсутствует металлическая связь в соединении, которое характеризуется низким значением разрушающего усилия.
При токе основного импульса 1,2-1,3 тока импульса при сварке пакета из двух листов, суммарной толщиной, равной толщине пластины, имеет место формирование литого ядра 6 в пластине 2 и в теле стержня 1 (фиг.6). Это обеспечивает надежное соединение деталей и высокие значения разрушающего усилия.
При токе основного импульса более 1,3 тока импульса при сварке пакета из двух листов, суммарной толщиной, равной толщине пластины, литое ядро 6 выходит на поверхность пластины 2 и весьма вероятно образование выплеска 7 (фиг.7). При этом снижаются значения разрушающего усилия.
Таким образом, качественное формирование соединения стержня 1 с пластиной 2 с наиболее высокими значениями разрушающего усилия достигается при использовании импульса тока величиной 1,2-1,3 тока импульса при сварке пакета из двух листов, суммарной толщиной, равной толщине пластины.
Были проведены эксперименты по контактной сварке пластины из сплава ВТ6С толщиной 3 мм со стержнем из сплава ВТ 16 диаметром 3 мм. Длина стержня составляла 16 мм. До сварки в пластине выполняли отверстие, диаметр которого 3,1 мм.
Для сварки штыря с пластиной использовалась машина для контактной точечной сварки марки МТ-2023. В качестве режима сварки был выбран режим, обеспечивающий формирование литого ядра диаметром 5,9-6,1 мм при соединении пакета из двух листов сплава ВТ6С толщиной 3+3 мм: ток импульса 10,0 кА, длительность импульса 0,2 с, усилие сжатия электродов 5,4-5,9 кН. Полученные результаты приведены в таблице.
п.п. |
Подогревающий импульс |
Основной импульс |
Характер формирования соединения |
Разрушающее усилие, кН |
| Ток, кА |
Время, с |
Ток, кА |
Время, с |
| 1 |
6,88 |
0,7 |
12,5 |
0,2 |
Не устраняется зазор между деталями |
– |
| 2 |
7,50 |
0,7 |
12,5 |
0,2 |
Наблюдается устранение зазора между стержнем и пластиной до 0,2 мм (фиг.4) |
– |
| 3 |
8,12 |
0,7 |
12,5 |
0,2 |
| 4 |
8,75 |
0,7 |
12,5 |
0,2 |
| 5 |
9,38 |
0,7 |
12,5 |
0,2 |
Наблюдается образование выплеска литого ядра из зазора между стержнем и пластиной |
– |
| 6 |
8,12 |
0,5 |
12,5 |
0,2 |
Не устраняется зазор между деталями из-за недостаточного разогрева металла пластины |
– |
| 7 |
8,12 |
0,6 |
12,5 |
0,2 |
Наблюдается устранение зазора между стержнем и пластиной до 0,2 мм (фиг.4) |
– |
| 8 |
8,12 |
0,65 |
12,5 |
0,2 |
| 9 |
8,12 |
0,7 |
12,5 |
0,2 |
| 10 |
8,12 |
0,8 |
12,5 |
0,2 |
Наблюдается увеличение размера зерна в зоне термического влияния |
– |
| 11 |
8,12 |
0,65 |
11,0 |
0,2 |
Отсутствие литого ядра в теле стержня (фиг.5) |
1700 |
| 12 |
8,12 |
0,65 |
12,0 |
0,2 |
Формирование литого ядра в теле стержня и в материале пластины (фиг.6) |
3400 |
| 13 |
8,12 |
0,65 |
12,5 |
0,2 |
4500 |
| 14 |
8,12 |
0,65 |
13,0 |
0,2 |
5200 |
| 15 |
8,12 |
0,65 |
13,5 |
0,2 |
Выход литого ядра на поверхность пластины и образование выплеска |
3300 |
Из приведенных данных следует, что использование заявляемого способа контактной точечной сварки стержня с пластиной из титановых сплавов обеспечивает получение качественного соединения с высокими прочностными свойствами. Применение способа возможно при изготовлении игольчатых лент крепления узлов из композиционного материала к фюзеляжу летательного аппарата. Внешний вид игольчатой ленты, полученной с применением заявляемого способа, представлен на фиг.8.
Формула изобретения
Способ контактной точечной сварки пластины со стержнем, выступающим с обеих сторон пластины, при котором в пластине выполняют сквозное отверстие, стержень устанавливают в отверстии в пластине, собранные детали размещают между электродами контактной машины, после чего электроды сжимают и пропускают импульс электрического тока, отличающийся тем, что диаметр отверстия в пластине задают не более, чем на 0,20 мм больше диаметра стержня, перед пропусканием основного импульса тока пропускают подогревающий импульс с величиной тока 0,6-0,7 от тока основного импульса и длительностью 0,6-0,8 с, а величину тока основного импульса выбирают в диапазоне (1,2-1,3)I0, где I0 – величина тока импульса при сварке пакета из двух листов с суммарной толщиной, равной толщине упомянутой пластины.
РИСУНКИ
|
|