|
|
(21), (22) Заявка: 2007118195/02, 21.09.2006
(24) Дата начала отсчета срока действия патента:
21.09.2006
(30) Конвенционный приоритет:
29.09.2005 KR 10-2005-0091086
(43) Дата публикации заявки: 10.12.2008
(46) Опубликовано: 20.04.2009
(56) Список документов, цитированных в отчете о поиске:
JP 5261447 A, 12.10.1993. SU 683612 A3, 30.08.1979. SU 937087A 1,23.06.1982. SU 1000141 A1, 28.02.1983. US 6318141 A, 20.11.2001.
(85) Дата перевода заявки PCT на национальную фазу:
04.06.2007
(86) Заявка PCT:
KR 2006/003749 20060921
(87) Публикация PCT:
WO 2007/037603 20070405
Адрес для переписки:
191002, Санкт-Петербург, а/я 5, ООО “Ляпунов и партнеры”, пат.пов. Е.Г.Ильмер, рег. 1144
|
(72) Автор(ы):
ПАК Хон-Соон (KR)
(73) Патентообладатель(и):
ПАК Хон-Соон (KR)
|
(54) УСТРОЙСТВО ДЛЯ ПОДАЧИ ДУГООБРАЗНОЙ ЛЕНТЫ
(57) Реферат:
Изобретение относится к устройствам для подачи дугообразной ленты, имеющей внутренний радиус и внешний радиус, расстояния перемещения которых отличаются друг от друга. Устройство содержит основной корпус, выполненный с зазором, который обеспечивает возможность прохождения через него дугообразной ленты, и транспортирующий ролик. Транспортирующий ролик установлен в основном корпусе с возможностью вращения для перемещения дугообразной ленты. Транспортирующий ролик выполнен в виде усеченного конуса с торцом малого диаметра, торцом большого диаметра и сужающейся боковой поверхностью между торцом малого диаметра и торцом большого диаметра. Транспортирующий ролик установлен наклонно относительно поверхности дугообразной ленты из условия нахождения сужающейся боковой поверхности транспортирующего ролика в параллельном контакте с поверхностью дугообразной ленты. В результате чего упрощается конструкция заявленного устройства. 5 з.п. ф-лы, 7 ил.
Область применения
Настоящее изобретение относится к устройству для подачи дугообразной ленты, предназначенному для перемещения дугообразной ленты в лентогибочном устройстве, в частности к устройству для подачи дугообразной ленты, перемещающему дугообразную ленту, имеющую внутренний и наружный радиусы, расстояния перемещения которых отличаются друг от друга.
Предпосылки изобретения
В целом, лентогибочное устройство – это устройство для непрерывного изгибания полосовой ленты, которую наворачивают на ролик с применением гибочного стержня. Для непрерывного изгибания полосовой ленты в лентогибочном устройстве важно подавать ленту с ролика с требуемой скоростью. Когда полосовая лента имеет прямую форму, ее накладывают на горизонтальный вращающийся ролик и перемещают за счет силы трения, возникающей между поверхностью ленты и роликом.
Однако в случае дугообразной ленты 10, показанной на фиг.1, вследствие того что ее внутренний радиус r и внешний радиус R отличаются друг от друга, для сохранения формы дугообразной ленты необходимо по-разному перемещать участок внутреннего радиуса и участок внешнего радиуса. Поскольку горизонтальный ролик, используемый для перемещения обычной прямой ленты, имеет постоянный диаметр по всей боковой поверхности, он не подходит для перемещения дугообразной ленты, которую следует перемещать при условии, что перемещение участка внутреннего радиуса отличается от перемещения участка внешнего радиуса.
Из уровня техники известно устройство для подачи дугообразной ленты, раскрытое в японском патентном документе 8-332524. Как показано на фиг.2, известное устройство для подачи дугообразной ленты содержит прижимные ролики 700 и 701, предназначенные для оказания давления на наружную кромку дугообразной ленты 10, и ведущее зубчатое колесо 720, предназначенное для перемещения дугообразной ленты 10 посредством зацепления зубцом за прорези 11, сформированные на внутренней кромке ленты 10. Другое известное из уровня техники устройство для подачи дугообразной ленты раскрыто в корейском патентном документе 10-2003-0025677. Как показано на фиг.3, данное известное устройство для подачи дугообразной ленты содержит узел 800 подачи, удерживающий дугообразную ленту 10 и вращаемый вокруг центральной точки О.
Однако, поскольку известное устройство для подачи, показанное на фиг.2, использует прорези 11, выполненные на внутренней кромке дугообразной ленты, при изменении формы прорезей 11 или промежутка между прорезями 11 необходимо менять ведущее зубчатое колесо 720 на соответствующее измененным прорезям. Также, поскольку известное транспортирующее устройство, изображенное на фиг.3, требует наличия устройств для опирания дугообразной ленты и вращения узла 800 подачи вокруг центральной точки, конструкция становится сложной.
Раскрытие изобретения
Техническая задача
С учетом вышеизложенных проблем целью заявленного изобретения является создание устройства для подачи дугообразной ленты, в котором возможно перемещать дугообразную ленту с внутренним и внешним радиусами, расстояния перемещения которых по окружности отличаются друг от друга, посредством одного транспортирующего ролика, что упрощает конструкцию устройства для подачи дугообразной ленты.
Техническое решение
Согласно заявленному изобретению достижение вышеуказанной и других целей обеспечено за счет создания устройства для подачи дугообразной ленты, предназначенного для перемещения дугообразной ленты с внутренним и внешним радиусами, расстояния перемещения которых отличаются друг от друга, при этом указанное устройство содержит: основной корпус, выполненный с зазором, через который проходит дугообразная лента, и транспортирующий ролик, установленный в основном корпусе с возможностью вращения и вращающийся для перемещения дугообразной ленты, причем транспортирующий ролик выполнен в виде усеченного конуса с торцом малого диаметра, торцом большого диаметра и сужающейся боковой поверхностью между торцом малого и торцом большого диаметра и установлен наклонно относительно поверхности дугообразной ленты таким образом, что сужающаяся боковая поверхность транспортирующего ролика находится в параллельном контакте с поверхностью дугообразной ленты. Таким образом, дугообразную ленту с внутренним радиусом и внешним радиусом можно перемещать посредством одного транспортирующего ролика.
Предпочтительно, отношение длины окружности по внутреннему радиусу дугообразной ленты к длине окружности в точке контакта малого диаметра транспортирующего ролика с участком внутренней кромки дугообразной ленты равно отношению длины окружности по наружному радиусу дугообразной ленты к длине окружности в точке контакта большого диаметра передаточного ролика с участком наружной кромки дугообразной ленты. Таким образом можно достичь точного перемещения дугообразной ленты.
Предпочтительно, основной корпус дополнительно содержит направляющие элементы, предназначенные для опирания и направления дугообразной перемещаемой ленты. Следовательно, возможно плавно перемещать дугообразную ленту, сохраняя при этом при этом ее дугообразную форму.
Предпочтительно, основной корпус дополнительно содержит прижимной ролик, установленный с возможностью вращения в основном корпусе с противоположной относительно транспортирующего ролика стороны дугообразной ленты и прижимающий дугообразную ленту к транспортирующему ролику. Таким образом поддерживают требуемую силу трения между транспортирующим роликом и дугообразной лентой.
Предпочтительно, прижимной ролик закреплен с возможностью вращения в регулировочном узле, подвижно соединенном с основным корпусом выше прижимного ролика с возможностью перемещения вверх/вниз. Соответственно подстраивая регулировочный узел посредством его перемещения вверх/вниз, можно отрегулировать прижимающее усилие прижимного ролика, прикладываемое к дугообразному полотну.
Предпочтительно, устройство дополнительно содержит механический привод, соединенный с вращающимся валом транспортирующего ролика, предназначенный для вращения установленного наклонно транспортирующего ролика.
Описание чертежей
Для лучшего понимания вышеуказанных и других целей, особенностей и других преимуществ заявленного изобретения далее приведено подробное описание, сопровождаемое чертежами, на которых:
на фиг.1 представлено изображение обычной дугообразной ленты;
на фиг.2 изображено устройство для подачи дугообразной ленты, известное из уровня техники;
на фиг.3 изображено другое известное устройство для подачи дугообразной ленты;
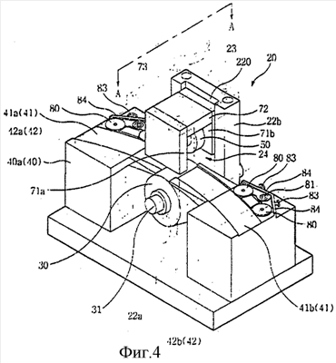
на фиг.4 представлено в аксонометрии устройство для подачи дугообразной ленты согласно предпочтительному варианту осуществления настоящего изобретения;
на фиг.5 представлен разрез по линии А-А на фиг.4;
на фиг.6 представлен в аксонометрии транспортирующий ролик устройства для подачи дугообразной ленты согласно предпочтительному варианту осуществления настоящего изобретения; и
на фиг.7 представлено изображение направляющего элемента устройства для подачи дугообразной ленты согласно предпочтительному варианту осуществления настоящего изобретения.
Предпочтительный вариант исполнения
Далее предпочтительные варианты осуществления настоящего изобретения будут раскрыты более подробно со ссылкой на приложенные чертежи. На фиг.4 представлено в аксонометрии транспортирующее устройство для дугообразной ленты согласно настоящему изобретению, на фиг.5 представлен разрез по линии А-А на фиг.4, на фиг.6 представлен в аксонометрии транспортирующий ролик устройства для подачи дугообразной ленты согласно заявленному изобретению, и на фиг.7 представлен направляющий элемент устройства для подачи дугообразной ленты согласно заявленному изобретению.
Согласно фиг.4 заявленное устройство для подачи дугообразной ленты содержит основной корпус 20, имеющий основание 21, неподвижно закрепленное в предварительно заданном положении, транспортирующий ролик 30 для перемещения дугообразной ленты 10, установленный в основном корпусе 20, и направляющие элементы 40, которые направляют перемещение дугообразной ленты 10.
Основной корпус 20 содержит боковые опорные блоки 22а и 22b, установленные вертикально на основании 21, и верхний блок 23, присоединенный горизонтально к верхним торцам боковых опорных блоков 22а и 22b таким образом, что основной корпус 20 имеет, по существу, форму прямоугольного параллелепипеда. Внутри основного корпуса 20 выполнен зазор 24, через который проходит дугообразная лента 10.
Для направления перемещения дугообразной ленты 10 установлены примыкающие к основному корпусу 20 направляющие элементы 40 (40а и 40b). В данном варианте исполнения для направления и опирания на входе и на выходе из основного корпуса 20 дугообразной ленты 10 установлены первый и второй направляющие элементы 40а и 40b на входе и выходе из основного корпуса 20 соответственно. Однако согласно данному конструктивному решению допустимо установить всего лишь один направляющий элемент – либо на входе, либо выходе из основного корпуса.
На верхних поверхностях первого направляющего элемента 40а, установленного на входе, и второго направляющего элемента 40b, установленного на выходе, выполнены направляющие желоба 41 (41а и 41b), в которых проходит дугообразная лента 10. Часть направляющего желоба 41а первого направляющего элемента и часть направляющего желоба 41b второго направляющего элемента заходит внутрь зазора 24 основного корпуса 20. Направляющие желоба 41, в которых размещают перемещаемую дугообразную ленту 10, имеют такой же изгиб, как и дугообразная лента 10. Также предпочтительно каждый из направляющих элементов 41 выполнен таким образом, чтобы внутренний радиус направляющего желоба равнялся внутреннему радиусу r дугообразной ленты 10. Когда внутренний радиус r дугообразной ленты 10 задан равным внутреннему радиусу направляющего желоба, то внутренняя кромка дугообразной ленты 10 будет всегда удерживаться в контакте с внутренней боковой поверхностью направляющих желобов 41 во время перемещения дугообразной ленты 10, если дугообразная лента 10 однажды была установлена таким образом, чтобы ее кромка контактировала с внутренними боковыми поверхностями направляющих желобов 41.
Ширина каждого из направляющих желобов 41 немного превышает ширину (разницу между внешним радиусом R и внутренним радиусом г) дугообразной ленты 10. Иначе говоря, внутренняя кромка дугообразной ленты 10 контактирует с внутренней боковой поверхностью направляющих желобов 41, в то время как внешняя кромка дугообразной ленты 10 находится на небольшом расстоянии от внешней боковой поверхности направляющих желобов 41, тем самым предотвращая задержку перемещения дугообразной ленты 10 в направляющих желобах 41.
Крышки 42 (42а и 42b) присоединены съемным образом к первому направляющему элементу 40а, установленному на входе, и второму направляющему элементу 40b, установленному на выходе. Сняв крышки 42 с направляющих элементов, можно легко установить дугообразную ленту 10 в направляющие желоба 41. Присоединение крышек 42 к направляющим элементам препятствует отделению дугообразной ленты 10 от направляющих желобов 41.
Направляющие элементы 40 установлены на основании 21 основного корпуса 20 съемным образом. Соответственно предусмотрено множество направляющих элементов, на каждом из которых выполнен направляющий желоб, отвечающий форме дугообразной ленты, при этом направляющие элементы выполнены с возможностью замены на соответствующие форме перемещаемой дугообразной ленты.
Транспортирующий ролик 30 установлен с возможностью вращения внутри зазора 24 основного корпуса 20, контактируя с поверхностью дугообразной ленты 10. В данном варианте исполнения транспортирующий ролик 30 установлен в нижней части зазора 24 между первым направляющим элементом 40а и вторым направляющим элементом 40b и выполнен с возможностью вращения относительно основного корпуса 20. Как показано на фиг.5 и 6, транспортирующий ролик 30 выполнен в виде усеченного конуса, имеющего сужающуюся боковую поверхность 32. Иначе говоря, диаметр одного торца 33 (торец малого диаметра) транспортирующего ролика отличается от диаметра другого торца 34 (торец большого диаметра). Соответственно при вращении транспортирующего ролика 30 расстояние d тангенциального перемещения точки 33а (в дальнейшем называемой «контактной точкой малого диаметра») контакта между участком внутренней кромки дугообразной ленты 10 и боковой поверхностью возле торца 33 малого диаметра транспортирующего ролика 30 отличается от расстояния D тангенциального перемещения точки 34а (в дальнейшем называемой «контактной точкой большого диаметра») контакта между участком внешней кромки дугообразной ленты 10 и боковой поверхностью возле торца 34 большого диаметра транспортирующего ролика 30.
В заявленном изобретении учтены вышеуказанные особенности, а именно разница между расстоянием d тангенциального перемещения контактной точки 33а малого диаметра и расстоянием D тангенциального перемещения контактной точки 34а большого диаметра при подаче дугообразной ленты. Для этого транспортирующий ролик 30 установлен в основном корпусе 20 таким образом, что вращающийся вал 31 транспортирующего ролика 30 наклонен относительно поверхности дугообразной ленты 10, которая контактирует с транспортирующим роликом 30. Иначе говоря, транспортирующий ролик 30 установлен наклонно таким образом, чтобы участок внутренней кромки дугообразной ленты 10 контактировал с контактной точкой 33а малого диаметра транспортирующего ролика 30, а участок внешней кромки дугообразной ленты 10 контактировал с контактной точкой 34а большого диаметра транспортирующего ролика 30. Таким образом, сужающаяся боковая поверхность 32 транспортирующего ролика 30 контактирует со всей поверхностью дугообразной ленты 10. В результате дугообразную ленту, имеющую внутренний и внешний радиусы, расстояния перемещения которых отличаются от друг друга, перемещают посредством вращения транспортирующего ролика 30.
Для точного перемещения дугообразной ленты 10 наклон сужающейся боковой поверхности 32 транспортирующего ролика 30, то есть установочный наклон транспортирующего ролика 30, должен иметь заданное соотношение с внутренним радиусом и внешним радиусом дугообразной ленты 10. В частности, длина окружности по внутреннему радиусу r дугообразной ленты 10 пропорциональна длине окружности транспортирующего ролика 30 в контактной точке 33а малого диаметра, а длина окружности по внешнему радиусу R дугообразной ленты 10 пропорциональна длине окружности транспортирующего ролика 30 в контактной точке 34а большого диаметра. Предпочтительно, две вышеупомянутые пропорциональные зависимости имеют одинаковый коэффициент, что позволяет перемещать дугообразное полотно 10 посредством вращения транспортирующего ролика 10.
В данном варианте исполнения длина окружности по внутреннему радиусу r дугообразной ленты 10 в десять раз больше длины окружности транспортирующего ролика 30 в контактной точке 33а малого диаметра, а длина окружности по внешнему радиусу R дугообразной ленты 10 в десять раз больше длины окружности транспортирующего ролика 30 в контактной точке 34а большого диаметра. Иначе говоря, в то время как транспортирующий ролик 30 повернется десять раз, дугообразное полотно 10 переместится на один оборот вокруг центральной точки О. Таким образом, основываясь на длинах окружности передаточного ролика в контактной точке 33а малого диаметра и в контактной точке 34а большого диаметра, соответственно определяемых внутренним радиусом r и внешним радиусом R дугообразной ленты 10, можно определить радиус а в контактной точке 33а малого диаметра, радиус А в контактной точке 34а большого диаметра и другие размеры, необходимые для изготовления устройства для подачи, например определить наклон сужающейся боковой поверхности транспортирующего ролика 30, отвечающий требованиям перемещения дугообразной ленты 10.
Кроме того, для перемещения дугообразной ленты 10 посредством транспортирующего ролика 30 установочный наклон транспортирующего ролика 30 относительно основного корпуса 20 задан равным наклону сужающейся боковой поверхности 32 транспортирующего ролика 30, при этом сужающаяся боковая поверхность 32 транспортирующего ролика 30 параллельна поверхности дугообразной ленты 10. Соответственно наклон сужающейся боковой поверхности транспортирующего ролика 30 равен наклону транспортирующего ролика 30 относительно основного корпуса 20. Также для наклонной установки транспортирующего ролика 30, как показано на фиг.5, можно модифицировать боковые опорные блоки 22а и 22b основного корпуса 20, чтобы наклонные поверхности стали перпендикулярны вращающемуся валу 31.
Вращающийся вал 31 транспортирующего ролика 30, как показано на фиг.7, приводят в движение механическим приводом 60, например двигателем или другим подобным устройством, а для необходимого регулирования вращения передаточного ролика 30 между вращающимся валом 31 и механическим приводом 60 установлены редуктор 61 и соединительная муфта 62.
Как показано на фиг.4 и 5, дугообразная лента 10, помещенная на транспортирующий ролик 30, прижата прижимным роликом 50, установленным в верхней части основного корпуса 20. Прижимающее усилие, прикладываемое прижимным роликом 50, поддерживает на требуемом уровне силу трения между транспортирующим роликом 30 и дугообразной лентой 10, при этом вращающее усилие транспортирующего ролика 30 передается дугообразной ленте 10. Прижимной ролик 50 закреплен с возможностью вращения в регулировочном узле 70, подвижно соединенном с возможностью перемещения вверх/вниз с основным корпусом 20. Таким образом, прижимной ролик 50 вращается за счет трения с перемещаемой дугообразной лентой 10 и не влияет на перемещение дугообразной ленты 10. В качестве прижимного ролика 50 можно применять горизонтальный ролик или усеченный конический ролик, имеющий такой же наклон, что и транспортирующий ролик 30, и установленный наклонно относительно основного корпуса. Подобный прижимной ролик 50 прижимает дугообразную ленту 10 к транспортирующему ролику 30. В данном варианте исполнения в качестве прижимного ролика 50 используют горизонтальный ролик, поскольку прижимной ролик 50 находится в линейном контакте с дугообразной лентой 10 и не влияет на перемещение дугообразной ленты.
Также, как показано на фиг.5, прижимной ролик 50 предназначен для контакта только с некоторым участком дугообразной ленты 10. Если прижимной ролик 50 оказывает давление на всю поверхность дугообразной ленты 10, то дугообразная лента 10 может сжаться и деформироваться, при этом внутренний радиус и внешний радиус изменятся. Предпочтительно, чтобы прижимной ролик 50 оказывал давление на участок возле наружной кромки (то есть на участок, где отсутствуют прорези 11) дугообразной ленты 10. Если прижимной ролик 50 оказывает давление на участок с выполненными прорезями 11, из-за этих прорезей 11 прижимной ролик 50 не всегда может оказывать постоянное давление на дугообразную ленту 10.
Регулировочный узел 70 содержит боковые пластины 71а и 71b, установленные для движения вверх и вниз в направляющих пазах 220, выполненных в боковых опорных блоках 22а и 22b основного корпуса 20, и верхнюю пластину 72, присоединенную к верхним концам боковых пластин 71а и 71b. Вращающийся вал 51 прижимного ролика 50 прикреплен с возможностью вращения к боковым пластинам 71а и 71b регулировочного узла 70. В верхнем блоке 23 основного корпуса 20 выполнено сквозное отверстие 230. Прижимной стержень 73 соединен винтовым соединением со сквозным отверстием 230 с возможностью перемещения вверх и вниз посредством вращения и оказывает давление на верхнюю пластину 72 регулировочного узла 70. Вращая прижимной стержень 73 для регулирования перемещения вверх/вниз регулировочного узла 70, регулируют прижимающее усилие прижимного ролика 50, приложенное к дугообразному полотну 10.
Сбоку каждого из направляющих желобов 41, выполненных в направляющих элементах 40, установлен по меньшей мере один удерживающий элемент 80. В данном варианте исполнения, поскольку внутренняя кромка дугообразной ленты 10 входит в контакт с внутренними боковыми поверхностями направляющих желобов 41, а внешняя кромка дугообразной ленты 10 находится на небольшом расстоянии от внешней боковой поверхности направляющих желобов 41, удерживающие элементы 80 расположены возле внешней боковой поверхности направляющих желобов 41 и удерживают внешнюю кромку дугообразной ленты 10. Как показано на фиг.4 и 7, в качестве удерживающего элемента 80 используют ролик. Два удерживающих элемента 80 предусмотрены возле внешней боковой поверхности направляющего желоба 41а первого направляющего элемента 40а, установленного на входе, а также два удерживающих элемента 80 предусмотрены возле внешней боковой поверхности направляющего желоба 41b второго направляющего элемента 40b, установленного на выходе. Удерживающие элементы 80 соединены с возможностью вращения с концевыми участками опорных скоб 82. Опорные скобы 82 установлены с возможностью поворота вокруг опорных осей 81, вертикально закрепленных на направляющих элементах 40, и упруго опираются на упругие элементы (не показаны). Таким образом, после того как опорные скобы 82 повернутся вокруг опорных осей 81, упругое усилие упругих элементов возвращает указанные опорные скобы 82 в исходное положение.
Поворот опорных элементов 82 вокруг опорных осей 81 осуществляют позиционирующими элементами 83. Позиционирующие элементы 83 присоединены винтами к крепежным пластинам 84, закрепленным на направляющих элементах 40, и перемещаются вперед и назад посредством поворота, оказывая давление на опорные элементы 82 в направлении направляющих желобов 41. Таким образом, посредством регулируемого перемещения вперед/назад позиционирующих элементов 83, оказывающих давление на опорные элементы 82, опорные элементы 82 поворачиваются вокруг опорных осей 81, а удерживающие элементы 80 контактируют с наружной кромкой дугообразной ленты 10. В результате удерживающие элементы 80 не только упираются в наружную кромку дугообразной ленты 10, но также предотвращают отделение дугообразной ленты 10 от направляющих желобов 41.
Далее раскрыта работа устройства для подачи дугообразной ленты согласно настоящему изобретению. Дугообразную ленту 10 размещают в направляющих желобах 41 направляющих элементов 40 и направляющие элементы 40 закрывают крышками 42. Регулируя движение позиционирующих элементов 83 так, чтобы удерживающие элементы 80 упирались в наружную кромку дугообразной ленты 10, регулируют положение дугообразной ленты 10 в направляющих желобах 41 в радиальном направлении. Вращая прижимной стержень 73 для настройки перемещения вверх/вниз регулировочного узла 70, регулируют силу давления прижимного ролика 50, прикладываемую к дугообразной ленте 10, и вертикальное положение дугообразной ленты 10.
Затем приводят в движение механический привод 60, вращающий транспортирующий ролик 30, при этом дугообразная лента 10, контактирующая с транспортирующим роликом 30, перемещается вдоль направляющих желобов 41 направляющих элементов 40. Поскольку транспортирующий ролик 30 выполнен в виде усеченного конуса с сужающейся боковой поверхностью, соответствующей форме дугообразной ленты 10, то транспортирующий ролик 30 перемещает дугообразную ленту 10, имеющую внутренний радиус и внешний радиусы, расстояния перемещения которых отличаются друг от друга.
Промышленная применимость
Из вышеприведенного описания очевидно, что, поскольку устройство для подачи дугообразной ленты согласно настоящему изобретению перемещает дугообразную ленту, имеющую внутренний радиус и внешний радиус, расстояния перемещения которых отличаются друг от друга, посредством одного транспортирующего ролика, это упрощает конструкцию устройства для подачи.
Также, поскольку наклон сужающейся боковой поверхности транспортирующего ролика определен в соответствии с формой дугообразной ленты, а транспортирующий ролик установлен наклонно, чтобы вся поверхность дугообразной ленты контактировала с сужающейся боковой поверхностью транспортирующего ролика, достигают точного перемещения дугообразной ленты.
Также, поскольку положение дугообразной ленты, перемещаемой по направляющим углублениям, поддерживают в указанных направляющих желобах постоянным посредством прижимного ролика и удерживающих элементов, дугообразная лента всегда перемещается правильно.
Несмотря на то что в иллюстративных целях были раскрыты предпочтительные варианты исполнения заявленного изобретения, специалистам понятно, что возможны различные модификации, дополнения и замены, не отступающие от рамок и сущности настоящего изобретения, раскрытого в прилагаемой формуле изобретения.
Формула изобретения
1. Устройство для подачи дугообразной ленты, имеющей внутренний радиус и внешний радиус, расстояния перемещения которых отличаются друг от друга, содержащее основной корпус, выполненный с зазором, который обеспечивает возможность прохождения через него дугообразной ленты и транспортирующий ролик, установленный в основном корпусе с возможностью вращения для перемещения дугообразной ленты, причем транспортирующий ролик выполнен в виде усеченного конуса с торцом малого диаметра, торцом большого диаметра и сужающейся боковой поверхностью между торцом малого диаметра и торцом большого диаметра и установлен наклонно относительно поверхности дугообразной ленты из условия нахождения сужающейся боковой поверхности транспортирующего ролика в параллельном контакте с поверхностью дугообразной ленты.
2. Устройство по п.1, в котором отношение длины окружности по внутреннему радиусу дугообразной ленты к длине окружности малого диаметра транспортирующего ролика в точке его контакта с участком внутренней кромки дугообразной ленты равно отношению длины окружности по наружному радиусу дугообразной ленты к длине окружности большого диаметра транспортирующего ролика в точке его контакта с участком наружной кромки дугообразной ленты.
3. Устройство по п.1 или 2, в котором основной корпус дополнительно содержит направляющие элементы для опирания и направления перемещаемой дугообразной ленты.
4. Устройство по п.1 или 2, в котором основной корпус дополнительно содержит прижимной ролик, расположенный противоположно транспортирующему ролику относительно дугообразной ленты и установленный с возможностью вращения в основном корпусе и прижатия дугообразной ленты к транспортирующему ролику.
5. Устройство по п.4, в котором прижимной ролик закреплен с возможностью вращения в регулировочном узле, подвижно соединенном с основным корпусом выше прижимного ролика с возможностью перемещения вверх/вниз.
6. Устройство по п.1 или 2, дополнительно содержащее механический привод, соединенный с вращающимся валом транспортирующего ролика, предназначенный для вращения установленного наклонно транспортирующего ролика.
РИСУНКИ
|
|