|
|
(21), (22) Заявка: 2007130126/02, 06.08.2007
(24) Дата начала отсчета срока действия патента:
06.08.2007
(30) Конвенционный приоритет:
29.11.2006 UA a 200612557
(46) Опубликовано: 20.04.2009
(56) Список документов, цитированных в отчете о поиске:
RU 2005124592 А, 20.02.2007. SU 1098640 А, 23.06.1984. RU 2215609 С2, 10.11.2003. US 5323630 А, 28.06.1994.
Адрес для переписки:
36023, Украина, г. Полтава, ул. Красина, 83/23, корп.3, кв.99, А.А.Назаренко
|
(72) Автор(ы):
Назаренко Александр Андреевич (UA)
(73) Патентообладатель(и):
Назаренко Александр Андреевич (UA)
|
(54) РАСКАТОЧНЫЙ СТАНОК
(57) Реферат:
Заявленное изобретение относится к области холодной обработки металлов давлением, а именно к оборудованию для изготовления из полых заготовок методом ротационного выдавливания. Станок содержит раскаточные ролики, шпиндель, оправку, установленную на шпинделе, стол с силовым перемещением между раскаточными роликами, что выступает над ними верхней поверхностью со стороны оправки, и механизм подачи шпинделя. Станок оснащен стойкой, выполненной с возможностью совместного перемещения с верхней поверхностью стола, исполнительным устройством и установленным на стойке механизмом управления исполнительным устройством. При достижении заготовки заданного размера высоты готового изделия подают сигнал исполнительному устройству о завершении операции раскатки путем выключения механической подачи шпинделя. Получают стабильный размер высоты готового изделия. 1 з.п. ф-лы, 2 ил.
Изобретение относится к области холодной обработки металлов, а именно к оборудованию для изготовления из полых заготовок методом ротационного выдавливания изделий типа «стакан».
Известен раскаточный станок (UA 2005124592/02 A, B21D 22/16, 20.02.2007). Он содержит: раскаточные ролики, шпиндель, оправку, установленную на шпиндели, стол, выполненный с возможностью перемещения между раскаточными роликами и выступающий над ними верхней поверхностью со стороны оправки, механизм подачи шпинделя и полумуфту выше упомянутого механизма.
В процессе работы станка заданную высоту готового изделия с полых заготовок получают таким образом: вращением полумуфты механизма подачи шпинделя штурвалом осуществляют перемещение шпинделем оправки с верхнего положения в полость заготовки, установленную на верхней поверхности стола, далее шпинделем перемещают заготовку на оправке вместе с верхней поверхностью стола к раскаточным роликам до тех пор, пока не произойдет включение механической подачи шпинделя, далее при механической подачи шпинделя раскаточными роликами на оправке осуществляют раскатку заготовки до тех пор, пока заготовка путем перемещения по оправке верхней кромкой не достигнет заданного размера высоты готового изделия, далее в обратном направлении вращением полумуфты штурвалом выключают механическую подачу шпинделя и перемещают шпиндель с готовым изделием на оправке с нижнего положения в верхнее, для снятия готового изделия с оправки.
Недостатком конструкции известного станка является недостаточно отработанный процесс получения стабильного размера высоты готового изделия. Это объясняется тем, что при одинаковой толщине стенки раскатанного цилиндра высота готового изделия выходит неодинаковой из-за разницы толщины стенок заготовок, ее высоты и диаметра и т.п., а например, выключение механической подачи шпинделя или отводе раскаточных роликов от раскатанной поверхности при достижении заготовкой на оправке заданного размера высоты готового изделия не дает позитивного результата.
В основу изобретения поставлена задача создания такой конструкции раскаточного станка, которая бы позволяла получение стабильного размера высоты готового изделия при раскатке заготовок.
Эта задача решается таким образом: в раскаточном станке, который содержит: раскаточные ролики, шпиндель, оправку, установленную на шпинделе, стол, выполненный с возможностью перемещения между раскаточными роликами и выступающий над ними верхней поверхностью со стороны оправки, и механизм подачи шпинделя, согласно изобретению станок снабжен стойкой, выполненной с возможностью совместного перемещения с верхней поверхностью стола, исполнительным устройством, соединенным с существующим механизмом станка, с которым имеет возможность завершения операции раскатки заготовки после влияния заготовкой на ограничительное средство механизма управления исполнительным устройством, причем механизм управления исполнительным устройством установлен на стойке.
В раскаточном станке согласно изобретению ограничительное средство механизма управления исполнительным устройством выполнено в виде ограничительной планки, установленной с возможностью перемещения по стойке и с возможностью взаимодействия на заданной высоте от верхней поверхности стола с конечным выключателем исполнительного устройства.
Изобретение поясняется чертежами:
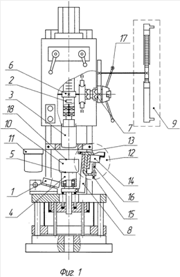
на Фиг.1 изображен общий вид раскаточного станка;
на Фиг.2 изображена схема получения готового изделия из заготовок.
Раскаточный станок содержит раскаточные ролики (1), шпиндель (2), оправку (3), установленную на шпиндели (2), стол (4), выполненный с возможностью перемещения между раскаточными роликами (1) и выступающий над ними верхней поверхностью (5) со стороны оправки (3), механизм подачи (6) шпинделя (2), который имеет полумуфту (7), стойку (8), выполненную с возможностью совместного перемещения с верхней поверхностью (5) стола (4), исполнительное устройство (9), соединенное с существующим механизмом станка, с которым имеет возможность завершения операции раскатки заготовки (10), например, выключением механической подачи шпинделя (2) или отводом раскаточных роликов (1) от раскатанной поверхности заготовки (10) после достижения заготовкой (10) на оправке (3) заданного размера высоты готового изделия (11), и установленный на стойке (8) механизм (12) управления исполнительный устройством (9), который имеет ограничительное средство
Ограничительное средство механизма (12) управления исполнительным устройством (9) выполнено в виде ограничительной планки (13), установленной с возможностью перемещения по стойке (8) и с возможностью взаимодействия на заданной высоте от верхней поверхности (5) стола (4) с конечным выключателем (14) исполнительного устройства (9).
Ограничительная планка (13) оснащена толкателем (15), а конечный выключатель (14) кнопкой (16).
Исполнительное устройство (9) в виде пневмопривода, например, может быть соединено с полумуфтой (7) механизма подачи (6) шпинделя (2).
Полумуфта (7) предназначена для включения и выключения механизма подачи (6) шпинделя (2) например, в ручном управлении с помощью штурвала (17), а в автоматическом – с помощью исполнительного устройства (9).
Станок работает таким образом. При установке заготовки (10) на верхней поверхности (5) стола (4) осуществляют с верхнего положения перемещение шпинделем (2) оправки (3) путем вращения полумуфты (7) до тех пор, пока оправка (3) не зайдет в полость заготовки (10) и не начнет перемещать ее к раскаточным роликам (1) совместно с верхней поверхностью (5) стола (4) стойку (8) с механизмом (12) управления исполнительным устройством (9) до тех пор, пока не произойдет включения механической подачи шпинделя (2), далее при механической подаче шпинделя (2) раскаточными роликами (1) на оправке (3) осуществляют раскатку заготовки (10) до тех пор, пока заготовка (10) путем перемещения по оправке (3) верхней кромкой (18) не достигнет ограничительной планки (13) механизма (12) управления исполнительным устройством (9) и не начнет перемещать ограничительную планку (13) по стойке (8) от верхней поверхности (5) стола (4), и как только заготовка (10) на оправке (3) верхней кромкой (18) достигнет заданного размера высоты готового изделия (11), ограничительная планка (13) толкателем (15) нажмет на кнопку (16) конечного выключателя (14) исполнительного устройства (9), соединенного с существующим механизмом станка, например, с механизмом (6) подачи шпинделя (2), с которым осуществит завершения операции раскатки заготовки (10) выключением механической подачи шпинделя (2) путем вращения полумуфты (7) в обратном направлении и перемещения шпинделя (2) с раскатанной заготовкой (10) на оправке (3) на заданный размер готового изделия (11) с нижнего положения в верхнее.
Раскаточный станок выполнен на базе вертикально-сверлильного станка. Модели 2Н135. Смотрите У.В.Лоскутов. Сверлильные и расточные станки. Москва 1981. ББК 34.63.5 Л 79 УДК 621.952+621.952.5 Рис.24 стр.37. Механизм подачи, который применен в раскаточном станке.
Формула изобретения
1. Раскаточный станок, содержащий раскаточные ролики, шпиндель с установленной на нем оправкой, стол, выполненный с возможностью перемещения между раскаточными роликами и выступающий над ними верхней поверхностью со стороны оправки, и механизм подачи шпинделя, отличающийся тем, что он снабжен стойкой, выполненной с возможностью совместного перемещения с верхней поверхностью стола, исполнительным устройством и установленным на упомянутой стойке механизмом управления исполнительным устройством, выполненным с возможностью завершения раскатки после достижения заданной высоты заготовки и воздействия ею на механизм управления исполнительным устройством.
2. Раскаточный станок по п.1, отличающийся тем, что механизм управления исполнительным устройством выполнен в виде ограничительной планки и конечного выключателя, причем ограничительная планка имеет возможность перемещения от верхней поверхности стола по стойке и взаимодействия на заданной высоте с конечным выключателем.
РИСУНКИ
|
|