|
|
(21), (22) Заявка: 2007132773/12, 30.08.2007
(24) Дата начала отсчета срока действия патента:
30.08.2007
(46) Опубликовано: 20.04.2009
(56) Список документов, цитированных в отчете о поиске:
RU 2061517 C1, 10.06.1996. RU 2129453 C1, 27.04.1999. DE 2316278 A, 17.10.1974. JP 2006346166 A, 28.12.2006. DE 3810994 A1, 16.02.1989.
Адрес для переписки:
194223, Санкт-Петербург, ул. Жака Дюкло, 6, корп.2, кв.49, И.К. Мешковскому
|
(72) Автор(ы):
Мешковский Игорь Касьянович (RU)
(73) Патентообладатель(и):
Мешковский Игорь Касьянович (RU)
|
(54) ПРОТИВОГАЗОВЫЙ ФИЛЬТР
(57) Реферат:
Изобретение относится к противогазовой технике и может быть использовано в противогазовых фильтрах, использующих сорбенты в качестве фильтрующе-поглощающей среды. Противогазовый фильтр содержит корпус и сорбент. Во внутреннем пространстве корпуса перед зоной размещения сорбента установлены источники излучения светового диапазона волн, поглощаемого адсорбатом с переходом в возбужденное состояние, при котором адсорбция увеличивается. В качестве указанных источников излучения могут использоваться полупроводниковые светодиоды или лазерные диоды. Обеспечивается повышение эффективности фильтрации и увеличение времени защитного действия противогазового фильтра без вмешательства в его фильтрующе-поглощающую среду. 1 з.п. ф-лы, 1 ил.
Изобретение относится к противогазовой технике и может быть использовано в противогазовых фильтрах, использующих сорбенты в качестве фильтрующе-поглощающей среды.
Сорбент, например зерненый сорбент на основе активированного угля (шихта), размещается внутри корпуса противогазового фильтра с обеспечением возможности прохождения через сорбент очищаемого воздуха. Закрепление сорбента внутри корпуса противогазового фильтра осуществляется с помощью сеток или перфорированных перегородок. Корпус противогазового фильтра имеет входную и выходную части. Входная часть корпуса выполняется с обеспечением возможности приема очищаемого воздуха и подачи его в зону сорбента, выходная часть – с обеспечением возможности отвода очищенного воздуха в зону дыхания. Корпус может быть разборным для обеспечения возможности замены сорбента. Помимо сорбента в состав противогазового фильтра могут также входить противоаэрозольный и противопылевой фильтрующие элементы. Примерами таких противогазовых фильтров являются противогазовые фильтры, представленные в патентах РФ: [1] – RU 2129453 (C1), A62B 23/02, А62В 7/10, 27.04.1999; [2] – RU 2186598 (C1), A62B 23/02, A62B 19/00, B01D 53/04, 10.08.2002; [3] – RU 2228211 (C1), A62B 23/02, 10.05.2004; [4] – RU 2261132 (C1), A62B 23/00, A62B 19/00, 27.09.2005.
Одной из важнейших задач, стоящих перед разработчиками противогазовых фильтров, является увеличение эффективности фильтрации (увеличение степени очистки воздуха от вредных примесей) и связанная с ней задача увеличения времени защитного действия противогазового фильтра. В противогазовых фильтрах, представленных в [1]-[4], эти задачи решаются за счет определенного выполнения шихты и установки дополнительных фильтров, обеспечивающих предварительную очистку воздуха, поступающего в шихту. При этом наилучший эффект достигается в случае специализации противогазового фильтра на известное вещество, что позволяет оптимальным образом выбрать структуру и состав шихты для его поглощения, например, как это предложено в патенте [5] – RU 2259864 (C1), B01D 53/56, B01D 53/94, B01J 20/26, 10.09.2005, где представлен способ очистки воздуха от оксидов азота. Для придания поливалентных (универсальных) свойств защиты одновременно от нескольких веществ различной химической природы шихту противогазового фильтра выполняют многослойной из материалов, обеспечивающих наилучшее поглощение этих веществ, например, как это осуществлено в поливалентных поглощающих фильтрах, представленных в патентах: [6] – RU 2111028 (C1), A62B 23/02, 20.05.1998; [7] – RU 2206351 (C1), A62B 23/02, 20.06.2003. Однако обеспечиваемый при этом эффект фильтрации достигается за счет утолщения шихты и соответственно увеличения сопротивления воздушному потоку.
В качестве прототипа выбран противогазовый фильтр, описанный в патенте [8] – RU 2061517 (C1), A62B 19/00, 10.06.1996, характеризующийся простотой конструктивной реализации, низким сопротивлением воздушному потоку и приемлемыми характеристиками фильтрации, по крайней мере, на начальном этапе работы.
Противогазовый фильтр-прототип содержит корпус, внутри которого находится сорбент, ограниченный перфорированными перегородками. Корпус выполнен разборным, обеспечивающим возможность замены сорбента. Входная часть корпуса выполнена с обеспечением возможности приема очищаемого воздуха и подачи его в зону сорбента, а выходная часть – с обеспечением возможности отвода очищенного воздуха к потребителю. В качестве сорбента используется эластичный пенополиуретан, применение которого позволило упростить и облегчить конструкцию и отказаться от противопылевых фильтров, что является достоинством противогазового фильтра-прототипа. Получаемое при этом некоторое уменьшение времени защитного действия, по сравнению с противогазовыми фильтрами, использующими сорбент на основе активированного угля, компенсируется легкостью замены сорбента.
Общим для всех рассмотренных в [1]-[8] противогазовых фильтров является то, что задача повышения эффективности фильтрации решается в них преимущественно путем модернизации фильтрующе-поглощающей среды, в том числе за счет использования новых сорбентов.
В настоящей заявке предлагается иной путь решения задачи повышения эффективности фильтрации и увеличения времени защитного действия противогазового фильтра, не связанный с изменением фильтрующе-поглощающей среды и выбором новых сорбентов. Этот путь основан на целенаправленном изменении характеристик проникающей способности адсорбата (поглощаемых сорбентом вредных веществ, находящихся в очищаемом воздухе) за счет предварительного облучения очищаемого воздуха излучением светового диапазона волн, создаваемым источниками излучения, например полупроводниковыми светодиодами или лазерными диодами, установленными во внутреннем пространстве корпуса перед зоной размещения сорбента.
Технический результат, получаемый при осуществлении изобретения, заключается в обеспечении возможности повышения эффективности фильтрации и увеличения времени защитного действия противогазового фильтра без вмешательства в его фильтрующе-поглощающую среду, что расширяет возможности по созданию новых и модернизации существующих противогазовых фильтров.
Сущность изобретения заключается в том что, в противогазовом фильтре, содержащем корпус и сорбент, в отличие от прототипа, во внутреннем пространстве корпуса перед зоной размещения сорбента установлены источники излучения светового диапазона волн, поглощаемого адсорбатом с переходом в возбужденное состояние, при котором адсорбция увеличивается.
В частных случаях выполнения в качестве источников излучения светового диапазона волн используются полупроводниковые светодиоды или лазерные диоды.
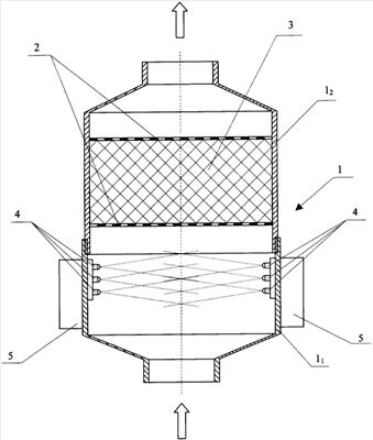
Сущность изобретения поясняется схематическим чертежом заявляемого противогазового фильтра.
Противогазовый фильтр в рассматриваемом примере выполнения содержит корпус 1, во внутреннем пространстве которого находится зафиксированный сетками 2 сорбент 3, например шихта на основе активированного угля. Корпус выполнен разборным из двух частей – входной 11 и выходной 12, причем сорбент 3 размещается в выходной части 12. Входная часть 11 выполнена с обеспечением возможности приема очищаемого воздуха и подачи его в зону размещения сорбента 3, а выходная часть 12 – с обеспечением возможности отвода очищенного воздуха к потребителю. Во внутреннем пространстве корпуса 1 (внутри входной части 11) перед зоной размещения сорбента 3 установлены источники излучения 4 светового диапазона волн, например полупроводниковые светодиоды или лазерные диоды, электрически связанные с источниками электропитания 5, например аккумуляторными батареями, расположенными на внешней стороне корпуса 1 (на внешней стороне входной части 11). Количество и расположение источников излучения 4 выбрано таким образом, чтобы пространство перед зоной размещения сорбента 3 равномерно пронизывалось их излучением.
В процессе работы заявляемого противогазового фильтра очищаемый воздух проходит во входную часть 11 и выходит из выходной части 12, проходя вначале через зону, облучаемую источниками излучения 4, а затем через сорбент 3, который поглощает находящиеся в воздухе вредные вещества (адсорбат), очищая тем самым воздух для потребителя. При этом состояние адсорбата характеризуется возбужденным состоянием его молекул, вызванным поглощением излучения, создаваемого источниками излучения 4. В этом состоянии адсорбат в большей мере поглощается сорбентом, что повышает эффективность фильтрации и увеличивает время защитного действия противогазового фильтра.
Физический смысл явления, используемого в заявляемом противогазовом фильтре, связан с обнаруженным и исследованным автором эффектом управляемости газопроницаемостью при прохождении молекул веществ, находящихся в газовой фазе, через пористые твердые тела путем их возбуждения (электронного и колебательного) источником излучения светового диапазона волн, см. монографию [9] – И.К.Мешковский. Композиционные оптические материалы на основе пористых матриц. Монография. / Санкт-Петербург, 1998, с.78-86, рис.42, 45. Суть в том, что указанное возбуждение резко меняет фундаментальные характеристики молекул (поляризуемость, дипольный момент и др.), что, в частности, проявляется в уменьшении их проникающей способности через пористые структуры. В случае заявляемого противогазового фильтра это приводит к тому, что одним и тем же количеством одного и того же адсорбента можно поглотить большее количество адсорбата. В результате повышается эффективность фильтрации и увеличивается время защитного действия противогазового фильтра. При этом эффект тем выше, чем ближе составляющие спектра источников излучения 4 к спектральным характеристикам поглощаемых веществ, что обеспечивается соответствующим выбором этих источников.
Таким образом, рассмотренное показывает, что заявляемое изобретение технически осуществимо и обеспечивает достижение технического результата, заключающегося в обеспечении возможности повышения эффективности фильтрации и увеличения времени защитного действия противогазового фильтра без вмешательства в его фильтрующе-поглощающую среду, что расширяет возможности по созданию новых и модернизации существующих противогазовых фильтров.
Источники информации
1. RU 2129453 (C1), A62B 23/02, A62B 7/10, опубл. 27.04.1999.
2. RU 2186598 (C1), A62B 23/02, A62B 19/00, B01D 53/04, опубл. 10.08.2002.
3. RU 2228211 (C1), A62B 23/02, опубл. 10.05.2004.
4. RU 2261132 (C1), A62B 23/00, A62B 19/00, опубл. 27.09.2005.
5. RU 2259864 (C1), B01D 53/56, B01D 53/94, B01J 20/26, опубл. 10.09.2005.
6. RU 2111028 (C1), A62B 23/02, опубл. 20.05.1998.
7. RU 2206351 (C1), A62B 23/02, опубл. 20.06.2003.
8. RU 2061517 (C1), A62B 19/00, опубл. 10.06.1996.
9. И.К.Мешковский. Композиционные оптические материалы на основе пористых матриц. Монография. / Санкт-Петербург, 1998, с.78-86, рис.42, 45.
Формула изобретения
1. Противогазовый фильтр, содержащий корпус и сорбент, отличающийся тем, что во внутреннем пространстве корпуса перед зоной размещения сорбента установлены источники излучения светового диапазона волн, поглощаемого адсорбатом с переходом в возбужденное состояние, при котором адсорбция увеличивается.
2. Противогазовый фильтр по п.1, отличающийся тем, что в качестве источников излучения светового диапазона волн используются полупроводниковые светодиоды или лазерные диоды.
РИСУНКИ
|
|