|
|
(21), (22) Заявка: 2007125134/14, 16.03.2005
(24) Дата начала отсчета срока действия патента:
16.03.2005
(30) Конвенционный приоритет:
03.12.2004 TR 2004/03298
(46) Опубликовано: 20.04.2009
(56) Список документов, цитированных в отчете о поиске:
SU 1831333 A3, 30.07.1993. US 3982545 А, 28.09.1986. WO 99/13811 А, 25.03.1999. US 6045528 А, 04.04.2000. RU 2175257 С2, 27.10.2001. ЛИХАЧЕВ А.Г. БОЛЕЗНИ УХА, ГОРЛА И НОСА. – М.: МЕДИГИЗ, 1961, С.46.
(85) Дата перевода заявки PCT на национальную фазу:
03.07.2007
(86) Заявка PCT:
TR 2005/000011 20050316
(87) Публикация PCT:
WO 2006/059961 20060608
Адрес для переписки:
129090, Москва, ул. Б.Спасская, 25, стр.3, ООО “Юридическая фирма Городисский и Партнеры”, пат.пов. Ю.Д.Кузнецову, рег. 595
|
(72) Автор(ы):
КУТЛУХАН Ахмет (TR)
(73) Патентообладатель(и):
КУТЛУХАН Ахмет (TR)
|
(54) ВЕНТИЛЯЦИОННАЯ ТРУБКА ПЕЩЕРЫ СОСЦЕВИДНОГО ОТРОСТКА
(57) Реферат:
Изобретение относится к медицинской технике и может быть использовано для вентиляции и дренирования барабанной полости по маршруту пещеры сосцевидного отростка, без нарушения целостности барабанной перепонки. Вентиляционную трубку вставляют между пещерой сосцевидного отростка и наружным слуховым проходом после мастоидотомии (антротомии). Трубка содержит две канюли, одна из которых вставляется внутрь другой. Одна из канюль является внешней канюлей и содержит головной участок, который состоит из круглого отгиба участка шейки в вертикальной плоскости относительно головного участка, участок колена, который составляет прямой угол 90 градусов, и удлиненный участок ствола. Внутренняя канюля содержит тонкий узкий канал с наконечником. Наконечник выполнен с возможностью перехода к шприцу. Канал применяют для аспирации и дренирования остальной полости. Внешний наконечник внутренней канюли продолжается из наружного слухового прохода и заканчивается перед ушной раковиной или позади нее. Через выполненный под шприц наконечник внутренней канюли можно вводить серозную жидкость или лекарственные средства. В результате возможна аэрация и дренирование барабанной полости через пещеру сосцевидного отростка. 14 з.п. ф-лы, 5 ил.
Изобретение относится к вентиляционной трубке пещеры сосцевидного отростка, которая аэрирует и дренирует среднее ухо по маршруту пещеры сосцевидного отростка. В противоположность вентиляционным трубкам, устанавливаемым на барабанной перепонке, настоящая трубка представляет собой вентиляционную и дренажную трубку, вставляемую между пещерой сосцевидного отростка и наружным слуховым проходом.
Барабанная полость содержит воздухоносные клетки евстахиевой трубы, среднего уха и сосцевидного отростка. В зародыше упомянутая полость развивается от первого глоточного кармана, первой евстахиевой трубы, затем среднего уха и, наконец, формируются пещера сосцевидного отростка и воздухоносные клетки. Аэрация среднего уха почти завершается к рождению. Однако аэрация клеток сосцевидного отростка продолжается до 9-летнего возраста. Три упомянутые аэрированные полости, которые составляют барабанную полость, соединены между собой. Евстахиева труба соединяет среднее ухо с носоглоткой. Довольно мелкие и узкие каналы, называемые передним перешейком и задним перешейком, соединяют среднее ухо с воздухоносными клетками сосцевидного отростка. Нарушения слизистой, происходящие в среднем ухе, не ограничиваются только средним ухом, а продолжаются также в пещеру и воздухоносные клетки сосцевидного отростка через вышеупомянутые соединения. Несмотря на то, что функция воздухоносных клеток сосцевидного отростка точно не известна, их обычно принято считать воздухоносной полостью среднего уха. Следовательно, особенно у детей, воздухоносные клетки сосцевидного отростка участвуют в вентиляции среднего уха в случае закупоривания или дисфункции евстахиевой трубы, чтобы предотвращать образование отрицательного давления. Однако продолжительная дисфункция евстахиевой трубы, повышение отрицательного давления в среднем ухе и закупоривание переднего и заднего перешейков вызывают образование выпота как в среднем ухе, так и в клетках сосцевидного отростка. Сначала для устранения данного выпота применяют лечение. В случае с пациентами, которые невосприимчивы к лечению, на барабанную перепонку устанавливают вентиляционную трубку (трубку для миринготомии, тимпаностомическую трубку, трубку для вентиляции среднего уха) посредством хирургической операции, называемой миринготомией (парацентезом), чтобы вентилировать среднее ухо и дренировать выпот. При этом обеспечивают полость для уравнивания давления между средним ухом и внешней средой, чтобы создать возможность для дренирования выпота. Когда впоследствии происходит самозаживление барабанной перепонки, трубку выталкивают, после чего остается обычно здоровая барабанная перепонка. Данная операция получила довольно широкое распространение в последние годы. Хотя упомянутые трубки существенно способствовали лечению выпота в среднем ухе, они не обеспечивали постоянного и искомого успеха для пациентов, число которых нельзя не учитывать. Сообщалось даже, что, в долгосрочном плане, последствия у пациентов с установленной трубкой и без нее были сходными. Кроме того, к настоящему времени появились сообщения о многочисленных осложнениях и остаточных явлениях, обусловленных упомянутыми трубками. Целью мастоидэктомии, которая является хирургической операцией, применяемой для вскрытия пещеры сосцевидного отростка и воздухоносных клеток в качестве последнего средства для пациентов, которые не показали улучшений, несмотря на повторные применения трубки для миринготомии, является вскрытие соединений между средним ухом и клетками сосцевидного отростка.
Трубки для миринготомии имеют серьезные недостатки. Так как данные трубки имеют довольно малый размер, то для их установки на барабанную перепонку требуется хирургическое мастерство и опыт. Данные трубки могут часто закупориваться, не вызывают приятных ощущений и не пригодны для введения в медицинских целях детям. Данные трубки не дают информации об эффективности соединения между средним ухом и клетками сосцевидного отростка. В связи с введением трубки для миринготомии возможны такие осложнения и последствия, как обызвествление (мирингосклероз) на барабанной перепонке, перфорация, выделения, западение и т.д. Срок действия данных трубок является более или менее переменным с учетом реакции организма, течения заболевания среднего уха и залечивания раны. В частности, у детей трубку для миринготомии очень сложно раскупоривать в случае, если она закупоривается во время или сразу после операции. Из-за устранения воздушного буфера в среднем ухе трубками для миринготомии облегчается перенос слизи и бактерий из носоглотки в среднее ухо по евстахиевой трубе. Поэтому данные трубки блокируют функции евстахиевой трубы в период их нахождения у пациента. Кроме того, установка данных трубок на трансплантат при частой практике тимпанопластики является причиной недостатков, касающихся как заживления ран, так и хирургического вмешательства.
Настоящее изобретение предлагает аэрацию и дренирование барабанной полости через пещеру сосцевидного отростка. При этом восстанавливается соединение между средним ухом и воздухоносными клетками сосцевидного отростка и выравнивается давление как среднего уха, так и воздухоносных клеток сосцевидного отростка с внешней средой. Заживление слизистой оболочки аэрированных полостей барабанной полости обеспечивается естественным образом без потребности в каком-либо вмешательстве в барабанную перепонку. Обеспечивается более стабильное излечивание заболевания и исключаются нежелательные осложнения и последствия. Вентиляционную трубку пещеры сосцевидного отростка можно использовать для детей и взрослых в случае всех заболеваний, при которых среднее ухо нуждается в аэрации и дренаже.
Преимущество вентиляционной трубки пещеры сосцевидного отростка перед трубкой для миринготомии, установленной на барабанную перепонку, состоит в том, что она дает возможность барабанной перепонке сохранять ее естественную форму, поскольку отсутствует какое-либо вмешательство в барабанную перепонку. Через внутреннюю канюлю возможно введение лекарственного средства в пещеру сосцевидного отростка и, тем самым, в барабанную полость. При таком применении можно регулировать раскрытое состояние проходов из пещеры сосцевидного отростка до носоглотки (пещера сосцевидного отростка – среднее ухо и среднее ухо – носоглотка) с нейтральными серозными жидкостями, что обеспечивает очень полезный тест для оценки лечения. Поскольку данная трубка имеет довольно большой внутренний диаметр по сравнению с диаметром трубки для миринготомии, степень аэрации сосцевидного отростка и среднего уха будет выше, что будет способствовать ускорению лечения. В случае, если при тимпанопластике полагается недостаточной аэрация среднего уха, то можно легко применить данную трубку. Данная трубка применима при всех симптомах, при которых возможно использование трубки для миринготомии, и может иметь более широкую область применения по сравнению с последними.
Описание чертежей, которые помогают лучше понять вентиляционную трубку пещеры сосцевидного отростка в соответствии с изобретением.
Фиг.1: Вид в перспективе внешней канюли вентиляционной трубки пещеры сосцевидного отростка.
Фиг.2: Вид сбоку внешней канюли вентиляционной трубки пещеры сосцевидного отростка.
Фиг.3: Вертикальное сечение, показывающее каналы внутренней канюли вентиляционной трубки пещеры сосцевидного отростка.
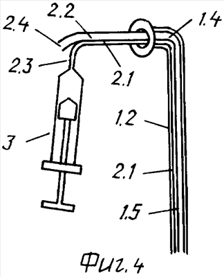
Фиг.4: Вид в перспективе совместно внутренней и внешней канюли вентиляционной трубки пещеры сосцевидного отростка.
Фиг.5: Вид в перспективе внешней канюли вентиляционной трубки пещеры сосцевидного отростка, установленной в ухо.
Описание позиций деталей, приводимых на чертежах для более глубокого понимания изобретения
1 – Внешняя канюля вентиляционной трубки
1.1 – Отгиб внешней канюли
1.2 – Просвет
1.3 – Шейка внешней канюли
1.4 – Колено внешней канюли
1.5 – Ствол внешней канюли
2 – Внутренняя канюля вентиляционной трубки
2.1 – Тонкий и узкий канал внутренней канюли
2.2 – Дренажный канал внутренней канюли
2.3 – Внешний наконечник тонкого и узкого канала внутренней канюли
2.4 – Внешний наконечник дренажного канала внутренней канюли
3 – Шприц
4 – Наружный слуховой проход
5 – Среднее ухо
6 – Воздухоносные клетки сосцевидного отростка
7 – Барабанная перепонка
8 – Хрящевой отдел наружного слухового прохода
9 – Костный отдел наружного слухового прохода
10 – Пещера сосцевидного отростка
Вентиляционная трубка в соответствии с изобретением, предназначенная для установки в пещеру сосцевидного отростка (10), содержит следующие элементы. Вентиляционная трубка пещеры сосцевидного отростка состоит из двух основных элементов, внешней (1) и внутренней (2) канюли. Внешняя канюля (1) содержит секции отгиба (1.1), шейки (1.3), колена (1.4) и ствола (1.5). Просвет (1.2) вентиляционной трубки начинается в среднем участке отгиба (1.1). Секции шейки (1.3), колена (1.4) и ствола (1.5) данной канюли имеют трубчатый просвет. Первой секцией трубки после отгиба (1.1) является шейка (1.3). Шейка (1.3) соединена с отгибом (1.1) под прямым углом.
За шейкой (1.3) следует колено (1.4), которое образует угол предпочтительно 80-90 градусов. Ствол (1.5) является конечной секцией внешней канюли (1). Длина вентиляционной трубки пещеры сосцевидного отростка может изменяться.
Внутренняя канюля должна иметь два канала. Один из этих каналов должен быть узким и тонким каналом (2.1), расположенным с одной стороны внутренней канюли. Данный канал служит для введения лекарственного средства. Просвет внутренней канюли, остающийся от данного канала, образует дренажный канал (2.2). Внешний наконечник (2.4) дренажного канала служит для аспирации. Два канала внутренней канюли (2) должны заканчиваться на одном уровне пещеры (10) сосцевидного отростка, без разделения одного с другим. Внутренняя канюля (2) длиннее внешней канюли (1), выходит из наружного слухового прохода (4) и заканчивается перед ушной раковиной или позади нее. Каналы внутренней канюли (2), которые остаются снаружи наружного слухового прохода (4), должны быть отделены один от другого, и внешний наконечник (2.3) тонкого-узкого канала должен заканчиваться переходником шприца (3). Внутренняя канюля (2) должна вмещаться во внешнюю канюлю (1) ни свободно, ни плотно, так, чтобы легко входить и выходить. Каналы (2.1, 2.2) внутренней канюли могут быть также в форме совершенно независимых трубок. Кроме того, внутренняя канюля (2) может содержать одну трубку. Внутренняя и внешняя канюли (1, 2), которые составляют трубку пещеры сосцевидного отростка, должны быть изготовлены из гибких и композиционных материалов и не должны сплющиваться.
Чтобы наложить предлагаемую вентиляционную трубку пещеры сосцевидного отростка, которая аэрирует и дренирует среднее ухо (5) через пещеру (10) сосцевидного отростка, выполняют 1 – 2 см разрез кожи за ушной раковиной согласованно с кривизной ушной раковины. Затем применяют мастоидотомию (антротомию) сверлом, имеющим диаметр 2-3 мм, из положения, определяемого как треугольник Мак-Ивена. Выполняют аспирацию из пещеры сосцевидного отростка. После надлежащей остановки кровотечения вентиляционную трубку пещеры сосцевидного отростка вместе с ее внутренней и внешней канюлями (1, 2) устанавливают при минимальном разрезе через место пересечения наружного слухового прохода (4) с костью (9) и хрящом (8) и проталкивают в место мастоидотомии до пещеры (10) сосцевидного отростка. Отгиб (1.1) трубки продолжается в наружный слуховой проход (4) от шейки (1.3) до места мастоидотомии (11), и ствол (1.5) продолжается до пещеры (10) сосцевидного отростка. Длину ствола (1.5) можно сократить с условием, что отгиб (1.1) внешней канюли должен оставаться в наружном слуховом проходе (4). Серозную жидкость при температуре тела вводят через внутреннюю канюлю (2) и отсасывают.Внутреннюю канюлю (2) извлекают через несколько суток, после исчезновения отсасываемого выпота сосцевидного отростка. Внешнюю канюлю (1) сохраняют до окончания лечения. Так как вентиляционная трубка пещеры сосцевидного отростка не будет выдавливаться самопроизвольно, ее извлекают с помощью щипцов.
В примере применения вентиляционной трубки пещеры сосцевидного отростка в соответствии с изобретением для 5-летнего ребенка трубка должна иметь 3-мм отгиб (1.1) внешней канюли, просвет (1.2) трубки диаметром 1,5 мм, 2-мм шейку (1.3) трубки и ствол (1.5) длиной 1,5 см. Внутренняя канюля имеет длину больше, чем внешняя канюля, до 10 см.
Вентиляционная трубка пещеры сосцевидного отростка в соответствии с изобретением служит для лечения заболеваний среднего уха и внутреннего уха.
Формула изобретения
1. Вентиляционная трубка пещеры сосцевидного отростка, содержащая внешнюю канюлю (1), состоящую из секций отгиба (1.1), шейки (1.3), колена (1,4) и ствола (1.5), отличающаяся тем, что имеет внутреннюю канюлю (2), состоящую из канала (2.1) с наконечником-переходником под шприц для введения лекарственных средств, и дренажного канала (2.2), который обеспечивает дренаж-аспирацию из пещеры (10) сосцевидного отростка, с одним концом, выполненным для продолжения до пещеры (10) сосцевидного отростка через внешнюю канюлю (1).
2. Вентиляционная трубка по п.1, отличающаяся тем, что просвет (1.2) вентиляционной трубки начинается в среднем участке отгиба (1.1) выступающей части внешней канюли.
3. Вентиляционная трубка по п.1, отличающаяся тем, что секции шейки (1.3), колена (1.4) и ствола (1.5) внешней канюли имеют трубчатый просвет.
4. Вентиляционная трубка по п.1, отличающаяся тем, что после отгиба (1.1) внешней канюли первой секцией трубки является шейка (1.3), причем шейка (1.3) соединена с отгибом (1.1) под углом, за шейкой (1.3) следует колено (1.4), которое образует угол, и ствол (1.5), который составляет конечную секцию внешней канюли (1).
5. Вентиляционная трубка по п.1, отличающаяся тем, что возможно изменение размеров внешней канюли в зависимости от пациента, для которого она будет применяться.
6. Вентиляционная трубка по п.1, отличающаяся тем, что внутренняя канюля имеет два канала, причем один из этих каналов (2.1) расположен с одной стороны внутренней канюли, и часть внутренней канюли (2), остающаяся от канала (2.1), образует дренажный канал (2.2).
7. Вентиляционная трубка по п.1, отличающаяся тем, что наружный наконечник (2.3) канала внутренней канюли (2) выполнен для введения лекарственного средства, а внешний наконечник (2.4) дренажного канала (2.2) используется для дренирования и/или аспирации.
8. Вентиляционная трубка по п.1, отличающаяся тем, что два канала внутренней канюли (2) заканчиваются на одном уровне пещеры (10) сосцевидного отростка, без разделения одного с другим.
9. Вентиляционная трубка по п.1, отличающаяся тем, что внутренняя канюля (2) длиннее внешней канюли (1), выходит из наружного слухового прохода (4) и заканчивается перед ушной раковиной или позади нее.
10. Вентиляционная трубка по п.1, отличающаяся тем, что каналы внутренней канюли (2), которые остаются снаружи наружного слухового прохода (4) отделены один от другого, и внешний наконечник (2.3) канала (2.1) заканчивается переходником шприца (3).
11. Вентиляционная трубка по п.1, отличающаяся тем, что внутренняя канюля (2) выполнена с возможностью легко входить во внешнюю канюлю (1) и выходить из нее.
12. Вентиляционная трубка по п.1, отличающаяся тем, что каналы (2.1, 2.2) внутренней канюли выполнены в форме независимых трубок или одной трубки.
13. Вентиляционная трубка по п.1, отличающаяся тем, что внутренняя и внешняя канюли (1, 2) изготовлены из гибких или композиционных материалов и не имеют возможности сплющиваться.
14. Вентиляционная трубка по п.1, отличающаяся тем, что внешняя канюля (1) выполнена для извлечения щипцами по окончании лечения.
15. Вентиляционная трубка по п.1, отличающаяся тем, что она выполнена для одноразового применения.
РИСУНКИ
|
|