|
|
(21), (22) Заявка: 2007121388/13, 08.06.2007
(24) Дата начала отсчета срока действия патента:
08.06.2007
(46) Опубликовано: 10.04.2009
(56) Список документов, цитированных в отчете о поиске:
RU 2078511 С1, 10.05.1997. SU 1697680 А1, 15.12.1991. RU 2078508 С1, 10.05.1997.
Адрес для переписки:
144552, Московская обл., Солнечногорский р-н, п. Ржавки, ГУ ВНИИПП, отд.6, Н.В. Колокольниковой
|
(72) Автор(ы):
Пышненко Геннадий Иванович (RU), Макарова Надежда Васильевна (RU), Коровин Сергей Павлович (RU)
(73) Патентообладатель(и):
Государственное учреждение Всероссийский научно-исследовательский институт птицеперерабатывающей промышленности (ГУ ВНИИПП) (RU)
|
(54) УСТРОЙСТВО ДЛЯ УДАЛЕНИЯ ОТРЕЗАННЫХ НОГ ТУШЕК ПТИЦЫ ИЗ ПОДВЕСОК КОНВЕЙЕРА
(57) Реферат:
Изобретение предназначено для использования в птицеперерабатывающей промышленности в линиях обработки птицы. Устройство для удаления отрезанных ног тушек птицы содержит раму, копир, узел фиксации подвесок, приводную звездочку, установленные в ползунах верхний и нижний рабочие элементы. Копир имеет управляющие дорожки. Ползуны снабжены роликами. Последние взаимодействуют с направляющими дорожками. Верхние рабочие элементы установлены в ползуне с возможностью возвратно-поступательного перемещения по вертикали и зафиксированы с помощью пружины и регулировочного винта. На нижнем ползуне укреплены щетки. Изобретение обеспечивает повышение надежности в работе и уменьшение износа ролика. 5 ил.
Изобретение относится к области машиностроения для пищевой промышленности и предназначено для использования в конвейерах первичной обработки птицы для удаления из подвесок отрезанных ног тушек птицы.
Известно устройство по а.с. СССР 1264396, МКИ А22С 21/00, устанавливаемое на поворотном участке конвейера, состоящее из приводного узла, ограничителя перемещения подвесок с направляющей, зажимающими подвеску, и выжимного приспособления в виде наклонно-установленного вращающегося пальца, выполненного в виде щетки.
Недостатком данного устройства является то, что усилие, создаваемое щеткой, недостаточно для выталкивания из клиновых пазов подвесок отрезанных ног крупной птицы, в результате чего требуются дополнительные трудозатраты для удаления ног из подвесок вручную.
Известно устройство по а.с. СССР 1697680, МКИ А22С 21/06, устанавливаемое на поворотном участке конвейера, состоящее также из приводного узла, ограничителя перемещения подвесок и выжимного приспособления, дополнительно снабженного направляющей, устанавливаемой над основной направляющей с образованием зазора для прохода ног, причем дополнительная направляющая на входном участке отогнута вверх – для контакта с ногами, отрезанными по заплюсневый сустав или выше, и приведения их в горизонтальное положение, а на выходном участке – отогнута вниз и в сторону от подвески для удаления ног в сторону, противоположную отгибу подвески.
Недостатком этого устройства является то, что часть ног, отрезанных выше заплюсневого сустава, выступает на 1-10 мм из подвесок или не выступает вовсе, в результате чего дополнительная направляющая не может захватить ноги и они не удаляются устройством, что тоже требует дополнительных трудозатрат.
Наиболее близким техническим решением к предлагаемому изобретению является устройство по патенту РФ 2078511, МПК А22С 21/06.
Устройство устанавливается на поворотном участке конвейера в 180° и состоит из рамы, неподвижно закрепленного на ней вала, на котором жестко установлен копир с управляющими дорожками. На валу на подшипниках установлены приводная звездочка, выполненная заодно с узлом фиксации подвесок, и диск. Узел фиксации подвесок соединен с диском с помощью параллельных штанг, по которым перемещаются верхние ползуны с жесткими рабочими элементами и нижние ползуны с жесткими рабочими элементами и щеткой. Ползуны снабжены роликами, а на раме установлена направляющая, охватывающая узел фиксации подвесок на участке 180°.
Недостатком этого устройства является то, что его рабочие элементы жестко установлены на ползунах, поэтому ноги разной толщины снимаются с разными усилиями: чем толще нога, тем больше усилие на рабочих элементах, а следовательно, и усилие, передаваемое роликом на копир. Вследствие этого ролики быстро изнашиваются, а ноги с малой толщиной плохо удерживаются рабочими элементами. При большом износе появившийся люфт приводит вообще к незахвату ног рабочими элементами.
Задачей настоящего изобретения является повышение надежности работы устройства и износостойкости его элементов.
Решение технической задачи достигается тем, что в устройстве, содержащем раму, неподвижно закрепленный на ней вал и жестко установленный на нем копир с управляющими дорожками, ползуны с верхними и нижними рабочими элементами, перемещаемые по штангам и снабженные роликами, взаимодействующими с управляющими дорожками копира, укрепленные на нижнем ползуне щетки, верхние рабочие элементы установлены в ползуне с возможностью возвратно-поступательного перемещения по вертикали и зафиксированы с помощью пружины и регулировочного винта для регулирования усилия сжатия ног между рабочими элементами и уменьшения усилия, передаваемого роликами на дорожки копира.
Технический результат достигается тем, что в предлагаемом устройстве каждый верхний рабочий элемент при зажиме отрезанных ног перемещается вверх на величину «е» в зависимости от толщины захватываемой ноги, сжимая пружину, усилие сжатия которой установлено с помощью регулировочного винта, в результате чего усилие взаимодействия ролика с дорожками копира практически не изменяется, износ ролика сводится к минимуму, что, в свою очередь, повышает надежность работы устройства.
Сопоставительный анализ с прототипом показывает, что заявляемое устройство отличается конструктивным выполнением верхнего рабочего элемента, способом его установки в ползуне и фиксацией в нем. Таким образом, заявляемое устройство соответствует критерию «новизна».
Сравнение заявляемого решения не только с прототипом, но и с другими техническими решениями выявило наличие в заявляемом решении отличительных признаков, что позволяет сделать вывод о соответствию критерию «существенные отличия».
Техническое решение поясняется чертежами.
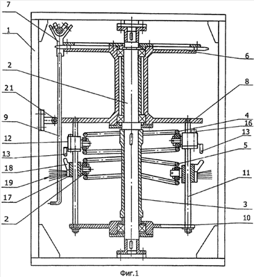
На фиг.1 изображен общий вид устройства – вид сбоку.
На фиг.2 изображено устройство – вид сверху.
На фиг.3 изображено взаимное расположение рабочих элементов, подвески и отрезанных ног в момент входа ног в устройство.
На фиг.4 изображен захват рабочими элементами ног, отрезанных ниже заплюсневого сустава или по суставу.
На фиг.5 изображен сброс ног, отрезанных по заплюсневому суставу, ниже или выше его.
Устройство устанавливается на поворотном участке конвейера в 180° и состоит из рамы 1, неподвижно закрепленного на ней вала 2, на котором жестко установлен копир 3 с управляющими дорожками 4 и 5. На валу 2 на подшипниках установлены приводная звездочка 6, взаимодействующая с конвейером 7 и выполненная заодно с узлом 8 фиксации подвесок 9, и диск 10. Узел 8 фиксации подвесок соединен с диском 10 с помощью параллельных штанг 11, по которым перемещаются верхние ползуны 12 с двумя идентичными верхними рабочими элементами 13. Каждый рабочий элемент имеет цилиндр 14, установленный в отверстиях ползуна 12 с возможностью возвратно-поступательного перемещения по вертикали. Цилиндр 14 поджат пружиной 15, сила сжатия которой устанавливается регулировочным винтом 16. По штангам 11 перемещаются также нижние ползуны 17 с жестко установленными на них рабочим элементом 18 и щеткой 19. Нижний рабочий элемент 18 в два раза длиннее верхних рабочих элементов 13 и при работе взаимодействует с ними одновременно. Ползуны 12 и 17 снабжены роликами 20, а на раме установлена направляющая 21, охватывающая узел 8 фиксации подвесок 9 на участке в 180°. Подвески несут отрезанные ноги 22 тушек птицы.
Устройство работает следующим образом. Подвесной конвейер 7, в подвесках 9 которого находятся отрезанные ноги 22 тушек птицы, своим тяговым органом приводит во вращение приводную звездочку 6 устройства. Т.к. звездочка 6 выполнена заодно с узлом фиксации 8, который, в свою очередь, соединен штангами 11 с диском, то начинают вращаться относительно вала 2 все элементы устройства. При этом подвески 9 с отрезанными ногами 22 входят в устройство и фиксируются от перемещения узлом 8 и направляющей 21. Верхние ползуны 12, взаимодействуя роликами 20 с управляющей дорожкой 4 копира 3, располагаются относительно подвески 9 таким образом, что два верхних рабочих элемента 13 каждого ползуна 12 оказываются выше отрезанных ног 22, находящихся в подвесках 9, а нижние ползуны 17, взаимодействуя роликами 20 с управляющей дорожкой 5 копира 3, располагаются так, что нижний рабочий элемент 18 и щетка 19 оказываются ниже отрезанных ног 22. (См. фиг.3. Пунктиром показаны возможные положения ног в подвесках 9: 22а – отрезанных по заплюсневому суставу; 22б – отрезанных ниже заплюсневого сустава; 22в – отрезанных выше заплюсневого сустава).
При дальнейшем вращении устройства ползун 12 опускается вниз так, что верхние рабочие элементы 13 устанавливаются выше уровня отгиба подвески 9 на 8 мм, а ползун 17 поднимается вверх так, что рабочий элемент 18 устанавливается на расстоянии 6 мм от рабочих элементов 13. Это расстояние меньше толщины ноги самой маленькой птицы. В результате этих движений ноги, отрезанные по заплюсневый сустав или ниже, оказываются зажатыми между элементами 13 и элементом 18, причем в каждой подвеске 9 одновременно зажимаются две ноги, и каждая нога сверху индивидуально прижимается к одному жестко установленному на нижнем ползуне 17 нижнему рабочему элементу 18. При этом усилия сжатия ног любой толщины мало отличаются друг от друга, т.к. перемещение цилиндра 14, поджатого пружиной 15, составляет величину «е», которая в несколько раз меньше длины пружины в рабочем положении. Усилие сжатия ног может регулироваться винтом 16. При этом усилия, передаваемые роликами 20 на дорожки 4 и 5 копира 3, будут значительно ниже, чем в прототипе, имеющем неподвижные рабочие элементы 13. Если по какой-то причине в подвеске 9 будет только одна нога или одна из ног будет отрезана выше заплюсневого сустава, то сработает только один из верхних рабочих элементов 13. При дальнейшем вращении устройства ползуны 12 и 17 синхронно поднимаются вверх, т.к. управляющие дорожки 4 и 5 копира 3 на определенном участке дуги выполнены параллельными, рабочие элементы 13 и 1 при этом удаляют ноги 22 из клиновых пазов подвесок 9 (см. фиг.5). При выходе подвески 9 из устройства ноги 22 удаляются из подвесок 9, т.к. подвеска начинает двигаться прямолинейно, а рабочие элементы 13 и 18 вращаются вместе с устройством (см. фиг.2). После выхода ног из подвесок верхние ползуны 12 поднимаются вверх, а нижние ползуны 17 опускаются вниз, в результате чего рабочие элементы 13 и 18 расходятся, ноги 22а и 22б освобождаются и падают в приемный бункер.
Ноги, отрезанные выше заплюсневого сустава (фиг.3, положение 22в), не могут быть захвачены рабочими элементами 13 и 18, т.к. не выступают за плоскость подвески (или выступают на величину 1-10 мм). Эти ноги выталкиваются из подвески 9 щеткой 19, при подъеме нижнего ползуна 17 вверх (см. фиг.5, положение 22в).
Таким образом, выполнение верхних рабочих элементов устройства с возможностью возвратно-поступательного перемещения по вертикали с фиксацией их в ползуне с помощью пружины и регулировочного винта позволяет регулировать усилие сжатия ног между рабочими элементами, повысить надежность работы устройства и повысить износостойкость его элементов вследствие снижения рабочих усилий, передаваемых роликами на дорожки копира.
Формула изобретения
Устройство для удаления отрезанных ног тушек птицы из подвесок конвейера, содержащее раму, неподвижно закрепленный на ней вал и жестко установленный на нем копир с управляющими дорожками, ползуны с верхними и нижними рабочими элементами, перемещаемые по штангам и снабженные роликами, взаимодействующими с управляющими дорожками копира, укрепленные на нижнем ползуне щетки, отличающееся тем, что верхние рабочие элементы установлены в ползуне с возможностью возвратно-поступательного перемещения по вертикали и зафиксированы с помощью пружины и регулировочного винта для регулирования усилия сжатия ног между рабочими элементами и уменьшения усилия, передаваемого роликами на дорожки копира.
РИСУНКИ
|
|