|
|
(21), (22) Заявка: 2007125800/28, 10.07.2007
(24) Дата начала отсчета срока действия патента:
10.07.2007
(46) Опубликовано: 27.03.2009
(56) Список документов, цитированных в отчете о поиске:
Самокрутов А.А. и др. Исследование анизотропии проката и ее влияния на результаты акустических измерений. Контроль. Диагностика. 2003, №11, с.14. RU 2271876 С1, 20.03.2006. RU 2300763 С1, 10.06.2007. RU 2247978 С1, 10.03.2005. WO 9602349 А1, 01.02.1996. WO 9812556 А1, 26.03.1998.
Адрес для переписки:
119048, Москва, ул. Усачева, 35, стр. 1, ЗАО НИИИН МНПО “Спектр”, В.Г. Запускалову
|
(72) Автор(ы):
Самокрутов Андрей Анатольевич (RU), Бобров Владимир Тимофеевич (RU), Шевалдыкин Виктор Гаврилович (RU), Сергеев Константин Леонидович (RU), Алехин Сергей Геннадиевич (RU), Козлов Владимир Николаевич (RU)
(73) Патентообладатель(и):
ЗАКРЫТОЕ АКЦИОНЕРНОЕ ОБЩЕСТВО Научно-исследовательский институт интроскопии Московского научно-производственного объединения “Спектр” (ЗАО НИИИН МНПО “Спектр”) (RU)
|
(54) МАГНИТНАЯ СИСТЕМА ЭЛЕКТРОМАГНИТНО-АКУСТИЧЕСКОГО ПРЕОБРАЗОВАТЕЛЯ
(57) Реферат:
Изобретение относится к области неразрушающего контроля, а именно к средствам обнаружения дефектов в металлах и сплавах в широком диапазоне толщин при одностороннем бесконтактном доступе, и предназначено для применения в металлургии, машиностроении и др. отраслях промышленности. Магнитная система электромагнитно-акустического преобразователя (ЭМАП) содержит постоянный магнит в форме цилиндра с направлением намагничивания вдоль оси, концентратор из магнитомягкого материала, дополнительный магнит, полюсный наконечник, магнитопровод и вставку из немагнитного металла, при этом концентратор установлен на торцевой части магнита, дополнительный магнит выполнен с направлением намагничивания по нормали к боковым граням концентратора и с обеспечением одинаковой полярности всех примыкающих к концентратору полюсов, полюсный наконечник расположен на противоположном от концентратора торце магнита, а магнитопровод расположен между дополнительным магнитом и полюсным наконечником, причем вставка установлена между полюсным наконечником и магнитопроводом. Технический результат: расширение функциональных возможностей и области применения за счет повышения чувствительности аппаратуры для обнаружения дефектов и измерения толщины деталей, а также снижение уровня рассеянного магнитного поля на боковых поверхностях ЭМАП, что обеспечивает выполнение санитарных требований и позволяет использовать ЭМАП без вреда для оператора-дефектоскописта. 3 ил.
Изобретение относится к области неразрушающего контроля, а именно к средствам обнаружения дефектов проката и конструкций типа лент, полос, труб, сосудов, рельсов и др. из черных и цветных металлов и сплавов в широком диапазоне толщин при одностороннем бесконтактном доступе, и предназначено для применения в металлургии, машиностроении, авиастроении, автомобилестроении, в нефтегазовой и др. отраслях промышленности.
Известна магнитная система ЭМАП для возбуждения сдвиговых ультразвуковых волн [1], содержащая электромагнит, между рабочим торцом которого и контролируемым изделием располагают высокочастотную катушку (индуктор). Указанный ЭМАП не обеспечивает необходимой чувствительности и имеет низкое отношение сигнал/шум при контроле изделий в особенности с криволинейной поверхностью и из-за больших габаритов и массы магнитной системы не может быть использован в переносных и портативных приборах для ручного контроля.
Известна магнитная система ЭМАП для возбуждения продольных ультразвуковых волн [2, рис.2а], содержащая постоянный магнит в виде кольца и концентратор. Между рабочим торцом магнита и концентратором располагают высокочастотную катушку (индуктор). Указанный ЭМАП не обеспечивает необходимой чувствительности и имеет низкое отношение сигнал/шум.
Наиболее близким решением является магнитная система ЭМАП для возбуждения сдвиговых (поперечных) ультразвуковых объемных волн с применением постоянных магнитов [2, рис.2б], содержащая магнит в форме цилиндра с направлением намагничивания вдоль оси, на торце которого расположена катушка индуктора ЭМАП. Этот ЭМАП также не обеспечивает требуемой чувствительности при контроле как в ручном, так и в автоматическом режиме объектов из различных материалов с коррозионным повреждением поверхности, а рассеянное магнитное поле не позволяет использовать его при ручном контроле, так как нарушаются санитарные нормы по воздействию постоянного магнитного поля на руки оператора.
Сущность заявляемого изобретения состоит в том, что в магнитную систему электромагнитно-акустического преобразователя, содержащую постоянный магнит в форме цилиндра с направлением намагничивания вдоль оси, введены концентратор из магнитомягкого материала, дополнительный магнит, полюсный наконечник, магнитопровод и вставка из немагнитного металла, при этом концентратор установлен на торцевой части магнита, дополнительный магнит выполнен с направлением намагничивания по нормали к боковым граням концентратора и с обеспечением одинаковой полярности всех примыкающих к концентратору полюсов, полюсный наконечник расположен на противоположном от концентратора торце магнита, а магнитопровод расположен между дополнительным магнитом и полюсным наконечником, причем вставка установлена между полюсным наконечником и магнитопроводом.
Техническим результатом применения предложенной магнитной системы ЭМАП является то, что она позволяет расширить функциональные возможности (наряду с возбуждением сдвиговых волн с радиальной поляризацией обеспечивается возбуждение сдвиговых волн с линейной поляризацией и продольных волн, а также их одновременное возбуждение) и области применения аппаратуры, работающей совместно с предложенной магнитной системой ЭМАП, за счет повышения отношения сигнал/шум и чувствительности аппаратуры при обнаружении дефектов в изделиях с различной степенью криволинейности поверхности из углеродистой и нержавеющей сталей, сплавов алюминия, титана и других электропроводящих материалов и измерения толщины деталей из упомянутых металлов и сплавов как в состоянии поставки, так и в процессе работы в агрессивной среде при наличии коррозионных повреждений. Другим результатом является снижение уровня рассеянного магнитного поля на боковых поверхностях ЭМАП, что обеспечивает выполнение санитарных требований и позволяет использовать ЭМАП без вреда для оператора-дефектоскописта.
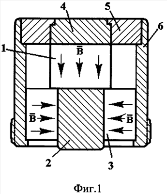
На фиг.1 показан общий вид магнитной системы ЭМАП для возбуждения сдвиговых (поперечных) и продольных ультразвуковых объемных волн. На фиг.2, 3 показан вид магнитной системы со стороны рабочего торца концентратора 2 (вид снизу).
Магнитная система ЭМАП содержит постоянный магнит 1 в форме цилиндра с направлением намагничивания вдоль оси, концентратор 2 из магнитомягкого материала, установленный на торцевой части магнита 1, дополнительный магнит 3 с направлением намагничивания по нормали к боковым граням концентратора 2, обеспечивающим одинаковую полярность всех примыкающих к концентратору 2 полюсов, полюсный наконечник 4, расположенный на противоположном от концентратора 2 торце магнита 1, вставку 5 из немагнитного металла и магнитопровод 6, устанавливаемый между дополнительным магнитом 3 и вставкой 5.
В зависимости от технологии изготовления магнитной системы возможны два варианта исполнения концентратора 2 и дополнительного магнита 3. На фиг.2 показан вариант исполнения дополнительного магнита в виде кольца 3 с радиальным направлением намагничивания. На фиг.3 показан вариант исполнения дополнительного магнита в виде состыкованных секторов 3, намагниченных таким образом, что в собранном виде они намагничены радиально, аналогично варианту, представленному на фиг.2.
Для повышения прочности магнитной системы ЭМА преобразователя вставка 5 может быть выполнена в виде цилиндрической гайки с резьбой на внутренней и наружной поверхностях, а магнитопровод 6 содержать резьбовую часть на наружной поверхности для крепления в корпусе ЭМАП (на фиг.1 не показан). Концентратор 2 может иметь и отличающуюся от цилиндрической форму, например форму параллелепипеда квадратного или прямоугольного сечения. При этом дополнительный магнит 3 выполняется в соответствии с фиг.3 и также повторяет форму концентратора. Магнитопровод 6 также изготавливается с учетом формы концентратора 2 и дополнительного магнита 3.
Соотношение размеров выступающих за пределы дополнительного магнита 3 частей концентратора 2 и магнитопровода 6 определяется задачей возбуждения того или иного типа ультразвуковой волны. Все элементы магнитной системы дополнительно соединяются между собой с помощью клея на основе, например, эпоксидной смолы.
В зависимости от конструктивных параметров элементов магнитной системы и индуктора ЭМАП в объекте контроля возбуждаются объемные сдвиговые волны с радиальной или линейной поляризацией (со смещениями поперек направления распространения волны) или продольные волны. Ультразвуковые колебания возникают в результате взаимодействия вихревых токов, наводимых при подаче на индуктор ЭМАП импульса высокочастотных колебаний, и нормальной или касательной составляющей магнитного поля магнитной системы.
Возникающие в поверхностном слое объекта контроля импульсы сдвиговых или продольных объемных волн, однократно или многократно отражаясь от дефектов или стенок изделия, характеризуют местоположение и размеры дефектов и остаточную толщину стенки изделия или конструкции.
Работа магнитной системы ЭМА преобразователя.
ЭМА преобразователь с предлагаемой магнитной системой для возбуждения УЗ-колебаний располагают над поверхностью контролируемого изделия или конструкции. На индуктор ЭМА преобразователя подают импульсы высокочастотных колебаний, наводящие в поверхностном слое конструкции или проката вихревые токи. Для возбуждения сдвиговых волн магнитная система ЭМАП создает магнитный поток с нормальной составляющей магнитного поля в области проекции концентратора 2 на поверхность контролируемого изделия. Под действием сил Лоренца в поверхностном слое объекта контроля возникает сдвиговая объемная волна, распространяющаяся вглубь металла в направлении, соответствующем нормали к поверхности изделия. Прием импульсов ультразвуковых колебаний и их преобразование в электрические сигналы обеспечивает этот же ЭМАП. Для измерения толщины стенки изделия используются эхосигналы, многократно переотражающиеся от поверхностей стенки изделия, для обнаружения дефектов – эхосигналы от дефектов (эхометод) или противоположной поверхности стенки изделия (зеркально-теневой метод).
Далее регистрируют отраженные от дефектов акустические сигналы сдвиговой объемной волны и по их амплитуде и временному положению оценивают условные размеры и координаты дефектов. По скорости и времени распространения многократно отразившихся от стенок изделия эхосигналов сдвиговой волны УЗ-колебаний в материале судят о толщине стенки изделия. Описанный вариант ЭМАП с использованием предлагаемой магнитной системы эффективно работает при контроле изделий, изготовленных из изотропного или слабоанизотропного металла.
При контроле изделий, изготовленных из анизотропного металла, целесообразно использовать ЭМАП с предлагаемой магнитной системой и индуктором в форме катушки с линейными участками в области проекции концентратора на поверхность изделия, обеспечивающим возбуждение сдвиговых волн с линейной поляризацией (синфазное возбуждение). Работа данного варианта ЭМАП с предлагаемой магнитной системой аналогична вышеописанному варианту. Отличием является необходимость ориентации ЭМАП вдоль или поперек направления прокатки металла или приложенных напряжений. При использовании ЭМАП с линейной поляризацией за счет его разворота на 90° возможно измерение текстурной анизотропии и напряженно-деформированного состояния.
Оба типа описанных ЭМАП с предлагаемой магнитной системой могут эффективно использоваться как при контроле ферромагнитных, так и неферромагнитных металлов и сплавов.
При контроле неферромагнитных металлов и сплавов (аустенитные стали, сплавы алюминия, латуни, медные и титановые сплавы) эффективно применение ЭМАП с предлагаемой магнитной системой для возбуждения продольных ультразвуковых волн. В этом случае индуктор ЭМАП выполняется в виде спиральной катушки, располагаемой в области максимального значения касательной составляющей магнитного поля предлагаемой магнитной системы в пространстве между концентратором и магнитопроводом. Оптимизация параметров ЭМАП обеспечивается за счет выбора оптимального соотношения размеров выступающих за пределы дополнительного магнита 3 частей концентратора 2 и магнитопровода 6, ширины катушки ЭМАП и ее положения относительно магнитной системы.
ЭМА преобразователь с предлагаемой магнитной системой для возбуждения продольных УЗ колебаний располагают над поверхностью контролируемого изделия или конструкции. На индуктор ЭМА преобразователя в форме спиральной катушки подают импульсы высокочастотных колебаний, наводящие в поверхностном слое конструкции или проката вихревые токи. Для возбуждения продольных волн используется касательная составляющая магнитного поля в области проекции области магнитной системы между концентратором 2 и магнитопроводом 3 на поверхность контролируемого изделия. Под действием сил Лоренца в поверхностном слое объекта контроля возникает продольная объемная волна, распространяющаяся вглубь металла в направлении, соответствующем нормали к поверхности изделия. Прием импульсов ультразвуковых колебаний и их преобразование в электрические сигналы обеспечивает этот же ЭМАП. Для измерения толщины стенки изделия используются эхосигналы, многократно переотражающиеся от поверхностей стенки изделия, для обнаружения дефектов – эхосигналы от дефектов (эхометод) или противоположной поверхности стенки изделия (зеркально-теневой метод). При этом учитывается тот факт, что скорость распространения продольных волн примерно в два раза больше скорости сдвиговых волн. Достоинством ЭМАП для возбуждения продольных волн с предлагаемой магнитной системой является независимость от положения ЭМАП относительно направления прокатки металла контролируемой конструкции. При использовании комбинированного индуктора возможно одновременное или поочередное возбуждение сдвиговых и продольных волн.
Техническим результатом применения предложенной магнитной системы ЭМАП является то, что она позволяет расширить функциональные возможности (наряду с возбуждением сдвиговых волн с радиальной поляризацией обеспечивается возбуждение сдвиговых волн с линейной поляризацией и продольных волн, а также их одновременное возбуждение) и области применения аппаратуры, работающей совместно с предложенной магнитной системой ЭМАП, за счет улучшения отношения сигнал/шум и чувствительности аппаратуры при обнаружении дефектов в изделиях с различной степенью кривизны поверхности из углеродистой и нержавеющей сталей, сплавов алюминия, титана и других электропроводящих материалов и измерения толщины деталей из упомянутых металлов и сплавов как в состоянии поставки, так и в процессе работы в агрессивной среде при наличии коррозионных повреждений.
Формула изобретения
Магнитная система электромагнитно-акустического преобразователя, содержащая постоянный магнит в форме цилиндра с направлением намагничивания вдоль оси, отличающаяся тем, что в нее введены концентратор из магнитомягкого материала, дополнительный магнит, полюсный наконечник, магнитопровод и вставка из немагнитного металла, при этом концентратор установлен на торцевой части магнита, дополнительный магнит выполнен с направлением намагничивания по нормали к боковым граням концентратора и с обеспечением одинаковой полярности всех примыкающих к концентратору полюсов, полюсный наконечник расположен на противоположном от концентратора торце магнита, а дополнительный магнитопровод расположен между дополнительным магнитом и полюсным наконечником, причем вставка установлена между полюсным наконечником и магнитопроводом.
РИСУНКИ
|
|