|
| На основании пункта 1 статьи 1366 части четвертой Гражданского кодекса Российской Федерации патентообладатель обязуется заключить договор об отчуждении патента на условиях, соответствующих установившейся практике, с любым гражданином Российской Федерации или российским юридическим лицом, кто первым изъявил такое желание и уведомил об этом патентообладателя и федеральный орган исполнительной власти по интеллектуальной собственности. |
|
(21), (22) Заявка: 2007126729/06, 13.07.2007
(24) Дата начала отсчета срока действия патента:
13.07.2007
(46) Опубликовано: 27.03.2009
(56) Список документов, цитированных в отчете о поиске:
SU 435442 A, 05.07.1974. SU 1599116 A1, 15.10.1990. SU 814474 A, 10.04.1981. RU 2084292 C1, 20.07.1997. SU 688771 A, 30.09.1979. DE 715339 A, 27.11.1941.
Адрес для переписки:
123458, Москва, ул. Твардовского, 11, кв.92, О.С. Кочетову
|
(72) Автор(ы):
Кочетов Олег Савельевич (RU), Голубева Мария Владимировна (RU), Колаева Лидия Владимировна (RU), Боброва Екатерина Олеговна (RU), Духанина Елена Владимировна (RU), Горнушкина Надежда Игоревна (RU), Павлова Дарья Олеговна (RU)
(73) Патентообладатель(и):
Кочетов Олег Савельевич (RU), Голубева Мария Владимировна (RU)
|
(54) ГРАДИРНЯ
(57) Реферат:
Изобретение относится к контактным охладителям, в частности к градирням, и может быть использовано на тепловых электрических станциях для охлаждения оборотной воды. Градирня содержит башню, на боковой поверхности которой расположены воздуховходные окна с форсунками для эжекции охлаждающего воздуха, причем в окнах установлены наклоненные внутрь градирни жалюзи, образующие расположенные ярусами каналы, а форсунки размещены перед входными горловинами последних. Форсунки выполнены центробежными, каждая из которых содержит корпус с камерой, в которой расположен шнек с винтовой внешней канавкой, причем в днище корпуса выполнено дроссельное отверстие, а в верхней части размещен штуцер с цилиндрическим отверстием, причем внутри шнека выполнено отверстие с винтовой нарезкой, направление которой либо противоположно, либо попутно направлению винтовой внешней канавки шнека, а под шнеком расположена камера смешения, состоящая из цилиндрической и конической частей, причем шнек жестко связан с Т-образной дроссельной шайбой, в торцевой цилиндрической части которой выполнены, по крайней мере, три дроссельных отверстия, а в жестко с ней связанной осевой цилиндрической части осевое дроссельное отверстие, причем гидравлическое сопротивление дроссельных отверстий подбирается в зависимости от свойств распыливаемой жидкости и требуемой степени ее распыла. Шнек форсунки выполнен из твердых материалов: карбида вольфрама, рубина, сапфира. Технический результат – повышение производительности работы градирни. 1 з.п. ф-лы, 2 ил.
Изобретение относится к контактным охладителям, в частности к градирням, и может быть использовано на тепловых электрических станциях для охлаждения оборотной воды.
Наиболее близким техническим решением к заявляемому объекту является градирня по а.с. СССР №435442, С02В 1/10 от 04.07.72, содержащая башню, на боковой поверхности которой расположены воздуховходные окна с форсунками для эжекции охлаждающего воздуха, причем в окнах установлены наклоненные внутрь градирни жалюзи, образующие расположенные ярусами каналы, а форсунки размещены перед входными горловинами последних (прототип).
Недостатком градирни является сравнительно невысокая эффективность из-за невысокой степени распыла жидкости форсунками.
Технический результат – повышение производительности работы градирни.
Это достигается тем, что градирня содержит башню, на боковой поверхности которой расположены воздуховходные окна с форсунками для эжекции охлаждающего воздуха, причем в окнах установлены наклоненные внутрь градирни жалюзи, образующие расположенные ярусами каналы, а форсунки размещены перед входными горловинами последних. Согласно изобретению форсунки выполнены центробежными, каждая из которых содержит корпус с камерой, в которой расположен шнек с винтовой внешней канавкой, причем в днище корпуса выполнено дроссельное отверстие, а в верхней части размещен штуцер с цилиндрическим отверстием, причем внутри шнека выполнено отверстие с винтовой нарезкой, направление которой либо противоположно, либо попутно направлению винтовой внешней канавки шнека, а под шнеком расположена камера смешения, состоящая из цилиндрической и конической частей, причем шнек жестко связан с Т-образной дроссельной шайбой, в торцевой цилиндрической части которой выполнены, по крайней мере, три дроссельных отверстия, а в жестко с ней связанной осевой цилиндрической части осевое дроссельное отверстие, причем гидравлическое сопротивление дроссельных отверстий подбирается в зависимости от свойств распыливаемой жидкости и требуемой степени ее распыла. Шнек форсунки выполнен из твердых материалов: карбида вольфрама, рубина, сапфира.
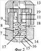
На фиг.1 изображена схема градирни, на фиг.2 – общий вид центробежной форсунки для распыливания жидкости.
Градирня содержит башню 1, имеющую в поперечном сечении трапецию. На боковой поверхности башни расположены воздуховходные окна, в которых установлены наклоненные внутрь градирни жалюзи 2, образующие прямоугольные каналы 3. Перед входными горловинами каналов 3 размещены коллекторы 4 для подачи охлажденной жидкости.
Центробежная форсунка (фиг.2) состоит из корпуса 7, внутри которого расположен шнек 8. Внешняя поверхность шнека 8 представляет собой винтовую канавку с правой (или левой) нарезкой. Внутри шнека 8 выполнено отверстие 17 с левой (или правой) винтовой нарезкой. В днище корпуса 7 выполнено дроссельное отверстие 15, ось которого совпадает с осью отверстия 17 в шнеке 8. Между нижним торцом шнека 8 и срезом дроссельного отверстия 15 расположена камера смешения, состоящая из цилиндрической 14 и конической 16 частей.
Шнек 8 жестко связан с Т-образной дроссельной шайбой 11, в торцевой цилиндрической части 10 которой выполнены, по крайней мере, три дроссельных отверстия 12, а в жестко с ней связанной осевой цилиндрической части осевое дроссельное отверстие 19. Гидравлическое сопротивление дроссельных отверстий 12 и 19 подбирается в зависимости от свойств распыливаемой жидкости и требуемой степени ее распыла.
Подача раствора (жидкости) осуществляется через отверстие в штуцере 13, закрепленном в верхней части корпуса 7 через торцевую цилиндрическую часть 10 Т-образной дроссельной шайбы 11.
Центробежные форсунки 5 расположены в шахматном порядке. В нижней части градирни расположен резервуар 6 для сбора охлажденной воды.
Градирня работает следующим образом.
Охлаждающий воздух эжектируется подаваемой водой сначала в каналах, образованных жалюзями 2, а затем в башне 1 происходит тепло- и массообмен между воздухом и охлаждаемой водой. Применение центробежных форсунок 5 с равномерным распылом жидкости позволяет получить высокие коэффициенты эжекции. Сепарация влаги из воздуха происходит в башне 1 трапецеидальной формы за счет постепенного уменьшения скорости воздуха на выходе.
Центробежная форсунка для распыливания жидкостей работает следующим образом.
Жидкость подается по отверстию в штуцере 13 и через Т-образную дроссельную шайбу 11 поступает одновременно по двум направлениям: во-первых, в винтовую внешнюю полость 18 шнека 8 через дроссельные отверстия 12 и, во-вторых, в отверстие 17 с винтовой нарезкой через дроссельное отверстие 19. Вращающийся поток жидкости из винтовой внешней полости 18 шнека 8 поступает в камеру смешения, состоящую из цилиндрической 14 и конической 16 частей. С другой стороны, в камеру смешения поступает жидкость из отверстия 17 с винтовой нарезкой, совершая вращение в сторону, противоположную внешнему потоку, идущему по шнеку 8, либо совершая попутное (одинаковое) вращение. При взаимодействии вращающихся потоков в камере смешения происходит дополнительное дробление капель жидкости за счет их соударения в попутных или противоположно вращающихся потоках жидкости (внешнего и внутреннего). Суммарный мелкодисперсный вращающийся поток выходит через дроссельное отверстие 15, причем направление его вращения определяется гидравлическим сопротивлением соответственно внешней 18 или внутренней винтовых полостей 17 шнека 8.
Шнек 8 форсунки может быть выполнен из твердых материалов: карбида вольфрама, рубина, сапфира. При среднем диаметре дроссельного отверстия 15, находящемся в диапазоне 2,5…3,5 мм, и давлении жидкости 6…9 МПа обеспечивается распыление от 400 до 1000 кг/ч жидкости. Форсунка проста в изготовлении и обслуживании.
Формула изобретения
1. Градирня, содержащая башню, на боковой поверхности которой расположены воздуховходные окна с форсунками для эжекции охлаждающего воздуха, причем в окнах установлены наклоненные внутрь градирни жалюзи, образующие расположенные ярусами каналы, а форсунки размещены перед входными горловинами последних, отличающаяся тем, что форсунки выполнены центробежными, каждая из которых содержит корпус с камерой, в которой расположен шнек с винтовой внешней канавкой, причем в днище корпуса выполнено дроссельное отверстие, а в верхней части размещен штуцер с цилиндрическим отверстием, причем внутри шнека выполнено отверстие с винтовой нарезкой, направление которой либо противоположно, либо попутно направлению винтовой внешней канавки шнека, а под шнеком расположена камера смешения, состоящая из цилиндрической и конической частей, причем шнек жестко связан с Т-образной дроссельной шайбой, в торцевой цилиндрической части которой выполнены, по крайней мере, три дроссельных отверстия, а в жестко с ней связанной осевой цилиндрической части – осевое дроссельное отверстие, причем гидравлическое сопротивление дроссельных отверстий подбирается в зависимости от свойств распыливаемой жидкости и требуемой степени ее распыла.
2. Градирня по п.1, отличающаяся тем, что шнек форсунки выполнен из твердых материалов: карбида вольфрама, рубина, сапфира.
РИСУНКИ
|
|