|
|
(21), (22) Заявка: 2008100061/06, 10.01.2008
(24) Дата начала отсчета срока действия патента:
10.01.2008
(46) Опубликовано: 27.03.2009
(56) Список документов, цитированных в отчете о поиске:
RU 2268772 С1, 27.01.2006. RU 2304261 С1, 10.08.2007. RU 2079067 С1, 10.05.1997. RU 2106581 С1, 10.03.1998. GB 1140837 А, 22.01.1969.
Адрес для переписки:
390504, г.Рязань, п. Божатково, 43, А.В. Медведеву
|
(72) Автор(ы):
Медведев Анатолий Васильевич (RU)
(73) Патентообладатель(и):
Овченкова Оксана Анатольевна (RU), Куканов Вячеслав Алексеевич (RU)
|
(54) СПОСОБ ТЕПЛОМАССОЭНЕРГООБМЕНА И УСТРОЙСТВО ДЛЯ ЕГО ОСУЩЕСТВЛЕНИЯ
(57) Реферат:
Изобретение относится к акустическим способам тепломассоэнергообмена жидких, газовых, газожидкостных смесей, взвесей и дисперсий. Предлагается способ и устройство тепломассоэнергообмена, при котором с помощью концентрично расположенных вихревых труб за счет деформационно-сдвигового взаимодействия, происходящего в зоне пересечения боковых поверхностных слоев, обеспечивают возбуждение двух и более вихревых продуктовых потоков. Внешняя вихревая труба выполнена длиннее внутренней вихревой трубы. По осевой внутренней вихревой трубы установлен первый осевой вытеснитель, образующий вихреформирующую кольцевую полость на выступающую из внутренней вихревой трубы часть, на которую установлен второй осевой вытеснитель, образующий регулируемый кольцевой зазор и с внешней вихревой трубой акустическую камеру. Напорные камеры по входу снабжены регулирующими вентилями. Использование изобретения позволит увеличить мощность и длительность акустического возбуждения и регулирование частотно-амплитудных характеристик акустического возбуждения. 2 н. и 1 з.п. ф-лы, 3 ил.
Изобретение относится к акустическим (например, ультразвуковым) способам тепломассоэнергообмена жидких, газовых, газожидкостных смесей, взвесей и дисперсий в механо-физико-химических процессах превращения, кроме этого, таким способом воздействуют на воду с целью нагрева ее как теплоносителя.
Известны способы тепломассоэнергообмена при акустическом возбуждении проходных потоков продуктов путем передачи жидкости колебательной энергии с помощью источника механических колебаний, взаимодействующего с жидкостью. Используется этот способ в гидродинамических ультразвуковых излучателях с пластинчатыми и стержневыми резонансными колебательными устройствами, в вихревых и роторно-пульсационных аппаратах. Другим способом тепломассоэнергообмена при акустическом возбуждении может быть взаимодействие струйных потоков между собой путем передачи кинетической энергии одного потока другому. Этот способ используется в струйно-вихревых аппаратах (инжекторах, вихревых трубах), в которых происходит преобразование потенциальной энергии в кинетическую с последующим тепломассоэнергообменом взаимодействующих сред. В результате такого взаимодействия возникает резонанс и кавитационный эффект, в результате чего рвутся связи между молекулами и атомами, при восстановлении которых выделяется энергия в виде тепла. На этой основе работают теплогенераторы.
Известен способ резонансного возбуждения жидкости и устройство для нагревания жидкости [патент РФ 2232630, 7 B01J 19/10, опубликован 20.07.04], который основан на обработке жидкости источником механических колебаний на частоте из ряда основных частот, подчиняющихся определенной эмпирической зависимости. Способ нагревания жидкости основан на акустической обработке жидкости и включает ее подачу в полость вращающегося рабочего колеса и выпуск из полости через ряд выходных отверстий в периферийной кольцевой стенке рабочего колеса в кольцевую камеру, а затем в сборную камеру при соблюдении определенных соотношений между частотой вращения рабочего колеса, радиусом периферийной стенки и резонансной частотой. К недостаткам этого способа следует отнести сложность технической реализации, избирательность возбуждения, многофакторная зависимость резонансного возбуждения от геометрических, частотных параметров и ограниченная возможность использования этого способа для проведения других тепломассоэнергообменных процессов.
Наиболее близким по технической сущности является способ тепломассоэнергообмена и устройство для его осуществления [патент РФ 2268772, 7 B01J 19/10, 7 B01F 11/02, опубликован 27.01.2006], при котором возбуждение осуществляется с помощью сообщенных между собой вихревых труб, путем частичного соприкосновения встречно направленных поверхностно-наружных слоев двух и более вихревых потоков на глубину, обеспечивающую их акустическое возбуждение за счет деформационного взаимодействия, происходящего в зоне пересечения вихревых труб. Устройство для осуществления этого способа выполнено в виде двух и более вихревых труб, сообщенных между собой с помощью частичного пересечения их по образующим.
Однако этот способ и устройство имеют ряд недостатков. Во-первых, встречно направленные поверхностно-наружные слои двух и более вихревых потоков на глубину деформационно-сдвигового взаимодействия создают противоположно направленные центробежные силы, которые деформируют вихреобразование, в результате чего уменьшают время взаимодействия вихрей и эффективную полосу спектра амплитудно-частотных характеристик акустического возбуждения. Это приводит к тому, что в конце вихревых труб на выходе потоков резко падает интенсивность возбуждения. Во-вторых, регулирование акустического возбуждения при неизменных диаметрах вихревых труб и сечений тангенциальных сопел возможно только изменением напорно-расходных значений потока на входе в напорную камеру, а это приводит к резким изменениям гидродинамических режимов возбуждения, т.е. уменьшению диапазона регулирования интенсивности эффективного возбуждения и падению производительности. В-третьих, соприкосновение или трение наружных поверхностей вихревых потоков происходит только в зоне пересечения вихревых труб, которая определена геометрическими размерами. Такая схема взаимодействия вихревых потоков формирует точечные источники акустического возбуждения, что приводит к снижению мощности и длительности акустического вихревзаимодействия.
Техническим результатом, на который направлено предлагаемое изобретение, является увеличение мощности и длительности акустического возбуждения, а также регулирование частотно-амплитудных характеристик акустического возбуждения.
Технический результат достигается тем, что с помощью вихревых труб формируют два и более раздельных концентрических одинаково или противоположно направленных по вращению вихрекольцевых продуктовых потока и перемещают их по общей осевой в одном направлении. При этом внешний вихрекольцевой продуктовый поток перемещают на большую длину, чем внутренний вихрекольцевой продуктовый поток. Затем внутренний вихрекольцевой продуктовый поток с помощью осевого вытеснителя и кольцевого зазора между осевым вытеснителем и торцом внутренней вихревой трубы соприкасаются с внешним вихрекольцевым продуктовым потоком. Возбуждают объединенный продуктовый поток путем задания с помощью регулируемых вентилей разных линейных скоростей вихрекольцевых продуктовых потоков в вихревых трубах и выводят возбужденный продуктовый поток на использование.
Для осуществления настоящего способа предлагается устройство тепломассоэнергообмена, содержащее напорные камеры, сообщенные с вихревыми трубами тангенциальными пазами, при этом вихревые трубы установлены концентрично одна в другую с образованием раздельных вихреформирующих полостей. Внешняя вихревая труба выполнена длиннее внутренней вихревой трубы. По осевой внутренней вихревой трубы установлен первый осевой вытеснитель, который длиннее внутренней вихревой трубы и образует вихреформирующую кольцевую полость на выступающую из внутренней вихревой трубы часть, на которую установлен регулируемый по высоте второй осевой вытеснитель. Второй осевой вытеснитель образует регулируемый кольцевой зазор для истечения продукта из внутренней вихревой трубы в вихрекольцевую полость возбуждения и с внешней вихревой трубой акустическую камеру, которая заканчивается выходным патрубком. Напорные камеры по входу снабжены регулирующими вентилями.
Вихревые трубы могут быть выполнены цилиндрическими, коническими или цилиндроконическими в различных сочетаниях.
Предлагаемое техническое решение позволяет:
– увеличить мощность и длительность акустического взаимодействия вихревых потоков за счет увеличения зоны возбуждения по окружности;
– управлять кавитационно-акустическим возбуждением за счет разницы линейных скоростей внешнего и внутреннего вихрекольцевых потоков и изменения кольцевого зазора для истечения продукта из внутренней вихрекольцевой полости.
Предлагаемое техническое решение допускает два варианта исполнения:
– со встречно направленными вихрекольцевыми потоками, т.е. взаимно противоположными направлениями вращения;
– с одинаково направленными вихрекольцевыми потоками, т.е. вращающимися в одном направлении.
В случае встречно направленного вращения вихрекольцевых потоков происходят интенсивные сдвиговые деформации продукта за счет того, что поверхностно-активный слой внутреннего вихрекольцевого потока по всей окружности трется о внутреннюю поверхность наружного вихрекольцевого потока, при этом центробежные силы направлены в одну сторону, что способствует увеличению длительности возбуждения.
В случае однонаправленного вращения вихрекольцевых потоков происходит, за счет разницы линейных скоростей, более мягкая и более длительная деформация трущихся поверхностей вихрекольцевых потоков, что значительно увеличивает время возбуждения и дает возможность плавного регулирования устойчивого акустического возбуждения.
Эти и другие особенности настоящего изобретения будут понятны из нижеследующего описания примеров его осуществления со ссылками на прилагаемые чертежи.
Краткое описание чертежей, на которых условно представлено:
фиг.1 – схема взаимодействия встречно направленных вихревых потоков в зоне их соприкосновения;
фиг.2 – схема взаимодействия одинаково направленных вихревых потоков в зоне их соприкосновения (возбуждения);
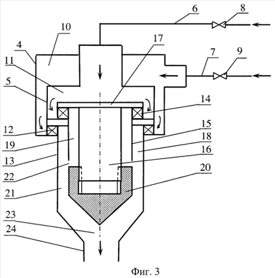
фиг.3 – конструкция устройства.
На чертежах фиг.1 и фиг.2 условно изображены вращающиеся вихревые потоки: 1 – наружный поток, 2 – внутренний поток и 3 – граничная зона соприкосновения потоков. Граничная зона соприкосновения потоков 3 (наружного потока 1 и внутреннего потока 2) представляет собой окружность, по которой взаимодействуют наружная энергоактивная поверхность внутреннего потока 2 и внутренняя энергоактивная поверхность наружного потока 1. В результате сдвиговых деформаций в граничной зоне соприкосновения потоков 3 происходит акустическое возбуждение продукта. При этом схема по фиг.1 со встречно направленными вращениями вихрекольцевых потоков предпочтительна при деструкции, гомогенизации, диспергировании продуктов. Регулируя линейные скорости вихревых потоков, можно менять частотно-амплитудные характеристики и интенсивность возбуждения.
В случае использования схемы по фиг.2 очевидно, что при равенстве линейных скоростей вихревых потоков реализуется режим вихревой трубы, а при разнице их формируется возбуждение, при этом в случае кратности этих скоростей целому числу, возникает резонанс на низких частотах. Такой режим возбуждения эффективен при структурировании и активации продуктов при проведении физико-химических превращений.
Устройство для реализации этого способа тепломассоэнергообмена условно изображено на фиг.3. Оно состоит из наружного 4 и внутреннего 5 колпаков с входящими в них первой 6 и второй 7 магистралями, которые имеют первый 8 и второй 9 регулирующие вентили. Наружный 4 и внутренний 5 колпаки образуют раздельные первую 10 и вторую 11 расходно-напорные камеры. Первая расходно-напорная камера 10 раздельно сообщена первыми тангенциальными пазами 12 с полостью наружной вихревой трубы 13. Вторая расходно-напорная камера 11 раздельно сообщена вторыми тангенциальными пазами 14 с внутренней вихревой трубой 15, которая концентрично-соосно установлена внутри наружной вихревой трубы 13. Внутри внутренней вихревой трубы 15 установлен первый осевой вытеснитель 16, закрепленный на крышке 17. Наружная вихревая труба 13 и первый осевой вытеснитель 16 длиннее внутренней вихревой трубы 15. Наружная вихревая труба 13, внутренняя вихревая труба 15 и первый осевой вытеснитель 16 образуют первую 18 и вторую 19 вихрекольцевые полости. На выступающий из внутренней вихревой трубы 15 конец первого осевого вытеснителя 16 установлен второй осевой вытеснитель 20, диаметр которого больше диаметра первого осевого вытеснителя 16, за счет чего формируется вихрекольцевая зона возбуждения 21. Между выходным торцом внутренней вихревой трубы 15 и вторым осевым вытеснителем 20 образован кольцевой зазор 22 для истечения продукта из внутренней вихревой трубы 15 в зону возбуждения 21. На выходе наружной вихревой трубы 13 расположена акустическая камера 23, которая заканчивается выходным патрубком 24.
Работа устройства происходит следующим образом.
Продукт по первой 6 и второй 7 входным магистралям через первый 8 и второй 9 регулирующие вентили поступает под давлением в первую 10 и вторую 11 расходно-напорные камеры и через первые 12 и вторые 14 тангенциальные пазы поступает в первую 18 и вторую 19 вихрекольцевые полости, где создаются вихрекольцевые потоки, вращающиеся в разных или одинаковых направлениях и перемещающиеся по оси в одном направлении. На выходе из внутренней вихревой трубы 15 через кольцевой зазор 22 вихрекольцевые потоки соединяются в один поток по схеме фиг.1 или фиг.2, в зависимости от требования технологического процесса. Регулируя расходно-напорные параметры потоков первым 8 и вторым 9 регулирующими вентилями, создают разницу линейных скоростей вихревых потоков в первой 18 и второй 19 вихрекольцевых полостях, тем самым изменяя гидродинамический режим соприкосновения потоков, а следовательно, и частотно-амплитудные характеристики акустического возбуждения. Возбужденные потоки перемещаясь в вихрекольцевой зоне возбуждения 21 поступают в акустическую камеру 23 и выводятся через выходной патрубок 24 на использование.
Узлы и детали описанного устройства могут быть изготовлены на обычном оборудовании, что подтверждает промышленную применимость изобретения.
Таким образом, применение способа тепломассоэнергообмена и устройства для его осуществления позволяет увеличить мощность и длительность акустического взаимодействия вихревых потоков и управлять кавитационно-акустическим возбуждением продукта в ограниченном пространстве.
Формула изобретения
1. Способ тепломассоэнергообмена путем соприкосновения боковых поверхностных слоев двух и более вихревых продуктовых потоков на глубину, обеспечивающую возбуждение за счет деформационно-сдвигового взаимодействия, происходящего в зоне их пересечения, отличающийся тем, что с помощью вихревых труб формируют два и более раздельных концентрических одинаково или противоположно направленных по вращению вихрекольцевых продуктовых потока, перемещают их по общей осевой в одном направлении, при этом внешний вихрекольцевой продуктовый поток перемещают на большую длину, чем внутренний вихрекольцевой продуктовый поток, затем внутренний вихрекольцевой продуктовый поток с помощью осевого вытеснителя и кольцевого зазора между ним и торцом внутренней вихревой трубы соприкасают с внешним вихрекольцевым продуктовым потоком, возбуждают объединенный продуктовый поток путем задания разных линейных скоростей вихрекольцевым продуктовым потокам в вихревых трубах с помощью регулируемых вентилей и выводят возбужденный продуктовый поток на использование.
2. Устройство тепломассоэнергообмена, содержащее напорные камеры, сообщенные с вихревыми трубами тангенциальными пазами, отличающееся тем, что две и более вихревые трубы установлены концентрично одна в другую с образованием раздельных вихреформирующих полостей, при этом внешняя вихревая труба выполнена длиннее внутренней вихревой трубы, по осевой внутренней вихревой трубы установлен первый осевой вытеснитель, образующий вихреформирующую кольцевую полость на выступающую из внутренней вихревой трубы часть, на которую установлен регулируемый по высоте второй осевой вытеснитель, образующий регулируемый кольцевой зазор и с внешней вихревой трубой акустическую камеру, напорные камеры по входу снабжены регулирующими вентилями.
3. Устройство по п.2, отличающееся тем, что вихревые трубы могут быть выполнены цилиндрическими, коническими, цилиндроконическими в различных сочетаниях.
РИСУНКИ
|
|