|
(21), (22) Заявка: 2006129274/06, 17.01.2005
(24) Дата начала отсчета срока действия патента:
17.01.2005
(30) Конвенционный приоритет:
13.02.2004 IT MC2004A000024
(43) Дата публикации заявки: 20.02.2008
(46) Опубликовано: 27.03.2009
(56) Список документов, цитированных в отчете о поиске:
RU 3985 U1, 16.04.1997. SU 1216566 А1, 07.03.1986. US 6332460 B1, 25.12.2001. US 2001/010897 A1, 02.08.2001. WO 99/08046 A, 18.02.1999. WO 2004/044490 A, 27.05.2004.
(85) Дата перевода заявки PCT на национальную фазу:
11.08.2006
(86) Заявка PCT:
IT 2005/000018 (17.01.2005)
(87) Публикация PCT:
WO 2005/078342 (25.08.2005)
Адрес для переписки:
129090, Москва, ул. Б.Спасская, 25, стр.3, ООО “Юридическая фирма Городисский и партнеры”, пат.пов. С.А.Дорофееву, рег.№ 146
|
(72) Автор(ы):
АРМАННИ Пьеро (IT)
(73) Патентообладатель(и):
СО.М.И. ПРЕММ-СОЧИЕТА МЕТАЛЛИ ИНЬЕТТАТИ С.П.А. (IT)
|
(54) ДВОЙНАЯ КОНФОРКА ДЛЯ ГАЗОВЫХ ПЛИТ, ИМЕЮЩАЯ НЕСКОЛЬКО КОНЦЕНТРИЧЕСКИХ ВЕНЦОВ ПЛАМЕНИ
(57) Реферат:
Изобретение относится к двойной конфорке для газовых плит, имеющей несколько концентрических венцов (FE) и (FC) пламени и содержащей два впускных отверстия (3, 4) газа, которые доходят до центра ее корпуса (1) на несколько разной высоте, в результате чего, при необходимости, можно обеспечить получение технического результата, заключающегося в сообщении впускных отверстий газа, просто просверлив отверстие с вертикальной осью от верхнего впускного отверстия (3) к нижнему впускному отверстию (4), с видоизменением двойной конфорки в обычную конфорку с одним краном при сохранении возможности подачи газа во все венцы пламени двойной конфорки. 6 з.п. ф-лы, 8 ил.
Данная патентная заявка относится к двойной конфорке для газовых плит, имеющей несколько концентрических венцов пламени.
Термин «двойная конфорка» означает конфорку с двумя разными впускными отверстиями газа, имеющими краны, которые отдельно подают газ в два или более концентрических венцов пламени. Венцы пламени выполнены с возможностью избирательного включения или выключения, т.к. газ подается по двум отдельным независимым каналам, оканчивающимся упомянутыми впускными отверстиями.
Несмотря на то что они имеют несколько концентрических венцов пламени, обычные конфорки характеризуются наличием одного впускного отверстия газа с краном, снабжающим все каналы, по которым в головку конфорки идет воздушно-газовая смесь.
Поэтому концентрические венцы пламени обычных конфорок действуют одновременно, и это означает, что они включаются или выключаются вместе. Напротив, если есть двойные венцы, то пользователь может по своему усмотрению включить все венцы пламени или оставить невключенными некоторые из них.
Задача настоящего изобретения заключается в обеспечении двойной конфорки для газовых плит, выполненной с возможностью ее преобразования путем простых, недорогостоящих видоизменений в обычную конфорку, т.е. – в конфорку с одним краном, установленным рядом с одним из впускных отверстий, с сохранением возможности подачи газа во все венцы пламени двойной конфорки.
Для модифицирования существующих моделей двойных конфорок необходимо использовать соединительную трубку вне корпуса конфорки, чтобы создать сообщение между выходами двух впускных отверстий газа, в результате чего газ, поступающий в одно впускное отверстие, может свободно течь по соединительной трубке к другому впускному отверстию, которое поэтому не нужно подключать к газоснабжению и обеспечивать краном.
Задача изобретения заключается в создании двойной конфорки для газовых плит, которую можно преобразовать в обычную конфорку без применения наружных элементов, таких как соединительная трубка, расположенная вне корпуса конфорки, – простым удалением стенки корпуса, разделяющей два впускных отверстия газа.
Еще одна задача изобретения заключается в создании двойной конфорки для газовых плит, которую можно преобразовать указанным выше образом и которая отличается универсальностью ее использования благодаря замене некоторых элементов в соответствии с разными требованиями рынка.
Следует отметить, что в западных странах для приготовления пищи обычно используется посуда с плоским дном, в то время как в азиатских странах распространено использование посуды со сферическим дном.
В последнем случае для обеспечения надлежащей теплопроизодительности конфорок пламя следует направлять вверх, а в первом случае пламени следует иметь совершенно горизонтальную направленность.
Ввиду вышеизложенного двойная конфорка согласно настоящему изобретению сконструирована с возможностью ее оснащения двумя типами взаимозаменяемых колпачков; причем первый колпачок целесообразен для выведения пламени в горизонтальном направлении и второй колпачок целесообразен для выведения пламени в вертикальном направлении.
Еще одна цель настоящего изобретения заключается в создании двойной конфорки для газовых плит, отличающейся упомянутой модификацией и универсальностью использования и имеющей компактный объем.
Конфорка согласно настоящему изобретению имеет корпус чанообразной формы, имеющий перегородочные стенки, которые образуют два разных несообщающихся канала, из которых один канал подходит для подачи газа в наружные венцы пламени и второй колпачок подходит для подачи газа в центральные венцы пламени.
Дно корпуса имеет два разных несообщающихся впускных отверстия с горизонтальными осями, которые избирательно подают газ в упомянутые каналы.
В конфорке в соответствии с настоящим изобретением два впускных отверстия газа отличаются тем, что они оба доходят до центра корпуса немного на разной высоте. Поэтому сообщение между впускными отверстиями можно создать, при необходимости, просто просверлив отверстие с вертикальной осью из верхнего впускного отверстия в нижнее впускное отверстие.
Согласно предпочтительному осуществлению настоящего изобретения: оси двух впускных отверстий расположены на ортогональных вертикальных плоскостях.
Хотя патент США №6322460 В1 раскрывает конфорку, обладающую упомянутыми характеристиками, она не компактна по высоте и имеет только два накладываемых друг на друга венца, расположенных на разных уровнях, и поэтому пламя нижнего венца отделено интервалом от пламени верхнего венца.
Значительный габарит по высоте упомянутой конфорки обусловлен тем, что три канала Вентури с соответствующими тремя соплами имеют вертикальную ось.
Напротив, конфорка согласно настоящему изобретению применяет расположенные напротив друг друга две камеры Вентури с наклонной осью.
Эта наклонная ось позволят уменьшить размер конфорки по высоте, без сокращения длины расходящейся секции упомянутых камер, причем от упомянутой длины зависит качество рабочих показателей конфорки.
Помимо этого, за счет этой наклонной оси регулируется размер конфорки по длине – если нужно будет получить трехвенцовую конфорку с концентрическим пламенем.
Трехвенцовая конфорка с концентрическим пламенем, расположенным на одном уровне, описывается в опубликованном патенте США 2001/0010897 А1, но размеры по высоте и длине этого типа конфорок значительные, т.к. имеют первый инжектор газа с находящейся за ним камерой Вентури с вертикальной осью и второй инжектор газа с находящейся за ним камерой Вентури с горизонтальной осью для запитывания наружного пламени двух венцов.
Как упомянуто выше, конфорка согласно настоящему изобретению имеет два впускных отверстия газа.
Вертикальный канал отходит от верхнего впускного отверстия с первым соплом газа, которое вводит газ в канал снабжения центральных венцов пламени; и расходящаяся пара восходящих каналов отходит от нижнего впускного отверстия, имеющего сопла, которые вводят газ в канал снабжения наружных венцов пламени.
Камера Вентури находится после каждого газового сопла и смешивает газ с первичным воздухом.
Конфорка согласно настоящему изобретению имеет три камеры Вентури: одну центральную камеру с вертикальной осью над первым соплом и две противоположно установленные камеры с наклонной осью, соответственно над другими двумя упомянутыми соплами.
Камеры находятся внутри головки конфорки, т.е. в тарелке, отличающейся наличием концентрического ряда нескольких зубчатых венцов; при этом колпачки закрывают полости зубчатых венцов, и пламя выходит из каждой полости.
Еще одна характеристика конфорки согласно настоящему изобретению заключается в том, что она имеет головку, сформированную нижней тарелкой и верхней тарелкой, полностью сопрягающихся и образующих пару камер Вентури с наклонной осью.
Третья камера Вентури расположена по центру в верхней тарелке, которая имеет концентрический ряд нескольких зубчатых венцов.
Описание двойной конфорки согласно настоящему изобретению далее излагается со ссылкой на прилагаемые чертежи, являющиеся только поясняющими, а не ограничивающими, на которых:
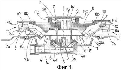
Фиг.1 – поперечное сечение конфорки согласно изобретению, в вертикальной диаметральной плоскости, проходящей по оси первых впускных отверстий газа;
Фиг.2 – поперечное сечение конфорки согласно изобретению, в вертикальной диаметральной плоскости, проходящей по оси второго впускного отверстия, которое в этом случае находится на несколько большей высоте, чем первое впускное отверстие;
Фиг.3 – то же поперечное сечение, что и на Фиг.1, за тем исключением, что оно относится к преобразованному варианту конфорки, показано как сообщение, созданное между двумя впускными отверстиями газа через посредство отверстия с вертикальной осью;
Фиг.4 – то же поперечное сечение, что и на Фиг.2, за тем исключением, что оно относится к преобразованному варианту конфорки, показано как сообщение, созданное между двумя впускными отверстиями газа через посредство отверстия с вертикальной осью;
Фиг.5 – горизонтальная проекция корпуса конфорки согласно изобретению;
Фиг.6 – горизонтальная проекция головки конфорки, без колпачков;
Фиг.7 – аксонометрический вид конфорки согласно изобретению, в сечении, выполненном двумя ортогональными вертикальными плоскостями, проходящими через оси двух впускных отверстий газа, соответственно;
Фиг.8 – то же поперечное сечение, что и на Фиг.1, за тем исключением, что относится к варианту конфорки с колпачками – для обеспечения пламени в вертикальном направлении.
На Фиг.1 и 2 двойная конфорка согласно изобретению представляет собой круговой корпус (1), имеющий перегородочные стенки, образующие два разных несообщающихся канала, из которых канал (Е) подает газ в венцы наружного пламени (FE) и канал (С) подает газ в центральное пламя (FC). Дно корпуса (1) имеет два разных несообщающихся впускных отверстия (3 и 4) газа для подачи газа в каналы (С и Е) избирательно и соответственно.
Два впускных отверстия (3 и 4) газа доходят до центра корпуса (1) на несколько разной высоте; точнее – верхнее впускное отверстие (3) точно заканчивается в центре корпуса (1) и нижнее впускное отверстие (4) идет далее за центр.
Вертикальный канал (3а) отходит от верхнего впускного отверстия (3), имеющего первое газовое сопло (5), т.е. сопло, которое подает газ в центральный канал (С), снабжающий центральные венцы (FC) пламени; при этом расходящаяся пара поднимающихся вверх каналов (4а) отходит от нижнего впускного отверстия (4), имеющего сопла (6) газа, подающие газ в канал (Е), снабжающий венцы наружного пламени (FE).
Имеющая вертикальную ось камера Вентури (5а) находится за соплом (5); и пара камер Вентури (6а) с наклонной осью, предпочтительно под углом 40-60°, находится за парой сопел (6).
Конфорка согласно настоящему изобретению также имеет головку (Т), сформированную нижней тарелкой (7) и верхней тарелкой (8), полностью сопрягающихся.
В частности, нижняя тарелка (7) имеет форму усеченного конуса и ступенчатую внешнюю кромку (7а), действующую как опора и центрирование для верхней тарелки (8), имеющей ступенчатую окружную манжету (8а).
Верхняя тарелка (8) является вторым центрирующим средством и опорой в плоском фланце (9а), расположенном в верхнем конце перегородочных стенок (9), выступающих из центра корпуса (1) и разделяющих каналы (С и Е).
Сопло (5) расположено в центральном положении внутри перегородочных стенок (9) и сопла (6) – снаружи и противоположно по отношению к стенкам (9).
Две тарелки (7 и 8) имеют полуканалы (7b и 8b), которые формируют упомянутые камеры Вентури (6а). V-образная отражающая стенка (10) расположена после камер (6а) на нижней тарелке (7) для раздваивания воздушно-газового потока из камер (6а), который идет внутри полукругового коридора (11) и входит в концентрические венцы центрального пламени (FC) – согласно Фиг.6, где наглядно показаны три зубчатых венца (12), расположенные над верхней тарелкой (8).
Коридор (11) закрыт кольцевым колпачком (13), на наружном ободе которого сформированы концентрические венцы наружного пламени (FE).
Камера (5) Вентури расположена внутри верхней тарелки (8) и заканчивает круговое пространство, закрытое сбоку зубчатым венцом (12) с меньшим диаметром и круговым колпачком (14), на внешней кромке которого сформирован концентрический венец центрального пламени (FC).
Двойную конфорку согласно настоящему изобретению на Фиг.3 можно преобразовать в обычную конфорку с тремя концентрическими венцами пламени, просверлив отверстие с вертикальной осью (15) на корпусе в центральном положении от нижнего впускного отверстия (4) газа в соосный вертикальный канал (3а) с соплом (5).
Простое соединение нижнего впускного отверстия (4) газа с источником газа обеспечивает возможность одновременного снабжения трех сопел, т.е. центрального (5) и боковых (6) сопел; очевидно, что в этом случае верхнее впускное отверстие (3) газа должно быть закрыто, чтобы газ, поступающий в нижнее впускное отверстие (4), не смог выходить из корпуса конфорки обратным ходом в верхнем впускном отверстии (3).
Чтобы исключить применение наружных элементов, таких как закрывающий колпачок, для впускного отверстия (3), длину впускного отверстия (3) можно соответственно сократить, как показано на Фиг.4.
Поскольку корпус (1) изготовлен литьем под давлением, сокращение длины можно удобным и экономичным образом получить простым перемещением назад штыря, использующегося как «сердечник» для верхнего впускного отверстия (3).
На Фиг.8 для обеспечения вертикального направления для пламени верхнюю тарелку (8) и крышки (13 и 14) надо заменить другими тарелкой (80) и двумя крышками (130 и 140) соответствующей формы, без необходимости видоизменения конфигурации корпуса (1) и нижней тарелки (7).
Наконец, нужно отметить, что наличие двух камер Вентури (6а) с наклонной, а не вертикальной, осью позволяет уменьшить высоту конфорки.
Формула изобретения
1. Двойная конфорка для газовых плит, имеющая несколько концентрических венцов пламени и содержащая
одну головку (Т) с несколькими концентрическими венцами пламени;
один круговой корпус (1), содержащий перегородки (9), которые образуют два разных несообщающихся канала для подачи газа в венцы внешнего пламени (FE) и один канал (С) для подачи газа в центральное пламя (FC);
два отдельных несообщающихся впускных отверстия (3 и 4) газа, находящихся внизу корпуса (1) и избирательно подающих газ в упомянутые каналы (С и Е); причем верхнее впускное отверстие (3) точно оканчивается в центре корпуса (1) и нижнее впускное отверстие (4) проходит за центр;
отличающаяся тем, что вертикальный канал (3а) отходит от верхнего впускного отверстия (3), имеющего первое сопло (5) газа, которое вводит газ в центральный канал (С), обеспечивающий центральное пламя (FC); причем расходящаяся пара поднимающихся вверх каналов (4а) отходит от нижнего впускного отверстия, имеющего сопла (6), которые вводят газ в канал (Е), снабжающий наружное пламя (FE); и имеет камеру Вентури (5а) с вертикальной осью, расположенную после сопла (5), и пару камер Вентури (6а) с наклонной осью, расположенных после пары сопел (6).
2. Конфорка по п.1, отличающаяся тем, что головка (Т) состоит из нижней тарелки (7) и верхней тарелки (8, 80), полностью сопрягающихся; причем нижняя тарелка (7) имеет форму усеченного конуса и ступенчатую внешнюю кромку (8а), действующую как опора и центрирование для верхней тарелки (8, 80), имеющей ступенчатую окружную манжету (8а) и находящей вторую опору и центрирование в плоском фланце (9а), расположенном наверху перегородочных стенок (9), выступающих из центра корпуса (1) и разделяющих каналы (С и Е).
3. Конфорка по п.2, отличающаяся тем, что нижняя тарелка (7) и верхняя тарелка (8, 80) имеют полуканалы (7b и 8b) соответственно, которые формируют камеры Вентури (6а).
4. Конфорка по п.1, отличающаяся тем, что содержит V-образную отражающую стенку (10) на нижней тарелке (7), расположенной после камер (6а), осуществляющую раздвоение воздушно-газового потока из камер (6а), который идет внутри полукругового коридора (11) и входит в концентрические венцы наружного пламени (FE).
5. Конфорка по п.4, отличающаяся тем, что головка (Т) имеет кольцевой колпачок (13) и круговой колпачок (14), которые закрывают коридор (11) и камеру Вентури (5) соответственно; причем тарелка (8) имеет зубчатые венцы (12), форма которых придает пламени горизонтальное направление, вместе с колпачками (13 и 14).
6. Конфорка по п.4, отличающаяся тем, что головка (Т) имеет кольцевой колпачок (130) и круговой колпачок (140), которые закрывают коридор (11) и камеру Вентури (5) соответственно; причем тарелка (80) имеет три зубчатых венца (12), форма которых придает пламени вертикальное направление, вместе с колпачками (130 и 140).
7. Конфорка по п.1, отличающаяся тем, что имеет отверстие (15) с вертикальной осью на корпусе (1) в центральном положении, которое начинается от нижнего впускного отверстия (4) газа, идет наверх и оканчивается в соосном канале (3а) с соплом (5); и при этом верхний канал (3) блокируется при наличии отверстия (15).
РИСУНКИ
|