|
|
(21), (22) Заявка: 2007119734/06, 28.05.2007
(24) Дата начала отсчета срока действия патента:
28.05.2007
(46) Опубликовано: 27.03.2009
(56) Список документов, цитированных в отчете о поиске:
RU 2209378 С2, 27.07.2003. US 5810577 А, 22.09.1998. US 5464006 А, 07.11.1995. SU 506727 А, 15.03.1976. SU 844930 А, 07.07.1981. RU 95105604 А1, 10.04.1997.
Адрес для переписки:
607188, Нижегородская обл., г. Саров, пр-кт Мира, 37, ФГУП “РФЯЦ-ВНИИЭФ”, начальнику ОПИНТИ
|
(72) Автор(ы):
Бризицкий Олег Федорович (RU), Терентьев Валерий Яковлевич (RU), Христолюбов Александр Павлович (RU), Кириллов Валерий Александрович (RU), Кузин Николай Алексеевич (RU), Собянин Владимир Александрович (RU), Кузьмин Валерий Александрович (RU), Киреенков Виктор Викторович (RU), Ермаков Юрий Павлович (RU)
(73) Патентообладатель(и):
Федеральное государственное унитарное предприятие “Российский федеральный ядерный центр-Всероссийский научно-исследовательский институт экспериментальной физики”-ФГУП “РФЯЦ-ВНИИЭФ” (RU), Институт катализа им. Г.К. Борескова Сибирского отделения Российской академии наук (ИК СО РАН) (RU)
|
(54) СПОСОБ ДВУХСТАДИЙНОГО СЖИГАНИЯ ГАЗООБРАЗНОГО УГЛЕВОДОРОДНОГО ТОПЛИВА И УСТРОЙСТВО ДЛЯ ЕГО ОСУЩЕСТВЛЕНИЯ
(57) Реферат:
Изобретение относится к области энергетики, а именно к технике генерирования тепловой энергии на принципе двухстадийного сжигания газообразного углеводородного топлива с получением синтез-газа и продуктов полного окисления углеводородного топлива и могут быть использованы в энергоустановках на топливных элементах, а также в отопительных водогрейных системах для генерации тепла. Способ двухстадийного сжигания газообразного углеводородного топлива заключается в том, что предварительно разогревают катализатор, после чего на первой стадии осуществляют частичное каталитическое окисление углеводородного топлива на разогретом катализаторе с получением синтез-газа, содержащего водород и монооксид углерода, который на второй стадии смешивают с дополнительным количеством воздуха. На второй стадии в зоне горения осуществляют пламенное сжигание полученной смеси синтез-газа с воздухом, при этом обеспечивают общий коэффициент избытка воздуха по отношению к стехиометрическому в диапазоне, равном =0.6÷3. На первой стадии все газообразное углеводородное топливо подают в канал частичного каталитического окисления. Смесь газообразного углеводородного топлива с воздухом, проходящую по каналу частичного каталитического окисления, задают из соотношения топливо/воздух в диапазоне равном 1:2.8÷1:3. Синтез-газ, выходящий из канала частичного каталитического окисления, и дополнительный воздух для получения гомогенной горючей смеси подают в зону горения соответственно в виде встречных кольцевых коаксиальных струй. Катализатор разогревают до температуры 400÷650°С за счет тепла от продуктов сгорания, которое происходит за катализатором по ходу движения газов. Для осуществления процесса сгорания производят воспламенение смеси газообразного углеводородного топлива с воздухом, при этом отношение объема указанной смеси к стехиометрическому объему воздуха выбирают в диапазоне 1.05÷1.2. Воспламенение смеси газообразного углеводородного топлива с воздухом осуществляют электрической искровой или калильной свечой и контролируют с помощью датчика контроля пламени. Коэффициент избытка воздуха при воспламенении обеспечивают дополнительным количеством воздуха. Изменение величины генерируемой тепловой мощности обеспечивают изменением количеств газообразного углеводородного топлива и воздуха, подаваемых на первую и вторую стадии сжигания. В качестве катализатора используют пористый материал, содержащий в качестве активных компонентов родий, никель, платину, палладий, железо, кобальт, рений, рутений или их смеси. Изобретение позволяет снизить выброс вредных веществ в атмосферный воздух, обеспечивая в отходящих газах практически полное отсутствие оксида углерода и оксидов азота. 2 н. и 12 з.п. ф-лы, 1 ил.
Изобретения относятся к энергетике, а именно к технике генерирования тепловой энергии на принципе двухстадийного сжигания газообразного углеводородного топлива с получением синтез-газа и продуктов полного окисления углеводородного топлива, и могут быть использованы в энергоустановках на топливных элементах, а также в отопительных водогрейных системах для генерации тепла.
Известен способ сжигания горючей смеси (см. патент РФ 2161755 от 26.11.1991, опубликованный в Бюллетене изобретений №1 2001 г.), в котором горючее предварительно смешивают с воздухом при определенном соотношении горючее/воздух для получения горючей смеси, имеющей желаемую адиабатическую температуру горения. Далее ни горючее, ни воздух в процессе горения не добавляют, за исключением начальной стадии. Газ сжигают последовательно, используя ряд определенных катализаторов и каталитических структур. В конечной зоне гомогенного горения для получения сгоревшего газа предпочтительнее иметь температуру между 1050 и 1700°С. Горючую смесь последовательно подвергают взаимодействию с рядом каталитических структур и необязательно в гомогенной зоне горения. Горение разделено на несколько стадий (каталитических зон), не менее трех, так, чтобы подбором катализатора обеспечить минимальную температуру реакционного газа. В первой зоне за основу взят палладиевый катализатор, инициирующий реакцию окисления метана при температуре 325°С. Катализатор быстро прогревается до температур 650-940°С (в зависимости от давления). Но даже низкая активность палладия при температурах выше 650°С может оказаться достаточной, чтобы вызвать повышение температуры катализатора выше 800°С и даже достичь адиабатической температуры горения горючее/воздух, что может приводить к серьезному повреждению катализатора. В связи с чем первая каталитическая зона должна иметь такие размеры, чтобы температура газа на выходе из этой зоны была не более чем 800°С, предпочтительнее в диапазоне 500-550°С.
Вторая каталитическая зона принимает частично сгоревший газ из первой зоны и вызывает дальнейшее контролируемое горение, происходящее в присутствии каталитической структуры, обладающей способностью к интегральному теплообмену. Катализатор должен включать материалы, выбранные из Группы IB, VI, VIII Таблицы Менделеева благородных металлов. Желательно, чтобы катализатор содержал палладий. Наиболее предпочтительными являются серебро и платина. Каталитическую структуру наносят на металлическую подложку, обладающую достаточной теплопроводностью для равномерного распределения тепла вдоль пути горения смеси. Предполагается, что в зависимости от давления температура реакционного газа в этой зоне должна быть в диапазоне 800-930°С. Максимальное повышение температуры газа в этих структурах будет получаться 50% сгоранием входного горючего.
Линейная скорость газа в первой и второй каталитических зонах примерно одинакова.
Третья каталитическая зона принимает частично сгоревший газ второй зоны и вызывает дальнейшее контролируемое горение, происходящее в присутствии каталитической структуры, обладающей также способностью к интегральному теплообмену. Катализатор также должен включать материалы, выбранные из Группы I и VIII Таблицы Менделеева. Желательно, чтобы катализатор содержал платину и металлокислородные материалы V группы таблицы Менделеева, группы VI (особенно Cr), группы VIII (особенно Fe, Co, Ni) и первый ряд лантанидов (особенно Се, Pr, Nd, Sa, Tb, La) оксиды металлов или смешанные оксиды. Зона гомогенного горения, в которой газ выходит из предыдущих зон горения, может находиться в состоянии, пригодном для последующего использования, если температура газа удовлетворительна; газ, по существу, не содержит No4, и катализатор и носитель катализатора имеют температуру, которая допускает поддерживать их устойчивую продолжительную работоспособность. Однако для многих применений требуется более высокая температура, тогда вводят еще дополнительную зону – зону гомогенного горения. Время нахождения газа в этой зоне не должно быть более 11-12 миллисекунд для достижения полного сгорания и для достижения адиабатической температуры горения (при линейной скорости потока 40 м/с соответственно длина этого участка будет составлять 200 мм).
Недостатком данного способа сжигания углеводородного топлива является сложность реализации столь длинного каталитического процесса с учетом потребного теплообмена.
Наиболее близкими по технической сущности к заявляемому способу и устройству является известный способ двухстадийного сжигания газообразного углеводородного топлива, который реализован в устройстве (Патент РФ №2209378 от 27.09.2001 г.«Водогрейный котел и способ его работы», опубликованный в БИ №21 от 27.07.2003 г.). В вышеуказанном способе использовано каталитическое сжигание природного газа также по двухстадийной схеме. На первой стадии осуществляют каталитическое окисление природного газа при недостатке кислорода в синтез-газ, а на второй стадии в каталитическом теплообменнике после ввода дополнительного количества воздуха осуществляют полное окисление синтез-газа с получением диоксида углерода и воды.
Водогрейный котел содержит каталитический генератор синтез-газа, каталитический теплообменник, узлы подачи и вывода газовоздушной смеси и воды. На наружной поверхности теплообменника происходит полное каталитическое окисление синтез-газа.
Недостатками данного способа и устройства являются низкая эффективность сжигания и наличие на второй стадии сжигания топлива каталитического теплообменника типа газ-жидкость, который не позволяет обеспечить широкие диапазоны регулирования тепловой мощности и коэффициента расхода воздуха и тем самым обеспечить требуемые температуры и расходы дымных газов, что ведет к значительному удорожанию устройства.
Решаемой технической задачей является создание более эффективного способа двухстадийного сжигания газообразного углеводородного топлива и устройства для генерации тепла, используемого для работы топливного процессора энергоустановки на топливных элементах при получении водородосодержащей газовой смеси методом паровой конверсии природного газа, что позволяет снизить выброс вредных веществ в атмосферный воздух, обеспечивая в отходящих газах практически полное отсутствие оксида углерода и оксидов азота.
Техническим результатом изобретений является повышение эффективности использования природного газа.
Для достижения указанного технического результата в заявляемом способе двухстадийного сжигания газообразного углеводородного топлива, заключающемся в том, что предварительно разогревают катализатор, после чего на первой стадии осуществляют частичное каталитическое окисление углеводородного топлива на разогретом катализаторе с получением синтез-газа, содержащего водород и монооксид углерода, который на второй стадии смешивают с дополнительным количеством воздуха, новым является то, что на второй стадии в зоне горения осуществляют пламенное сжигание полученной смеси синтез-газа с воздухом, при этом обеспечивают общий коэффициент избытка воздуха по отношению к стехиометрическому в диапазоне равном =0.6÷3.
На первой стадии все газообразное углеводородное топливо подают в канал частичного каталитического окисления.
Смесь газообразного углеводородного топлива с воздухом, проходящую по каналу частичного каталитического окисления, задают из соотношения топливо/воздух в диапазоне равном 1:2.8÷1:3.
Синтез-газ, выходящий из канала частичного каталитического окисления, и дополнительный воздух для получения гомогенной горючей смеси подают в зону горения соответственно в виде встречных кольцевых коаксиальных струй.
Катализатор для получения синтез-газа разогревают до температуры 400÷650°С за счет тепла от продуктов сгорания, которое происходит за катализатором по ходу движения газов.
Для осуществления процесса горения продуктов сгорания производят воспламенение смеси газообразного углеводородного топлива с воздухом, при этом указанную смесь по отношению к стехиометрическому числу выбирают в диапазоне равном =1.05÷1.2.
Воспламенение смеси газообразного углеводородного топлива с воздухом осуществляют электрической искровой или калильной свечой и контролируют с помощью датчика контроля пламени.
Коэффициент избытка воздуха при воспламенении обеспечивают дополнительным количеством воздуха.
Изменение величины генерируемой тепловой мощности обеспечивают изменением количеств газообразного углеводородного топлива и воздуха, подаваемых на первую и вторую стадии сжигания. В качестве катализатора используют пористый материал, содержащий в качестве активных компонентов родий, никель, платину, палладий, железо, кобальт, рений, рутений или их смеси.
Для достижения указанного технического результата в заявленном устройстве, содержащем каталитический генератор синтез-газа, новым является то, что дополнительно введены наружная и внутренняя коаксиальные трубы, на последнюю из которых соосно ей установлен стакан с образованием зазора относительно одного конца трубы и кольцевого канала между ними, при этом в зазоре установлен генератор синтез-газа, а в кольцевом канале размещен перфорированный тепловой мост, в начало кольцевого канала, образованного наружной поверхностью стакана и внутренней поверхностью наружной трубы, установлены датчик контроля пламени и воспламеняющее устройство, при этом свободный конец наружной трубы установлен выше дна стакана, а на других концах наружной и внутренней труб установлены соответственно штуцер подвода дополнительного воздуха и смеситель газообразного углеводородного топлива с воздухом. Генератор синтез-газа может быть выполнен радиальным или осевым.
Конструкция заявляемого устройства, в которой дополнительно введены наружная и внутренняя коаксиальные трубы, перфорированный тепловой мост, датчик контроля пламени и воспламеняющее устройство, позволяет осуществить пламенное сжигание полученной смеси синтез-газа с воздухом на второй стадии горения, а также обеспечить общий коэффициент избытка воздуха по отношению к стехиометрическому в диапазоне равном =0.6÷3, что позволяет значительно повысить эффективность использования природного газа, используемого для прогрева элементов конструкции топливного процессора и генерирования тепла для проведения эндотермической реакции парового риформинга природного газа, а также снизить выброс вредных веществ в атмосферный воздух, обеспечивая в отходящих газах практически полное отсутствие оксида углерода и оксидов азота.
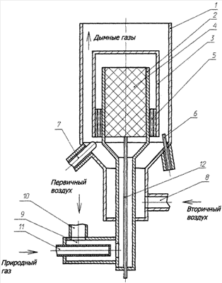
На чертеже представлено заявляемое устройство для осуществления способа двухстадийного сжигания газообразного углеводородного топлива. Устройство содержит наружную 1 и внутреннюю 2 коаксиальные трубы. На внутреннюю трубу 2 установлен стакан 3 с образованием зазора относительно одного конца трубы и кольцевого канала между ними, при этом во внутреннюю трубу установлен генератор синтез-газа – катализатор частичного окисления углеводородного топлива 4, а в кольцевом канале размещен перфорированный тепловой мост 5. В начало кольцевого канала, образованного наружной поверхностью стакана 3 и внутренней поверхностью наружной трубы 1, установлены датчик контроля пламени 6 и воспламеняющее устройство 7, при этом свободный конец наружной трубы 1 установлен выше дна стакана 3, а на других концах наружной 1 и внутренней 2 труб установлены соответственно штуцер подвода дополнительного воздуха 8 и смеситель газообразного углеводородного топлива с воздухом 9 со штуцерами подвода первичного воздуха 10 и природного газа 11, термопара для контроля температуры лобовой поверхности каталитического блока 12. Горелочное устройство работает в режиме дутьевой горелки. По достижении температуры катализатора 400÷650°С начинается частичное окисление углеводородного топлива, а в кольцевом горелочном канале за катализатором по ходу движения газов происходит процесс полного окисления синтез-газа.
Устройство работает следующим образом.
Все газообразное углеводородное топливо через штуцер 11 и первичный воздух через штуцер 10 подают в смеситель 9, обеспечивающий получение гомогенной газовоздушной смеси. Из смесителя 9 гомогенная смесь газообразного углеводородного топлива с воздухом, проходя канал частичного каталитического окисления – генератор синтез-газа 4 и перфорированный тепловой мост 5, смешивается с потоком вторичного воздуха, подводимого через штуцер 8. Смешанный поток поджигается воспламеняющим устройством 7. В кольцевом канале, образованном внутренней поверхностью трубы 1 и наружной поверхностью стакана 3, за катализатором по ходу движения газов происходит пламенное сжигание газообразного углеводородного топлива с воздухом – процесс полного окисления (горение). Контроль воспламенения и горения газовоздушной смеси осуществляется датчиком контроля пламени 6. За счет рекуперации тепла от продуктов сгорания углеводородного топлива с помощью перфорированного теплового моста 5 производится разогрев и запуск катализатора, который происходит при температуре 400÷650°С. В канале происходит процесс полного окисления синтез-газа. Контроль температуры генератора синтез-газа осуществляется термопарой 12. Запуск катализатора характеризуется скачком температуры на лобовой поверхности каталитического блока. Температура запуска зависит от типа катализатора и конструкции горелочного устройства и определяется экспериментально.
Заявляемый способ двухстадийного сжигания газообразного углеводородного топлива реализуется следующим образом.
Предварительно катализатор разогревают при температуре 400÷650°С за счет рекуперации тепла от продуктов полного окисления углеводородного топлива с помощью перфорированного теплового моста 5. После запуска катализатора в канале полного окисления происходит замещение исходного топлива на синтез-газ. При достижении температуры, близкой к температуре запуска, для исключения перегрева катализатора производится корректировка расходов первичного и вторичного воздуха из расчета, чтобы смесь газообразного углеводородного топлива с воздухом, проходящая по каналу частичного каталитического окисления (через генератор синтез-газа), имела соотношение топливо/воздух в диапазоне равном 1:2.8÷1:3. Общий коэффициент избытка воздуха, подаваемого в горелочное устройство, поддерживается равным =1.05÷1.2.
На первой стадии все газообразное углеводородное топливо и первичный воздух подают в смеситель 9, обеспечивающий получение гомогенной смеси газообразного углеводородного топлива с воздухом. Из смесителя 9 гомогенная смесь газообразного углеводородного топлива с воздухом, проходя через генератор синтез-газа 4, в котором происходит частичное каталитическое окисление углеводородного топлива на разогретом катализаторе с получением синтез-газа, и перфорированный тепловой мост 5, смешивается с потоком вторичного воздуха. Смесь газообразного углеводородного топлива с воздухом, проходящую по каналу частичного каталитического окисления, задают из соотношения топливо/воздух в диапазоне равном 1:2.8÷1:3. Газовую смесь, выходящую из канала частичного каталитического окисления, и дополнительный воздух для получения гомогенной горючей смеси подают в зону горения соответственно в виде встречных кольцевых коаксиальных струй. На второй стадии, в зоне горения осуществляют пламенное сжигание полученной смеси синтез-газа с воздухом, при этом обеспечивают общий коэффициент избытка воздуха по отношению к стехиометрическому в диапазоне равном =0.6÷3, а воспламенение смеси газообразного углеводородного топлива с воздухом для пламенного горения обеспечивают при коэффициенте избытка воздуха по отношению к стехиометрическому равному =1.05÷1.2. Процесс полного окисления (горение) осуществляют в зоне за катализатором по ходу движения газов.
Воспламенение смеси газообразного углеводородного топлива с воздухом осуществляют электрической искровой или калильной свечой. Контроль воспламенения осуществляют датчиком контроля пламени.
Изменение величины генерируемой тепловой мощности обеспечивают изменением количеств газообразного углеводородного топлива и воздуха, подаваемых на первую и вторую стадии сжигания.
При достижении температуры, близкой к температуре запуска, для исключения перегрева катализатора производится корректировка расходов первичного и вторичного воздуха из расчета, чтобы смесь газообразного углеводородного топлива с воздухом, проходящая по каналу частичного каталитического окисления (через генератор синтез-газа), имела соотношение топливо/воздух в диапазоне равном 1:2.8÷1:3. Общий коэффициент избытка воздуха, подаваемого в горелочное устройство, поддерживается равным =1.05÷1.2.
Предлагаемое изобретение решает задачу создания горелочного устройства для получения тепла, используя принцип двухстадийного окисления углеводородного топлива, которое позволяет обеспечить широкие диапазоны регулирования тепловой мощности (Nmax=20Nmin) и коэффициента расхода воздуха ( min=0.6, max=3). Изобретение позволяет также обеспечить требуемые температуры и расходы дымных газов, используемые для управления процессом паровой конверсии природного газа в топливном процессоре получения водородсодержащей смеси.
Формула изобретения
1. Способ двухстадийного сжигания газообразного углеводородного топлива, заключающийся в том, что предварительно разогревают катализатор, после чего на первой стадии осуществляют частичное каталитическое окисление углеводородного топлива на разогретом катализаторе с получением синтез-газа, содержащего водород и монооксид углерода, который на второй стадии смешивают с дополнительным количеством воздуха, отличающийся тем, что на второй стадии в зоне горения осуществляют пламенное сжигание полученной смеси синтез-газа с воздухом, при этом обеспечивают общий коэффициент избытка воздуха по отношению к стехиометрическому в диапазоне, равном =0,6÷3.
2. Способ по п.1, отличающийся тем, что на первой стадии все газообразное углеводородное топливо подают в канал частичного каталитического окисления.
3. Способ по п.1, отличающийся тем, что смесь газообразного углеводородного топлива с воздухом, проходящую по каналу частичного каталитического окисления, задают из соотношения топливо/воздух в диапазоне, равном 1:2,8÷1:3.
4. Способ по п.1, отличающийся тем, что синтез-газ, выходящий из канала частичного каталитического окисления, и дополнительный воздух для получения гомогенной горючей смеси подают в зону горения, соответственно, в виде встречных кольцевых коаксиальных струй.
5. Способ по п.1, отличающийся тем, что катализатор разогревают за счет рекуперации тепла от продуктов сгорания углеводородного топлива.
6. Способ по п.1 отличающийся тем, что катализатор разогревают до температуры 400÷650°С.
7. Способ по п.5, отличающийся тем, что для осуществления процесса сгорания производят воспламенение смеси газообразного углеводородного топлива с воздухом, при этом отношение объема указанной смеси к стехиометрическому объему воздуха выбирают в диапазоне 1,05÷1,2.
8. Способ по п.7, отличающийся тем, что воспламенение смеси газообразного углеводородного топлива с воздухом осуществляют электрической искровой или калильной свечой.
9. Способ по п.7, отличающийся тем, что воспламенение смеси газообразного углеводородного топлива с воздухом контролируют с помощью датчика контроля пламени.
10. Способ по п.7, отличающийся тем, что коэффициент избытка воздуха при воспламенении обеспечивают дополнительным количеством воздуха.
11. Способ по п.1, отличающийся тем, что изменение величины генерируемой тепловой мощности обеспечивают изменением количеств газообразного углеводородного топлива и воздуха, подаваемых на первую и вторую стадии сжигания.
12. Способ по п.1, отличающийся тем, что в качестве катализатора используют пористый материал, содержащий в качестве активных компонентов родий, никель, платину, палладий, железо, кобальт, рений, рутений или их смеси.
13. Устройство для осуществления способа, содержащее каталитический генератор синтез-газа, отличающееся тем, что дополнительно введены наружная и внутренняя коаксиальные трубы, на последнюю из которых соосно с ней установлен стакан с образованием зазора относительно одного конца трубы и кольцевого канала между ними, при этом во внутреннюю трубу установлен генератор синтнз-газа, а в кольцевом канале размещен перфорированный тепловой мост, в начало кольцевого канала, образованного наружной поверхностью стакана и внутренней поверхностью наружной трубы, установлены датчик контроля пламени и воспламеняющее устройство, при этом свободный конец наружной трубы установлен выше дна стакана, а на других концах наружной и внутренней труб установлены соответственно штуцер подвода дополнительного воздуха и смеситель газообразного углеводородного топлива с воздухом.
14. Устройство по п.13, отличающееся тем, что генератор синтез-газа может быть выполнен радиальным или осевым.
РИСУНКИ
|
|