|
|
(21), (22) Заявка: 2006143833/06, 12.12.2006
(24) Дата начала отсчета срока действия патента:
12.12.2006
(43) Дата публикации заявки: 20.06.2008
(46) Опубликовано: 27.03.2009
(56) Список документов, цитированных в отчете о поиске:
ЕР 0359872 А, 28.03.1990. RU 2262038 С2, 10.10.2005. RU 2127029 C1, 27.02.1999. SU 826154 A, 30.04.1981. RU 2079045 C1, 10.05.1997.
Адрес для переписки:
117218, Москва, ул. Б. Черемушкинская, 20, к.4, оф.346, Патентное бюро, пат.пов. Б.А. Выгодину
|
(72) Автор(ы):
Гаврилов Сергей Владимирович (RU), Гришин Владимир Геннадьевич (RU), Великодный Василий Юрьевич (RU), Попов Юрий Алексеевич (RU)
(73) Патентообладатель(и):
Гаврилов Сергей Владимирович (RU), Гришин Владимир Геннадьевич (RU), Великодный Василий Юрьевич (RU), Попов Юрий Алексеевич (RU)
|
(54) СПОСОБ И УСТРОЙСТВО ДЛЯ ПОЛУЧЕНИЯ ВОДЯНОГО ПАРА ИЗ ВОДЫ
(57) Реферат:
Изобретение и предназначено для быстрого получения пара и может быть использовано в теплотехнической энергетике. Способ заключается в подаче воды в корпус парогенератора, ее нагреве и образовании пара. Нагрев воды осуществляют созданием низкотемпературной плазмы путем зажигания электрического разряда в воде между трубчатым центральным электродом и корпусом парогенератора, поддерживают ее горение. Температуру горения задают и регулируют путем перемещения изолирующей оболочки вдоль трубчатого центрального электрода. Величину перемещения указанной оболочки определяют по величине электрической проводимости воды, которую замеряют перед ее подачей в корпус парогенератора. Нагрев воды и образование пара осуществляют в центральном трубчатом электроде, а перемещение изолирующей оболочки вдоль указанного электрода производят посредством поводка, установленного с возможностью перемещения вдоль крышки корпуса парогенератора. Парогенератор содержит корпус, паровлагоотделитель и центральный трубчатый электрод. Центральный трубчатый электрод охватывается подвижной изолирующей оболочкой, установленной с возможностью одновременного перемещения посредством поводка вдоль центрального трубчатого электрода и внутри размещенной в корпусе металлической трубы. Изобретение обеспечивает быстрое и экономичное получение пара, простоту и компактность парогенератора и снижение энергоемкости. 2 н. и 4 з.п. ф-лы, 1 ил.
Изобретение относится к области теплотехнической энергетики и предназначено для быстрого получения пара с целью обеспечения паром производств и предприятий, эпизодически нуждающихся в паре и не имеющих при этом котельных.
Известен из патента РФ №2262038, класс F22B 1/30, 2005, способ получения пара, согласно которому осуществляют нагрев воды в котле посредством трех электродов, производят парообразование и отвод пара потребителю. Указанный способ реализуется с помощью парогенератора, содержащего электродный вертикально расположенный котел, в полости которого расположена емкость и центральный электрод с тоководом, выполненный в виде стержня, имеющего высоту, равную высоте горизонтальных электродов, и расположенного в отверстиях последних, выполненных в их центральной части, при этом электроды котла выполнены в виде замкнутого прямоугольного контура, противоположные длинные стороны которого соединены между собой связями, при этом электродный котел дополнительно снабжен вертикально установленной емкостью, соединенной с котлом по воде и пару, в верхней части которой установлены электронагреватели.
К недостаткам известного изобретения следует отнести конструктивно сложное выполнение блока электродов, низкую паропроизводительность и достаточно медленное получение пара в начальный период работы парогенератора, наличие в составе парогенератора блока перегрева пара, что усложняет его конструкцию.
Известен из патента РФ №2127029, класс Н05В 3/60, 1999, способ получения пара, при котором осуществляют нагрев воды до кипения в межэлектродном пространстве, образование пара и его отвода, при этом указанный способ реализуется с помощью электродного нагревателя жидкости, состоящего из корпуса и ряда нагревательных элементов, помещенных в корпус и выполненных в виде двух цилиндрических коаксиальных металлических электродов, один из которых выполнен сплошным, при этом межэлектродное пространство в каждом элементе разделено на ряд секций горизонтальными водонепроницаемыми диэлектрическими перегородками, а в каждой секции наружного электрода выполнены сквозные отверстия, причем в нижней части секции выполнено большее количество отверстий, а в верхней ее части – меньшее.
Недостатками известного изобретения в части способа является медленное образование пара, а в части устройства электродного нагревателя – его сложная конструкция и отсутствие возможности регулирования температуры нагрева воды с учетом ее свойств, в частности электропроводности.
Известны из патента РФ №2053793, класс A61L 9/00, способ и устройство для получения пара из воды. Способ характеризуется заполнением рабочего пространства жидкостью, ее нагревом в межэлектродном пространстве, образованием пара, его перегревом с последующей подачей в рабочую зону. Устройство, реализующее способ, представляет собой парогенератор с корпусом и днищем, содержащий водоввод, выполненный в виде трубчатого электрода, и расположенный между корпусом и водоводом-электродом центральный трубчатый электрод, пространство между которыми заполняется водой.
Данное изобретение принято в качестве ближайшего аналога.
К его недостаткам относятся медленное получение пара, сложная схема проводки и отвода пара, усложненная конструкция парогенератора и системы управления его работой.
Технической задачей, на решение которой направлено заявленное изобретение, является разработка способа быстрого и экономичного получения пара, а также простой по конструкции и управлению, компактной по габаритам установки для реализации разработанного способа, обеспечивающей к тому же снижение энергоемкости процесса.
В этом же заключается и технический результат, для достижения которого предназначено данное изобретение.
Достижение указанного результата в части способа обеспечивается благодаря подаче воды в корпус парогенератора, ее нагреву, образованию пара и отводу его потребителю. При этом нагрев воды осуществляют созданием низкотемпературной плазмы путем зажигания электрического разряда в воде между трубчатым центральным электродом и корпусом парогенератора. Поддерживают ее горение. Температуру горения задают и регулируют путем перемещения изолирующей оболочки вдоль трубчатого центрального электрода. Величину перемещения указанной оболочки определяют по величине электрической проводимости воды, которую замеряют перед ее подачей в корпус парогенератора. Нагрев воды и образование пара осуществляют в центральном трубчатом электроде, а перемещение изолирующей оболочки вдоль указанного электрода производят посредством поводка, установленного с возможностью перемещения вдоль крышки корпуса парогенератора.
Достижение указанного результата в части устройства обеспечивается благодаря тому, что парогенератор содержит снабженный магистралями подвода воды и отвода пара корпус, паровлагоотделитель, центральный трубчатый электрод и установленные на магистралях вентили и клапаны. Парогенератор характеризуется тем, что центральный трубчатый электрод охватывается подвижной изолирующей оболочкой, установленной с возможностью одновременного перемещения посредством поводка вдоль центрального трубчатого электрода и внутри размещенной в корпусе металлической трубы. Поводок установлен с возможностью перемещения по крышке корпуса.
В конкретном исполнении центральный трубчатый электрод опирается на керамический подпятник.
В конкретном исполнении центральный трубчатый электрод выполнен из меди.
В конкретном исполнении крышка и донная часть связаны с корпусом резьбовым соединением.
В конкретном исполнении подвижная изолирующая оболочка выполнена из фарфора.
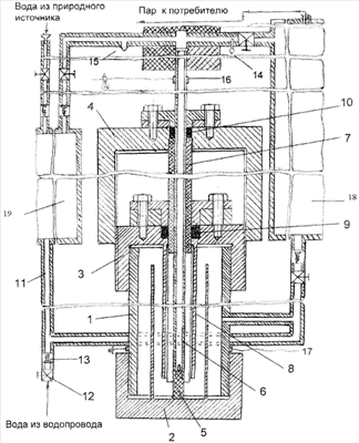
Принципиальная схема разработанного парогенератора для реализации способа быстрого получения пара из воды, представлена на чертеже.
Устройство парогенератора содержит корпус 1, который имеет цилиндрическую форму и выполняется из алюминия, днище 2 и крышку 3, связанные с корпусом 1 посредством резьбовых соединений. На крышке 3 корпуса посредством резьбового соединения с возможностью перемещения по крышке установлен поводок 4. На днище 2 в средней его части установлен керамический подпятник 5, с которым взаимодействует центральный трубчатый электрод 6, выполненный из меди. Электрод 6 на части своей поверхности заключен в подвижную изолирующую оболочку 7, выполненную из фарфора и установленную с возможностью перемещения посредством поводка 4 вдоль центрального трубчатого электрода 6 и внутри металлической трубы 8, выполненной за одно целое с крышкой корпуса. Герметичность устройства обеспечивается с помощью сальников 9 и 10, установленных соответственно на крышке корпуса и поводке, сальник 9 при этом выполняется из алюминия, а сальник 10 из стеклотекстолита. Сальник 9 к тому же выполняет функцию направляющего элемента для изолирующей оболочки 7 при ее перемещении. Подача природной или водопроводной воды в корпус парогенератора осуществляется по трубопроводу 11, снабженного электрическими вентилями 12 и обратными клапанами 13. Магистраль отвода пара снабжена предохранительным клапаном 14 для быстрого сброса пара, реле давления 15 для контроля давления в магистрали и паровлагоотделителем для регулирования параметров подаваемого потребителям пара. К трубчатому центральному электроду 6 подведен токоввод 16 для подключения фазового провода, аналогичный токоввод 17 закреплен на корпусе парогенератора для подключения нулевого провода заземления. Позицией 18 обозначен влагоотделитель, позицией 19 обозначен резервуар для природной и водопроводной воды.
Парогенератор, реализуя предлагаемый способ быстрого получения пара из воды, работает следующим образом.
Замеряют электрическую проводимость воды, после чего ее подают в рабочий объем корпуса 1 парогенератора. В зависимости от величины электрической проводимости воды устанавливают необходимую величину перемещения изолирующей оболочки 7 и перемещают с помощью поводка 4 укачанную оболочку на требуемую величину вдоль трубчатого центрального электрода 6, устанавливая тем самым необходимую величину силы тока, предпочтительное значение которой должно составлять 10А. При включении парогенератора в сеть электрический ток подается на центральный трубчатый электрод и на корпус 1 выполняющий функцию электрода, при этом на конце центрального трубчатого электрода 6 зажигается плазмоид, в результате чего центральный трубчатый электрод нагревается до температуры выше 100°С. Вода внутри указанного электрода закипает и происходит процесс парообразования по следующей реакции:
1. H2О+59 кДж/моль (0,62 эВ) Н++ОН– (реакция диссоциации воды с потреблением электроэнергии);
2. H++е– Н+1312 кДж/моль (13,6 эВ) (плазма в воде вокруг центрального трубчатого электрода идет с выделением тепловой и световой энергии);
3. Н+Н Н2+436 кДж/моль ( 4,2 эВ) (образование газоводорода из молекул водорода идет с выделением тепловой энергии).
Образующийся пар с давлением до 16 атм и температурой до 200°С подается потребителю.
Способ позволяет получать насыщенный водяной пар температурой до 300°С.
Время разгона парогенератора до температуры 200°С составляет менее одной минуты.
Установка может работать от сети как переменного, так и постоянного тока, при мощности 2 кВт она имеет следующие размеры: диаметр – 400 мм, высота – 800 мм при производительности 4 кг пара в час. Таким образом, энергозатраты на производство 1-го кг пара составляют 0,5 кВт/час.
Таким образом, заявленное изобретение обеспечивает быстрое и экономичное получение пара с помощью компактной и простой конструкции парогенератора, обеспечивающей к тому же снижение энергоемкости процесса.
Формула изобретения
1. Способ быстрого получения водяного пара из воды, заключающийся в подаче воды в корпус парогенератора, ее нагреве, образовании пара и отводе его потребителю, отличающийся тем, что нагрев воды осуществляют созданием низкотемпературной плазмы путем зажигания электрического разряда в воде между трубчатым центральным электродом и корпусом парогенератора, поддерживают ее горение, при этом температуру горения задают и регулируют путем перемещения изолирующей оболочки вдоль трубчатого центрального электрода, причем величину перемещения указанной оболочки определяют по величине электрической проводимости воды, которую замеряют перед ее подачей в корпус парогенератора, при этом нагрев воды и образование пара осуществляют в центральном трубчатом электроде, а перемещение изолирующей оболочки вдоль указанного электрода производят посредством поводка, установленного с возможностью перемещения вдоль крышки корпуса парогенератора.
2. Парогенератор, содержащий снабженный магистралями подвода воды и отвода пара корпус, паровлагоотделитель, центральный трубчатый электрод, установленные на магистралях вентили и клапаны, отличающийся тем, что центральный трубчатый электрод охватывается подвижной изолирующей оболочкой, установленной с возможностью одновременного перемещения посредством поводка вдоль центрального трубчатого электрода и внутри размещенной в корпусе металлической трубы, при этом поводок установлен с возможностью перемещения по крышке корпуса.
3. Парогенератор по п.2, отличающийся тем, что центральный трубчатый электрод опирается на керамический подпятник.
4. Пароненератор по п.2, отличающийся тем, что центральный трубчатый электрод выполнен из меди.
5. Пароненератор по п.2, отличающийся тем, что крышка и донная часть связаны с корпусом резьбовым соединением.
6. Пароненератор по п.2, отличающийся тем, что подвижная изолирующая оболочка выполнена из фарфора.
РИСУНКИ
|
|