|
(21), (22) Заявка: 2007130939/06, 13.08.2007
(24) Дата начала отсчета срока действия патента:
13.08.2007
(46) Опубликовано: 27.03.2009
(56) Список документов, цитированных в отчете о поиске:
SU 1139926 А, 15.02.1985. RU 2084745 C1, 20.07.1997. RU 2247278 C2, 27.02.2005. RU 2174638 C1, 10.10.2001. RU 2174637 C1, 10.10.2001. US 3441293 A, 29.04.1969. US 4824147 A, 25.04.1989.
Адрес для переписки:
413119, Саратовская обл., г. Энгельс-19, ОАО ЭОКБ “Сигнал” им. А.И. Глухарева
|
(72) Автор(ы):
Емцев Евгений Павлович (RU), Гильман Александр Абрамович (RU), Гамаюнов Глеб Константинович (RU)
(73) Патентообладатель(и):
Открытое акционерное общество Энгельсское опытно-конструкторское бюро “Сигнал” им. А.И. Глухарева (RU)
|
(54) ИЗОЛИРОВАННОЕ ТРУБНОЕ СОЕДИНЕНИЕ
(57) Реферат:
Изобретение относится к соединениям труб. Изолирующее трубное соединение содержит стягиваемые друг с другом отрезки трубопроводов, оснащенных выступами на торцах, разделяемых электрически электроизолирующими цилиндрическими элементами и эластичным уплотнением стыка. Отрезки трубопроводов оснащены наконечниками, имеющими Г-образное продольное сечение, внутри и снаружи которых установлены с торцевыми зазорами две электроизолирующие цилиндрические втулки. Эластомерное уплотнение расположено между торцами наконечников и поверхностями изолирующих цилиндрических втулок. В составе соединения использована ступенчатая электроизолирующая втулка на одном конце и металлическая крышка на другом конце. Стягивающие концы трубопроводов винты равномерно расположены по окружности и ввернуты в корпус. Металлическая крышка и корпус жесткой связи с трубопроводом не имеют. Изобретение повышает надежность электроизолированного соединения. 1 ил.
Изобретение относится к области машиностроения и может быть использовано при изготовлении узлов соединения труб, являющихся элементами катодной защиты трубопроводов от электрохимической коррозии как общего, так и специального назначения при их подземной прокладке и переходе к надземным участкам трубопроводов, а также как изолирующее трубное соединение, исключающее попадание напряжения на подводящий трубопровод от электроустановок, работающих на газе или другом топливе.
В течение длительного времени электроизолирующие вставки создавались на основе стандартного фланцевого соединения при его соответствующей доработке, связанной с установкой втулок под болты и прокладок.
1. Рекомендации по применению изолирующих фланцев на трубопроводах. – М.: ВНИИСТ, 1968 г., с.26.
2. Применение изолирующих фланцев на трубопроводах. В.И.Гладков, В.Г.Котик, И.П.Гладов и др. Тр. Ин-та ВНИИСТ, 1970, вып.23, с.195-207.
Наряду с несомненными преимуществами (дешевизна, использование стандартного фланца и крепежа) такое решение проблемы обладает и существенными недостатками, не говоря о полном моральном износе решения в целом.
Вместе с тем, сама идея использования стандартного крепежа в составе электроизолирующей конструкции заслуживает признания.
В качестве прототипа предложенного технического решения целесообразно остановиться на разработке «МосгазНИИпроекта» «Изолирующее фланцевое соединение» А.с. SU 1139926 от 15.02.85.
Соединение содержит два полуфланца с изолирующими прокладками, стянутые болтами, между прокладками установлен промежуточный элемент, электрически связанный с каждым из болтов. Полуфланцы снабжены электрическими контактами.
Обеспечена возможность выявления нарушений электроизолирующих свойств фланцевого соединения.
Разработка «МосгазНИИпроекта» ориентирована на традиционное использование фланцев, что предопределяет увеличение габаритов, металлоемкости, не исключая возможности «закорачивания» электрических цепей в процессе эксплуатации.
Целью предлагаемого изобретения является обеспечение повышенной надежности электроизолированного соединения при относительной дешевизне и ориентации на использование в составе конструкции стандартного крепежа.
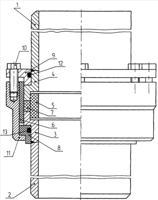
Сущность изобретения поясняется чертежом, где изображено изолированное трубное соединение, предназначенное для высоких давлений.
Изолированное трубное соединение содержит в своем составе отрезки трубопроводов 1 и 2, оснащенные наконечниками 3 и 4, имеющими Г-образное продольное сечение. Внутри и снаружи наконечников 3, 4 установлены с торцевыми зазорами две электроизолирующие цилиндрические втулки 5, 6. Эластомерное уплотнение 7 расположено между торцами Г-образных в продольном сечении наконечников 3, 4.
В составе механизма соединения труб 1 и 2 друг с другом использована ступенчатая электроизолирующая втулка 8, установленная на внешней поверхности наконечника 3, и металлическая крышка 9 на противолежащем наконечнике 4, несущая стандартные крепежные элементы 10, размещенные равномерно на общей окружности. В цилиндрическом металлическом корпусе 11 выполнено утолщение для размещения резьб.
Прокладки 12 и 13 герметизируют внутреннюю полость изолированного трубного соединения, на внешних поверхностях размещают клеящую ленту (не показана) герметизирующую стык деталей 9 и 11.
Преимуществами предлагаемого изобретения являются возможность использования в любых переходах от подземных газопроводов низкого, среднего и высокого давления к надземным, в системах подачи газа к газорегулирующей системе двигателя ДВС в электрогенераторах с обеспечением высокой надежности электроизоляции и исключения попадания напряжения на подающий трубопровод в аварийных ситуациях.
Монтаж изолирующего трубного соединения осуществляется в следующей последовательности. На внешнюю и внутреннюю поверхности наконечников 3, 4 помещают электроизолирующие цилиндрические втулки 5 и 6, а между торцами устанавливают эластомерное уплотнение 7, подлежащее сжатию в процессе монтажа. Ступенчатую электроизолирующую втулку 8 устанавливают на наконечник 3, а сверху надвигают цилиндрический металлический корпус 11.
На наконечнике 4 размещают металлическую крышку 9 и устанавливают все винты 10. При затягивании винтов 10 происходит сближение наконечников 3 и 4, что приводит к сжатию эластомерного уплотнителя 7, сопровождаемое выбором соответствующих зазоров.
После испытания собранного изделия на герметичность и проверки сопротивления электрической цепи между элементами 1 и 2 изделие готово к постоянной эксплуатации.
В полевых условиях выполняют сварку торцов трубопроводов 1 и 2, при этом трубопровод 1 с наконечником 4 оказывается электрически изолированным от трубопровода 2 с наконечником 3 за счет элементов 8, 5, 6, 7. Внутреннее давление среды блокировано сжатым в замкнутом объеме эластомерным уплотнением 7.
При изменении температуры окружающей среды изолирующее трубное соединение сохраняет работоспособность в полном объеме, что обусловлено наличием зазоров у элементов 5 и 6 и совпадением величины суммарного теплового удлиннения (сжатия элементов 9, 11 при относительно малых размерах втулки 8).
В сравнении с традиционным решением проблемы на основе электроизолирующих фланцев изолированное трубное соединение отличается меньшей металло- и материалоемкостью.
В его составе использованы тела вращения относительно простой формы, при изготовлении которых минимальное количество металла переводится в стружку.
Обеспечивается также возможность по результатам проверок в полевых условиях восстанавливать работоспособность трубного соединения за счет периодического подтягивания винтов.
Формула изобретения
Изолирующее трубное соединение, содержащее стягиваемые друг с другом отрезки трубопроводов, оснащенных выступами на торцах, разделяемых электрически электроизолирующими цилиндрическими элементами и эластичным уплотнением стыка, стягиваемого стандартным крепежом, отличающееся тем, что в нем отрезки трубопроводов оснащены наконечниками, имеющими Г-образное продольное сечение, внутри и снаружи которых установлены с торцевыми зазорами две электроизолирующие цилиндрические втулки, а эластомерное уплотнение расположено между торцами наконечников и поверхностями изолирующих цилиндрических втулок, при этом в составе соединения использована ступенчатая электроизолирующая втулка на одном конце и металлическая крышка на другом конце, стягивающие концы трубопроводов винты равномерно расположены по окружности и ввернуты в корпус, причем металлическая крышка и корпус жесткой связи с трубопроводом не имеют.
РИСУНКИ
|