|
|
(21), (22) Заявка: 2007127279/06, 17.07.2007
(24) Дата начала отсчета срока действия патента:
17.07.2007
(30) Конвенционный приоритет:
02.08.2006 EP EP-06380223
(46) Опубликовано: 27.03.2009
(56) Список документов, цитированных в отчете о поиске:
JP 3168479 A1, 22.07.1991. US 5568911 A, 22.10.1996. RU 94003487 A1, 20.09.1995. RU 41109 U1, 10.10.2004. SU 956891 A, 07.09.1982.
Адрес для переписки:
115114, Москва, Шлюзовая наб., 6, стр.4-5, ООО “Патент-Гарант”, пат.пов. Н.О.Гершановой, рег. № 187
|
(72) Автор(ы):
КАВАНАКА Тоширо (JP), МУХИКА Хосе Мария (ES)
(73) Патентообладатель(и):
ОРКЛИ, С. Цооп. (ES)
|
(54) ЛИНЕЙНЫЙ ИСПОЛНИТЕЛЬНЫЙ МЕХАНИЗМ С ПРИВОДОМ ОТ ЭЛЕКТРОДВИГАТЕЛЯ ДЛЯ ТРЕХПОЗИЦИОННОГО КЛАПАНА
(57) Реферат:
Механизм предназначен для применения в качестве трехходового водяного клапана. Механизм включает корпус, электрический двигатель, шпиндель, основание двигателя, механизм преобразования крутящего момента кулачкового типа, включающий кулачок и толкатель, который взаимодействует со штоком клапана, установленного с возможностью осевого перемещения, электрическое переключающее устройство. Механизм дополнительно содержит внешнее кулачковое колесо, а кулачок выполнен неподвижным и содержит пластину основания, закрепленную на основании двигателя, при этом на неподвижном кулачке выполнен, по крайней мере, один поднимающийся/опускающийся профиль, а толкатель расположен дальше от двигателя, чем неподвижный кулачок и выполнен в форме поворотного диска с соответствующими движущими и направляющими средствами; внешнее кулачковое колесо связанно со шпинделем и выполнено с возможностью передачи вращательного движения толкателю и взаимодействия с электрическим переключающим устройством. Технический результат – простота конструкции исполнительного механизма, а также упрощается процесс его производства. 7 з.п. ф-лы, 6 ил.
Изобретение относится к устройству линейного исполнительного механизма клапана с приводом от электродвигателя. Устройство адаптировано для использования с водяным трехпозиционным клапаном и оборудовано механизмом для преобразования крутящего момента в перемещение штока клапана в двух направлениях, а также вращающимся элементом, управляющим электрическим выключателем.
Известно устройство с линейным исполнительным механизмом (US-A-5568911, опубл. 29 октября 1996 г.), в котором двигатель исполнительного механизма укрепляется на основании, внутри корпуса устройства, а крутящий момент передается через понижающий редуктор и преобразуется в линейное возвратно-поступательное движение поворотного элемента, который может перемещаться между двумя положениями, в соответствии с двумя положениями водяного клапана («вход/выход»). Механизм преобразования крутящего момента в таком исполнительном механизме представляет собой устройство, которое имеет два полых кулачка с поднимающейся и опускающейся наклонными плоскостями, которые передают на удаленно расположенные кулачки энергию двигателя. Такой исполнительный механизм клапана также включает двухпозиционный электрический переключатель, который управляется находящимся снаружи диском, на котором выполнен паз под кулачок.
Также известен трехпозиционный водяной клапан (JP 3-168479, опубл. 22 июля 1991 г.) с приводным линейным исполнительным механизмом, в котором крутящий момент шпинделя электрического двигателя преобразуется с помощью специального механизма конвертора в линейное возвратно-поступательное движение штока клапана между двумя осевыми положениями, которые соответствуют двум рабочим положениям клапана – вход/выход. Установленное снаружи кулачковое колесо, которое взаимодействует с валом привода, имеет паз под кулачок, с помощью которого оно управляет двумя прерывателями, расположенными друг относительно друга под углом 180°, таким образом, что они могут останавливать вращение двигателя два раза за каждый один полный оборот. Каждый из этих электрических прерывателей оборудован парой контактных полосок, форма одной из которых соответствует по своей геометрии поверхности обода колеса.
Задачей настоящего изобретения является создание простой конструкции исполнительного механизма, упрощение процесса его производства, а также создание исполнительного механизма для управления работой клапана с одним подвижным элементом – толкателем и внешним кулачковым колесом для управления работой прерывателей электрического переключателя, выполненных отдельно от элементов механизма преобразования крутящего момента.
Задача решается за счет того, что линейный исполнительный механизм с приводом от электродвигателя для трехпозиционного клапана включает корпус, электрический двигатель, шпиндель, основание двигателя, шток клапана, установленный с возможностью осевого перемещения, электрическое переключающее устройство, механизм преобразования крутящего момента кулачкового типа, содержащий кулачок и толкатель. Механизм преобразования крутящего момента дополнительно содержит внешнее кулачковое колесо, а кулачок выполнен неподвижным и содержит пластину основания, закрепленную на основании двигателя. На неподвижном кулачке выполнен, по крайней мере, один поднимающийся/опускающийся профиль, а толкатель расположен дальше от двигателя, чем неподвижный кулачок и выполнен в форме поворотного диска с соответствующими движущими и направляющими средствами. Внешнее кулачковое колесо связанно со шпинделем и взаимодействует с толкателем и с электрическим переключающим устройством. Профиль неподвижного кулачка может быть образован торцевой поверхностью изогнутой стенки, выполненной заодно с пластиной основания неподвижного кулачка, при этом толкатель выполнен в форме центрального опорного диска, на котором имеются стенки, расположенные напротив неподвижного кулачка и выполненные в виде кулачкового следящего элемента. Профиль неподвижного кулачка может состоять из четырех чередующихся наклонных участков, каждый из которых соответствует повороту шпинделя на 90°. Направляющие средства толкателя могут быть выполнены в виде промежуточных валов, расположенных с обоих торцов центрального опорного диска, один из которых взаимодействует со шпинделем, а другой – с штоком клапана. Направляющие средства толкателя могут быть выполнены в виде, по крайней мере, одной стенки, выполненной в виде кулачкового следящего элемента и взаимодействующей с профилем неподвижного кулачка. На боковой поверхности внешнего кулачкового колеса могут быть выполнены пазы, посредством которых внешнее кулачковое колесо взаимодействует с электрическим переключающим устройством, а на торцевой части внешнего кулачкового колеса выполнены направляющие прорези для толкателя. Электрическое переключающее устройство может содержать два прерывателя с одинаковыми упругими лентами. На внешнем кулачковом колесе могут быть выполнены две пары пазов, причем каждая пара расположена на разной высоте относительно линейного перемещения толкателя, при этом каждый паз смещен относительно друг друга на угол поворота 90°, а прерыватели взаимодействуют попеременно с пазами внешнего кулачкового колеса.
Такая специфическая конструкция механизма для преобразования и передачи энергии движения, состоящая из неподвижного кулачка и толкателя, который имеет привод от электродвигателя через третий элемент, не зависящий от кулачка и толкателя, обеспечивает преимущество, заключающееся в простоте конструкции устройства, выполненного в форме дискового подвижного элемента, который выступает в качестве ролика, работающего по неподвижному кулачку, имеющего наклонные плоскости, что позволяет облегчить процесс производства за счет формования пластиковых деталей простой формы, а также улучшает сопротивление износу трущихся поверхностей, что увеличивает срок службы такого устройства.
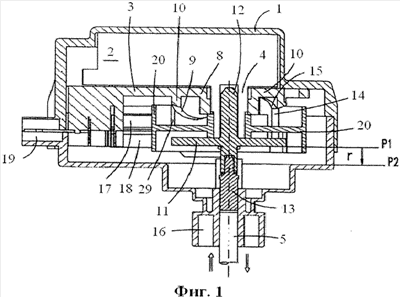
Фиг.1 представляет собой разрез исполнительного механизма с приводом от электродвигателя для трехпозиционного клапана, отображающего шток клапана в таком положении, когда он находится наиболее близко к двигателю.
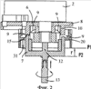
Фиг.2 – это поперечное сечение исполнительного механизма клапана, изображенного на фиг.1, отображающего шток клапана в положении, когда он находится наиболее далеко от двигателя.
Фиг.3 – это перспективный вид исполнительного механизма клапана, когда положение штока клапана соответствует положению, изображенному на фиг.2, на котором, для простоты, не изображен внешний кулачковый диск с электрическим приводом.
Фиг.4 – это перспективный вид толкателя, который служит для преобразования крутящего момента линейного исполнительного механизма, изображенного на фиг.1.
Фиг.5 – это перспективный вид внешнего кулачкового диска, устанавливаемого снаружи, предназначенного для управления электрическими прерывателями пускателя, изображенного на фиг.1.
Фиг.6 – это вид сверху исполнительного механизма, изображенного на фиг.1, отображающий внешний кулачковый диск, изображенный на фиг.5, а также электрический переключатель.
Один из вариантов воплощения на практике настоящего изобретения будет рассмотрен более подробно, со всеми необходимыми ссылками на соответствующие фиг.1-6.
Линейный исполнительный механизм с приводом от электродвигателя для трехпозиционного клапана, подобного клапанам, используемым в нагревательных котлах для домашнего пользования, включает корпус 1, электрический двигатель 2, установленный на основании двигателя 3 и прикрепленный к корпусу, низкоскоростной шпиндель 4, взаимодействующий с трехпозиционным клапаном (не показан) через шток клапана 5, который может перемещаться между двумя крайними положениями Р1 и Р2, управляя работой клапана (переключение входа/выхода), в зависимости от угла поворота шпинделя 4 (фиг.1).
Механизм преобразования крутящего момента (фиг.3, 4) состоит из неподвижного кулачка 6 и толкателя 7 (фиг.3). При этом неподвижный кулачок 6 включает пластину основания 8 и выполнен с профилем 9, который сформирован торцевой поверхностью цилиндрической стенки 10, выполненной заодно с пластиной основания 8. Профиль 9 разделен на четыре попеременно поднимающиеся и опускающиеся плоскости, причем длина дуги каждой из четырех частей равна 90°. В данном варианте исполнения пластина основания 8 одновременно используется как основание двигателя 3.
Кулачок 7 выполнен в форме диска 11, с обоих сторон которого выполнены промежуточные валы 12 и 13, которые играют роль направляющих при линейном перемещении толкателя 7 и передают осевое перемещение на шток 5 клапана. На диске 11 выполнены боковые цилиндрические стенки 14, верхняя торцевая поверхность которых представляет собой профиль 15 толкателя, соответствующий профилю 9 неподвижного кулачка 6. Профиль 15 толкателя имеет форму дуги окружности, размер которой менее 90°, а вершина закруглена для обеспечения плавного скольжения по наклонным частям профиля 9 кулачка 6. Толкатель 7 установлен дальше от двигателя, чем неподвижный кулачок и расположен между шпинделем 4 и штоком 5 через промежуточные валы 12 и 13, при этом промежуточный вал 13 взаимодействует со штоком клапана.
В корпусе 1 имеется цилиндрический элемент 16 (со стороны, противоположной двигателю), который соединяется со штоком 5 клапана и взаимодействует с электрическим переключающим устройством, включающим прерыватели 17 и 18, которые предназначены для запуска/остановки двигателя 2 каждый раз, когда шпиндель поворачивается на одну четверть окружности. Кроме того, в корпусе 1 выполнен внешний электрический соединительный разъем 19.
Внешнее кулачковое колесо 20 монтируется на диске 11 толкателя 7 и передает последнему вращательное движение. Внешнее кулачковое колесо 20 состоит из обода, представляющего собой цилиндрическую боковую поверхность 21, которая взаимодействует с прерывателями 17 и 18 электрического переключающего устройства. Внешнее кулачковое колесо 20 взаимодействует непосредственно со шпинделем 4 двигателя 2 посредством центрального отверстия 22, а также с диском 11 толкателя 7 – посредством двух вырезов 23, расположенных с противоположных сторон относительно центрального отверстия 22. Вырезы 23 входят в зацепление с выступами 24, выполненными на боковых стенках 14 толкателя 7. Таким образом, толкатель 7 и внешнее кулачковое колесо 20 постоянно находятся в одной и той же позиции друг относительно друга. Толкатель перемещается по внешнему кулачковому колесу 20 по специальным направляющим прорезям 25, которые имеют достаточную ширину, чтобы вместить внутри себя боковые стенки 14, в результате чего толкатель может перемещаться в осевом направлении, двигаясь по направляющим прорезям – канавкам 25. Вторая изогнутая боковая стенка 14, выполненная перпендикулярно диску 11 толкателя 7, также участвует в направлении движения толкателя за счет взаимодействия с внешним кулачковым колесом 20.
В соответствии с предлагаемым конструктивным вариантом два электрических прерывателя 17 и 18 образуются соответственно, двумя парами упругих лент 26, 27 и 28, 29. Эти ленты расположены в два уровня, одна пара над другой, у боковой поверхности 21 внешнего кулачкового колеса 20.
На боковой поверхности 21 внешнего кулачкового колеса 20 выполнены две пары пазов 30 и 31, которые активируют движущиеся упругие ленты каждого из электрических прерывателей 17 и 18. Пазы 30 и 31 выполнены на разных высотах, которые соответствуют высотам расположения упругих лент каждого из прерывателей 17 и 18, и они смещены друг относительно друга на 90°.
Линейный исполнительный механизм с приводом от электродвигателя для трехпозиционного клапана работает следующим образом.
Вращение шпинделя 4 двигателя 2 приводит в движение внешнее кулачковое колесо 20, которое передает вращательное движение толкателю 7, а он движется таким образом, что может перемещаться в осевом направлении по направляющим прорезям – канавкам 25, выполненным во внешнем кулачковом колесе 20. При этом профиль 15 толкателя 7 перемещается по профилю 9 неподвижного кулачка 6. При прохождении толкателем 7 одной из четырех частей профиля 9 он перемещается в осевом направлении на расстояние «r», которое примерно равно 7,5 мм. Такое осевое перемещение происходит попеременно между двумя крайними положениями Р1 и Р2 (фиг.1 и 2), и происходит соответствующая активация штока 5 клапана.
Толкатель 7 воспринимает вращающееся движение и преобразует его в линейное возвратно-поступательное движение между двумя крайними положениями – Р1 и Р2. Перемещение толкателя 7 в осевом направлении происходит за счет промежуточных валов 12 и 13.
Электрическое переключение между положениями Р1 и Р2 штока 5 клапана осуществляется четыре раза за один оборот с помощью внешнего кулачкового колеса 20, которое замыкает электрические контакты электрического переключающего устройства, получая вращение непосредственно от шпинделя 4. Для этого на боковой поверхности 21 внешнего кулачкового колеса 20 выполнены две пары пазов 30 и 31 на разных высотах, которые смещены друг относительно друг на 90°, таким образом, что один из прерывателей 17 или 18, замыкается каждый раз при прохождении одной четвертой окружности, совпадая при этом с положением профиля 15 толкателя 7, когда он своим пиком проходит по профилю 9 неподвижного кулачка 6. То есть каждая пара упругих лент 26, 27 и 28, 29 замыкается попеременно, осуществляя тем самым включение/выключение электродвигателя два раза в течение одного полного оборота.
Таким образом, для того, чтобы активировать перемещение штока клапана 5, необходим поворот шпинделя двигателя (а стало быть, и включение/выключение двигателя) всего на одну четверть окружности. Этим достигается значительное сбережение электроэнергии, и, кроме того, упрощается конструкция механизма преобразования крутящего момента, что, в конечном итоге, продлевает срок службы всего устройства.
Формула изобретения
1. Линейный исполнительный механизм с приводом от электродвигателя для трехпозиционного клапана, включающий корпус, электрический двигатель, шпиндель, основание двигателя, механизм преобразования крутящего момента кулачкового типа, включающий кулачок и толкатель, который взаимодействует со штоком клапана, установленного с возможностью осевого перемещения, электрическое переключающее устройство, отличающийся тем, что дополнительно содержит внешнее кулачковое колесо, а кулачок выполнен неподвижным и содержит пластину основания, закрепленную на основании двигателя, при этом на неподвижном кулачке выполнен, по крайней мере, один поднимающаяся/опускающаяся профиль, а толкатель расположен дальше от двигателя, чем неподвижный кулачок, и выполнен в форме поворотного диска с соответствующими движущими и направляющими средствами; внешнее кулачковое колесо связанно со шпинделем и выполнено с возможностью передачи вращательного движения толкателю и взаимодействия с электрическим переключающим устройством.
2. Линейный исполнительный механизм по п.1, отличающийся тем, что профиль неподвижного кулачка образован торцевой поверхностью изогнутой стенки, выполненной заодно с пластиной основания неподвижного кулачка, при этом толкатель выполнен в форме центрального опорного диска, на котором имеются стенки, расположенные напротив неподвижного кулачка и выполненные в виде кулачкового следящего элемента.
3. Линейный исполнительный механизм по п.1, отличающийся тем, что профиль неподвижного кулачка состоит из четырех чередующихся наклонных участков, каждый из которых соответствует повороту шпинделя на 90°.
4. Линейный исполнительный механизм по п.1, отличающийся тем, что движущие и направляющие средства толкателя выполнены в виде промежуточных валов, расположенных с обоих торцов центрального опорного диска, один из которых взаимодействует со шпинделем, а другой – с штоком клапана.
5. Линейный исполнительный механизм по п.1, отличающийся тем, что движущие и направляющие средства толкателя выполнены в виде, по крайней мере, одной стенки, выполненной в виде кулачкового следящего элемента и взаимодействующей с профилем неподвижного кулачка.
6. Линейный исполнительный механизм по п.1, отличающийся тем, что на боковой поверхности внешнего кулачкового колеса выполнены пазы, посредством которых внешнее кулачковое колесо взаимодействует с электрическим переключающим устройством, а на торцевой части внешнего кулачкового колеса выполнены направляющие прорези для стенки толкателя.
7. Линейный исполнительный механизм по п.1, отличающийся тем, что электрическое переключающее устройство содержит два прерывателя с одинаковыми упругими лентами.
8. Линейный исполнительный механизм по п.1, отличающийся тем, что на внешнем кулачковом колесе выполнены две пары пазов, причем каждая пара расположена на разной высоте относительно линейного перемещения толкателя, при этом каждый паз смещен относительно друг друга на угол поворота 90°, а прерыватели взаимодействуют попеременно с пазами внешнего кулачкового колеса.
РИСУНКИ
|
|