|
|
(21), (22) Заявка: 2007128678/06, 25.07.2007
(24) Дата начала отсчета срока действия патента:
25.07.2007
(46) Опубликовано: 27.03.2009
(56) Список документов, цитированных в отчете о поиске:
SU 1225963 А1, 23.04.1986. RU 2225555 С2, 10.03.2004. RU 2240462 С1, 20.11.2004. RU 2101590 С1, 10.01.1998. GB 462980 А, 18.03.1937. US 3827673 А, 06.08.1974. DE 630742 А1, 10.06.1936.
Адрес для переписки:
432063, г.Ульяновск, ул. Корюкина, 35, 2, а/я 4602, Г.К. Рябову
|
(72) Автор(ы):
Плотников Геннадий Гаврилович (RU), Плотников Александр Геннадьевич (RU)
(73) Патентообладатель(и):
Плотников Геннадий Гаврилович (RU), Плотников Александр Геннадьевич (RU)
|
(54) ШИБЕРНАЯ ЗАДВИЖКА
(57) Реферат:
Изобретение относится к трубопроводной арматуре, в частности к отключающим устройствам с запорным элементом, и предназначено для перекрытия потока жидкостей с большим содержанием взвешенных частиц. Шиберная задвижка содержит корпус. В корпусе установлен с возможностью взаимодействия с седлами шибер. Последний связан с приводным механизмом. В сквозном канале установлено запорное устройство. Последнее выполнено в нижней части корпуса под шибером и соосно ему. Запорное устройство состоит из корпуса с впускным и выпускным каналами и подпружиненного запорного органа с хвостовиком. Впускной канал сообщен с внутренней полостью задвижки. Выпускной канал сообщен с атмосферой. Запорный орган имеет возможность взаимодействовать с шибером и установлен с возможностью осевого перемещения. Корпус задвижки состоит из входного и выходного присоединительных фланцев, корпусов седел и вилки. На вилке закреплены винт управления шибером и три стойки. Последние соединены между собой верхним порталом. Корпуса седел и присоединительные фланцы соединены вилкой посредством четырех шпилек. Герметичность корпусов седел и присоединительных фланцев обеспечивается двумя эластичными прокладками. Изобретение позволяет повысить надежность работы задвижки, снизить усилия на приводном механизме, упростить конструкцию, повысить ремонтопригодность узлов задвижки. 4 з.п. ф-лы, 2 ил.
Изобретение относится к трубопроводной запорной арматуре и может быть использовано при транспортировке жидкостей с большим содержанием взвешенных частиц.
Известна «Шиберная задвижка» (см. а.с. №1225963, кл. F16K 3/02. Опубл. 30.04.1988 г. Бюл. №16), содержащая корпус, установленный в нем с возможностью взаимодействия с седлами шибер, связанный с приводным механизмом, запорное устройство, установленное в сквозном канале, выполненном в нижней части корпуса под шибером и соосно ему, и состоящее из корпуса с впускным каналом, сообщенным с внутренней полостью задвижки и выпускным каналом, сообщенным с атмосферой, и подпружиненного запорного органа с хвостовиком, установленным с возможностью взаимодействия с шибером. Кроме того, седла установлены с возможностью осевого перемещения, а запорный орган выполнен двухседельным и установлен с возможностью перекрытия выпускного канала в конце хода шибера на закрытие.
К причинам, препятствующим достижению указанного ниже технического результата при использовании известной шиберной задвижки, относится то, что запорное устройство, выполненное в нижней части корпуса задвижки, обеспечивает сброс только той части жидкости, которая находится в серповидном замкнутом пространстве, образующемся между седлами, шибером и корпусом. Однако в процессе эксплуатации задвижек в жидких средах с большой степенью загрязненности шламом возникает необходимость промывки шиберного узла потоком жидкости, проходящей через задвижку.
Отсутствие таких возможностей у известной задвижки снижает надежность ее работы в условиях транспортировки загрязненных жидкостей.
Сущность изобретения заключается в том, что корпус задвижки состоит из входного и выходного присоединительных фланцев, корпусов седел, вилки с закрепленным на ней винтом управления шибером, трех стоек, соединенных между собой верхним порталом, причем герметичность корпусов седел и присоединительных фланцев обеспечивается двумя эластичными прокладками, а сама вилка посредством четырех шпилек присоединяет к себе корпуса седел и присоединительные фланцы. Шибер соединен с винтом управления шибера посредством планки, причем ось винта управления шибером смещена в сторону входного присоединительного фланца, образуя плечо.
Кроме того, седло шибера, установленное со стороны подачи жидкости, выполнено с пазами, которые прилегают к шиберу и образуют щелевые отверстия. Впускной канал выполнен в виде пазов в верхней части запорного органа.
Во-втором варианте конструкции запорное устройство выполнено в виде резьбовой пробки, расположенной в нижней части вилки.
Использование предлагаемого изобретения обеспечивает следующий технический результат:
– повышение надежности работы задвижки и снижение усилий на приводном механизме,
– упрощение конструкции устройства,
– повышение ремонтопригодности узлов задвижки.
Указанный технический результат при осуществлении изобретения достигается тем, что шиберная задвижка содержит корпус, установленный в нем с возможностью взаимодействия с седлами шибер, связанный с приводным механизмом, и запорное устройство, установленное в сквозном канале, выполненное в нижней части корпуса под шибером и соосно ему и состоящее из корпуса с впускным каналом, сообщенным с внутренней полостью задвижки и выпускным каналом, сообщенным с атмосферой, и подпружиненного запорного органа с хвостовиком, установленным с возможностью взаимодействия с шибером и возможностью осевого перемещения.
Особенность заключается в том, что корпус задвижки состоит из входного и выходного присоединительных фланцев, корпусов седел, вилки с закрепленным на ней винтом управления шибером, трех стоек, соединенных между собой верхним порталом, причем герметичность корпусов седел и присоединительных фланцев обеспечивается двумя эластичными прокладками, а сама вилка посредством четырех шпилек присоединяет к себе корпуса седел и присоединительные фланцы. Шибер соединен с винтом управления шибера посредством планки, причем ось винта управления шибером смещена в сторону входного присоединительного фланца.
Кроме того, седло шибера, установленное со стороны подачи жидкости, выполнено с пазами, которые прилегают к шиберу и образуют щелевые отверстия. Впускной канал выполнен в виде пазов в верхней части запорного органа.
Во-втором варианте конструкции запорное устройство выполнено в виде резьбовой пробки, расположенной в нижней части вилки.
Проведенный заявителем анализ уровня техники, включающий поиск по патентам и научно-техническим источникам информации и выявление источников, содержащих сведения об аналогах заявленного изобретения, позволил установить, что заявитель не обнаружил аналог, характеризующийся признаками, тождественными всем существенным признакам заявленного изобретения. Определение из перечня выявленных аналогов прототипа как наиболее близкого по совокупности существенных признаков аналога позволило выявить совокупность существенных по отношению к усматриваемому заявителем техническому результату отличительных признаков в заявленном изобретении, изложенных в формуле изобретения.
Следовательно, заявленное устройство для его реализации соответствует условию «новизна».
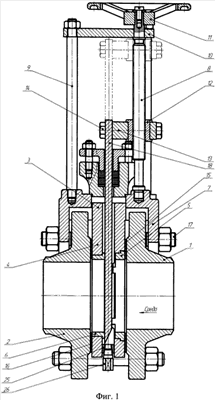
Конструкция изобретения представлена на чертежах (фиг.1-2).
Фиг.1 – продольный разрез устройства.
Фиг.2 – вариант запорного устройства.
Шиберная задвижка состоит из входного 1 и выходного 2 присоединительных фланцев, корпусов седел 3 и 4, седел 5 и 6, вилки 7, винта управления шибером 8, стоек 9, портала 10, маховика 11, гайки 12, планки 13, винта 14, эластичных прокладок 15 и 16, шпилек 17, шибера 18, запорного органа 19 с каналами в виде пазов 20, корпуса 21 запорного органа, пружины 22, пробки 23 с отверстиями 24.
Второй вариант устройства слива жидкой среды комплектуется втулкой 25 и пробкой 26.
Устройство работает следующим образом. В состоянии «открыто» шибер 4 находится в верхнем положении, и рабочая среда свободно проходит через задвижку. Поворотом маховика 11 и винта управления шибером 8, связанного с гайкой 12, которая закреплена в корпусе планки 13, шиберу 18 сообщается поступательное движение вниз. При этом шибер 18 перекрывает путь рабочей среды, занимая положение между седлами 5 и 6, которые закреплены в корпусах седел 3 и 4. Сам винт управления шибером 8 одним концом закреплен в вилке 7, а другим концом – в портале 10, который с помощью трех стоек 9 также крепится к вилке 7. Вилка 7 посредством шпилек 17 соединяет в единый корпус входной 1 и выходной 2 присоединительные фланцы, корпуса седел 3 и 4, а также эластичные прокладки 15 и 16.
В момент промывки внутренней части шиберной заслонки со стороны входа жидкой среды, а также для взятия пробы жидкой среды оператор поворачивает маховик 11, и шибер 8 своим концом нажимает на запорный орган 19, который смещаетсь вниз. В этот момент жидкая среда из входного фланца 1 через пазы седла 5, каналы 20 запорного органа 19 и отверстия 24 пробки 23 сливается наружу. После промывки оператор возвращает маховик 11 в исходное положение, а пружина 22 поджимает запорный орган 19 к корпусу 21, перекрывая путь выхода жидкой среды.
Bo-втором варианте устройства слив жидкой среды осуществляется путем выворачивания пробки 26 из втулки 25.
Предлагаемая конструкция повышает надежность работы шиберной заслонки за счет периодической промывки внутренней части входного присоединительного фланца где, как правило, и скапливается шлам при пропускании жидкой среды с ее большим содержанием.
Комплектование корпуса задвижки из набора простых деталей (входного 1 и выходного 2 присоединительных фланцев, корпусов седел 3 и 4, седел 5 и 6) упрощает конструкцию устройства.
Наличие вилки и шпилек, которые обеспечивают быстрое соединение в единую конструкцию устройства, а также простая конфигурация деталей повышают ремонтопригодность узлов задвижки и позволяют осуществлять быструю замену чаще всего изнашиваемых деталей – седел.
Смещение оси винта управления шибером относительно оси шибера в сторону входного присоединительного фланца и образования плеча способствует в процессе подъема шибера созданию изгибающего момента на самом шибере. Возникающий изгибающий момент от смещения осей винта и шибера компенсирует изгибающий момент на шибере, возникающий в результате давления на шибер потока жидкой среды. Таким образом, предлагаемая конструкция способствует снижению усилий на винте и маховике при опускании и поднятии шибера.
Таким образом, вышеизложенное описание свидетельствует о выполнении при использовании заявленного изобретения следующей совокупности условий:
– средство, воплощающее заявленное изобретение, при его осуществлении предназначено для транспортировки жидкостей с большим содержанием взвешенных частиц;
– для заявленного способа в том виде, как он охарактеризован в изложенной формуле изобретения, подтверждена возможность его осуществления с помощью описанных в заявке средств и методов;
– средство, воплощающее заявленное изобретение, при осуществлении способно обеспечить достижение усматриваемого заявителем технического результата. Следовательно, заявленное изобретение соответствует условию «промышленная применимость».
Формула изобретения
1. Шиберная задвижка, содержащая корпус, установленный в нем с возможностью взаимодействия с седлами шибер, связанный с приводным механизмом, и запорное устройство, установленное в сквозном канале, выполненное в нижней части корпуса под шибером и соосное с ним и состоящее из корпуса с впускным каналом, сообщенным с внутренней полостью задвижки, и выпускным каналом, сообщенным с атмосферой, и подпружиненного запорного органа с хвостовиком, установленным с возможностью взаимодействия с шибером и возможностью осевого перемещения, отличающаяся тем, что корпус задвижки состоит из входного и выходного присоединительных фланцев, корпусов седел, вилки с закрепленным на ней винтом управления шибером, трех стоек, соединенных между собой верхним порталом, причем герметичность корпусов седел и присоединительных фланцев обеспечивается двумя эластичными прокладками, а сама вилка посредством четырех шпилек присоединяет к себе корпуса седел и присоединительные фланцы.
2. Шиберная задвижка по п.1, отличающаяся тем, что шибер соединен с винтом управления шибера посредством планки, причем ось винта управления шибером смещена в сторону входного присоединительного фланца.
3. Шиберная задвижка по п.1, отличающаяся тем, что седло шибера, установленное со стороны подачи жидкости, выполнено с пазами, которые прилегают к шиберу и образуют щелевые отверстия.
4. Шиберная задвижка по п.1, отличающаяся тем, что впускной канал выполнен в виде пазов в верхней части запорного органа.
5. Шиберная задвижка по п.1, отличающаяся тем, что запорное устройство выполнено в виде резьбовой пробки, расположенной в нижней части вилки.
РИСУНКИ
|
|