|
|
(21), (22) Заявка: 2007144296/11, 30.11.2007
(24) Дата начала отсчета срока действия патента:
30.11.2007
(46) Опубликовано: 27.03.2009
(56) Список документов, цитированных в отчете о поиске:
SU 381839 А, 24.10.1973. RU 2173421 C2, 10.09.2001. SU 696226 A, 15.11.1979.
Адрес для переписки:
141400, Московская обл., г. Химки, ул. Ленинградская, 24, НПО им. С.А. Лавочкина, начальнику патентного отдела И.И. Раб
|
(72) Автор(ы):
Морозов Николай Васильевич (RU), Терехов Дмитрий Алексеевич (RU), Сутугин Сергей Евгеньевич (RU)
(73) Патентообладатель(и):
Федеральное государственное унитарное предприятие “Научно-производственное объединение им. С.А. Лавочкина” (RU)
|
(54) РЕГУЛИРУЕМЫЙ ДИСКОВЫЙ ГЕНЕРАТОР ВОЛНОВОЙ ПЕРЕДАЧИ
(57) Реферат:
Изобретение относится к машиностроению и может найти применение в производстве точных приборов. Регулируемый дисковый генератор волновой передачи содержит ведущий вал (5), две втулки (3) и два деформирующих элемента в виде дисков (1), подшипники (2) которых размещены на втулках (3), установленных на ведущем валу с возможностью радиального перемещения. Особенностью генератора является размещение и выполнение разжимного механизма для указанного перемещения. Разжимной механизм расположен внутри вала (5) в глухом осевом отверстии, имеющем на открытом конце резьбу, и в двух радиальных щелях. Он содержит размещенные в указанном отверстии возвратную пружину (10), кулачок (7), рабочую пружину (8), винт (9) для воздействия на нее и толкатели (6), имеющие возможность только радиального перемещения. Толкатели (6) контактируют с внутренней поверхностью втулок (3) и имеют поверхность, сопряженную с поверхностью кулачка (7) при угле контакта менее угла трения. Поверхности вала (5) и отверстий втулок (3) контактируют друг с другом своими плоскими участками (4). Изобретение обеспечивает сохранение качества зубчатого зацепления волновой передачи, в составе которой используется генератор, при вариациях момента на выходном валу передачи и износе деталей, влияющих на параметры зубчатого зацепления. 1 з.п. ф-лы, 2 ил.
Изобретение относится к машиностроению и может найти применение в производстве точных механизмов, содержащих в себе волновые передачи.
Известен регулируемый генератор волновой передачи по авторскому свидетельству СССР №210592 (опубл. 08.02.1968 [1]), содержащий диски, установленные на подшипниках на механически связанных между собой эксцентричных втулках, которые могут вращаться на эксцентриках ведущего вала. Вращением и последующей фиксацией посредством зубчатой муфты втулок относительно эксцентриков ведущего вала достигается требуемая регулировка зубчатого зацепления гибкого и жесткого колес волновой передачи.
Данная конструкция имеет недостаток, заключающийся в том, что для регулировки зацепления требуется разборка генератора, а также в том, что регулировка является фиксированной, т.е. генератор не может компенсировать зазоры в зацеплении, возникающие вследствие износа зубьев или иных причин.
Известен также генератор волновой передачи по авторскому свидетельству СССР №381839 (опубл. 22.05.1973 [2]). Этот генератор содержит ведущий вал, два деформирующих элемента в виде дисков, подшипники которых установлены на двух втулках. Втулки имеют возможность радиального перемещения во взаимно противоположных направлениях относительно оси вала с помощью размещенного между валом и втулками разжимного механизма. Последний содержит шпонку, установленную на ведущем валу с возможностью осевого перемещения и снабженную в местах расположения втулок выступами с противоположно наклоненными плоскими поверхностями. Втулки имеют наклонные пазы, взаимодействующие с указанными выступами шпонки. При этом угол наклона больше угла самоторможения. Для обеспечения осевого перемещения шпонки она и ведущий вал имеют фланцы с профилированными углублениями на их торцах, между которыми размещены тела вращения. Кроме того, генератор снабжен устройством для перемещения втулок в виде винтовой пары.
Конструкция этого генератора позволяет регулировать эксцентриситет деформирующих элементов в виде дисков без разборки всего механизма. Первоначальная регулировка эксцентриситета осуществляется указанным устройством для перемещения втулок, а регулировка в процессе работы осуществляется автоматически, в зависимости от крутящего момента на выходе волновой передачи, в составе которой используется генератор. При изменении этого момента происходит взаимный разворот указанных фланцев, что приводит к изменению усилия, воздействующего на шпонку в осевом направлении и изменению ее положения.
Данный известный генератор наиболее близок к предлагаемому.
Недостатком этого генератора является нестабильность обеспечения качества зубчатого зацепления волновой передачи, в составе которой он используется. С увеличением момента на выходном валу волновой передачи радиальное перемещение дисков увеличивается из-за возрастания движущего момента на ведущем валу. При чрезмерной деформации гибкого колеса волновой передачи возрастают потери на трение в зубчатом зацеплении, а в предельном случае может произойти заклинивание передачи. При уменьшении нагрузки на выходном валу уменьшается и движущий момент на ведущем валу. Из-за упругости гибкого колеса диски сдвигаются и по мере износа в зубчатом сопряжении возрастает люфт в передаче. Также увеличению люфта способствует наличие соединения шпонки с ведущим валом посредством упомянутых фланцев и тел качения между ними.
Указанные недостатки ограничивают применение этого генератора волновой передачи в точных механизмах.
Изобретение направлено на достижение технического результата, заключающегося в обеспечении сохранения качества зубчатого зацепления волновой передачи, в составе которой используется предлагаемый генератор, при вариациях момента на выходном валу передачи и износе деталей, влияющих на параметры зубчатого зацепления.
Предлагаемый регулируемый дисковый генератор волновой передачи, как и указанный наиболее близкий к нему известный генератор по авторскому свидетельству [2], содержит ведущий вал, две втулки и два деформирующих элемента в виде дисков, подшипники которых размещены на указанных двух втулках, установленных на ведущем валу с возможностью радиального перемещения во взаимно противоположных направлениях относительно оси вала с помощью разжимного механизма.
Для достижения указанного технического результата в предлагаемом генераторе, в отличие от наиболее близкого к нему известного, разжимной механизм размещен в выполненном внутри ведущего вала глухом осевом отверстии, имеющем на открытом конце резьбу, и в двух радиальных щелях между указанным отверстием и наружной поверхностью ведущего вала, симметричных относительно его оси, выполненных в местах установки указанных втулок. Разжимной механизм содержит последовательно размещенные в указанном отверстии возвратную пружину, упирающуюся в торец этого отверстия, конусообразный кулачок, сужающийся в сторону этой пружины и упирающийся в нее, рабочую пружину, упирающуюся в указанный кулачок, и винт для воздействия на рабочую пружину, ввинченный в указанную резьбу. Разжимной механизм содержит также два толкателя, каждый из которых размещен внутри указанного отверстия ведущего вала и в одной из указанных щелей. Толкатель установлен с возможностью только радиального перемещения и имеет поверхность, контактирующую с внутренней поверхностью указанной втулки, и поверхность, сопряженную с рабочей поверхностью указанного кулачка и контактирующую с ней под углом менее угла трения. При этом внешняя поверхность ведущего вала на части его длины в местах установки указанных втулок имеет плоские параллельные друг другу участки, симметричные относительно указанных радиальных щелей, а внутренняя поверхность каждой из указанных втулок имеет два плоских параллельных и симметричных относительно оси втулки участка, контактирующих с указанными плоскими участками внешней поверхности ведущего вала.
Установленные описанным образом кулачок и рабочая пружина позволяют, при воздействии на рабочую пружину упомянутым винтом, вызывать перемещение кулачка в осевом направлении, что приводит к радиальному перемещению толкателей и втулок с установленными на них дисками и их подшипниками.
Наличие возвратной пружины позволяет изменять осевое положение кулачка в процессе регулировки генератора в обоих направлениях.
При этом благодаря указанному выбору угла контакта толкателей это движение может передаваться только от кулачка к втулкам с дисками, т.е. является необратимым. Поэтому при уменьшении рабочего момента на выходном валу передачи сила упругости деформированного гибкого колеса не может сжать диски и исключается появление вредных зазоров при слабой загруженности передачи.
Наличие скользящего контакта плоских участков частей поверхности ведущего вала и параллельных им плоских участков внутренней поверхности втулок позволяет обеспечить возможность радиального взаимного перемещения втулок, благодаря чему существенно уменьшается люфт в генераторе по сравнению с иным принципом передачи вращающего момента от ведущего вала к втулкам с дисками в авторском свидетельстве [2].
Благодаря тому, что радиальное перемещение дисков осуществляется усилием рабочей пружины и не зависит от момента, развиваемого двигателем, т.е. не зависит от момента на выходе волновой передачи, постоянно компенсируется зазор, вызываемый неизбежным в работе передачи износом зубьев.
Таким образом, становится возможным использование предлагаемого генератора в составе точной волновой передачи и обеспечивается стабильность параметров зубчатого зацепления этой передачи при ее эксплуатации как при изменении нагрузки, так и по мере износа зубьев.
Возможно, в частности, такое выполнение предлагаемого генератора, при котором для лучшей фиксации положения указанных втулок в осевом направлении при одновременном обеспечении простоты сборки и разборки генератора он снабжен прижимной пружиной. При этом указанные втулки размещены на ведущем валу между выполненным на нем буртиком и прижимной пружиной, которая сжата гайкой, установленной на противоположном буртику конце ведущего вала, имеющем для этого резьбу.
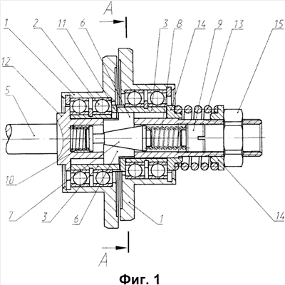
Предлагаемый регулируемый дисковый генератор волновой передачи иллюстрируется чертежами фиг.1 и фиг.2, на которых показаны:
– на фиг.1 – регулируемый дисковый генератор волновой передачи в продольном разрезе;
– на фиг.2 – сечение А-А фиг.1.
Регулируемый дисковый генератор волновой передачи содержит (фиг.1, 2) два диска 1, установленных вместе с их подшипниками 2 на втулках 3 с фасонными отверстиями. Плоские параллельные друг другу участки 4 внутренней поверхности каждой из указанных втулок симметричны относительно оси втулки, т.е. боковые поверхности каждого из указанных фасонных отверстий, контактируют с соответствующими параллельными плоскими участками поверхности ведущего вала 5 и могут скользить по ним в радиальном направлении. Этим обеспечивается как возможность взаимного радиального перемещения втулок в противоположных направлениях, так и передача вращающего момента от ведущего вала к втулкам с дисками с минимальным люфтом.
Внутри ведущего вала 5 в глухом осевом отверстии, имеющем со стороны открытого конца (справа по фиг.1) резьбу, находится разжимной механизм, содержащий толкатели 6, конусообразный кулачок 7, рабочую пружину 8 и винт 9 для сжатия рабочей пружины. В состав разжимного механизма входит также возвратная пружина 10, установленная между кулачком 7 и торцом отверстия ведущего вала (слева от кулачка 7 по фиг.1).
Толкатели 6 частично размещены также в двух радиальных щелях между указанным отверстием ведущего вала 5 и его наружной поверхностью. Эти щели симметричны относительно оси ведущего вала 5 и выполнены в местах установки втулок 3. Своими поверхностями, обращенными в сторону, противоположную оси вала 5, толкатели 6 контактируют с внутренней поверхностью втулок 3, т.е. с поверхностями их отверстий. Обращенные в сторону оси вала поверхности толкателей 6 сопряжены с рабочей поверхностью конусообразного кулачка 7, сужающегося в сторону возвратной пружины 10. Угол контакта этих поверхностей толкателей 6 и кулачка 7 не превышает величины угла трения.
Втулки 3, отделенные одна от другой кольцом 11, размещены на валу 5 между его буртиком 12 и прижимной пружиной 13. Последняя сжата гайкой 15, навинченной на противоположный буртику 12 конец ведущего вала 5, имеющий для этого резьбу. На фиг.1 показаны также шайбы 14, установленные по обе стороны от прижимной пружины 13.
Регулировка эксцентриситета е относительно центральной оси ОО, проходящей через ось вала (см. фиг.2), в предлагаемом генераторе волн осуществляется следующим образом. Вворачивая винт 9, сжимают пружину 10. Последняя перемещает в осевом направлении кулачок 7, который воздействует на толкатели 6 и заставляет их радиально перемещаться в противоположные стороны. Толкатели 6 воздействуют на втулки 3 и перемещают их вместе с подшипниками 2 и дисками 1 в противоположных направлениях на необходимое расстояние е. При увеличении момента на выходном валу передачи, в составе которой используется предлагаемый генератор волн, происходит увеличение и радиального усилия, действующего на диски 1, однако необратимость движения толкателей 6 относительно кулачка 7 не позволяет уменьшить величину эксцентриситета.
Для изменения первоначальной регулировки винт 9 выворачивают. При этом возвратная пружина 10 выталкивает кулачок (перемещает его вправо по фиг.1) и упругость деформированного гибкого колеса волновой передачи смещает диски в сторону уменьшения эксцентриситета.
При сборке генератора и перед установкой его в волновую передачу втулки 3 прижимают одну к другой и к буртику 12 прижимной пружиной 13 для фиксации положения втулок в осевом направлении с сохранением возможности их радиального перемещения, необходимой для правильной работы генератора.
Источники информации
1. Авторское свидетельство СССР №210592, опубл. 08.02.1968.
2. Авторское свидетельство СССР №381839, опубл. 22.05.1973.
Формула изобретения
1. Регулируемый дисковый генератор волновой передачи, содержащий ведущий вал, две втулки и два деформирующих элемента в виде дисков, подшипники которых размещены на указанных втулках, установленных на ведущем валу с возможностью радиального перемещения во взаимно противоположных направлениях относительно оси вала с помощью разжимного механизма, отличающийся тем, что разжимной механизм размещен в выполненном внутри ведущего вала глухом осевом отверстии, имеющем на открытом конце резьбу, и в двух радиальных щелях между указанным отверстием и наружной поверхностью ведущего вала, симметричных относительно его оси, выполненных в местах установки указанных втулок, и содержит последовательно размещенные в указанном отверстии возвратную пружину, упирающуюся в торец этого отверстия, конусообразный кулачок, сужающийся в сторону этой пружины и упирающийся в нее, рабочую пружину, упирающуюся в указанный кулачок, винт для воздействия на рабочую пружину, ввинченный в указанную резьбу, а также два толкателя, каждый из которых размещен внутри указанного отверстия ведущего вала и в одной из указанных щелей и установлен с возможностью только радиального перемещения и имеет поверхность, контактирующую с внутренней поверхностью одной из указанных втулок, и поверхность, сопряженную с рабочей поверхностью указанного кулачка и контактирующую с нею под углом менее угла трения, при этом внешняя поверхность ведущего вала в местах установки указанных втулок имеет плоские параллельные друг другу участки, симметричные относительно указанных радиальных щелей, а внутренняя поверхность каждой из указанных втулок имеет два плоских параллельных и симметричных относительно оси втулки участка, контактирующих с указанными плоскими участками внешней поверхности ведущего вала.
2. Генератор по п.1, отличающийся тем, что он снабжен прижимной пружиной, при этом указанные втулки размещены на ведущем валу между выполненным на нем буртиком и прижимной пружиной, которая сжата гайкой, установленной на противоположном буртику конце ведущего вала, который для этого выполнен с резьбой.
РИСУНКИ
|
|