|
|
(21), (22) Заявка: 2007125946/11, 09.07.2007
(24) Дата начала отсчета срока действия патента:
09.07.2007
(46) Опубликовано: 27.03.2009
(56) Список документов, цитированных в отчете о поиске:
RU 2148503 C1, 10.05.2008. RU 2238457 C2, 20.10.2004. RU 2230246 C2, 20.03.2001. EP 0081696 A, 22.06.1983.
Адрес для переписки:
191036, Санкт-Петербург, С-36, ул. 6-я Советская, 25/20, кв.5, В.С. Григорчуку
|
(72) Автор(ы):
Григорчук Владимир Степанович (RU)
(73) Патентообладатель(и):
Григорчук Владимир Степанович (RU)
|
(54) КОРОБКА ПЕРЕДАЧ С ГИДРОУСИЛИТЕЛЕМ КРУТЯЩЕГО МОМЕНТА
(57) Реферат:
Изобретение относится к области машиностроения и может использоваться в коробках передач на наземных транспортных средствах. Коробка передач содержит корпус с установленными в нем ведущим валом, промежуточным валом, ведомым валом, промежуточным валом заднего хода, гидромотором и гидронасосом. Гидромотор установлен в дополнительном отделении корпуса и привернут к его задней стенке, в отверстие которой пропущен задний конец вала лопастного гидромотора. В передней части корпуса коробки передач закреплен лопастной гидронасос, на валу которого закреплена шестерня, входящая в зацепление с зубчатым венцом маховика двигателя. Лопастной гидронасос гидросистемой с краном управления и управляемым дросселем связан с масляным баком и лопастным гидромотором. Механизм управления лопастным гидромотором кинематически связан с управляемым дросселем и краном управления. Технический результат заключается в повышении эксплуатационных качеств коробки передач и упрощении конструкции. 8 ил.
Настоящее изобретение относится к области машиностроения и может найти применение в качестве коробки передач в наземных транспортных средствах.
Известна коробка передач автомобиля ГА3-24 “Волга”, содержащая корпус, закрытый крышкой, ведущий вал, установленный в подшипнике передней части корпуса и имеющий шестерню постоянного зацепления, промежуточный вал, установленный в подшипниках нижней части корпуса, имеющий шестерню постоянного зацепления, входящую в зацепление с шестерней постоянного зацепления ведущего вала и выполненного заодно с блоком шестерен, ведомый вал, передний конец которого вставлен в отверстие торца ведущего вала, задний конец установлен в подшипнике задней части корпуса, имеющий шлицы, на которые надеты с возможностью продолжительного перемещения каретки с синхронизаторами и шестернями, взаимодействующими с шестернями промежуточного вала, промежуточный вал заднего хода с шестерней, входящей в зацепление с шестерней заднего хода промежуточного вала, механизм переключения, кинематически связанный с каретками.
/В.М.Кленников, Н.М.Ильин, Ю.В.Буралев, Автомобиль ВСДЕ, Учебник водителя, М.: Транспорт, 1981, с.121-126, рис.91/.
Недостатками известной коробки передач автомобиля ГАЗ-24 “Волга” являются невозможность плавного изменения крутящего момента, небольшой диапазон скоростей, небольшие передаточные отношения.
Указанные недостатки обусловлены конструкцией коробки передач.
Известна также коробка передач с задним планетарным редуктором, содержащая корпус, закрытый крышкой, ведущий вал, установленный в подшипнике передней стенки корпуса, имеющий шестерню постоянного зацепления, промежуточный вал, установленный в подшипниках нижней части корпуса, имеющий шестерню постоянного зацепления, входящую в зацепление с шестерней постоянного зацепления ведущего вала, выполненного заодно с блоком шестерен, ведомый вал, передний конец которого вставлен в отверстие торца ведущего вала, имеющий шлицы, на которые надеты с возможностью продольного перемещения каретки с синхронизаторами и шестернями, взаимодействующими с шестернями промежуточного вала, причем задний конец ведомого вала соединен с ведущим узлом заднего планетарного редуктора с механизмом управления, расположенного в задней части коробки передач, ведомый вал которого пропущен в отверстие задней стенки корпуса, механизм управления основной коробкой передач, кинематически связанный с каретками. /М.С.Высоцкий, Ю.Ю.Беленький и др., Грузовые автомобили, ред. д-р техн. Наук В.В.Осепчугов, М.: Машиностроение, 1979, с.165-178, рис.52/.
Коробка передач с задним планетарным редуктором как наиболее близкая по технической сущности и достигаемому полезному результату принята за прототип.
Недостатками известной коробки передач с задним планетарным редуктором, принятой за прототип, являются невозможность использования основной коробки передач без планетарного редуктора в случае поломки последнего, сложность конструкции, значительные потери на трение, высокая стоимость.
Указанные недостатки обусловлены конструкцией коробки передач с задним планетарным редуктором.
Целью настоящего изобретения являются повышение эксплутационных качеств коробки передач, упрощение конструкции.
Указанная цель согласно изобретению обеспечивается тем, что задний планетарный редуктор замещен лопастным гидромотором, установленным в дополнительном отделении коробки передач и привернутого к его задней стенке, в отверстие которой пропущен задний конец вала лопастного гидромотора, а передний конец упомянутого вала посредством соединительной муфты связан с задним концом ведомого вала основной коробки передач, лопастным гидронасосом, закрепленным в передней части корпуса коробки передач, на валу которого закреплена шестерня, входящая в зацепление с зубчатым венцом маховика двигателя, гидросистемой, имеющей кран управления и управляемый дроссель, которая посредством трубопроводов связывает лопастной гидронасос с масляным баком и лопастным гидромотором, механизм управления которым кинематически связан с управляемым дросселем и краном управления.
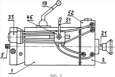
Сущность изобретения поясняется чертежами, где на фиг.1 изображен общий вид коробки передач с гидроусилителем крутящего момента, на фиг.2 – кинематическая схема коробки передач с гидроусилителем крутящего момента, на фиг.3 – общий вид гидронасоса, на фиг.4 – схема привода лопастного гидронасоса, на фиг.5 – общий вид лопастного гидромотора и схема его соединения с ведомым валом, на фиг.6 – устройство лопастного гидромотора, схема холостого хода и торможения гидромотором движущегося транспортного средства, на фиг.7 – схема увеличения крутящего момента при движении транспортного средства вперед, на фиг.8 – схема увеличения крутящего момента при движении транспортного средства назад.
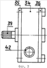
Предлагаемая коробка передач с гидроусилителем крутящего момента содержит основной корпус 1, дополнительный корпус 2, привернутый болтами к основному корпусу и закрытый крышками 3, 4. В передней части основного корпуса в подшипнике установлен ведущий вал 5, имеющий шестерню постоянного зацепления 6. В нижней части основного корпуса на подшипниках установлен промежуточный вал 7, имеющий шестерню постоянного зацепления 8, которая входит в зацепление с шестерней постоянного зацепления ведущего вала. Промежуточный вал выполнен заодно с блоком шестерен 9, одна из которых входит в зацепление с промежуточной шестерней 10, закрепленной на промежуточном валу заднего хода 11. Ведомый вал 12 имеет шлицы и своим передним концом вставлен в отверстие торца ведущего вала, а задний конец его установлен в подшипнике задней стенки основного корпуса и пропущен в ее отверстие в дополнительном корпусе и на его заднем конце закреплена ведущая полумуфта 13. На шлицах ведомого вала установлены с возможностью продольного перемещения каретки 14, 15 с синхронизаторами и шестернями 16, 17, 18, которые взаимодействуют с шестернями промежуточного вала. На крышке основного корпуса установлен рычаг переключения 19, кинематически связанный с каретками. В дополнительном отделении установлен и привернут болтами к задней стенке дополнительного корпуса лопастной гидромотор 20, передний конец вала 21 которого имеет ведомую полумуфту 22, соединенную с ведущей полумуфтой ведомого вала. Задний конец вала лопастного гидромотора пропущен через отверстие в задней стенке дополнительного корпуса. Лопастной гидромотор содержит корпус 23, закрытый передней 24 и задней 25 крышками, в отверстия которых пропущен вал, на котором закреплен ротор 26, имеющий радиальные пазы 27, в которые вставлены лопасти 28, каждая из которых имеет штырь 29, вставленный в профилированный паз 30, выполненный на внутренней стороне задней крышки. На корпусе выполнены штуцеры 31, 32, соединенные с внутренними полостями гидромотора. (О лопастном насосе, использованном в качестве гидромотора, см. И.И.Артоболевский, Механизмы в современной технике, т.6-7, М.: Наука, Главная редакция физико-математической литературы, 1981, с.419, №3926). Снаружи в передней части основного корпуса коробки передач закреплен лопастной насос 33, содержащий корпус 34, закрытый передней 35 и задней 36 крышками. Внутри в центре к задней крышке прикреплен неподвижный круглый стержень 37, на который надет круглый пустотелый ротор 38, смещенный относительно центра корпуса и соединенный с валом 39, пропущенным в отверстие передней крышки. На роторе выполнены радиальные пазы, в которые вставлены лопасти 40, которые своими внутренними полукруглыми торцами обкатываются вокруг круглого неподвижного стержня. Гидронасос имеет впускной 41 и выпускной 42 штуцеры. На валу гидронасоса закреплена шестерня 43, которая входит в зацепление с зубчатым венцом маховика 44, закрепленного на коленчатом валу двигателя. (О гидронасосе, см. там же, с.410, №3908).
Гидросистема посредством трубопроводов соединяет между собой лопастной гидронасос и лопастной гидромотор и включает в себя кран управления 45, установленный на наружной стороне основного корпуса коробки передач, который содержит цилиндрический корпус 46, имеющий штуцеры 47, внутрь которого вставлен золотник 48, имеющий перепускные каналы 48, 50. Золотник кинематически соединен с ручкой управления 51. Кроме того, в гидросистему входит масляный бак 52 и управляемый дроссель, содержащий корпус 53 и золотник 54, кинематически связанный с ручкой управления, не показанной на чертежах.
Работа коробки передач с гидроусилителем крутящего момента.
Работа коробки передач с гидроусилителем крутящего момента может происходить в нескольких режимах. Первый режим – транспортное средство неподвижно. Рычаг переключения 19 находится в нейтральном положении, ведомый вал 12 и вал 21 гидромотора неподвижны, рычаг 51 привода крана управления 45 тоже находится в нейтральном положении. Золотник 54 находится в правом крайнем положении, полностью открывая перепускное отверстие. Двигатель транспортного средства работает, маховик 44 вращается и своим зубчатым венцом приводит во вращение шестерню 43, вал 39, пустотелый ротор 38 с лопастями 40, заставляя гидронасос 33 работать вхолостую. Масло из масляного бака 52 по трубопроводам поступает во впускную полость, лопастями 40 перемещается в выпускную полость и по трубопроводам через перепускной канал 50 крана управления 45 снова возвращается в масляный бак. (На фиг.6 показано стрелками).
Второй режим – транспортное средство движется без включения гидроусилителя крутящего момента. Рычагом переключения 19 включена одна из передних передач. Рычаг 51 привода крана управления 45 находится в нейтральном положении. Ведомый вал 12 и вал 21 гидромотора 20 вращаются и транспортное средство движется вперед. В этом случае гидромотор 20 работает вхолостую, перегоняя масло, находящееся внутри трубопроводов и в полостях самого гидромотора через перепускной канал 49. Перепускной канал управляемого дросселя полностью открыт. Гидронасос 33 также работает вхолостую, как было описано выше. Изменение крутящего момента происходит за счет работы основной коробки передач (фиг.6).
Если при работе основной коробки передач и движении транспортного средства передним ходом появилась необходимость увеличить крутящий момент, то используется третий режим. Посредством рычага 51 золотник 48 крана управления 45 передвигается влево (фиг.7). Гидронасос 33 подает масло из масляного бака 52 во впускную полость гидромотора 20, создавая давление на лопасти 28, заставляя вал 21 гидромотора вращаться в ту же сторону, создавая дополнительный крутящий момент, который складывается с крутящим моментом коробки передач. При этом давление масла, поступающего во впускную полость гидромотора, может изменяться золотником 54 управляемого дросселя посредством рычага, не показанного на чертежах.
Если необходимо увеличить крутящий момент при движении транспортного средства задним ходом, то используется четвертый режим. Рычагом 19 включается задняя передача, рычагом 51 золотник 48 крана управления 45 передвигается вправо (фиг.8). Масло из масляного бака 52 подается гидронасосом 33 в противоположную полость гидромотора 20, как показано стрелками, через перепускные каналы 50, 49 и снова возвращается в масляный бак. Вследствие давления масла на лопасти 28 гидромотора 20 крутящий момент на валу 21 возрастает и может изменяться посредством золотника 54 управляемого дросселя. При возрастании давления масла в напорной магистрали свыше нормы излишки его удаляются через редукционный клапан.
Пятый режим работы коробки передач используется для торможения транспортного средства, движущегося на длительном спуске или для быстрой остановки. Для этого необходимо установить рычаги 19 и 51 в нейтральное положение и, изменяя проходное сечение управляемого дросселя посредством золотника 54, создавать дополнительное противодействие вращению вала 21 гидромотора 20 и соответственно дополнительный тормозной момент. Гидронасос 33 и гидромотор 20 работают при этом в холостом режиме и движение масла через них показано на фиг.6.
Шестой режим работы коробки передач состоит в том, что в случае поломки основной коробки передач рычаг переключения 19 устанавливается в нейтральное положение, а рычаг 51 крана управления 45 устанавливается в положение, необходимое для движения вперед или назад, и транспортное средство перемещается за счет работы гидронасоса 33 и гидромотора 20, причем давление и количество подаваемого масла регулируется частотой вращения вала двигателя и проходным сечением управляемого дросселя.
Коробка передач предназначена для грузовых автомобилей.
Положительный эффект: повышение проходимости транспортного средства, простота устройства, возможность движения при поломке основной коробки передач, более высокая безопасность при движении в горных условиях, возможность движения при неисправном гидравлическом усилителе крутящего момента, плавное изменение крутящего момента на любой передаче.
Формула изобретения
Коробка передач с гидроусилителем крутящего момента, содержащая корпус, в подшипнике передней части которого установлен ведущий вал с шестерней постоянного зацепления, промежуточный вал, установленный в подшипниках корпуса, имеющий шестерню постоянного зацепления, входящую в зацепление с шестерней постоянного зацепления ведущего вала, выполненный заодно с блоком шестерен, ведомый вал, имеющий шлицы, на которых с возможностью продольного перемещения установлены каретки с синхронизаторами и шестернями, взаимодействующими с блоком шестерен промежуточного вала, передний конец которого вставлен в отверстие торца ведущего вала, а задний конец установлен в подшипнике задней части корпуса, промежуточный вал заднего хода с шестерней, входящей в постоянное зацепление с шестерней заднего хода промежуточного вала, механизм переключения передач, кинематически связанный с каретками, отличающаяся тем, что задний конец ведомого вала пропущен в дополнительное отделение корпуса коробки передач и на нем закреплена ведущая полумуфта, которая соединена с ведомой полумуфтой, закрепленной на переднем конце вала лопастного гидромотора, размещенного в дополнительном отделении корпуса коробки передач и привернутого к его задней стенке, в отверстие которой пропущен задний конец вала упомянутого гидромотора, кроме того, корпус лопастного гидронасоса закреплен в передней части корпуса коробки передач, на валу которого закреплена шестерня, входящая в зацепление с зубчатым венцом маховика двигателя, причем лопастной гидронасос посредством гидросистемы, имеющей кран управления и управляемый дроссель, связан с масляным баком и лопастным гидромотором, механизм управления которым кинематически связан с управляемым дросселем и краном управления.
РИСУНКИ
|
|