|
|
(21), (22) Заявка: 2008112758/11, 04.04.2008
(24) Дата начала отсчета срока действия патента:
04.04.2008
(46) Опубликовано: 27.03.2009
(56) Список документов, цитированных в отчете о поиске:
RU 2295619 C1, 20.03.2007. RU 2278421 C2, 20.06.2006. RU 2258789 C2, 20.08.2005. US 4342477 A, 03.08.1982.
Адрес для переписки:
121059, Москва, Бережковская наб.,8, кв.48, Е.В.Жуковской
|
(72) Автор(ы):
Петров Сергей Иванович (RU)
(73) Патентообладатель(и):
Петров Сергей Иванович (RU)
|
(54) ЗАПОРНО-ПЛОМБИРОВОЧНОЕ УСТРОЙСТВО
(57) Реферат:
Изобретение относится к устройствам, используемым для запирания и опломбирования грузовых модулей. Устройство содержит отрезок каната (1) и корпус (2) с узлом стопорения, состоящим, по меньшей мере, из стопорного винта (4) с отделяемой рукояткой (6), расположенного в резьбовом отверстии (5), которое сообщается с полостью дополнительного канала (8), выполненного соосно резьбовому отверстию. В полости указанного канала расположена рукоятка стопорного винта, которая содержит опорный участок, расположенный у входного отверстия дополнительного канала. Диаметр опорного участка меньше диаметра дополнительного канала только на величину технологического зазора. В корпусе устройства выполнена вспомогательная полость (12), сообщающаяся с дополнительным каналом. В указанной полости расположен предохранительный элемент (13), воздействующий на боковую поверхность рукоятки, который после ее отделения от стопорного винта может перемещаться только в направлении продольной оси дополнительного канала. При этом предохранительный элемент перекрывает проходное сечение дополнительного канала и предотвращает несанкционированный доступ в его полость. Технический результат заключается в предотвращении нештатного отделения рукоятки от стопорного винта, а также воздействии на его торец сверлом или каким-либо другим инструментом. 2 з.п. ф-лы, 2 ил.
Изобретение относится к устройствам, используемым для запирания и опломбирования грузовых модулей (железнодорожных вагонов, грузовых контейнеров, цистерн).
Из предшествующего уровня техники известно запирающее устройство (далее в тексте – “ЗПУ” или “устройство”), описанное в патенте RU 2278421. В корпусе указанного устройства выполнено сквозное отверстие, предназначенное для пропускания свободного конца гибкого замыкателя, и пересекающееся с ним резьбовое отверстие. В полости резьбового отверстия расположен фиксатор замыкателя, который выполнен в виде поворотной рукоятки с резьбовым участком.
При установке рассматриваемого устройства осуществляют процесс замыкания, при этом свободный конец стального каната, используемый в качестве гибкого замыкателя, последовательно пропускают через отверстия элементов запора и сквозное отверстие корпуса рассматриваемого устройства. Затем, используя резьбовую поверхность фиксатора, его вворачивают в резьбовое отверстие корпуса, при этом заостренный конец фиксатора взаимодействует с канатом и осуществляет его фиксацию.
Гибкий замыкающий элемент, выполненный в виде отрезка стального каната, один конец которого закреплен в корпусе устройства, фиксатор каната, выполненный в виде поворотной рукоятки с резьбовым участком, расположенный в резьбовом отверстии, – указанные существенные признаки рассматриваемого устройства совпадают с существенными признаками предлагаемого изобретения.
Применение винтовой пары позволяет увеличить усилие, с которым фиксатор воздействует на поверхность каната, что повышает надежность его фиксации. Однако конструкция самого фиксатора и рассматриваемого устройства в целом не позволяют предотвратить возможность осуществления различных манипуляций с фиксатором, направленных на его установку в «нештатном» режиме. Например, при установке рассматриваемого устройства на запираемый объект фиксатор может вообще извлекаться из резьбового отверстия или может вворачиваться не на полную глубину резьбового отверстия. В последнем случае рукоятка фиксатора может отделяться путем ее многократного перегиба относительно участка разрушения. При этом усилие, с которым фиксатор будет воздействовать на поверхность каната, сможет обеспечивать только удержание корпуса в штатном положении при движении поезда, но не обеспечит надежной фиксации каната в полости сквозного отверстия. Кроме того, установленный в штатном режиме фиксатор может высверливаться по внутреннему диаметру резьбы, что позволяет разблокировать зафиксированный канат. Затем при повторной установке рассматриваемого устройства на запираемый объект фиксатор можно заменить дубликатом, выполненным из болта, что позволяет скрыть факт несанкционированного размыкания рассматриваемого устройства.
Из предшествующего уровня техники известно запорно-пломбировочное устройство, описанное в патенте RU 2295619, которое содержит корпус с пропускным каналом, предназначенный для размещения в нем каната, и пересекающее его резьбовое отверстие с фиксатором каната. На одном конце фиксатора, размещенном в резьбовом отверстии, выполнены резьбовой участок и кольцевая канавка. В корпусе выполнен дополнительный канал, пересекающий резьбовое отверстие. В полости дополнительного канала установлен подпружиненный предохранительный элемент, обеспечивающий перекрытие резьбового отверстия после отделения резьбового участка фиксатора от его отделяемой части.
Отрезок стального каната, выполняющий функции гибкого замыкающего элемента, фиксатор каната, состоящий из резьбового участка, расположенного в резьбовом отверстии, и отделяемой рукоятки, а также дополнительный канал с предохранительным элементом – указанные существенные признаки рассматриваемого устройства совпадают с существенными признаками предлагаемого изобретения.
При установке рассматриваемого устройства осуществляют процесс замыкания, при этом свободный конец стального каната, используемый в качестве гибкого замыкателя, последовательно пропускают через отверстия элементов запора и сквозное отверстие корпуса рассматриваемого устройства. Затем, используя резьбовую поверхность фиксатора, его вворачивают в резьбовое отверстие корпуса, при этом заостренный конец фиксатора взаимодействует с канатом и осуществляет его фиксацию. После полного вворачивания фиксатора его поворотную рукоятку отламывают по кольцевой канавке. После удаления поворотной рукоятки из полости резьбового отверстия, предохранительный элемент под действием пружины перемещается вдоль оси дополнительного канала до упора в его глухую часть. При этом обеспечивается перекрытие резьбового канала.
Предохранительный элемент должен обеспечивать надежную защиту торца резьбовой части фиксатора от несанкционированного воздействия, например сверлом. Однако применение предохранительного элемента, который удерживается в рабочем положении пружиной, позволяет осуществлять его отжим в исходное положение при помощи специального инструмента. Затем резьбовая часть фиксатора может высверливаться с последующим разблокированием каната. При повторной установке рассматриваемого устройства на запираемый объект фиксатор можно заменить дубликатом, выполненным из болта соответствующего диаметра, что позволяет скрыть факт несанкционированного размыкания рассматриваемого устройства.
В рассматриваемом устройстве дополнительный канал пересекает резьбовое отверстие, что позволяет исключить возможность обратного извлечения фиксатора из полости резьбового отверстия. Однако указанное пересечение неизбежно приводит к тому, что поворотную рукоятку можно отделить путем обратного вывертывания фиксатора из полости резьбового отверстия до соприкосновения торца резьбовой части фиксатора с предохранительным элементом. Указанную возможность «нештатного» отделения рукоятки фиксатора авторы рассматриваемого изобретения предлагают считать положительным фактором, ссылаясь на то, что предохранительный элемент, не перекрывающий резьбовое отверстие, может являться свидетельством «нештатной» установки устройства на запираемый объект. Однако в реальных условиях рассмотреть, что находится в резьбовом отверстии диаметром 3-4 мм с расстояния в несколько метров, в темное время суток или во время дождя, практически не представляется возможным. А вот отсутствие фиксации каната резьбовой частью фиксатора позволяет разблокировать канат одним из часто применяемых способов (путем выкручивания каната из узла стопорения, отжима стопорного элемента специальным щупом от поверхности каната и т.п.). При этом после повторной установки рассматриваемого устройства на запираемый объект резьбовую часть фиксатора можно дополнительно закрутить до положения, когда предохранительный элемент перекроет резьбовое отверстие или установить новый фиксатор, что позволит скрыть факт «нештатной» установки устройства на запираемый объект.
Задача, на решение которой направлено заявляемое изобретение, состоит в том, чтобы создать запорно-пломбировочное устройство, существенные признаки которого обеспечивает более высокую устойчивость к несанкционированному размыканию по сравнению с аналогом.
Технический результат, который может быть получен в случае применения предлагаемого изобретения, заключается в предотвращении обратного извлечения стопорного винта из корпуса предлагаемого устройства.
Второй технический результат, который может быть получен в случае применения предлагаемого изобретения, заключается в предотвращении несанкционированного отделения рукоятки стопорного винта, осуществляемого путем ее перегиба относительно кольцевой канавки или путем обратного вывертывания стопорного винта из полости резьбового отверстия.
Третий технический результат, который может быть получен в случае применения предлагаемого изобретения, заключается в предотвращении несанкционированного извлечения из полости резьбового отверстия стопорного винта, осуществляемого путем его высверливания.
Технический эффект от получения заявленных технических результатов может объективно проявиться в повышении надежности предлагаемого устройства к несанкционированному размыканию по сравнению с аналогом.
Поставленная задача решена путем создания запорно-пломбировочного устройства, содержащего отрезок стального каната и корпус с узлом стопорения, состоящим, по меньшей мере, из стопорного винта с отделяемой рукояткой и резьбового отверстия, в полости которого расположен стопорный винт, а также дополнительного канала, сообщающегося с резьбовым отверстием, и предохранительного элемента, который воздействует на боковую поверхность отделяемой рукоятки, при это согласно изобретению дополнительный канал выполнен соосно резьбовому отверстию, а в полости дополнительного канала расположена отделяемая рукоятка стопорного винта, при этом дополнительный канал сообщается со вспомогательной полостью, которая выполнена под углом к оси дополнительного канала, при этом во вспомогательной полости расположен предохранительный элемент с возможностью его перемещения после отделения рукоятки от стопорного винта только в направлении продольной оси дополнительного канала; расстояние от предохранительного элемента до резьбового отверстия превышает длину резьбового участка стопорного винта, а отделяемая рукоятка стопорного винта содержит опорный участок, расположенный между предохранительным элементом и входным отверстием дополнительного канала, при этом диаметр опорного участка меньше диаметра дополнительного канала на величину технологического зазора, не превышающего по величине 0.2 мм.
Существенные признаки предлагаемого изобретения являются достаточными для получения заявленных технических результатов.
С целью дополнительного увеличения надежности защиты от извлечения стопорного винта из корпуса предлагаемого устройства целесообразно отделяемую рукоятку стопорного винта выполнить с проточкой, которая расположена между опорным участком и кольцевой канавкой, отделяющей стопорный винт от его рукоятки.
С целью дополнительного повышения надежности защиты от отжима предохранительного элемента в исходное положение целесообразно в корпусе выполнить дополнительную полость, сообщающуюся со вспомогательной полостью, в дополнительной полости необходимо расположить подпружиненный распорный элемент с возможностью его перемещения во вспомогательную полость после отделения рукоятки от стопорного винта и предотвращающий возвращение предохранительного элемента в исходное положение.
Существенные признаки предлагаемого устройства более подробно отражены в последующем описании и в чертежах, на которых:
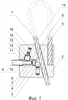
фиг.1 схематично изображает предлагаемое устройство, выполненное согласно изобретению, в положении, когда завершен процесс замыкания каната;
фиг.2 схематично изображает предлагаемое устройство, выполненное согласно изобретению, в положении, когда завершен процесс предварительной фиксации каната.
Предлагаемое запорно-пломбировочное устройство (см. фиг.1) содержит отрезок стального каната 1 и корпус 2, в котором расположен узел стопорения, состоящий из стопорного элемента 3 и стопорного винта 4, расположенного в полости резьбового отверстия 5. Стопорный винт 4 выполнен с отделяемой рукояткой 6 и кольцевой канавкой 7. В корпусе 2 соосно резьбовому отверстию 5 выполнен дополнительный канал 8, сообщающийся с резьбовым отверстием 5. В полости дополнительного канала 8 расположена отделяемая рукоятка 6, содержащая проточку 9. Указанная проточка 9 начинается от кольцевой канавки 7, а ее длина меньше, чем расстояние между резьбовым отверстием 5 и входным отверстием 10 дополнительного канала 8. Кроме того, отделяемая рукоятка 6 содержит опорный участок 11, расположенный между проточкой 9 и входным отверстием 10. Диаметр опорного участка 11 больше диаметра проточки 9, но меньше диаметра дополнительного канала 8 на величину технологического зазора, не превышающего по величине 0.2 мм. В корпусе 2 выполнена вспомогательная полость 12, сообщающаяся с дополнительным каналом 8. В полости 12 расположен предохранительный элемент 13 с возможностью соприкосновения его поверхности с поверхностью проточки 9, а также с возможностью его перемещения в направлении продольной оси дополнительного канала 8, осуществляемого после отделения от стопорного винта 4 его рукоятки 6. Расстояние от предохранительного элемента 13 до резьбового отверстия 5 превышает длину резьбового участка стопорного винта 4. В корпусе 2 выполнена дополнительная полость 14, сообщающаяся со вспомогательной полостью 12. В полости 14 расположен распорный элемент 15 с возможностью его перемещения во вспомогательную полость 12 после отделения от стопорного винта 4 его рукоятки 6 и предотвращающий возвращение предохранительного элемента 13 в исходное положение. В дополнительной полости 14 расположена пружина 16, воздействующая на распорный элемент 15 в направлении предохранительного элемента 13.
Предварительную фиксацию каната 1 в корпусе 2 предлагаемого устройства осуществляют путем замыкания каната 1, свободный конец которого последовательно пропускают через отверстия запорного устройства (условно не показано) и корпус 2. При этом боковая поверхность каната 1 взаимодействует со стопорным элементом 3. После завершения процесса замыкания путем вращения рукоятки 6 стопорный винт 4 вворачивают в резьбовое отверстие 5, при этом торцевой поверхностью стопорного винта 4 воздействуют на стопорный элемент 3, которым оказывают сминающее воздействие на поверхность фиксируемого каната 1. По мере перемещения стопорного элемента 3 возрастает сопротивления каната 1 сминающему воздействию указанного стопорного элемента и соответственно возрастает крутящий момент в сечении кольцевой канавки 7. Когда величина крутящего момента достигнет заданного максимального значения, происходит разрушение кольцевой канавки 7, после чего отделяемая рукоятка 6 извлекается из полости дополнительного канала 8 (см. фиг.2). При этом предохранительный элемент 13 под действием силы тяжести и/или подпружиненного распорного элемента 15 частично перемещается в полость дополнительного канала 8, при этом в верхней части вспомогательной полости 12 образуется зазор, в который под воздействием пружины 16 перемещается распорный элемент 15. Пружина 16, разжимаясь, так же частично выходит во вспомогательную полость 12, что позволяет исключить возвращение распорного элемента 15 в дополнительную полость 14, а предохранительного элемента 13 в исходное положение, которое он занимал во вспомогательной полости 12 до момента отделения рукоятки 6 от стопорного винта 4.
Предохранительный элемент 13, который воздействует на боковую поверхность отделяемой рукоятки 6 (в данном случае за счет рабочего усилия пружины 16), позволяет предотвратить извлечение из полости дополнительного канала 8 стопорного винта 4. При этом резьба стопорного винта 4 неизбежно упрется в боковую поверхность предохранительного элемента 13, а расстояние, на котором предохранительный элемент 13 расположен относительно резьбового отверстия 5, позволяет предотвратить возможность использования усилия, создаваемого винтовой парой, для отжима предохранительного элемента 13 в исходное положение. Применение проточки 9, дополнительно выполненной на поверхности отделяемой рукоятки 6, увеличивает перекрытие проходного сечения канала 8 защитным элементом 13. При этом указанное перекрытие позволяет дополнительно увеличить защиту от возможного извлечения стопорного винта 4 из полости канала 8 до того момента, когда рукоятки 6 будет отделена в «штатном» режиме. Указанная дополнительная защита может быть важна особенно в том случае, когда вспомогательная полость 12 будет расположена под прямым углом к оси дополнительного канала 8. Применение предохранительного элемента, воздействующего на боковую поверхность отделяемой рукоятки в совокупности с расстоянием, на котором указанный элемент располагается от резьбового отверстия, обеспечивает получение технического результата, заключающегося в предотвращении обратного извлечения стопорного винта из корпуса предлагаемого устройства.
Применение опорного участка 11, диаметр которого отличается от диаметра дополнительного канала 8 только на величину технологического зазора, необходимого для нарезки резьбы на участке 5, предотвращает возможность перегиба отделяемой рукоятки 6 относительно кольцевой канавки 7. А расстояние от предохранительного элемента 13 до резьбового отверстия 5, превышающее длину резьбового участка стопорного винта 4, обеспечивает выход стопорного винта 4 из зацепления с резьбой отверстия 5 до того момента, когда торец указанного винта упрется в предохранительный элемент 13. Что позволяет предотвратить возможность использования усилия, создаваемого винтовой парой, для создания упора стопорного винта 4 в боковую поверхность предохранительного элемента 13, который позволит осуществить разрушение кольцевой канавки 7 путем обратного выворачивания стопорного винта 4. Применение опорного участка в совокупности с расстоянием, на котором предохранительный элемент располагается от резьбового отверстия, обеспечивает получение технического результата, который заключается в предотвращении несанкционированного отделения рукоятки стопорного винта, осуществляемого путем ее перегиба относительно кольцевой канавки или путем обратного вывертывания стопорного винта из полости резьбового отверстия.
Применение предохранительного элемента 13, который после отделения рукоятки 6 может перемещаться только в направлении продольной оси дополнительного канала 8, позволяет предотвратить возможность воздействия сверлом на торец стопорного винта 4, установленного в «штатном» режиме. Примером наиболее целесообразного конструктивного решения, которое предотвращает возможность отжима предохранительного элемента 13 в исходное положение, являются распорный элемент 15 и пружина 16, воздействующая на указанный элемент. Совокупность вышеперечисленных признаков предлагаемого устройства обеспечивает получение технического результата, заключающегося в предотвращении несанкционированного извлечения из полости резьбового отверстия стопорного винта, осуществляемого путем его высверливания.
Получение заявленных технических результатов позволяет создать запорно-пломбировочное устройство, существенные признаки которого обеспечивают более высокую устойчивость к несанкционированному размыканию по сравнению с аналогом.
Формула изобретения
1. Запорно-пломбировочное устройство, содержащее отрезок стального каната и корпус с узлом стопорения, состоящим, по меньшей мере, из стопорного винта с отделяемой рукояткой и резьбового отверстия, в полости которого расположен стопорный винт, а также дополнительного канала, сообщающегося с резьбовым отверстием, и предохранительного элемента, который воздействует на боковую поверхность отделяемой рукоятки, отличающееся тем, что дополнительный канал выполнен соосно с резьбовым отверстием, а в полости дополнительного канала расположена отделяемая рукоятка стопорного винта, при этом дополнительный канал сообщается со вспомогательной полостью, которая выполнена под углом к оси дополнительного канала, при этом во вспомогательной полости расположен предохранительный элемент с возможностью его перемещения после отделения рукоятки от стопорного винта только в направлении продольной оси дополнительного канала; расстояние от предохранительного элемента до резьбового отверстия превышает длину резьбового участка стопорного винта, а отделяемая рукоятка стопорного винта содержит опорный участок, расположенный между предохранительным элементом и входным отверстием дополнительного канала, при этом диаметр опорного участка меньше диаметра дополнительного канала на величину технологического зазора, не превышающую 0,2 мм.
2. Запорно-пломбировочное устройство по п.1, отличающееся тем, что отделяемая рукоятка стопорного винта выполнена с проточкой, которая расположена между опорным участком и кольцевой канавкой, отделяющей стопорный винт от его рукоятки.
3. Запорно-пломбировочное устройство по п.1 или 2, отличающееся тем, что в корпусе устройства выполнена дополнительная полость, сообщающаяся со вспомогательной полостью, в дополнительной полости расположен подпружиненный распорный элемент с возможностью его перемещения во вспомогательную полость после отделения рукоятки от стопорного винта и предотвращающий возвращение предохранительного элемента в исходное положение.
РИСУНКИ
PC4A – Регистрация договора об уступке патента СССР или патента Российской Федерации на изобретение
Прежний патентообладатель:
Петров Сергей Иванович
(73) Патентообладатель:
Общество с ограниченной ответственностью “Базис Проф”
Договор № РД0053748 зарегистрирован 19.08.2009
Извещение опубликовано: 27.09.2009 БИ: 27/2009
|
|