|
|
(21), (22) Заявка: 2008112757/11, 04.04.2008
(24) Дата начала отсчета срока действия патента:
04.04.2008
(46) Опубликовано: 27.03.2009
(56) Список документов, цитированных в отчете о поиске:
RU 2264517 С2, 20.01.2005. RU 2258789 С2, 20.08.2005. RU 2134826 C1, 20.08.1999. RU 2291940 C1, 20.01.2007. GB 2337503 A, 24.11.1999.
Адрес для переписки:
121059, Москва, Бережковская наб., 8, кв.48, Е.В.Жуковской
|
(72) Автор(ы):
Петров Сергей Иванович (RU)
(73) Патентообладатель(и):
Петров Сергей Иванович (RU)
|
(54) СПОСОБ ПРЕДВАРИТЕЛЬНОЙ ФИКСАЦИИ КАНАТА В КОРПУСЕ ЗАПОРНО-ПЛОМБИРОВОЧНОГО УСТРОЙСТВА И УСТРОЙСТВО, РЕАЛИЗУЮЩЕЕ УКАЗАННЫЙ СПОСОБ
(57) Реферат:
Изобретение относится к устройствам, используемым для запирания и опломбирования грузовых модулей, и способу их работы. Устройство содержит отрезок каната и корпус, в котором выполнена рабочая полость с входным и выходным отверстиями, а также резьбовое отверстие, сообщающееся с рабочей полостью. В резьбовом отверстии расположен стопорный винт, торцевая поверхность которого соприкасается со стопорным элементом, расположенным в рабочей полости, и образует острый угол с осью фиксируемого каната. Вершина указанного угла обращена в направлении входного отверстия. В способе предварительной фиксации каната после завершения процесса замыкания на стопорный элемент, соприкасающийся с фиксируемым канатом, воздействуют торцевой поверхностью стопорного винта с усилием, направленным параллельно оси винта и под тупым углом к оси каната (в сторону выходного отверстия рабочей полости). Технический результат изобретения заключается в увеличении усилия, оказываемого стопорным элементом на поверхность каната в положении его предварительной фиксации. 2 н.п. ф-лы, 3 ил.
Изобретение относится к устройствам, используемым для запирания и опломбирования грузовых модулей (железнодорожных вагонов, грузовых контейнеров, цистерн) и способам их работы.
Из предшествующего уровня техники известно запорно-пломбировочное устройство (далее в тексте – “ЗПУ” или “устройство”), описанное в патенте RU 2264517. Указанное устройство содержит корпус с отрезком каната. Пассивный конец каната зафиксирован в корпусе, в котором выполнен пропускной канал, предназначенный для размещения в нем второго конца каната, и канал со стопорным элементом. Указанные каналы расположены под углом друг к другу, а стопорный элемент выполнен в виде одного или нескольких фиксирующих элементов. Указанные фиксирующие элементы установлены с возможностью их взаимодействия с канатом, расположенным в полости пропускного канала, под воздействием прижимного элемента, который расположен в дополнительном канале и выполнен в виде поворотного затвора. Поворотный затвор содержит фасонную головку с досылочным выступом, выполненным в виде эксцентрика или кулачка.
При установке рассматриваемой тросовой пломбы осуществляют процесс замыкания каната, при этом рабочий конец каната последовательно пропускают через отверстия элементов конструкции запорного устройства пломбируемого объекта и по пропускному каналу. Затем посредством поворотного затвора осуществляют предварительную фиксацию каната в полости пропускного канала.
Конструкция рассматриваемого устройства определяется способом фиксации каната в его корпусе, который заключается в том, что свободный конец каната пропускают по пропускному каналу, при этом воздействуют канатом на фиксирующий элемент. Указанным воздействием фиксирующий элемент перемещают в сторону досылочного выступа поворотного затвора. Затем затвор поворачивают на 180°, при этом досылочным выступом затвора воздействуют на фиксирующий элемент. Указанным воздействием фиксирующий элемент прижимают одновременно к стенке канала и поверхности каната, при этом осуществляют предварительную фиксацию каната в полости проходного канала.
Процесс замыкания каната, после завершения которого на фиксирующий элемент воздействуют элементом, которым прижимают фиксирующий элемент к поверхности каната, – указанные существенные признаки способа предварительной фиксации каната в корпусе рассматриваемого устройства совпадают с существенными признаками предлагаемого способа.
Отрезок каната, выполняющий функции замыкающего элемента, фиксирующий элемент, взаимодействующий с поверхностью каната, элемент, воздействующий на фиксирующий элемент и прижимающий его к поверхности каната – указанные существенные признаки рассматриваемого устройства совпадают с существенными признаками устройства, реализующего предлагаемый способ фиксации каната.
При осуществлении попытки силового извлечения каната из корпуса рассматриваемого устройства усилие, с которым поворотный затвор прижимает фиксирующий элемент к поверхности каната, обеспечивает его перемещение вместе с канатом в направлении входного отверстия пропускного канала. При этом фиксирующий элемент с возрастающим по мере его перемещения усилием воздействует на поверхность каната, осуществляя его окончательное стопорение в корпусе рассматриваемого устройства.
Однако величина прижимающего усилия, с которым фиксирующий элемент воздействует на поверхность каната, может быть недостаточной для того, чтобы обеспечить необходимую надежность предварительной фиксации каната. Величина прижимающего усилия определяется рабочим ходом фиксирующего элемента, который осуществляется под воздействием прижимного элемента. Величина рабочего хода определяется как разность между эксцентриситетом досылочного выступа и расстоянием, на котором фиксирующий элемент располагается относительно досылочного выступа в тот момент, когда процесс замыкания каната завершен. Эксцентриситет досылочного выступа в связи с существующими ограничениями по массе и габаритам ЗПУ не может превышать 3-4 мм, а расстояние от выступа до фиксирующего элемента определяется амплитудой возвратно-поступательного перемещения фиксирующего элемента, которое указанный элемент совершает относительно досылочного выступа, при осуществлении процесса замыкания каната под воздействием его боковой поверхности. Амплитуда возвратно-поступательного перемещения фиксирующего элемента зависит от диаметра каната, который в пределах существующего допуска может изменяться на величину до 0.3 мм. Кроме того, фиксирующий элемент может располагаться в винтовой канавке, образуемой прядями каната, или опираться на одну из прядей, при этом расстояние от фиксирующего элемента до оси каната может дополнительно изменяться на величину от 0.2 до 0.3 мм (в зависимости от номинального диаметра каната и диаметра фиксирующего элемента). В соответствии с положением фиксирующего элемента относительно оси каната будет изменяться и его положение относительно досылочного выступа. С учетом вышеуказанных факторов, а также с учетом величины угла пересечения каналов, который не может превышать 10° (максимальная величина угла самоторможения), амплитуда возвратно-поступательного перемещения фиксирующего элемента относительно досылочного выступа может составлять примерно (0.3+0.2):tg10°=2.84 мм. Следовательно, расстояние между досылочным выступом и фиксирующим элементом после завершения процесса замыкания должно равняться, по меньшей мере, 2.9 мм. Если указанное расстояние будет меньшим, фиксирующий элемент при осуществлении процесса замыкания каната будет периодически упираться в досылочный выступ и препятствовать тем самым перемещению каната по пропускному каналу.
Величина конструктивно необходимого расстояния между фиксирующим элементом и досылочным выступом (2.9 мм) составляет большую часть конструктивно возможного эксцентриситета досылочного выступа (3÷4 мм). Поэтому рабочий ход фиксирующего элемента, который осуществляется под воздействием прижимного элемента, в лучшем случае будет равен 1.0 мм. При этом фиксирующий элемент сомнет поверхность каната на глубину – 1.0 мм × tg10°=0.176 мм, а величина прижимающего усилия не сможет обеспечить достаточно надежную предварительную фиксацию указанного каната в полости пропускного канала особенно в том случае, когда диаметр каната в точке его контакта с фиксирующим элементом будет значительно меньше номинального размера.
Задача, на решение которой направлено заявляемое изобретение, состоит в том, чтобы создать способ предварительной фиксации каната в корпусе запорно-пломбирующего устройства и устройство, реализующее указанный способ, существенные признаки которого обеспечивают более высокую устойчивость предлагаемого устройства к несанкционированному размыканию по сравнению с аналогами.
Технический результат, который может быть получен в случае применения предлагаемого изобретения, заключается в увеличении усилия, оказываемого стопорным элементом на поверхность каната в положении его предварительной фиксации.
Технический эффект от увеличения усилия, оказываемого стопорным элементом на поверхность каната, может объективно проявиться в повышении надежности его предварительной фиксации в корпусе запорно-пломбировочного устройства, реализующего предлагаемый способ.
Поставленная задача решена путем создания способа предварительной фиксации каната в корпусе запорно-пломбировочного устройства, который заключается в том, что при установке устройства на запираемый объект осуществляют процесс замыкания каната, свободный конец которого последовательно пропускают через отверстия запорного устройства и рабочую полость, выполненную в корпусе устройства, при этом воздействуют боковой поверхностью каната на стопорный элемент, расположенный в рабочей полости; при этом согласно изобретению после завершения процесса замыкания торцевой поверхностью стопорного винта, который при этом вворачивают в резьбовое отверстие, сообщающееся с рабочей полостью, воздействуют на стопорный элемент, который указанным воздействием прижимают к поверхности каната и при этом осуществляют предварительную фиксацию указанного каната; при осуществлении процесса предварительной фиксации каната на стопорный элемент воздействуют торцевой поверхностью стопорного винта, образующей с осью фиксируемого каната острый угол, направленный своей вершиной в сторону входного отверстия рабочей полости, при этом на стопорный элемент воздействуют с усилием, направленным параллельно оси стопорного винта и под тупым углом к оси фиксируемого каната.
Поставленная задача решена также путем создания запорно-пломбировочного устройства, содержащего отрезок стального каната и корпус, в котором выполнена рабочая полость с входным и выходным отверстиями, расположенными в торцевых стенках полости, при этом одна боковая стенка рабочей полости выполнена параллельно оси фиксируемого каната, расположенного в указанной полости, при этом согласно изобретению в корпусе устройства выполнено резьбовое отверстие, сообщающееся с рабочей полостью, в резьбовом отверстии расположен стопорный винт с возможностью его осевого перемещения в полости резьбового отверстия и соприкосновения его торцевой поверхности с поверхностью стопорного элемента, расположенного в рабочей полости; резьбовое отверстие расположено напротив боковой стенки рабочей полости, выполненной параллельно оси фиксируемого каната, а стопорный элемент расположен в рабочей полости с возможностью одновременного соприкосновения его поверхности с поверхностью фиксируемого каната и торцевой поверхностью стопорного винта, при этом указанная торцевая поверхность образует с продольной осью каната, расположенного в рабочей полости, острый угол, направленный своей вершиной в сторону входного отверстия рабочей полости.
Существенные признаки предлагаемого изобретения являются достаточными для получения технического результата, заключающегося в увеличении усилия, оказываемого стопорным элементом на поверхность каната в положении его предварительной фиксации.
Существенные признаки конструкции запорно-пломбировочного устройства, реализующего предлагаемый способ предварительной фиксации каната, подробно отражены в последующем описании и в чертежах, на которых:
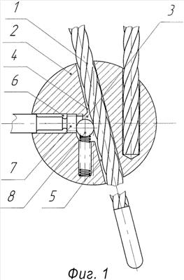
фиг.1 схематично изображает предлагаемое устройство, выполненное согласно изобретению, в положении, когда завершен процесс замыкания каната;
фиг.2 схематично изображает предлагаемое устройство, выполненное согласно изобретению, в положении, когда завершен процесс предварительной фиксации каната;
фиг.3 схематично изображает предлагаемое устройство, выполненное согласно изобретению, в положении, когда завершен процесс окончательного стопорения каната.
Предлагаемое запорно-пломбировочное устройство (см. фиг.1) содержит отрезок каната – 1 и корпус – 2, в котором выполнена рабочая полость – 3 с входным – 4 и выходным – 5 отверстиями, расположенными в торцевых стенках рабочей полости – 3. Одна боковая стенка рабочей полости – 3 выполнена параллельно оси фиксируемого каната – 1, расположенного в указанной полости. В корпусе – 2 выполнено резьбовое отверстие – 6, сообщающееся с рабочей полостью – 3. В полости резьбового отверстия – 6 расположен стопорный винт – 7 с возможностью его осевого перемещения в полости резьбового отверстия – 6 и соприкосновения при этом его торцевой поверхности с поверхностью стопорного элемента – 8, расположенного в рабочей полости – 3. Резьбовое отверстие – 6 расположено напротив боковой стенки рабочей полости – 3, которая выполнена параллельно оси фиксируемого каната – 1. Стопорный элемент – 8 расположен в рабочей полости – 3 с возможностью одновременного соприкосновения его поверхности с поверхностью фиксируемого каната – 1 и торцевой поверхностью стопорного винта – 7. При этом указанная торцевая поверхность образует с продольной осью фиксируемого каната – 1 острый угол – , направленный своей вершиной в сторону входного отверстия – 4 рабочей полости – 3. Предлагаемое устройство может содержать пружину, которая при осуществлении процесса замыкания воздействует на стопорный элемент – 8, прижимая его к поверхности каната – 1 и торцевой поверхности стопорного винта – 8. Расположение и конструкция указанной пружины не имеют значения для получения заявленного технического результата и могут приниматься из конструктивных соображений.
Способ предварительной фиксации каната – 1 в корпусе – 2 предлагаемого устройства осуществляют путем замыкания каната – 1, свободный конец которого последовательно пропускают через отверстия запорного устройства (условно не показано), входное отверстии – 4, рабочую полость – 3 и выходное отверстие – 5. После завершения процесса замыкания (см. фиг.2) стопорный винт – 7 вворачивают в резьбовое отверстие – 3. Торцевой поверхностью стопорного винта – 7 воздействуют на стопорный элемент – 8, который указанным воздействием прижимают к поверхности каната – 1, при этом стопорный элемент – 8 сминает поверхность каната – 1, осуществляя при этом его предварительную фиксацию в рабочей полости – 3.
На стопорный элемент – 8 воздействуют с усилием, направленным под углом к продольной оси фиксируемого каната – 1, отличающимся от прямого угла на величину угла . Поэтому величина усилия, с которым стопорный элемент – 8 будет воздействовать на поверхность каната – 1, будет прямо пропорциональна численному значению cos . Если принять =15°, то cos =0.966. Следовательно, усилие, с которым стопорный элемент – 8 будет воздействовать на поверхность каната – 1, составит по величине примерно 97% от усилия, с которым стопорный винт – 7 будет воздействовать на стопорный элемент – 8. Соответственно увеличению указанного усилия возрастает и глубина, на которую стопорный элемент – 8 сминает поверхность каната – 1 в положении его предварительной фиксации, что обеспечивает более высокую устойчивость предлагаемого устройства к несанкционированному размыканию.
При осуществлении попытки силового извлечения каната – 1 (см. фиг.3) из корпуса – 2 предлагаемого устройства стопорный элемент – 8 перемещается вместе с канатом – 1 в направлении входного отверстия – 4 рабочей полости – 3. При этом за счет реакции опоры, в качестве которой выступает торцевая поверхность стопорного винта – 7, стопорный элемент – 8 по мере его перемещения вдоль указанной поверхности продолжает сминать канат – 1 до тех пор, пока не обеспечит окончательное его стопорение в корпусе – 2 предлагаемого устройства.
Применение стопорного винта – 7, воздействующего на стопорный элемент – 8 с усилием, направленным параллельно оси стопорного винта – 8 и под тупым углом к оси фиксируемого каната – 1, обеспечивает получение заявленного технического результата, заключающегося в увеличении усилия, оказываемого стопорным элементом – 7 на поверхность каната – 1 в положение его предварительной фиксации.
Получение заявленного технического результата позволяет создать запорно-пломбировочное устройство, существенные признаки которого обеспечивают более высокую устойчивость предлагаемого устройства к несанкционированному размыканию.
Формула изобретения
1. Способ предварительной фиксации каната в корпусе запорно-пломбировочного устройства, заключающийся в том, что при установке устройства на запираемый объект осуществляют процесс замыкания каната, свободный конец которого последовательно пропускают через отверстия запорного устройства и рабочую полость, выполненную в корпусе устройства, при этом воздействуют боковой поверхностью каната на стопорный элемент, расположенный в рабочей полости, отличающийся тем, что после завершения процесса замыкания торцевой поверхностью стопорного винта, который при этом вворачивают в резьбовое отверстие, сообщающееся с рабочей полостью, воздействуют на стопорный элемент, который указанным воздействием прижимают к поверхности каната и при этом осуществляют предварительную фиксацию указанного каната; при осуществлении процесса предварительной фиксации каната на стопорный элемент воздействуют торцевой поверхностью стопорного винта, образующей с осью фиксируемого каната острый угол, направленный своей вершиной в сторону входного отверстия рабочей полости, при этом на стопорный элемент воздействуют с усилием, направленным параллельно оси стопорного винта и под тупым углом к оси фиксируемого каната.
2. Запорно-пломбировочное устройство, содержащее отрезок стального каната и корпус, в котором выполнена рабочая полость с входным и выходным отверстиями, расположенными в торцевых стенках полости, при этом одна боковая стенка рабочей полости выполнена параллельно оси фиксируемого каната, расположенного в указанной полости, отличающееся тем, что в корпусе устройства выполнено резьбовое отверстие, сообщающееся с рабочей полостью, в резьбовом отверстии расположен стопорный винт с возможностью его осевого перемещения в полости резьбового отверстия и соприкосновения его торцевой поверхности с поверхностью стопорного элемента, расположенного в рабочей полости; резьбовое отверстие расположено напротив боковой стенки рабочей полости, выполненной параллельно оси фиксируемого каната, а стопорный элемент расположен в рабочей полости с возможностью одновременного соприкосновения его поверхности с поверхностью фиксируемого каната и торцевой поверхностью стопорного винта, при этом указанная торцевая поверхность образует с продольной осью каната, расположенного в рабочей полости, острый угол, направленный своей вершиной в сторону входного отверстия рабочей полости.
РИСУНКИ
|
|