|
|
(21), (22) Заявка: 2007127527/11, 18.07.2007
(24) Дата начала отсчета срока действия патента:
18.07.2007
(46) Опубликовано: 27.03.2009
(56) Список документов, цитированных в отчете о поиске:
RU 2150620 С1, 10.06.2000. RU 2280198 C1, 20.07.2006. US 5495923 А, 05.03.1996. CS 252454 B2, 17.09.1987.
Адрес для переписки:
443087, г.Самара, пр-кт Кирова, 236, кв.5, Е.В. Бариновой
|
(72) Автор(ы):
Баринова Елена Витальевна (RU)
(73) Патентообладатель(и):
Баринова Елена Витальевна (RU)
|
(54) АМОРТИЗАТОР ЭЛАСТОМЕРНЫЙ
(57) Реферат:
Изобретение относится к области машиностроения, в частности может быть использовано в буферах на железнодорожном транспорте. Амортизатор содержит полый корпус, шток, подвижное и дополнительное уплотнение штока. Шток установлен с возможностью осевого перемещения. Дополнительное уплотнение штока отделено от подвижного уплотнения штока кольцевой канавкой. В корпусе выполнены дополнительные полости, сообщающиеся с кольцевой канавкой. Достигается повышение надежности и увеличение ресурса амортизатора. 2 з.п.ф-лы, 3 ил.
Изобретение относится к области машиностроения, в частности может быть использовано в буферах на железнодорожном транспорте.
Известен поглощающий аппарат (Патент РФ RU 2078706 С1, 6 F16F 5/00. Поглощающий аппарат / Долгов В.И., Горюнов Н.Н. – №95105306/11; Заявлено 1995.05.10), содержащий двухполостной цилиндр, шток с поршнем и уплотнения. При работе устройства импульсы давления рабочей среды, возникающие в полостях цилиндра, воздействуют непосредственно на подвижные уплотнения штока, что приводит к их ускоренному износу и снижению надежности и ресурса устройства.
Наиболее близким по технической сущности является эластомерный амортизатор (Патент РФ RU 2150620 С1, 7 F16F 5/00. Эластомерный амортизатор / Анджей Хмелевский и д.р. (PL) – №98103295/28; Заявлено 1998.02.26; Опубликовано 2000.06.10.), содержащий полый корпус, заполненный эластомером, шток с поршнем и подвижное уплотнение штока. При работе устройства импульсы давления эластомера, возникающие в полости корпуса при сжатии амортизатора, воздействуют непосредственно на подвижное уплотнение штока, что приводит к его ускоренному износу и снижению надежности и ресурса амортизатора.
Заявленное изобретение направлено на повышение надежности и увеличение ресурса амортизатора за счет уменьшения нагрузок, воздействующих на подвижное уплотнение штока и шток.
Решение поставленной задачи достигается тем, что в амортизатор, содержащий полый корпус, шток, установленный с возможностью осевого перемещения, и подвижное уплотнение штока, введено дополнительное уплотнение штока, отделенное от подвижного уплотнения штока кольцевой канавкой, а в корпусе выполнены дополнительные полости, сообщающиеся с кольцевой канавкой. В дополнительных полостях установлены высокосжимаемые, например, газонаполненные, упругие элементы. Одна или несколько дополнительных полостей сообщаются с полостью корпуса посредством обратного клапана.
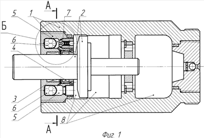
Амортизатор показан на фиг.1, на фиг.2 показан разрез А-А с фиг.1, на фиг.3 показан выносной элемент Б с фиг.1, где 1 – корпус с крышками, 2 – шток, 3 – подвижное уплотнение штока, 4 – дополнительное уплотнение штока, 5 – дополнительные полости, 6 – упругие элементы, 7 – обратный клапан, 8 – полость корпуса.
Шток 2 установлен в корпусе 1 с возможностью осевого перемещения. В передней крышке корпуса 1 установлено подвижное уплотнение 3. Между подвижным уплотнением 3 и полостью корпуса 1 установлено дополнительное уплотнение 4, отделенное от подвижного уплотнения 3 канавкой. В передней крышке корпуса 1 выполнены дополнительные полости, сообщающиеся с канавкой, разделяющей уплотнения 3 и 4. Часть дополнительных полостей 5 сообщается с полостью корпуса посредством обратного клапана 7.
При работе амортизатора шток 2 перемещается, сжимая эластомер, и давление в полости 8 корпуса 1 растет. Давление эластомера воздействует на дополнительное уплотнение 4 и за счет упругой деформации дополнительного уплотнения 4, а также за счет возможных утечек эластомера через него, передается на подвижное уплотнение 3. Поскольку между дополнительным уплотнением 4 и уплотнением 3 расположена канавка (коллектор), сообщающаяся с дополнительными полостями 5, снабженными высокосжимаемыми упругими элементами 6, выполняющими функцию ресивера, за время двойного хода штока 2 давление из полости 8 корпуса 1 передается на подвижное уплотнение 3 лишь частично. Таким образом, высокое давление эластомера, возникающее в полости 8 корпуса 2 во время удара, распределяется между дополнительным уплотнением 4 и уплотнением 3. Уплотнение 3, от износа которого зависит утечка эластомера из амортизатора, работает в более легких условиях, и соответственно его ресурс и ресурс амортизатора в целом увеличивается. При возврате штока 2 в исходное состояние давление эластомера в полости 8 корпуса 1 падает примерно до уровня зарядного давления и избыток эластомера, образовавшийся в дополнительных полостях 5 за время удара, перетекает через обратный клапан 7 в полость корпуса 8 (при использовании в качестве дополнительного уплотнения одностороннего уплотнения, например, шевронного, дополнительное уплотнение само выполняет функции обратного клапана и клапан 7 не требуется). Давления эластомера в полости 8 корпуса 1 и дополнительных полостях 5 восстанавливаются до зарядного давления.
В предлагаемом амортизаторе импульсы давления, возникающие в полости корпуса 1 при ударах, воспринимаются дополнительным уплотнением 4. Подвижное уплотнение 3 штока 2, определяющее утечки эластомера из амортизатора и, соответственно, его надежность и ресурс, защищено от воздействия импульсов высокого давления даже при появлении утечек в дополнительном уплотнении 4 и его работе в проточном режиме.
Формула изобретения
1. Амортизатор эластомерный, содержащий полый корпус, шток, установленный с возможностью осевого перемещения, и подвижное уплотнение штока, отличающийся тем, что в него введено дополнительное уплотнение штока, отделенное от подвижного уплотнения штока кольцевой канавкой, а в корпусе выполнены дополнительные полости, сообщающиеся с кольцевой канавкой.
2. Амортизатор эластомерный по п.1, отличающийся тем, что в дополнительные полости установлены высокосжимаемые, например газонаполненные, упругие элементы.
3. Амортизатор по п.1, отличающийся тем, что одна или несколько дополнительных полостей сообщаются с полостью корпуса посредством обратного клапана.
РИСУНКИ
|
|