|
|
(21), (22) Заявка: 2006146691/11, 27.12.2006
(24) Дата начала отсчета срока действия патента:
27.12.2006
(43) Дата публикации заявки: 10.07.2008
(46) Опубликовано: 27.03.2009
(56) Список документов, цитированных в отчете о поиске:
GB 191302293 А, 24.12.1913. СН 243895 А, 15.08.1946. US 3524526 А, 18.08.1970.
Адрес для переписки:
121165, Москва, Г-165, а/я 15, ООО “ППФ-ЮСТИС”
|
(72) Автор(ы):
Буравков Алексей Вячеславович (RU)
(73) Патентообладатель(и):
Буравков Алексей Вячеславович (RU)
|
(54) МУФТА
(57) Реферат:
Изобретение относится к области машиностроения и может быть использовано в электромашинах, в редукторах, используемых с различными двигателями. Муфта содержит жестко соединенный с ведущим валом (2) эксцентрик (1) и ведомую цилиндрическую обойму (5) с полостью. Эксцентрик (1) расположен с зазором в отверстии втулки (3), установленной на ведущем валу (2) и расположенной с зазором в полости обоймы (5). Ось отверстия втулки (3) смещена относительно оси втулки (3) и оси ведущего вала (2). В торце втулки (3) со стороны внутренней торцевой поверхности обоймы (5) выполнено углубление, в котором расположена пружина (4), обеспечивающая соосность втулки (3) с валом (2) двигателя. Технический результат заключается в упрощении конструкции, повышении ресурса работы муфты и обеспечении возможности передавать крутящийся момент при прямом и реверсивном вращении мотора. 4 з.п. ф-лы, 6 ил.
Изобретение относится к области машиностроения и может быть использовано в электромашинах, в редукторах, используемых с различными двигателями.
Известна центробежная предохранительная муфта, содержащая концентрично расположенные ведущую и ведомую полумуфты и расположенный между ними центробежный соединительный элемент, выполненный в виде фрикционных колодок, связанных с шарнирно-рычажным механизмом с одной из полумуфт (А.С. №219345, опубл. 1968 г.).
Недостатком аналога является недостаточные антивибрационные свойства муфты, которая не может стабилизировать передаваемое ей вращение. Кроме того, превышение моментов нагрузки номинального значения приводит к износу фрикционных колодок.
Известна центробежная упругопредохранительная муфта, содержащая жестко соединенный с ведущим валом эксцентрик и ведомую обойму с полостью. Ведомая обойма выполнена в виде зубчатого венца с внутренним зацеплением, который взаимодействует с центробежным соединительным элементом, выполненным в виде неуравновешенного зубчатого колеса, установленного на эксцентрике с возможностью углового поворота относительно последнего (А.С. №721607, опубл. 1980 г.).
Недостатком данной муфты является сложность конструкции из-за наличия большого числа деталей сложной формы, а также низкий ресурс из-за наличия трущихся частей и изгибных нагрузок.
Наиболее близкой к предложенной является муфта, содержащая жестко соединенный с ведущим валом эксцентрик и ведомую обойму с внутренней конической поверхностью и с полостью, в которой с зазором относительно обоймы расположена втулка с наружной конической поверхностью, при этом ось отверстия втулки смещена относительно оси втулки и оси ведущего вала, а эксцентрик и втулка связаны возвратной пружиной, расположенной в проточке втулки, выполненной на ее внутренней поверхности в окружном напралении (GB 191302293, опубл. 24.12.1913). При осевом перемещении ведущего вала втулка входит своей конической поверхностью в сцепление с конической поверхностью обоймы. После сцепления происходит относительное вращение эксцентрика и втулки, что создает дополнительное давление на сцепленные поверхности.
В известной муфте происходит резкое волевое сцепление ведущего вала с обоймой. Кроме того, муфта неработоспособна при реверсивном вращении вала и не обеспечивает автоматическое рассоединение ее частей при заклинивании и остановке мотора, поскольку для рассоединения необходимо принудительное отведение ведущего вала с втулкой.
Технической задачей предлагаемого изобретения является разработка муфты, обеспечивающей автоматическое сцепление вала с обоймой при достижении валом определенной скорости вращения.
Поставленная задача решается тем, что муфта содержит жестко соединенный с ведущим валом эксцентрик и ведомую цилиндрическую обойму с полостью. Эксцентрик расположен с зазором в отверстии втулки, установленной на ведущем валу и расположенной с зазором в полости обоймы, при этом ось отверстия втулки смещена относительно оси втулки и оси ведущего вала.
Согласно изобретению в торце втулки со стороны внутренней торцевой поверхности обоймы выполнено углубление, в котором расположена пружина, обеспечивающая соосность втулки с валом двигателя.
С противоположного своего торца втулка предпочтительно поджата в полость обоймы другой пружиной, предотвращающей выскальзывание втулки из полости обоймы.
Обойма может быть жестко соединена с устройством передачи момента вращения, выполненным, например, в виде шестерни.
Для исключения проскальзывания втулки относительно обоймы внутренняя боковая поверхность обоймы и контактирующая с ней внешняя боковая поверхность втулки выполнены волнообразными, т.е. имеют шероховатость.
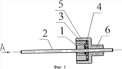
Сущность предлагаемого изобретения поясняется с помощью чертежей. На фиг.1 показано продольное сечение муфты, на фиг.2 показано продольное сечение муфты с пружиной 7, на фиг.3 – вид А на фиг.1 в начальный момент вращения двигателя, на фиг.4 – вид А на фиг.1 в момент разгона двигателя и передачи крутящего момента на ведомую обойму, на фиг.5 – вид А на фиг.1 в начальный момент вращения двигателя с внешней волнообразной и внутренней волнообразной поверхностями втулки и обоймы соответственно, на фиг.6 – пружина 7.
Муфта состоит из эксцентрика 1, жестко закрепленного на ведущем валу 2 микроэлектродвигателя, втулки 3 с отверстием, образующим цилиндрическую полость, пружины 4 и ведомой цилиндрической обоймы 5 в виде цилиндрического стакана, жестко соединенного с устройством передачи момента вращения, выполненным в виде шестерни 6, и установленного с возможностью свободного вращения на валу 2. Эксцентрик 1 расположен в отверстии втулки 3, ось отверстия которого смещена относительно параллельной ей оси втулки 3 и вала 2. На торце втулки 3 со стороны внутренней торцевой поверхности обоймы 5 выполнено углубление, в котором расположена пружина 4, обеспечивающая соосность втулки 3 с валом двигателя 2 и обоймы 5, а с противоположной стороны втулка 3 поджата в полость обоймы 5 пружиной 7, закрепленной на валу 2. Втулка 3 расположена в полости обоймы 5 с небольшим зазором. Внутренняя боковая поверхность обоймы 5 и контактирующая с ней внешняя боковая поверхность втулки 3 могут быть выполнены волнообразными (фиг.5).
Работа муфты осуществляется следующим образом.
При раскручивании вала 2 двигателя эксцентрик 1 взаимодействует с внутренней поверхностью втулки 3 и начинает раскручивать последний. Втулка 3 раскручивается вместе с валом 2 двигателя в зазоре между наружной поверхностью эксцентрика 1 и внутренней поверхностью обоймы 5 (см фиг.3). При раскручивании втулки 3 изменяется положение его центра масс, в результате чего втулка 3 смещается, преодолевая сопротивление пружины 4 (см. фиг.4). При этом наружная поверхность втулки 3 соприкасается с внутренней поверхностью обоймы 5 и под воздействием сил трения эксцентрик 1 жестко сцепляется с обоймой 5, которая с помощью шестерни 6 начинает передавать крутящий момент. Волнообразные поверхности обоймы 5 и втулки 3 обеспечивают более надежную передачу крутящего момента за счет их зацепления, исключая проскальзывание.
Пружина 7 препятствует выскальзыванию втулки 3 из обоймы.
Предлагаемая муфта при своей простой конструкции способна передавать крутящийся момент при прямом и реверсивном вращении мотора, раскручивать вал мотора перед жестким сцеплением, которое осуществляется автоматически, а также обеспечивать автоматическое рассоединение ее ведущих и ведомых частей при заклинивании и остановке мотора.
Формула изобретения
1. Муфта, содержащая жестко соединенный с ведущим валом эксцентрик и ведомую цилиндрическую обойму с полостью, эксцентрик расположен с зазором в отверстии втулки, установленной на ведущем валу и расположенной с зазором в полости обоймы, при этом ось отверстия втулки смещена относительно оси втулки и оси ведущего вала, отличающаяся тем, что в торце втулки со стороны внутренней торцевой поверхности обоймы выполнено углубление, в котором расположена пружина, обеспечивающая соосность втулки с валом двигателя.
2. Муфта по п.1, отличающаяся тем, что с противоположного своего торца втулка поджата в полость обоймы другой пружиной.
3. Муфта по п.1, отличающаяся тем, что обойма жестко соединена с устройством передачи момента вращения.
4. Муфта по п.3, отличающаяся тем, что устройство передачи момента вращения выполнено в виде шестерни.
5. Муфта по п.1, отличающаяся тем, что внутренняя боковая поверхность обоймы и контактирующая с ней внешняя боковая поверхность втулки выполнены волнообразными.
РИСУНКИ
|
|