|
|
(21), (22) Заявка: 2007121277/11, 06.06.2007
(24) Дата начала отсчета срока действия патента:
06.06.2007
(46) Опубликовано: 27.03.2009
(56) Список документов, цитированных в отчете о поиске:
RU 2263828 C1, 10.11.2005. JP 2003-090308 A, 28.03.2003. SU 238289 A, 03.07.1969. SU 1751462 A1, 30.07.1992. RU 2169876 C2, 27.06.2001.
Адрес для переписки:
360004, КБР, г.Нальчик, ул. Толстого, 185, КБГСХА, М.Х. Соттаеву
|
(72) Автор(ы):
Бугов Хазретали Умарович (RU), Егожев Артур Мухамедович (RU), Семенов Лиуан Хамзетович (RU), Демьянов Владимир Александрович (RU)
(73) Патентообладатель(и):
ФГОУ ВПО Кабардино-Балкарская государственная сельскохозяйственная академия (RU)
|
(54) УЗЕЛ РЕЗЬБОВОГО СОЕДИНЕНИЯ
(57) Реферат:
Предлагаемый узел соединения относится к ответственным узлам, используемым в машиностроении. Узел соединения деталей машин содержит две соединяемые детали, цилиндрическую втулку и болт с гайкой. В детали, к которой примыкает гайка, выполнено отверстие для установки цилиндрической втулки под посадку болта без зазора, переходящее к цилиндрической расточке меньшего диаметра, примыкающей к плоскости разъема. На участке отверстия в другой детали болт установлен без зазора. В результате повышаются прочность и жесткость соединения, снижается трудоемкость изготовления узла. 1 ил.
Изобретение относится к ответственным узлам, используемым в машиностроении.
Известны узлы соединения сильнонагруженных деталей машин, в которых осуществляется соединение болтами, установленными в отверстия без зазоров и с зазорами [1] (стр.36, фиг.1.20 и 1.21).
В узле соединения, в котором болты устанавливают в отверстие без зазора, соединяемые детали должны совместно обрабатываться. Причем отверстия в соединяемых деталях калибрируют разверткой или растачивают совместно с большой точностью, а диаметр стержня болта выполняют с допуском, обеспечивающим заданную посадку.
Эти технологические операции весьма трудоемки, в особенности для крупногабаритных деталей, изготавливаемых нередко в разных городах. Сборка и разборка таких соединений приводит к задирам посадочных поверхностей отверстий деталей и шлифованных поверхностей болтов.
При расчете такого типа групповых болтовых соединений от совместного действия поперечных и осевых усилий принимают, что болты нагружены равномерно. Однако как показали экспериментальные исследования усталостной прочности металлических моделей с полнофакторным моделированием таких соединений, коэффициент равномерности распределения поперечной нагрузки находится в пределах 0,25-0,35 [2].
Эти недостатки существенно снижают эффективность использовании рассматриваемого узла соединения, являющегося весьма дорогостоящим, в особенности для крупногабаритных узлов машин.
При работе узла соединения, в котором болты установлены с зазором, имеет место значительный изгиб болта по всей длине, причем максимальные изгибные напряжения приходятся на сечение резьбовой части болта, которое совпадает с первым витком гайки, где имеют место значительные концентрации напряжений, и которое разрушается прежде всего в данных соединениях [2].
Известен еще узел соединения деталей машин, в котором в детали, к которой примыкает гайка, выполнено отверстие для установки цилиндрической втулки под посадку болта без зазора, а в другой детали выполнено отверстие, в котором болт установлен с расчетным зазором, выбираемым при сборке соединения [3].
Основным недостаткам данного решения является недостаточная жесткость соединения на сдвиг, а также необходимость обеспечения достаточно высокой точности соосности отверстий соединяемых деталей, что также трудновыполнимо в узле с групповым резьбовым соединением.
Цель изобретения – повышение усталостной прочности соединения путем уменьшения напряжения изгиба под резьбовой частью и под головкой болта, повышение равномерности распределения поперечной нагрузки в групповом болтовом соединении, повышение жесткости узла на сдвиг и существенное снижение трудоемкости изготовления узла.
Поставленная цель достигается тем, что в детали, к которой примыкает гайка, выполнено отверстие для установки цилиндрической втулки под посадку болта без зазора, переходящее к цилиндрической расточке меньшего диаметра, примыкающего к плоскости разъема, а на участке отверстия в другой детали болт установлен без зазора.
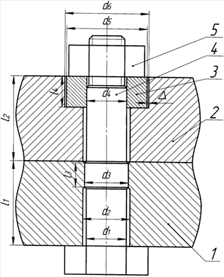
Узел содержит установленное в отверстие детали 2 втулку 3, деталь 1 и болт 4 с гайкой 5.
В детали 2 выполнено цилиндрическое отверстие с диаметром d6 и высотой l4 для установки втулки 3 диаметром d5 с зазором под посадку болта 4 без зазора. В детали 1 выполнено отверстие с диаметром d3, в котором болт установлен без зазора.
При сборке соединения часть болта диаметром d4 свободно проходит через отверстие d3 детали 1 и входит в отверстие цилиндрической втулки 3 под посадку без зазора, одновременно участок болта с пояском диаметром d3 плотно входит в отверстие детали 1 на участке l3. Затем производится затяг болтов на заданное усилие натяга, обеспечивающее упругое вдавливание головки болтов 4 и гаек 5 в детали 1 и 3.
При работе соединения под действием поперечных нагрузок все болты деформируются как трехопорные стержни с двумя защемленными краями.
Защемление болта в сечении, совпадающем с опорной поверхностью головки, обеспечивается за счет упругого вдавливания головки болта 4 от затяга, а в детали 2 защемление болта обеспечивается как за счет посадки без зазора во втулке 3, так и за счет гайки, вдавленной в эту втулку, которая, в свою очередь, также упруго вдавливается в деталь 2 от затяга болта. При этом равномерность распределения поперечной нагрузки доходит до 1 и существенно повышается реальная прочность и жесткость соединения.
Использование предлагаемого узла соединения особенно эффективно в дорогостоящих машинах, передающих значительные мощности.
ИСТОЧНИКИ ИНФОРМАЦИИ
1. Иванов М.Н. Детали машин. М.: «Высшая школа», 1991 г. с.382.
2. Бугов Х.У. Фланцевые соединения. Расчет и проектирование. «Машиностроение» Л.о. 1975 г. 191 с.
3. Патент №2263828. Москва 10.11.2005 (прототип). Авторы: Бугов X.У., Егожев А.М. и др.
Формула изобретения
Узел соединения деталей машин, содержащий две соединяемые детали, цилиндрическую втулку и болт с гайкой, при этом в детали, к которой примыкает гайка, выполнено отверстие для установки цилиндрической втулки под посадку болта без зазора, переходящее к цилиндрической расточке меньшего диаметра, примыкающей к плоскости разъема, отличающийся тем, что на участке отверстия в другой детали болт установлен без зазора.
РИСУНКИ
|
|