|
|
(21), (22) Заявка: 2007112598/06, 04.04.2007
(24) Дата начала отсчета срока действия патента:
04.04.2007
(43) Дата публикации заявки: 10.10.2008
(46) Опубликовано: 27.03.2009
(56) Список документов, цитированных в отчете о поиске:
SU 909298 A, 05.03.1982. RU 2140571 C1, 27.10.1999. SU 667686 A, 20.06.1979. SU 1432199 A1, 23.10.1988. FR 1468988 A, 26.04.1967.
Адрес для переписки:
423250, Республика Татарстан, г. Лениногорск, ул. Ленинградская, 12, НГДУ “Лениногорскнефть”, технический отдел, М.И. Кузьмину
|
(72) Автор(ы):
Нурмухаметов Рафаиль Саитович (RU), Габдрахманов Ринат Анварович (RU), Вафин Ильдус Закеевич (RU), Киямов Расих Насихович (RU), Гайнанов Фарит Фатихович (RU), Ахметзянов Замил Салихович (RU)
(73) Патентообладатель(и):
Открытое акционерное общество “Татнефть” им. В.Д. Шашина (RU)
|
(54) СКВАЖИННЫЙ ШТАНГОВЫЙ НАСОС
(57) Реферат:
Устройство предназначено для использования в технике для добычи нефти. Скважинный штанговый насос содержит цилиндр, всасывающий и нагнетательный клапаны, полый плунжер с трубкой на нижнем конце, вращатель потока жидкости, выполненный в виде шнека с патрубком, сообщающим полость трубки с наружной поверхностью плунжера. Насос снабжен полым двухступенчатым подпружиненным поршнем с большой торцевой площадью внизу. Поршень установлен в полости плунжера на верхнем его конце. Эта полость закрыта ступенчатым переходником. На верхней части плунжера выполнен радиальный канал, сообщающий наружную поверхность плунжера с верхней надпоршневой полостью. С внутренней стенки плунжера выполнен радиальный канал, сообщающий полость насоса с подпоршневой полостью. Также в плунжере выполнен продольный канал, сообщающий среднюю и верхнюю надпоршневые полости с полостью патрубка. На верхней части продольного канала просверлен дополнительный канал с большим диаметром. На образовавшуюся коническую поверхность установлен шарик, диаметр которого больше диаметра основного канала и меньше диаметра дополнительного канала. Повышается срок службы насоса. 3 ил.
Изобретение относится к технике для добычи нефти.
Известен штанговый скважинный насос (авт.св. СССР 909298), содержащий цилиндр, полый плунжер с трубкой на нижнем конце, вращатель потока жидкости, выполненный в виде шнека и с патрубком, сообщающим полость трубки с наружной поверхностью плунжера. Указанный насос эксплуатируется недолго, т.к. при ходе плунжера вверх в зазор между плунжером и цилиндром попадают механические примеси и пластовая вода, которые изнашивают плунжерную пару.
Целью изобретения является повышение срока службы насоса путем предотвращения попадания в плунжерную пару механических примесей, воды и смазки плунжерной пары чистой нефтью при ходе плунжера вверх.
Указанная цель достигается тем, что скважинный штанговый насос, содержащий цилиндр, всасывающий и нагнетательный клапаны, полый плунжер с трубкой на нижнем конце, вращатель потока жидкости, выполненный в виде шнека с патрубком, сообщающим полость трубки с наружной поверхностью плунжера, снабжен полым двухступенчатым подпружиненным поршнем с большой торцевой площадью внизу, установленным в полости плунжера на верхнем его конце, закрытый ступенчатым переходником, причем на верхней части плунжера выполнен радиальный канал, сообщающий наружную поверхность плунжера с верхней надпоршневой полостью, причем с внутренней стенки плунжера выполнен радиальный канал, сообщающий полость насоса с подпоршневой полостью, также в плунжере выполнен продольный канал, сообщающий среднею и верхнею надпоршневые полости с полостью патрубка, а на верхней части продольного канала просверлен дополнительный канал с большим диаметром и на образовавшуюся коническую поверхность установлен шарик, диаметр которого больше диаметра основного канала и меньше диаметра дополнительного канала.
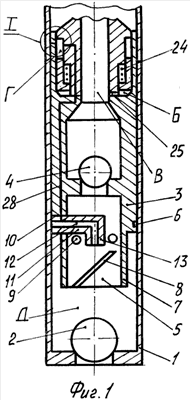
На фиг.1 схематично изображен общий вид насоса в разрезе; на фиг.2 – вид I фиг.1; на фиг.3 – вид II фиг.2.
Скважинный штанговый насос содержит цилиндр 1 (фиг.1) со всасывающим клапаном 2, полый плунжер 3 с нагнетательным клапаном 4, вращатель потока жидкости 5. Нижний конец полого плунжера (в дальнейшем – плунжер) 3 выполнен с кольцевой выточкой 6 и с выступающей вниз трубкой 7. Внутри этой трубки неподвижно установлен шнек 8 вращателя потока жидкости 5. На верхней части трубки 7 просверлены радиальные отверстия 9, а в нижней части плунжера 3 с кольцевой выточкой 6 просверлено радиальное отверстие 10, в которое запрессован один конец Г-образного патрубка 11, имеющего канал 12. Второй конец 13 этого патрубка 11 направлен вниз и находится над шнеком 8. Выше нагнетательного клапана 4 на внутренней цилиндрической поверхности плунжера 3 выполнен кольцевой выступ 14 (фиг.2) с торцевой 15 и конической 16 поверхностями. Внутренняя цилиндрическая поверхность 17 плунжера выполнена гладкой и на ее верхней части нарезана резьба 18, куда завернут резьбовой частью переходник 19. Наружняя поверхность переходника 19 выполнена с двумя гладкими цилиндрическими поверхностями 20 и 21. В кольцевую полость, образованную внутренней цилиндрической 17, торцевой 15 и конической 16 поверхностями плунжера 3 и наружными цилиндрическими 20 и 21 и торцевой (позиция не дана) поверхностями переходника, установлен двухступенчатый полый поршень 22. Он выполнен с кольцевой выступающей внутрь частью 23 и на всех его цилиндрических поверхностях выполнены кольцевые канавки (на фиг. не показаны), в которые установлены компрессионные кольца. В средней надпоршневой полости А установлена пружина сжатия 24. Нижняя подпоршневая полость Б посредством радиального канала 25 (фиг.1), выполненного в нижней части переходника 19, сообщается с полостью В насоса. Верхняя надпоршневая полость Г сообщается радиальным каналом 26 плунжера 3 с полостью кольцевой выточки 27, выполненной на наружной поверхности плунжера 3. Через стенки переходника 19 и плунжера 3 выполнен продольный канал 28, нижняя часть которого сообщается с каналом 12 патрубка 11. Верхняя полость продольного канала 28 сообщается с помощью радиального канала 29 с верхней надпоршневой полостью Г, а с помощью радиального канала 30 – со средней надпоршневой полостью А. Верхняя часть 31 (фиг.3) продольного канала 28 просверлена с незначительно большим диаметром. При этом на образовавшуюся коническую поверхность 32 установлен шарик 33, диаметр которой незначительно больше диаметра продольного канала 28 и меньше диаметра верхней части 31 канала 28. На верхней части 31 канала 28 нарезана резьба 34, куда завернута резьбовая пробка 35.
Скважинный штанговый насос работает следующим образом.
При ходе плунжера 3 вниз всасывающий клапан 2 закрывается, а нагнетательный клапан 4 открывается. При этом шнек 8 вращателя потока жидкости 5, опускаясь вниз, придает вращательное движение потоку пластовой жидкости. За счет центробежных сил механические примеси и вода двигаются к внутренней стенке трубки 7, а чистая нефть поступает в канал 12 патрубка 11. Далее она поступает в полость кольцевой выточки 6 и смазывает поверхности трения плунжера 3 и цилиндра 1. Также при ходе плунжера вниз, когда нагнетательный клапан 4 открывается, пружина сжатия 24 давит на торцевую поверхность 36 поршня 22. Из-за этого поршень 22 перемещается вниз до соприкосновения с конической поверхностью 16 плунжера. При этом в надпоршневых полостях А и Г создается разрежение, из-за чего шарик 33 (фиг.3) поднимается вверх над конической поверхностью 32. Поэтому чистая нефть через канал 12 патрубка 11, продольные каналы 28 и 31, радиальный канал 29 поступает в верхнюю надпоршневую полость Г.
Также при этом чистая нефть по продольному каналу 28 и радиальному 30 поступает в среднею надпоршневую полость А. По мере перемещения поршня 22 вниз под действием силы упругости пружины сжатия 24 пластовая жидкость из подпоршневой полости Б вытесняется по радиальному каналу 25 в полость плунжера 3. При ходе плунжера 3 вверх нагнетательный клапан 4 закрывается, а всасывающий клапан 2 открывается и пластовая жидкость заполняет подплунжерную полость Д цилиндра 1. При этом плунжер 3 поднимает вверх столб пластовой жидкости. Статическое давление этой жидкости передается по радиальному каналу 25 переходника 19 в подпоршневую полость Б, а в средней надпоршневой полости А создается разрежение. Оно передается из полости Д по каналу 12 патрубка 11, продольному каналу 28 и радиальному каналу 30. В результате того, что давление пластовой жидкости в подпоршневой полости Б больше, чем давление в средней надпоршневой полости А, поршень 22 поднимается вверх, сжимая пружину сжатия 24. При этом чистая нефть из полости А поступает (высасывается) по радиальному каналу 30, продольному 28 и каналу 12 в полость Д, рсположенную под плунжером 3. Также при этом верхняя кольцевая часть 37 поршня 22 вытесняет чистую нефть с верхней надпоршневой полости Г по радиальному каналу 26 в кольцевую выточку 27 плунжера 3. Перемещению чистой нефти из полости Г по радиальному каналу 29 в продольный канал 28 препятствует шарик 33. Он под собственным весом, а также из-за давления в полости Г плотно прилегает к конической поверхности 32 и закрывает канал 28.
Из полости кольцевой выточки 27 чистая нефть поступает в зазор между поверхностями трения плунжера 3 и цилиндра 1. Таким образом смазываются чистой нефтью трущиеся между собою поверхности плунжера и цилиндра при ходе плунжера вверх. После достижения плунжером верхней крайней точки процесс работы насоса повторяется аналогично вышеописанному.
В предлагаемом скважинном штанговом насосе значительно повышается срок его службы за счет обеспечения смазки плунжерной пары чистой нефтью при ходе плунжера вверх и вниз. В прототипе чистой нефтью смазывается плунжерная пара только при ходе плунжера вниз.
Формула изобретения
Скважинный штанговый насос, содержащий цилиндр, всасывающий и нагнетательный клапаны, полый плунжер с трубкой на нижнем конце, вращатель потока жидкости, выполненный в виде шнека с патрубком, сообщающим полость трубки с наружной поверхностью плунжера, отличающийся тем, что он снабжен полым двухступенчатым подпружиненным поршнем с большой торцевой площадью внизу, установленным в полости плунжера на верхнем его конце и закрытым ступенчатым переходником, причем на верхней части плунжера выполнен радиальный канал, сообщающий наружную поверхность плунжера с верхней надпоршневой полостью, причем с внутренней стенки плунжера выполнен радиальный канал, сообщающий полость насоса с подпоршневой полостью, также в плунжере выполнен продольный канал, сообщающий среднюю и верхнюю надпоршневые полости с полостью патрубка, а на верхней части продольного канала просверлен дополнительный канал с большим диаметром и на образовавшуюся коническую поверхность установлен шарик, диаметр которого больше диаметра основного канала и меньше диаметра дополнительного канала.
РИСУНКИ
|
|