|
|
(21), (22) Заявка: 2007134047/06, 12.09.2007
(24) Дата начала отсчета срока действия патента:
12.09.2007
(46) Опубликовано: 27.03.2009
(56) Список документов, цитированных в отчете о поиске:
US 4414812 А, 15.11.1983. US 5704209 А, 06.01.1998. RU 2113610 С1, 20.06.1998. SU 987326 А1, 07.01.1983. RU 2034204 С1, 30.04,1995. RU 2136929 С1, 10.09.1999. GB 620293 А, 22.03.1949.
Адрес для переписки:
413101, Саратовская обл., г.Энгельс-1, 27, кв.9, С.П.Морозову
|
(72) Автор(ы):
Морозов Сергей Павлович (RU)
(73) Патентообладатель(и):
Морозов Сергей Павлович (RU)
|
(54) СОЛНЕЧНО-ТВЕРДОТОПЛИВНАЯ ЭЛЕКТРОСТАНЦИЯ
(57) Реферат:
Изобретение относится к области энергетики. Солнечно-твердотопливная электростанция содержит поршневой многоцилиндровый компрессор изотермического сжатия воздуха, солнечный спиральный нагреватель, имеющий теплозащиту, вход которого по воздуху соединен с выходом компрессора, выход по воздуху – с трубой спирального нагревателя от продуктов сгорания. В туннель между витками трубы спирального нагревателя от продуктов сгорания на встречных направлениях с воздухом пропускают продукты сгорания твердого топлива из двух печей. Одна из печей служит для сжигания угля, другая – для сжигания торфа, дров и угля. Выход спирального нагревателя от продуктов сгорания по воздуху связан с воздушной турбиной, соединенной с электрогенератором, обеспечивающим работу электродвигателей компрессора. Выход спирального нагревателя от продуктов сгорания по продуктам сгорания соединен со входом солнечного спирального нагревателя. Изобретение обеспечивает выработку электроэнергии на дешевом твердом топливе, высокую безопасность электростанции в эксплуатации и высокий КПД. 1 ил.
Станция позволяет рационально использовать твердое топливо: каменный уголь, торф и древесину для получения дешевой электроэнергии. Тепловые станции современного построения сложны в конструктивном исполнении, эксплуатации и имеют низкий КПД.
Предлагаемая электростанция проще в конструктивном исполнении, эксплуатации и обеспечивает повышение КПД. Станция особенно подходит для районов, где много дешевого твердого топлива.
Станция имеет компрессор изотермического сжатия воздуха, два спиральных нагревателя и две печи для сжигания твердого топлива и направления продуктов сгорания в спиральные нагреватели в туннели между витками спирали для нагрева рабочего тела на встречных направлениях с незначительным перепадом температур между потоками, движущимися навстречу друг другу. Небольшой перепад температур увеличит КПД, но и увеличит размеры спиральных нагревателей.
При этом важен выбор холодного источника с наиболее низкими температурами, выбор материалов для изготовления спиральных нагревателей и теплоизоляционных материалов для сохранения тепла в спиральных нагревателях и трубах.
Существенными признаками данной электростанции, использующей не только твердое топливо: каменный уголь, торф, древесные чурки, но и солнечную лучистую энергию, являются:
– наличие в конструкции станции компрессора изотермического сжатия воздуха (рабочего тела) для осуществления первого изотермического процесса термодинамического цикла, который обеспечит наибольший перепад температур, отдавая тепло холодному источнику – воде или низкозамерзающей жидкости при минусовых температурах (ниже 0°);
– наличие двух спиральных нагревателей: первого солнечного спирального нагревателя, где происходит превращение солнечной лучистой энергии в тепло, которое первоначально и нагревает сжатый воздух, поступающий из компрессора в него, и второго спирального нагревателя, в который поступает уже нагретое солнцем в солнечном спиральном нагревателе рабочее тело, в котором продолжается нагрев рабочего тела до заданной температуры уже за счет продуктов сгорания твердого топлива в печах. Таким образом, используется незатратная тепловая энергия от солнечной лучистой энергии, которая удешевляет получение электроэнергии электростанцией. Нагретое рабочее тело – это сжатый воздух, имеющий высокую температуру, пройдя через турбину, он превращает тепловую энергию, заключенную в нем, в механическую энергию, а затем при вращении турбиной электрогенератора – в электрическую энергию;
– незатратная солнечная энергия в общей сумме при нагреве рабочего тела составляет до 30%, остальные 70% получают за счет тепла дешевого твердого топлива. В конечном итоге получают дешевую электрическую энергию. В Российской Федерации мало солнечных дней, да и солнце мало посылает солнечной энергии, поэтому такие станции выгоднее строить в южных районах страны. Эти станции найдут широкое применение в бывших республиках СССР в Средней Азии и странах дальнего зарубежья, где много солнца и различного твердого топлива.
Кроме этого солнечно-твердотопливная станция в случае отсутствия твердого топлива может работать на природном газе, который подают сжатым до давления, равного давлению рабочего тела, в камеру сгорания, где он будет гореть и нагревать рабочее тело до заданной температуры. Потом, открыв заслонку с калиброванными отверстиями, рабочее тело направляют в турбину.
Станция обеспечивает повышение КПД и снижение расхода топлива при выработке электроэнергии, а также отличается простотой конструкции и эксплуатации.
Изобретение поясняется чертежом.
Чертеж состоит из трех основных узлов.
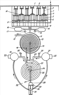
Верхняя часть чертежа представляет собой компрессор изотермического сжатия воздуха (рабочего тела). Рама компрессора 1 для крепления всех элементов конструкции компрессора: цилиндров с помощью креплений 4, червяков, электродвигателей и трубопроводов. Электродвигатели 2 служат для приведения в действие червячных передач. Червяки 3 предназначены для работы поршневой группы компрессора. Цилиндры 6 служат для вмещения воздуха и его сжатия. Штоки 5 цилиндров передают усилия на поршни. По трубе 7 из атмосферы поступает воздух. Сжатый воздух из цилиндров отводится по трубе 8 в солнечный спиральный нагреватель. Трубопроводы 9 служат для подачи первично сжатого воздуха из цилиндров большого объема в цилиндры малого объема. Муфты червяков 10 – для создания давления штоками на поршни при сжатии воздуха в цилиндрах.
Средняя часть чертежа – солнечный спиральный нагреватель. Солнечный спиральный нагреватель представляет собой трубу 11, свитую в спираль в одной плоскости, покрашенную черной краской для нагрева в ней рабочего тела солнечной лучистой энергией. В спиральный солнечный нагреватель сжатый воздух (рабочее тело) поступает по трубе 12. Труба 14 служит для подачи сжатого и нагретого воздуха (рабочего тела) в трубу спирального нагревателя от продуктов сгорания твердого топлива в печи. Продукты сгорания выводят в атмосферу через трубу 15. Для запуска станции в работу имеются баллоны со сжатым воздухом 16, который поступает в систему через краны открытия баллонов 17. В туннель солнечного спирального нагревателя 13 продукты сгорания твердого топлива подают по трубе 18 из печи 19 от сжигания каменного угля. Через краны 20 продукты сжигания подают из печи в спиральный нагреватель. Печь 21 служит для сжигания торфа, древесины и угля, которые загружают в печь через двери 22. По трубе 23 продукты сгорания твердого топлива из печи подают в туннель 25 спирального нагревателя. 24 – камера поступления продуктов сгорания топлива в спиральный нагреватель.
Нижняя часть чертежа – спиральный нагреватель от продуктов сгорания угля. Труба 26, свернутая в спираль, образует спиральный нагреватель. Между спиралями нагревателя проходит туннель 25. Для подачи рабочего тела в камеру служит труба 27. На случай отсутствия твердого топлива имеется камера 28 перед турбиной, в которую подается природный газ. В турбину рабочее тело подают через заслонку 29 с калиброванными отверстиями. Для превращения давления и тепла рабочего тела в механическую энергию служит рабочая турбина 30. Электрогенератор турбины 31 преобразует механическую энергию турбины в электрическую. По трубе 32 в печь подают мятое рабочее тело для увеличения теплотворной способности твердого топлива за счет положительной температуры рабочего тела.
Осуществление изобретения
Солнечно-твердотопливная уникальная электростанция состоит из следующих основных частей (см. чертеж):
– изотермического компрессора сжатия воздуха (верхняя часть чертежа) 1 с электродвигателями 2 и червячными передачами 3 для создания усилий давления на поршни с помощью штоков 5, которые сжимают атмосферный воздух в цилиндрах 6 до заданного давления 25 кг/см2;
– солнечного спирального нагревателя 11 с теплозащитой, накрывается стеклом или пленкой сверху (средняя часть чертежа);
– спирального нагревателя 26 рабочего тела, двигающегося с периферии к центру за счет тепла продуктов сгорания твердого топлива в печи 22 (нижняя часть чертежа);
– баллона 16 со сжатым воздухом для запуска турбины 30 путем подключения его к трубе солнечного спирального нагревателя 11;
– печи 21 для сжигания твердого топлива и трубы 23 для подачи продуктов сгорания угля в туннель 25 между витками спирали трубы 24 в спиральный нагреватель для продуктов сгорания угля в печи;
– воздушной турбины 30 с электрогенератором 31, при необходимости с редуктором при несоответствии оборотов турбины 30 и электрогенератора 31.
Работа солнечно-твердотопливной электростанции
1. Растопляют печь 21, заполненную на определенную величину твердым топливом (углем, торфом или древесными чурками), доведя температуру продуктов сгорания на 30-40°С больше, чем заданная для нагрева рабочего тела +820°С, т.е. надо иметь температуру продуктов сгорания +850-860°С для поступления в турбину 30.
2. Подключают баллон 16 со сжатым воздухом к трубе солнечного спирального нагревателя 11 для подачи его в турбину 30. Она начинает вращаться, работает электрогенератор 31, от которого работают электродвигатели компрессора 2, приводя в работу поршни с помощью червячных передач 3, сжатый в компрессоре воздух будет поступать в трубу 12 солнечного спирального нагревателя 11, далее в спиральный нагреватель 26 от продуктов сгорания угля в печи, где рабочее тело нагревается от них и поступает в турбину 30. Станция работает, вырабатывая электроэнергию электрогенератором 31, приводимым в работу турбиной 30.
3. Отключают от системы баллоны со сжатым газом 16. Продукты сгорания от горения угля в печи 21, отдав тепло рабочему телу, покидают спиральный нагреватель в атмосферу через трубу 15.
Регулируют параметры работы станции (давление, заданную температуру) температурой продуктов сгорания угля в печи 21, поступающих в спиральный нагреватель 26 посредством трубы 23. Чтобы получить наивысший КПД, надо поддерживать давление рабочего тела в системе в 25 кг/см2 и температуру на входе в турбину 30 в пределах +820-830°С, тогда КПД достигнет своего высшего значения – 75-80%. КПД можно увеличить, направив мятое рабочее тело из турбины 30 по трубе 32 в печь, что увеличит теплотворную способность угля, а равно и КПД станции, так как мятое рабочее тело – чистый воздух и имеет повышенную температуру по сравнению с температурой угля.
Цилиндры изотермического компрессора сжатия воздуха длиной 2 метра и больше изготовляют из нержавеющих металлов (сталь, титан), так как они будут находиться в воде. Цилиндры должны хорошо отдавать тепло воде при сжатии воздуха. Электродвигатели имеют концевые выключатели.
Солнечный спиральный нагреватель предпочтительно выполнять из алюминия: он мягкий, поэтому согнуть спираль из трубы легко, достаточно иметь два больших диска и один маленький, скрепить их болтами: малый диск посредине, в нем – отверстие, куда вставляется конец трубы. Диски закрепляют неподвижно, а трубу, двигаясь вокруг дисков, изгибают в спираль.
Спиральный нагреватель от тепла при горении твердого топлива в печи выполняют так же, как и солнечный спиральный нагреватель, но труба выполнена из тугоплавкого металла: стали или титана, которые должны выдерживать нагрев от угля до +1000°С. Печи выдерживают такую же температуру. Трубы от печи в центр спирали тоже выполнены из предложенных металлов и имеют хорошую теплоизоляцию, например асбест. Трубы из турбины в печи легкие, например из алюминия.
Турбины и электрогенератор выполняют по освоенным технологиям.
Формула изобретения
Солнечно-твердотопливная электростанция, содержащая поршневой многоцилиндровый компрессор изотермического сжатия воздуха, приводимый в действие электродвигателями, солнечный спиральный нагреватель, выполненный с возможностью подключения баллонов со сжатым воздухом, имеющий теплозащиту, вход которого по воздуху соединен с выходом компрессора, выход по воздуху – с трубой спирального нагревателя от продуктов сгорания, причем в туннель между витками трубы спирального нагревателя от продуктов сгорания на встречных направлениях с воздухом пропускают продукты сгорания твердого топлива из двух печей, одна из которых служит для сжигания угля, другая – для сжигания торфа, и дров, и угля, выход спирального нагревателя от продуктов сгорания по воздуху связан с воздушной турбиной, соединенной с электрогенератором, обеспечивающим работу электродвигателей компрессора, выход спирального нагревателя от продуктов сгорания по продуктам сгорания соединен со входом солнечного спирального нагревателя.
РИСУНКИ
|
|