|
|
(21), (22) Заявка: 2007142577/06, 19.11.2007
(24) Дата начала отсчета срока действия патента:
19.11.2007
(46) Опубликовано: 27.03.2009
(56) Список документов, цитированных в отчете о поиске:
SU 1673751 A1, 30.08.1991. JP 2000186656 A, 04.07.2000. GB 549462 A, 23.11.1942. US 5508566 A, 16.04.1996.
Адрес для переписки:
362040, РСО-Алания, г. Владикавказ, ул. Кирова, 37, ФГОУ ВПО “Горский государственный аграрный университет”
|
(72) Автор(ы):
Аджиманбетов Султанхан Багатович (RU), Есенов Ирбек Хаджимуратович (RU), Бурдзиев Артур Германович (RU)
(73) Патентообладатель(и):
Федеральное государственное образовательное учреждение высшего профессионального образования “Горский государственный аграрный университет” (RU)
|
(54) ВЫКЛЮЧАТЕЛЬ ЭЛЕКТРОСТАРТЕРА ДВС
(57) Реферат:
Выключатель электростартера в виде тягового реле относится к системе пуска силовых электроприводов и преимущественно применяется при электростартерном пуске двигателей внутреннего сгорания. Выключатель электростартера двигателя внутреннего сгорания содержит тяговое реле с подвижным контактом и неподвижным контактом, изолировано размещенным на корпусе стартера, плюсовая клемма стартера непосредственно присоединена к плюсовой клемме аккумуляторной батареи, минусовая клемма стартера отсоединена от корпуса стартера и в разрыве между клеммой и корпусом установлена контактная группа с одним разрывом выключателя стартера, причем подвижный контакт выключателя соединен гибким проводником с кузовом транспортного средства. Техническим результатом является упрощение конструкции выключателя и экономия цветного металла за счет организации одноразрывной контактной группы. 1 ил.
Изобретение относится к области автомобилестроения, а именно к устройствам включения электростартера двигателя внутреннего сгорания.
Известен выключатель электростартера в виде тягового реле с двумя неподвижными контактами, которые замыкаются подвижной контактной пластиной (Акимов С.В., Чижков Ю.П. «Электрооборудование автомобилей». – ж. За рулем, стр.145, 146). Указанный выключатель электростартера ДВС характеризуется сложностью конструкции, низкой надежностью и повышенным сопротивлением цепи питания двигателя электростартера из-за наличия двух контактных разрывов в цепи, что также повышает расход цветного металла.
Известен выключатель электростартера, встроенный в его корпус в виде тягового реле с двумя контактами (подвижный и неподвижный) (патент США №5508566, МПК F02 N 11/00, 1996 г.). Однако и этот выключатель отличается сложностью конструкции из-за необходимости изолирования контактов выключателя.
Цель изобретения – повышение надежности пуска двигателя внутреннего сгорания посредством упрощения конструкции выключателя и экономия цветного металла.
Указанная цель достигается непосредственным включением плюсовой клеммы стартера к плюсовой клемме аккумуляторной батареи, а минусовая клемма стартера отсоединена от корпуса стартера и в этот разрыв установлена контактная группа с одним выключателем стартера, причем подвижный контакт выключателя соединен гибким проводником с массой (кузовом транспортного средства). В отличие от прототипа подвижный контакт тягового реле не изолируется. Это и является существенным отличием, упрощающим конструкцию выключателя.
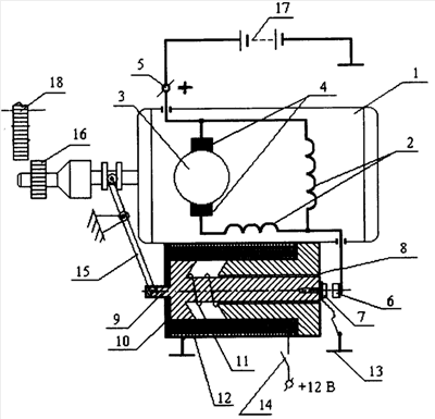
На чертеже представлен выключатель электростартера двигателя внутреннего сгорания. Выключатель электростартера ДВС состоит из минусового неподвижного контакта 6 стартера, изолированно размещенного на корпусе стартера, подвижного контакта 7, сердечника 8 тягового реле, якоря 9 тягового реле, каркаса 10 катушки тягового реле, пружины 11, обмотки 12 катушки, замыкающего контакта 14 реле запуска стартера, рычага 15 перемещения шестерни 16 привода ДВС. Кроме того, на чертеже представлены стартер 1, обмотки возбуждения 2 стартера, якорь 3 стартера, щетки стартера 4, плюсовая клемма 5 стартера, аккумуляторная батарея 17, венец 18 маховика ДВС.
Выключатель стартера работает следующим образом. Для включения стартера 1 замком зажигания автомобиля замыкается контакт 14 реле запуска стартера и запитывается обмотка 12 катушки тягового реле, создается электромагнитное поле, которое перемещает якорь 9 тягового реле, при этом замыкаются подвижный 7 и неподвижный 6 контакты и одновременно с помощью рычага 15 перемещается шестерня 16 для зацепления с венцом 18 маховика ДВС. Обмотки возбуждения стартера 2 и якорь 3 через щетки 4 от аккумуляторной батареи 17, через плюсовую клемму 5 стартера получают питание, якорь приводит во вращение венец маховика. После запуска ДВС размыкаются контакты реле 14. Якорь 9 тягового реле под действием пружины 11 возвращается в исходное состояние и обесточивает стартер 1.
Формула изобретения
Выключатель электростартера двигателя внутреннего сгорания, содержащий тяговое реле с подвижным контактом и неподвижным контактом, изолированно размещенным на корпусе стартера, отличающийся тем, что, с целью упрощения конструкции и экономии цветного металла, плюсовая клемма стартера непосредственно присоединена к плюсовой клемме аккумуляторной батареи, минусовая клемма стартера отсоединена от корпуса стартера и в разрыве между клеммой и корпусом установлена контактная группа с одним разрывом выключателя стартера, причем подвижный контакт выключателя соединен гибким проводником с кузовом транспортного средства.
РИСУНКИ
|
|