|
|
(21), (22) Заявка: 2007107965/06, 02.03.2007
(24) Дата начала отсчета срока действия патента:
02.03.2007
(43) Дата публикации заявки: 10.09.2008
(46) Опубликовано: 27.03.2009
(56) Список документов, цитированных в отчете о поиске:
SU 1671938 A1, 23.08.1991. SU 1719703 A1, 15.03.1992. SU 1539370 A1, 30.01.1990. SU 325403 A1, 01.01.1972. WO 2005010341 A1, 03.02.2005. WO 03031800 A1, 17.04.2003.
Адрес для переписки:
656023, Алтайский край, г.Барнаул, пр-кт Космонавтов, 8, В.А.Герману
|
(72) Автор(ы):
Герман Виктор Адольфович (RU), Дробышев Олег Владимирович (RU), Шаталов Геннадий Степанович (RU), Свещинский Владислав Октябревич (RU), Арчибасов Евгений Леонидович (RU), Лейтес Василий Дмитриевич (RU), Марков Олег Анатольевич (RU), Калинкин Леонид Михайлович (RU), Ершов Дмитрий Леонидович (RU)
(73) Патентообладатель(и):
ООО Управляющая компания “Алтайский завод прецизионных изделий” (RU)
|
(54) НАСОС-ФОРСУНКА
(57) Реферат:
Изобретение относится к двигателестроению и предназначено для подачи топлива в камеру сгорания дизельных двигателей. Изобретение позволяет улучшить характеристики впрыскивания топлива и повысить надежность работы насос-форсунок. Насос-форсунка включает корпус и соосно расположенные в нем камеры управления и нагнетания, смонтированные в них мультипликатор давления с поршнем и плунжером, линию подвода топлива с наполнительным клапаном, связанную с гидролинией аккумулятора, линию слива топлива из камеры управления, управляющий электромагнитный клапан, распылитель с иглой, имеющий подыгольную полость, связанную каналом с камерой нагнетания. Насос-форсунка снабжена мультипликатором гидрозапирания, смонтированным соосно распылителю с иглой, надпоршневая полость которого связана топливным каналом непосредственно с гидролинией аккумулятора. Подпоршневая полость мультипликатора гидрозапирания, она же надыгольная полость распылителя, соединена с дополнительно выполненным каналом слива, связанным с полостью слива после электромагнитного клапана. 7 з.п. ф-лы, 2 ил.
Изобретение относится к области двигателестроения и предназначено для подачи топлива в камеру сгорания дизельных двигателей.
Известна топливовпрыскивающая система аккумулирующего типа для двигателя внутреннего сгорания (см. а.с.1671938 A1, F 02 М 41/02. Публ. 23.08.91 г.). Топливовпрыскивающая система содержит источник постоянного давления топлива (аккумулятор), корпус, подводящую и сливную гидролинии (каналы), размещенные в корпусе, гидроуправляемый, установленный в управляющей полости, дифференциальный клапан с дроссельным отверстием, усилитель давления (мультипликатор), выполненный со ступенчатым плунжером в виде приводного и рабочего цилиндров с приводной и рабочей полостями, обратный (наполнительный) клапан, вход которого сообщен подводящей гидролинией (подводящим каналом) с источником постоянного давления, форсунку с гидрозапираемой подпружиненной иглой распылителя, надыгольной запорной и подыгольной камерами и сопловыми отверстиями.
Система содержит орган управления впрыском, выполненный в виде управляемого запорного элемента с электромагнитным приводом, установленного в линии связи управляющей полости дифференциального клапана со сливным каналом, при этом мультипликатор подключен приводной полостью через гидроуправляемый дифференциальный клапан и гидролинию к источнику постоянного давления топлива (к аккумулятору). Рабочая полость сообщена с выходом обратного клапана и подыгольной камерой.
Дифференциальный клапан выполнен с возможностью открытия в сторону приводной полости в виде тарельчатого запорного элемента с направляющей и конической запорной поверхностями с дифференциальной площадкой, размещенной на конической запорной поверхности. Приводная полость сообщена через дроссельное отверстие с управляющей полостью, а надыгольная запорная камера и рабочая полость сообщены между собой каналами с возможностью перекрытия этих каналов при рабочем и наполнительном ходах плунжера. Каналы сообщаются друг с другом при помощи кольцевой проточки, размещенной на наружной поверхности рабочего цилиндра. Под приводным цилиндром выполнена выточка, являющаяся продолжением рабочей полости и сообщенная со сливной гидролинией (каналом) выше уровня упорной поверхности.
К недостаткам известной конструкции можно отнести ее сложность, в частности наличие гидроуправляемого дифференциального клапана и сложность выполнения технологических операций при его изготовлении, наличие высокой вероятности разрушения корпуса усилителя давления (мультипликатора) из-за утонения стенок в зоне наполнительного клапана и сложность алгоритма управления временем начала подачи топлива, учитывая его непрямолинейную зависимость от цикловой подачи топлива.
Известно более совершенное устройство аналогичного назначения – прототип – «Электроуправляемая форсунка для двигателя внутреннего сгорания» а.с. №1260551, F 02 М 51/00. Публ. 30.09.86 г. Топливная система содержит насос высокого давления, связанный с аккумулятором, к которому присоединена форсунка, управляемая при помощи электромагнитного клапана. Электроуправляемая форсунка содержит корпус, в котором соосно расположены камера управления и камера нагнетания, выполненные в виде цилиндрических каналов, рабочий и нагнетательный плунжеры, размещенные в соответствующих цилиндрических каналах камер управления и нагнетания.
Насоса-форсунка включает также линию подвода топлива с дросселем, связанную с аккумулятором, линию слива, присоединенную к камере управления, и электромагнитный клапан, установленный в линии слива. Электроуправляемая форсунка содержит также распылитель с иглой, разделяющей надыгольную и подыгольную полости, связанные соответствующими каналами с камерой управления и камерой нагнетания. Форсунка снабжена впускным клапаном, нагруженным пружиной и установленным в линии подвода топлива. Впускной клапан выполнен в виде запорного органа с первым и вторым противоположно расположенными уплотнительными элементами и размещен в камере нагнетания. Рабочий и нагнетательный плунжеры выполнены заодно, нагружены пружиной и снабжены сквозным осевым каналом, связанным с линией подвода топлива, выведенным на торец нагнетательного плунжера со стороны камеры нагнетания и запираемым при нагнетании первым уплотнительным элементом впускного клапана. Камера управления связана с гидролинией аккумулятора через дроссель, который выполнен в виде радиального отверстия в стенке нагнетательного плунжера. Соединительный канал между камерой нагнетания и подыгольной полостью размещен напротив второго уплотнительного элемента впускного клапана, запирающего соединительный канал при зависании иглы распылителя. Увеличение давления впрыска топлива по отношению к давлению топлива в аккумуляторе происходит пропорционально отношению площадей рабочего и нагнетательного плунжеров.
К недостаткам прототипа можно отнести трудности изготовления и согласования работы отдельных элементов форсунки, таких как рабочий и нагнетательный плунжеры, выполненные как одна деталь, впускной клапан с двумя противоположно расположенными уплотнительными элементами, и сложности с получением оптимальной характеристики впрыска из-за гидравлического запирания иглы распылителя давлением топлива из камеры управления.
Технической задачей настоящего изобретения является устранение недостатков прототипа, в частности улучшение характеристик впрыскивания топлива и повышение надежности работы насоса-форсунки.
Поставленная изобретением техническая задача достигается тем, что насоса-форсунка снабжена мультипликатором гидрозапирания, смонтированным соосно распылителю с иглой, надпоршневая полость которого связана топливным каналом непосредственно с гидролинией аккумулятора, а подпоршневая полость мультипликатора гидрозапирания, она же надыгольная полость распылителя, соединена с дополнительно выполненным каналом слива, связанным с полостью слива после электромагнитного клапана.
Отношение диаметра поршня мультипликатора гидрозапирания к диаметру иглы распылителя выполнено как 1,0 : 0,4-1,0.
Отношение диаметра отверстия подвода топлива в полость управления к наименьшему диаметру гидролинии слива из нее, связанной с электромагнитным клапаном, выполнено как 1,0 : 3,0-8,0.
Отношение площади поперечного сечения дополнительной гидролинии слива из подпоршневой полости мультипликатора гидрозапирания (надыгольной полости распылителя) к суммарной площади сечения сопловых отверстий распылителя выполнены как 1,0 : 0,05-0,2.
Отношение площади проходного сечения электромагнитного клапана к площади поперечного сечения гидролинии слива выполнено как 1,0 : 1,0-2,5.
Отношение диаметральной площади электромагнитного клапана к суммарной площади сопловых отверстий распылителя выполнено как 1,0 : 0,001-0,02.
Отношение рабочего усилия пружины электромагнитного клапана к номинальному усилию электромагнита выполнено как 1,0 : 2-5.
Отношение объема полости слива после электромагнитного клапана к цикловой подаче топлива на номинальном режиме выполнено как 1,0 : 0,004-0,05.
Новизной в предложенном устройстве является то, что в конструкцию насоса-форсунки введен мультипликатор гидрозапирания иглы распылителя от гидролинии аккумулятора, смонтированный соосно распылителю с иглой, надпоршневая полость которого связана топливным каналом непосредственно с гидролинией аккумулятора, а подпоршневая полость мультипликатора гидрозапирания (она же надыгольная полость распылителя) соединена с дополнительно выполненным каналом слива (отвода) топлива, просочившегося через неплотности прецизионных пар мультипликатора гидрозапирания и распылителя, связанным с полостью слива после электромагнитного клапана. Указанные признаки являются новыми, существенными, неочевидными и промышленно выполнимыми и направлены на достижение поставленной изобретением технической задачи. Наличие канала слива топлива позволяет удалить топливо, скопившееся в надыгольной полости и просочившееся в нее через зазоры прецизионных пар между поршнем и корпусом мультипликатора гидрозапирания и между иглой и корпусом распылителя, что существенно влияет на характеристики впрыска.
Такое выполнение насоса-форсунки позволяет получать оптимальные характеристики впрыска топлива с высоким уровнем давления и сжатыми начальной и конечной фазами. Энергичность впрыска обеспечивается за счет непосредственной связи поршня мультипликатора гидрозапирания с гидролинией аккумулятора и соотношением диаметра поршня мультипликатора гидрозапирания к диаметру направляющей части иглы распылителя.
Соотношения диаметров, площадей, усилий одного элемента к другому в предлагаемом насосе-форсунке являются признаками дополнительными, способствующими достижению поставленной изобретением технической задачи. Так, нижняя граница отношения 1,0 : 0,4 – отношения диаметра поршня мультипликатора гидрозапирания к диаметру иглы распылителя определяется, с одной стороны, габаритами насоса-форсунки, с другой, – количеством топлива, отводимого от насоса-форсунки на слив. При уменьшении указанного отношения чрезмерно увеличивается диаметр поршня мультипликатора гидрозапирания и насос-форсунка получается громоздкой с большой металлоемкостью и связанными с этим трудностями установки насосов-форсунок на двигатель. Верхняя граница отношения – 1,0 определяется величиной мультипликации (увеличения давления) топлива, подводимого к игле распылителя сверху через поршень мультипликатора гидрозапирания.
Нижняя граница отношения диаметра отверстия подвода топлива в полость управления к наименьшему диаметру гидролинии слива из нее – 3,0 получается при максимально целесообразном диаметре отверстия подвода топлива в полость управления к минимально возможному диаметру гидролинии слива из нее. Уменьшение диаметра гидролинии слива ниже 3,0 будет излишне дроселировать поток сливаемого топлива из управляющей полости, что приведет к чрезмерному растягиванию во времени процесса впрыска топлива. Увеличение отношения диаметра отверстия подвода топлива в полость управления к наименьшему диаметру гидролинии слива из нее, связанной с электромагнитным клапаном, более 8,0 будет вести к увеличению ее габаритов, снижению надежности работы при тонких стенках, что приведет к увеличению металлоемкости насоса-форсунки.
Нижняя граница отношения площади поперечного сечения дополнительной гидролинии слива из подпоршневой полости мультипликатора гидрозапирания (она же надыгольная полость распылителя) к суммарной площади сечения сопловых отверстий распылителя 0,05 определяется максимальной площадью поперечного сечения дополнительной гидролинии слива и минимальной площадью сопловых отверстий, дающих устойчивый положительный результат. Нижняя граница отношения (0,05) получается при максимальной площади поперечного сечения (т.е. соответствующего диаметра) дополнительной гидролинии слива из подпоршневой полости мультипликатора гидрозапирания, с одной стороны, и минимальной площади сопловых отверстий распылителя, с другой стороны. Эта граница отношений площадей определяет максимальные размеры насоса-форсунки при приемлемой надежности изделия. При уменьшении площади поперечного сечения гидролинии слива возникают проблемы с получением оптимальных характеристик впрыска топлива. Верхняя граница отношения (0,2) получается при обратном (по отношению к нижней границе) соотношении площадей. При этом при дальнейшем уменьшении площади поперечного сечения, или диаметра гидролинии слива из подпоршневой полости мультипликатора гидрозапирания иглы распылителя, могут быть проблемы как с получением оптимальных характеристик впрыска топлива, так и с изготовлением дренажных (сливных) каналов малого диаметра, проходящих практически по всей высоте насоса-форсунки. Минимальная величина соотношения площади поперечного сечения электромагнитного клапана к площади поперечного сечения основной гидролинии слива, равная 1,0, говорит о том, что площадь поперечного сечения гидролинии слива не должна быть меньше максимальной площади проходного сечения электромагнитного клапана. В противном случае невозможно получить оптимальные характеристики впрыска при наибольших цикловых подачах топлива. Верхняя граница – 2,5 ограничивается максимально возможными размерами насоса-форсунки или снижением надежности ее работы за счет утонения стенок. Соотношения размеров других элементов насоса-форсунки, в частности площади электромагнитного клапана и площади сопловых отверстий, отношение усилия пружины электромагнитного клапана к номинальному усилию электромагнита, отношение полости слива после электромагнитного клапана к цикловой подаче топлива определены исходя из надежности конструкции насоса-форсунки, обеспечения приемлемых габаритов, позволяющих разместить их на двигателе и обеспечить оптимальные характеристики впрыска топлива.
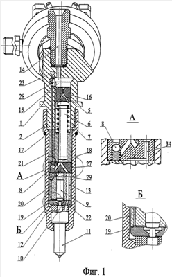
На фиг.1 представлена предлагаемая насоса-форсунка в разрезе, не проходящем через электромагнитный клапан. А – детализированный разрез наполнительного клапана с каналами, Б – детализированный разрез с дополнительным каналом слива топлива и надыгольной полостью.
На фиг.2 представлена предлагаемая насоса-форсунка в разрезе через электромагнитный клапан.
Насоса-форсунка состоит их корпуса 1, гайки 2, корпуса 3 электромагнитного клапана 4, поршня 5 и плунжера 6. Поршень 5 и плунжер 6 под действием пружины 7 находятся в постоянном соприкосновении друг с другом. Наполнительный клапан 8 смонтирован в отдельной проставке. Поршень 9 мультипликатора гидрозапирания под действием давления топлива в гидролинии аккумулятора поджимает иглу 10 к корпусу 11 распылителя. Промежуточная проставка 12 смонтирована между проставкой 13 мультипликатора гидрозапирания и корпусом 11 распылителя. Топливо по каналу 14 постоянно под давлением, равным давлению топлива в гидравлической системе аккумулятора (на чертеже не показана), подается в приводную полость 15, расположенную над поршнем 5. Через отверстие 16 в поршне 5 в полость управления 17 и через наполнительный клапан 8 в полость 18 под плунжером 6. Дополнительный канал слива топлива образован каналами 19 и 20, выполненными в проставке 13 мультипликатора гидрозапирания, каналом в проставке наполнительного клапана 8, каналом в корпусе 21 плунжера 6 и каналом в корпусе 1 насоса-форсунки и соединяет надыгольную полость 22 с отводным каналом 23, связанным с полостью 24 слива топлива после электромагнитного клапана 4. Надыгольная полость 22 одновременно является и полостью под поршнем 9 мультипликатора гидрозапирания. Полость слива 24 электромагнитного клапана 4 периодически соединяется через электромагнитный клапан 4 при помощи канала 25 и кольцевой проточки 26 в электромагнитном клапане 4 слива топлива с полостью управления 17. Полость 18 под плунжером 6 связана с подыгольной полостью корпуса 11 распылителя при помощи каналов 27, выполненных под углом друг к другу в проставке наполнительного клапана 8, и каналов в проставке 13 мультипликатора гидрозапирания, в промежуточной проставке 12 и в корпусе 11 распылителя. Приводная полость 15 связана каналом 28 с полостью 29 выполненной над поршнем 9 мультипликатора гидрозапирания. Между электромагнитом 30 и якорем 31 выполнен зазор 32. В электромагнит 30 установлена пружина 33, возвращающая электромагнитный клапан 4 в исходное положение. Канал 28 связан с надпоршневой полостью 29 мультипликатора гидрозапирания при помощи фасонного канала 34.
Предлагаемое устройство – насоса-форсунка работает следующим образом.
В исходном положении, перед подачей управляющего импульса, мультипликатор (поршень 5 и плунжер 6) находится в крайнем верхнем положении. При подаче управляющего импульса на электромагнит 30 якорь 31 притягивается к электромагниту 30, выбирая зазор 32 и преодолевая сопротивление пружины 33. При этом электромагнитный клапан 4, перемещаясь вверх, соединяет при помощи канала слива топлива 25 и кольцевой проточки 26 полость управления 17 с полостью слива 24. При этом давление в полости управления 17 снижается. Как только сила давления топлива в приводной полости 15, постоянно связанной с гидравлической линией аккумулятора, превысит суммарное усилие трех составляющих давлений (давление в полости управления 17, давление в полости нагнетания 18 и сопротивление пружины 7 плунжера 6), поршень 5 и плунжер 6 начнут перемещаться вниз в сторону корпуса 11 распылителя. Когда при перемещении поршня 5 и плунжера 6 вниз давление в полости нагнетания 18 превысит давление в приводной полости 15, наполнительный клапан 8 закрывается. При этом давление топлива из полости нагнетания 18 по каналу 27 передается в подыгольную полость иглы 10 корпуса 11 распылителя.
Как только усилие давления топлива, действующего на иглу 10 распылителя снизу, превысит суммарное усилие, действующее на иглу сверху от поршня 9 мультипликатора гидрозапирания, происходит подъем поршня 9 мультипликатора гидрозапирания и иглы 10 корпуса 11 распылителя. При этом начинается впрыск топлива. На поршень 9 мультипликатора гидрозапирания сверху через канал 28 постоянно действует давление топлива, равное давлению топлива в гидросистеме аккумулятора,
По окончании управляющего импульса электромагнитный клапан 4 разгружается от сил притяжения, действующих в магнитном поле, и возвращается в исходное положение под действием пружины 33, перекрывая слив топлива из полости управления 17. Окончание впрыска происходит при закрытии иглы 10 корпуса 11 распылителя под воздействием поршня 9 мультипликатора гидрозапирания за счет аккумуляторного давления топлива из приводной полости 15 при помощи канала 28 и фасонного канала 34. За счет постоянного поступления топлива в полость управления 17 через отверстие 16 в поршне 5 и прекращения слива топлива через канал 25, а также за счет поступления топлива в полость нагнетания 18 через открытый наполнительный клапан 8 давление в полостях управления 17 и нагнетания 18 увеличивается до величины аккумуляторного давления в системе. Поршень 5 и плунжер 6 становятся гидравлически уравновешенными и начинают подниматься в исходное положение под действием пружины 7 плунжера 6.
При поступлении последующего управляющего сигнала на электромагнитный клапан взаимодействие частей и механизмов насоса-форсунки повторяется.
В настоящее время на предприятии изготовлено несколько опытных образцов предлагаемой насоса-форсунки, которые проходят испытания на двигателях. Предварительные результаты испытаний подтверждают улучшение характеристик впрыскивания топлива, повышение надежности работы насоса-форсунки, экологических и экономических показателей работы дизелей по сравнению с традиционной топливной аппаратурой.
По окончании испытаний будет принято решение об организации производства предлагаемых насосов-форсунок.
Формула изобретения
1. Насос-форсунка, включающая корпус и соосно расположенные в нем камеры управления и нагнетания, смонтированные в них мультипликатор давления с поршнем и плунжером, линию подвода топлива с наполнительным клапаном, связанную с гидролинией аккумулятора, линию слива топлива из камеры управления, управляющий электромагнитный клапан, распылитель с иглой, имеющий подыгольную полость, связанную каналом с камерой нагнетания, отличающаяся тем, что насос-форсунка снабжена мультипликатором гидрозапирания, смонтированным соосно с распылителем с иглой, надпоршневая полость которого связана топливным каналом непосредственно с гидролинией аккумулятора, а подпоршневая полость мультипликатора гидрозапирания, она же надыгольная полость распылителя, соединена с дополнительно выполненным каналом слива, связанным с полостью слива после электромагнитного клапана.
2. Насос-форсунка по п.1, отличающаяся тем, что отношение диаметра мультипликатора гидрозапирания к диаметру иглы распылителя выполнено как 1,0 к 0,4-1,0.
3. Насос-форсунка по п.1, отличающаяся тем, что отношение диаметра отверстия подвода топлива в полость управления к наименьшему диаметру гидролинии слива из нее, связанной с электромагнитным клапаном, выполнено как 1,0 к 3,0-8,0.
4. Насос-форсунка по п.1, отличающаяся тем, что отношение площади поперечного сечения дополнительной гидролинии слива из подпоршневой полости мультипликатора гидрозапирания (надыгольной полости распылителя) к суммарной площади сечения сопловых отверстий распылителя выполнено как 1,0 к 0,05-0,2.
5. Насос-форсунка по п.1, отличающаяся тем, что отношение площади проходного сечения электромагнитного клапана к площади поперечного сечения гидролинии слива выполнено как 1,0 к 1,0-2,5.
6. Насос-форсунка по п.1, отличающаяся тем, что отношение диаметральной площади электромагнитного клапана к суммарной площади сопловых отверстий распылителя выполнено как 1,0 к 0,001-0,02.
7. Насос-форсунка по п.1, отличающаяся тем, что отношение рабочего усилия пружины электромагнитного клапана к номинальному усилию электромагнита выполнено как 1,0 к 2-5.
8. Насос-форсунка по п.1, отличающаяся тем, что отношение объема полости слива после электромагнитного клапана к цикловой подаче топлива на номинальном режиме выполнено как 1,0 к 0,004…0,05.
РИСУНКИ
|
|