|
|
(21), (22) Заявка: 2007130656/06, 10.08.2007
(24) Дата начала отсчета срока действия патента:
10.08.2007
(46) Опубликовано: 27.03.2009
(56) Список документов, цитированных в отчете о поиске:
RU 2290523 C1, 27.12.2006. RU 2066386 C1, 10.09.1996. RU 2069780 С1, 27.11.1996. RU 2237180 С1, 27.09.2004. DE 4207275 А1, 09.09.1993. JP 2001073805 А, 21.03.2001. US 4407245 А, 04.10.1983.
Адрес для переписки:
454080, г.Челябинск, пр-кт им. В.И. Ленина, 76, ЮУрГУ, технический отдел
|
(72) Автор(ы):
Мурзин Владимир Степанович (RU), Мурдасов Борис Александрович (RU), Шешуков Виктор Валерьевич (RU), Бунова Елена Вячеславовна (RU)
(73) Патентообладатель(и):
Государственное образовательное учреждение высшего профессионального образования “Южно-Уральский государственный университет” (RU)
|
(54) ЭЛЕКТРОННЫЙ РЕГУЛЯТОР ЧАСТОТЫ ВРАЩЕНИЯ ДЛЯ УПРАВЛЕНИЯ ПОДАЧЕЙ ТОПЛИВА ТОПЛИВНЫМ НАСОСОМ ВЫСОКОГО ДАВЛЕНИЯ
(57) Реферат:
Изобретение относится к области двигателестроения, в частности к конструкции электронных регуляторов топливных насосов высокого давления (ТНВД) дизельных двигателей. Технический результат – долговечность электронного регулятора. Электронный регулятор частоты вращения для управления подачей топлива топливным насосом высокого давления содержит электронный блок управления, исполнительный механизм, датчик положения рейки, выполненный за одно целое с рейкой. В исполнительном механизме подвижная катушка якоря имеет подпружиненные щетки, контактирующие с неподвижными стержнями. 2 ил.
Изобретение относится к области двигателестроения, в частности к конструкции электронных регуляторов топливных насосов высокого давления (ТНВД) дизельных двигателей.
Регулятор является одним из основных узлов топливного насоса высокого давления дизеля. Он поддерживает постоянство режима работы дизеля, задаваемого с пульта управления, ограничивает максимальную и минимальную частоту вращения коленчатого вала.
Известна конструкция электронного регулятора фирмы Bosch (B.К.Горбаченко, В.В.Курманов, М.В.Мазинг. Электронные системы управления подачей топлива в дизелях. – М.: ЦНИИТЗИавтопром, 1989, с.18-20), содержащая электронный блок управления подачей топлива, электронный задатчик нагрузки, исполнительный механизм с конусообразным седлом и стержнем электромагнита, емкостный датчик положения рейки, которая расширяет функции регулятора, а именно позволяет регулировать подачу топлива в зависимости от температуры, давления на входе воздуха в цилиндр, температуры охлаждающей жидкости, дымности отработавших газов и т.д.
Недостатком известной конструкции электронного регулятора является использование достаточно сложного, а следовательно, менее надежного и дорогого задатчика нагрузки. В основе его устройства лежит потенциометрический датчик положения педали управления, задающий режим работы. Задатчик размещен в защитном кожухе, в одной из полостей которого находятся две сдублированные возвратные пружины и фрикционный диск, который обеспечивает нормирование моментов прямого и обратного ходов с необходимым гистерезисом для надежного определения хода педали. Для реализации режима форсировки (“кик-даун”) в задатчике предусмотрено устройство, создающее повышенное сопротивление повороту незадолго перед концом рабочего хода педали водителя. Такой всплеск момента сопротивления необходим для четкой фиксации включения форсированных режимов. Устройство регулируется с помощью подпружиненных шариков, переходящих при повороте на поверхность меньшего радиуса. В другой полости задатчика размещен потенциометр. Для достижения высокой надежности и долговечности токопроводящая дорожка потенциометра и подвижный контакт тщательно выполняются из качественных материалов.
Наиболее близкой к заявляемой является конструкция электронного регулятора (Патент РФ №2290523 «Электронный регулятор частоты вращения для управления подачей топлива топливным насосом высокого давления», опубл. 27 декабря 2006 г., заявка №2005123624/06, зарегистрированный в Государственном реестре изобретений 27 декабря 2005 г., авторы В.М.Бунов, B.C.Мурзин, Б.А.Мурдасов, В.В.Шешуков, Г.Н.Терентьев, Е.В.Бунова, А.Е.Сафонов), выбранная в качестве прототипа, содержащая электронный блок управления, исполнительный механизм, датчик положения рейки, выполненный за одно целое с рейкой, где датчик положения расположен внутри исполнительного механизма, а обмотки датчика положения размещены на внутренней поверхности магнитопровода.
Недостатком известной конструкции является наличие циклического изгибающего нагружения на токоподводящие провода подвижной катушки якоря исполнительного механизма, что ухудшает надежность работы регулятора.
Заявляемое изобретение решает задачу повышения надежности и долгоговечности электронного регулятора.
Указанная задача решается тем, что в электронном регуляторе частоты вращения для управления подачей топлива топливным насосом высокого давления, содержащем электронный блок управления, исполнительный механизм, датчик положения рейки, выполненный за одно целое с рейкой, согласно данному изобретению в исполнительном механизме подвижная катушка якоря имеет подпружиненные щетки, контактирующие с неподвижными стержнями.
В результате по сравнению с прототипом управляющее напряжение подается на неподвижные стержни, контактирующие с подпружиненными щетками подвижной катушки якоря, вследствие чего не происходит циклического изгибающего нагружения на токоподводящие провода подвижной катушки, что увеличивает ресурс подвижной катушки и облегчает техническое обслуживание электронного регулятора.
В схеме реализованы основная обратная связь по частоте вращения коленчатого вала дизеля и дополнительные обратные связи по положению рейки топливного насоса и по току обмотки исполнительного механизма. Обратная связь по частоте вращения коленчатого вала дизеля служит для поддержания заданной частоты вращения. Обратная связь по положению рейки топливного насоса предназначена для обеспечения необходимого диапазона перемещения рейки топливного насоса. При подаче сигнала задания частоты вращения коленчатого вала (сигнал задается в форме напряжения) регулятор осуществляет сравнение сигнала задания и сигнала обратной связи от датчика частоты вращения и вырабатывает управляющий сигнал (сигнал ошибки). Усиленный сигнал ошибки, сигнал обратной связи по положению рейки топливного насоса, сигнал скорости перемещения рейки, вычисленный прямым дифференцированием сигнала о положении рейки, а также сигнал обратной связи по току суммируются, после чего он поступает на вход силового ключа, работающего в импульсном режиме, к выходу которого через контактные стержни и щетки подключен якорь исполнительного механизма, связанного с рейкой топливного насоса высокого давления. Исполнительный механизм изменяет величину подачи топлива, увеличивая или уменьшая частоту вращения коленчатого вала.
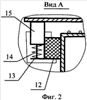
Предлагаемое техническое решение иллюстрируется чертежами. На фиг.1 изображен электронный регулятор. На фиг.2 изображен щеточный узел.
Электронный регулятор содержит блок управления (на чертеже не указан), связанный со всеми узлами регулятора посредством проводной сети, исполнительный механизм 1, у которого шток 2 якоря 3 жестко закреплен на сердечнике 4 датчика положения 5 рейки 6, выполненном за одно целое с рейкой 6 топливного насоса высокого давления 7. Регулятор содержит также магнитопровод 8, жестко закрепленный на корпусе топливного насоса 7, возбуждающую 9 и измерительную 10 обмотки датчика положения 5 рейки 6 ТНВД, размещенные на внутренней поверхности магнитопровода 8, и сердечник 4 датчика положения 5, помещенный внутрь магнитопровода 8, токоподводящие стержни 11, подключенные через разъемы а и b к источнику управляющего напряжения (на чертеже не указан).
На якоре 3 исполнительного механизма 1 расположен изолятор 12, контакт подвижной катушки 13, пружина 14 и щетка 15.
Паразитные наводки, наводимые якорной обмоткой электромагнита на измерительную обмотку датчика положения рейки ТНВД, учитываются специальными фильтрами блока управления и нейтрализуются.
Электронный регулятор представляет замкнутую схему автоматического регулирования частоты вращения коленчатого вала дизеля.
Принцип действия исполнительного механизма электронного регулятора основан на механическом воздействии на проводник с током, помещенный в магнитное поле. Катушка магнитопровода 8, подключенная к источнику постоянного напряжения, создает постоянное магнитное поле, в зазоре которого находится обмотка якоря 3. На обмотку якоря 3 через контактные стержни 11 и щетки 15 подается управляющий ток от блока управления. В зависимости от величины и направления управляющего тока якорь 3, жестко закрепленный на штоке 2, выполненном за одно целое с рейкой 6 топливного насоса 7, будет перемещаться влево и вправо, увеличивая или уменьшая подачу топлива.
Предложенная модификация электронного регулятора применима для любых типов дизельных двигателей, не требует изменения конструкции топливного насоса, а его стоимость остается на том же уровне, что и у аналогов, при достигнутых ее достоинствах, что способствует ее внедрению на производство.
Формула изобретения
Электронный регулятор частоты вращения для управления подачей топлива топливным насосом высокого давления, содержащий электронный блок управления, исполнительный механизм, датчик положения рейки, выполненный за одно целое с рейкой, отличающийся тем, что в исполнительном механизме подвижная катушка якоря имеет подпружиненные щетки, контактирующие с неподвижными стержнями.
РИСУНКИ
|
|