|
|
(21), (22) Заявка: 2007130657/06, 10.08.2007
(24) Дата начала отсчета срока действия патента:
10.08.2007
(46) Опубликовано: 27.03.2009
(56) Список документов, цитированных в отчете о поиске:
RU 2290523 C1, 27.12.2006. RU 2066386 C1, 10.09.1996. RU 2069780 С1, 27.11.1996. RU 2237180 C1, 27.09.2004. DE 4207275 А1, 09.09.1993. JP 2001073805 А, 21.03.2001. US 4407245 А, 04.10.1983.
Адрес для переписки:
454080, г.Челябинск, пр-кт им. В.И. Ленина, 76, ЮУрГУ, технический отдел
|
(72) Автор(ы):
Мурзин Владимир Степанович (RU), Мурдасов Борис Александрович (RU), Шешуков Виктор Валерьевич (RU), Бунова Елена Вячеславовна (RU)
(73) Патентообладатель(и):
Государственное образовательное учреждение высшего профессионального образования “Южно-Уральский государственный университет” (RU)
|
(54) ЭЛЕКТРОННЫЙ РЕГУЛЯТОР ЧАСТОТЫ ВРАЩЕНИЯ ДЛЯ УПРАВЛЕНИЯ ПОДАЧЕЙ ТОПЛИВА ТОПЛИВНЫМ НАСОСОМ ВЫСОКОГО ДАВЛЕНИЯ
(57) Реферат:
Изобретение относится к области двигателестроения, в частности к конструкции электронных регуляторов топливных насосов высокого давления (ТНВД) дизельных двигателей. Технический результат – повышение надежности и долговечности электронного регулятора. Электронный регулятор частоты вращения для управления подачей топлива топливным насосом высокого давления содержит электронный блок управления, исполнительный механизм, датчик положения рейки, выполненный за одно целое с рейкой. Исполнительный механизм содержит катушку магнитопровода, подключенную к источнику управляющего напряжения, и короткозамкнутую катушку якоря, находящуюся в зазоре магнитопровода. 1 ил.
Изобретение относится к области двигателестроения, в частности к конструкции электронных регуляторов топливных насосов высокого давления (ТНВД) дизельных двигателей.
Регулятор является одним из основных узлов топливного насоса высокого давления дизеля. Он поддерживает постоянство режима работы дизеля, задаваемого с пульта управления, ограничивает максимальную и минимальную частоту вращения коленчатого вала.
Известна конструкция электронного регулятора фирмы Bosch (Горбаченков В.К. и др. Электронные системы управления подачей топлива в дизелях. – М.: ЦНИИ-ТЭИавтопром, 1989, с.15-21), содержащая электронный блок управления подачей топлива, электронный задатчик нагрузки, исполнительный механизм с конусообразным седлом и стержнем электромагнита, емкостный датчик положения рейки, которая расширяет функции регулятора, а именно позволяет регулировать подачу топлива в зависимости от температуры, давления на входе воздуха в цилиндр, температуры охлаждающей жидкости, дымности отработавших газов и т.д.
Недостатком известной конструкции электронного регулятора является использование достаточно сложного, а следовательно, менее надежного и дорогого задатчика нагрузки. В основе его устройства лежит потенциометрический датчик положения педали управления, задающий режим работы. Задатчик размещен в защитном кожухе, в одной из полостей которого находятся две сдублированные возвратные пружины и фрикционный диск, который обеспечивает нормирование моментов прямого и обратного ходов с необходимым гистерезисом для надежного определения хода педали. Для реализации режима форсировки (“кик-даун”) в задатчике предусмотрено устройство, создающее повышенное сопротивление повороту незадолго перед концом рабочего хода педали водителя. Такой всплеск момента сопротивления необходим для четкой фиксации включения форсированных режимов. Устройство регулируется с помощью подпружиненных шариков, переходящих при повороте на поверхность меньшего радиуса. В другой полости задатчика размещен потенциометр. Для достижения высокой надежности и долговечности токопроводяшая дорожка потенциометра и подвижный контакт тщательно выполняются из качественных материалов.
Наиболее близкой к заявляемой является конструкция электронного регулятора (патент РФ №2290523 “Электронный регулятор частоты вращения для управления подачей топлива топливным насосом высокого давления”, МПК6 F02D 1/08, опубл. 27 декабря 2006 г., авторы В.М.Бунов, B.C.Мурзин, Б.А.Мурдасов, В.В.Шешуков, Г.Н.Терентьев, Е.В.Бунова, А.Е.Сафонов), выбранная в качестве прототипа, содержащая блок управления; электромагнитный исполнительный механизм; датчик положения рейки, выполненный за одно целое с рейкой; датчик положения, расположенный внутри исполнительного механизма, а обмотки датчика положения размещены на внутренней поверхности магнитопровода. В исполнительном механизме данного изобретения катушка магнитопровода подключена к источнику постоянного напряжения и создает постоянное магнитное поле, в зазоре которого находится обмотка катушки якоря, к которой подается управляющий ток.
Недостатком известной конструкции является наличие циклического изгибающего нагружения на токоподводящие провода подвижной катушки якоря исполнительного механизма, что ухудшает надежность работы регулятора.
Изобретение решает задачу повышения надежности и долговечности электронного регулятора.
Указанная задача решается тем, что в электронном регуляторе частоты вращения для управления подачей топлива топливным насосом высокого давления согласно изобретению содержится блок управления, исполнительный механизм, датчик положения рейки, выполненный за одно целое с рейкой, исполнительный механизм с катушкой магнитопровода и короткозамкнутую обмотку якоря. Катушка магнитопровода, подключенная к источнику управляющего напряжения, создает переменное магнитное поле, в зазоре которого находится короткозамкнутая обмотка якоря, в которой наводится ЭДС. В результате чего возникает силовое воздействие между катушками, которое используются для перемещения рейки топливного насоса. Для возврата в исходное состояние и положение равновесия используется пружина.
В результате, по сравнению с прототипом, не происходит циклического изгибающего нагружения на токоподводящие провода подвижной катушки якоря, что увеличивает ресурс и облегчает техническое обслуживание электронного регулятора.
В схеме реализованы основная обратная связь по частоте вращения коленчатого вала дизеля и дополнительные обратные связи по положению рейки топливного насоса и по току катушки магнитопровода исполнительного механизма. Обратная связь по частоте вращения коленчатого вала дизеля служит для поддержания заданной частоты вращения. Обратная связь по положению рейки топливного насоса предназначена для обеспечения необходимого диапазона перемещения рейки топливного насоса. При подаче сигнала задания частоты вращения коленчатого вала (сигнал задается в форме напряжения) регулятор осуществляет сравнение сигнала задания и сигнала обратной связи от датчика частоты вращения и вырабатывает управляющий сигнал (сигнал ошибки). Усиленный сигнал ошибки, сигнал обратной связи по положению рейки топливного насоса, сигнал скорости перемещения рейки, вычисленный прямым дифференцированием сигнала о положении рейки, а также сигнал обратной связи по току суммируются, после чего он поступает на вход силового ключа, работающего в импульсном режиме, к выходу которого подключен статор (катушка магнитопровода) исполнительного механизма. Исполнительный механизм изменяет величину подачи топлива, увеличивая или уменьшая частоту вращения коленчатого вала.
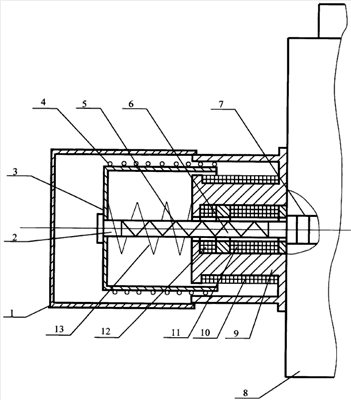
Заявляемое изобретение иллюстрируется чертежом, на котором приведен общий вид электронного регулятора. Электронный регулятор содержит блок управления (на чертеже не указан), связанный со всеми узлами регулятора посредством проводной сети, исполнительный механизм 1, у которого шток 2 якоря 3 с короткозамкнутой обмоткой катушки 4 жестко закреплен на сердечнике 5 датчика положения 6 рейки 7, выполненном за одно целое с рейкой 7 топливного насоса высокого давления 8. Регулятор содержит также жестко закрепленный на корпусе топливного насоса 8 магнитопровод 9, внешнюю катушку магнитопровода 10, возбуждающую 11 и измерительную 12 обмотки датчика положения 6, размещенные на внутренней поверхности магнитопровода 9, пружину 13, причем сердечник 5 помещен внутрь магнитопровода 9.
Паразитные наводки, наводимые якорной обмоткой электромагнита на измерительную обмотку датчика положения рейки ТНВД, учитываются специальными фильтрами блока управления и нейтрализуются.
Электронный регулятор представляет замкнутую схему автоматического регулирования частоты вращения коленчатого вала дизеля.
Принцип действия исполнительного механизма электронного регулятора основан на механическом воздействии на проводник с наведенным током, помещенный в переменное магнитное поле. Катушка 10 магнитопровода 9, подключенная к источнику управляющего напряжения (на чертеже не указан), создает переменное магнитное поле, в зазоре которого находится короткозамкнутая обмотка катушки 4 якоря 3. В ней наводится ЭДС. В результате чего возникает силовое воздействие между катушками, которое используются для перемещения рейки 7 топливного насоса 8.
Предложенная модификация электронного регулятора применима для любых типов дизельных двигателей, не требует изменения конструкции топливного насоса, а его стоимость остается на том же уровне, что и у аналогов, при достигнутых ее достоинствах, что способствует ее внедрению на производство.
Формула изобретения
Электронный регулятор частоты вращения для управления подачей топлива топливным насосом высокого давления, содержащий электронный блок управления, исполнительный механизм, датчик положения рейки, выполненный за одно целое с рейкой, отличающийся тем, что исполнительный механизм содержит катушку магнитопровода, подключенную к источнику управляющего напряжения, и короткозамкнутую катушку якоря, находящуюся в зазоре магнитопровода.
РИСУНКИ
|
|