|
|
(21), (22) Заявка: 2006130798/06, 27.01.2005
(24) Дата начала отсчета срока действия патента:
27.01.2005
(30) Конвенционный приоритет:
28.01.2004 US 60/539,654
(43) Дата публикации заявки: 10.03.2008
(46) Опубликовано: 27.03.2009
(56) Список документов, цитированных в отчете о поиске:
US 6058917 А, 09.05.2000. US 5024203 A, 18.06.1991. US 4370971 A, 01.02.1983. US 4089309 A, 16.05.1978. SU 1346828 A1, 23.10.1987. SU 1101569 A, 07.07.1984. SU 1407151 A1, 20.08.1996.
(85) Дата перевода заявки PCT на национальную фазу:
28.08.2006
(86) Заявка PCT:
US 2005/002517 (27.01.2005)
(87) Публикация PCT:
WO 2005/072369 (11.08.2005)
Адрес для переписки:
129090, Москва, ул. Б.Спасская, 25, стр. 3, ООО “Юридическая фирма Городисский и Партнеры”, пат.пов. С.А.Дорофееву, рег.№ 146
|
(72) Автор(ы):
РОБЕРТС Ричард Д. (US), БРОК Джеймс Р. (US), ЛАХРЕН Эдмунд (US)
(73) Патентообладатель(и):
НЬЮ КОНДЕНСЕЙТОР, ИНК. (US)
|
(54) СЕПАРАТОР ДЛЯ ОТДЕЛЕНИЯ ЖИДКОСТЕЙ ИЗ ПОТОКА ТЕКУЧЕЙ СРЕДЫ (ВАРИАНТЫ)
(57) Реферат:
Изобретение относится к двигателестроению и может быть использовано для отделения жидкостей из потока картерных газов двигателя. Сепаратор содержит впускное отверстие для приема потока текучей среды и выпускное отверстие для возврата потока газа в двигатель. Сепаратор содержит канал для текучей среды, соединяющий по текучей среде впускное отверстие с выпускным, и сборную емкость, находящуюся в сообщении по текучей среде с каналом для текучей среды. Сепаратор также содержит первую и вторую разделительную камеры, спиральный ускоритель потока, находящийся в канале, причем поток из ускорителя устремляется во вторую разделительную камеру. Ускоритель содержит спиральный проход для текучей среды, образованный, по меньшей мере, одним удлиненным спиральным элементом, проходящим вокруг оси спирали. Вторая разделительная камера содержит неабсорбирующие или абсорбирующие шарики. Между первой и второй камерами размещен сетчатый экран. Приведен вариант выполнения сепаратора. Такое выполнение повышает эффективность и уменьшает нежелательный нагар в двигателе. 2 н. и 5 з.п. ф-лы, 15 ил.
Изобретение относится к устройству для удаления загрязняющих частиц из выбросов картерных газов, производимых двигателем внутреннего сгорания при его работе и режиме холостого хода. Более конкретно изобретение относится к сепаратору для отделения жидкостей из паров в потоке текучей среды, выходящем из картера двигателя внутреннего сгорания. Посредством отделения жидкостей из паров пары могут вернуться во впускное устройство двигателя для повторной подачи с топливно-воздушной смесью, способствующей сгоранию паров и обеспечивающей лучшее сгорание, в то время как жидкости могут быть собраны для соответствующего удаления. В результате по существу предотвращается выброс всего потока текучей среды, выходящей из картера, в окружающую среду.
Настоящее изобретение относится к отделению жидкостей от паров в потоке текучей среды, производимого двигателем внутреннего сгорания, чтобы пары или газы могли сгорать в двигателе, а жидкости могли быть выделены. Создание потока текучей среды в картере двигателя внутреннего сгорания показано и описано в патентах США №4370971 и №4089309. В указанных патентах показаны и описаны образование «пропускных» газов в двигателе внутреннего сгорания и управление этими жидкостями и парами, производимыми «пропускными» газами в двигателе внутреннего сгорания. В патентах США №5277154 и №6058917 также показаны и описаны образование «пропускных» газов в двигателе внутреннего сгорания и необходимость в отделении жидкостей от газов.
Хотя настоящее изобретение особенно применимо в сочетании с дизельными двигателями и, следовательно, большая часть описания будет относиться к дизельным двигателям, настоящее изобретение имеет гораздо более широкие применения в том, что оно может быть использовано в сочетании с недизельными двигателями, включая бензиновые двигатели и другие двигатели внутреннего сгорания. Кроме того, настоящее изобретение практически может быть использовано в сочетании со всеми двигателями внутреннего сгорания, независимо от того, какой двигатель используется. В этом отношении, несмотря на то, что благодаря Федеральным положениям настоящее изобретение особенно применимо для использования с двигателями транспортных средств, данное изобретение может быть использовано в сочетании с другими двигателями внутреннего сгорания, включая, но, не ограничиваясь этим, строительное оборудование и генераторы.
Конечно, хорошо известно, что текучие среды или жидкости и газы или пары могут выходить из камер сгорания двигателя внутреннего сгорания при пропуске зажигания или ситуации потери энергии и проходить в картер двигателя. Это может произойти во время как сжатия топливно-воздушной смеси, так и во время горения топливно-воздушной смеси. В этом отношении во время хода сжатия поршня часть топливно-воздушной смеси может обходить кольца поршня и проходить в картер. Аналогичным образом во время выхлопного цикла выхлопные газы также могут обходить кольца поршня и проходить в картер. Картер содержит большую часть запаса масла двигателя. Эти газы называются «пропускными» газами и они смешиваются с маслом двигателя в картере благодаря высокоскоростному сбалтывающему действию коленчатого вала и соединительных тяг. Кроме того, высокая турбулентность, получаемая при вращении коленчатого вала и соединительных тяг, создает давление. Это давление внутри картера должно быть сброшено или же двигатель будет саморазрушаться. Однако, для сбрасывания или уравновешивания этого давления необходимо, чтобы поток текучей среды всех несгоревших и выхлопных газов вышел из картера. Газы, выходящие из картера двигателя, находятся под давлением, что создает эффект тяги, который поднимает масло в двигателе вверх и выводит из картера. Кроме того, описанное выше сбалтывающее действие также смешивает масло двигателя с газами в потоке текучей среды, выходящем из картера. В результате поток текучей среды, выходящий из картера, содержит значительное количество масла двигателя.
В некоторых двигателях поток текучей среды из двигателя выходит через «пропускную трубу», через которую поток текучей среды выходит непосредственно в окружающую среду. Эта смесь содержит тяжелые загрязняющие вещества, и большая часть всех дизельных двигателей работает с открытой «пропускной трубой», обеспечивая непосредственный выпуск этого потока текучей среды в окружающую среду.
Для уменьшения воздействия на окружающую среду и удовлетворения более строгим правительственным постановлениям были созданы системы принудительной вентиляции картера (PCV), которые возвращают эти «пропускные» газы обратно в индукционную систему двигателя. В результате, по меньшей мере, часть «пропускных» текучих сред сгорает во время горения топливно-воздушной смеси. Однако, несмотря на то, что система PCV уменьшает воздействие на окружающую среду потока текучей среды из картера, она не предотвращает выброс всех загрязняющих веществ в окружающую среду и оказывает неблагоприятное воздействие на сам двигатель. В этом отношении повторная подача «пропускного» материала в двигатель через индукционную систему ухудшает технические характеристики двигателя, вызывает образование нежелательного нагара на рабочих элементах двигателя, тем самым сокращая срок службы двигателя, и оказывает неблагоприятное воздействие на систему контроля за выбросами (понижение токсичности выхлопа) транспортного средства. Сжигание всех «пропускных» веществ может также ограничить типы систем понижения токсичности выхлопа, которые могут быть использованы на транспортном средстве. И более того, эти существующие системы PCV не работают с дизельными двигателями.
Согласно первому объекту настоящего изобретения создан сепаратор для отделения жидкостей из потока текучей среды, генерируемого пропускными газами, образующимися в картере двигателя внутреннего сгорания, причем поток текучей среды включает как газы, так и жидкости, а указанный сепаратор содержит впускное отверстие, находящееся в сообщении по текучей среде с двигателем, для приема потока текучей среды и выпускное отверстие, находящееся в сообщении по текучей среде с двигателем, для возврата потока газа в двигатель, канал для текучей среды, соединяющий впускное отверстие с выпускным, сборную емкость, находящуюся в сообщении по текучей среде с каналом для текучей среды, первую разделительную камеру, в которую поступает поток текучей среды, спиральный ускоритель потока текучей среды, находящийся в канале для текучей среды, и вторую разделительную камеру, в которую устремляется поток из ускорителя.
Предпочтительно, спиральный ускоритель содержит спиральный проход для текучей среды, образованный, по меньшей мере, одним удлиненным спиральным элементом, проходящим вокруг оси спирали между первым и вторым концами, причем поток текучей среды входит в проход вблизи первого конца и направляется ко второму, ускоряясь по радиусу наружу от оси.
Предпочтительно, спиральный проход образован двумя удлиненными спиральными элементами, проходящими вокруг оси спирали.
Предпочтительно, вторая разделительная камера содержит неабсорбирующие или абсорбирующие шарики.
Сепаратор, предпочтительно, содержит сетчатый экран, разделяющий первую и вторую разделительные камеры.
Предпочтительно, спиральный ускоритель потока текучей среды и неабсорбирующие шарики в камере образуют легкоудаляемый узел для периодической очистки.
Согласно второму объекту настоящего изобретения создан сепаратор для отделения жидкостей из потока текучей среды, генерируемого пропускными газами, образующимися в картере двигателя внутреннего сгорания, причем поток текучей среды включает как газы, так и жидкости, а указанный сепаратор содержит впускное отверстие, находящееся в сообщении по текучей среде с двигателем, для приема потока текучей среды и выпускное отверстие, находящееся в сообщении по текучей среде с двигателем, для возврата потока газа в двигатель, канал для текучей среды, соединяющий впускное отверстие с выпускным, сборную емкость, находящуюся в сообщении по текучей среде с каналом для текучей среды, спиральный проход для текучей среды в канале для текучей среды, причем проход образован, по меньшей мере, одним удлиненным спиральным элементом, проходящим вокруг оси спирали между первым и вторым концом и дополнительно содержит наружное отверстие, по меньшей мере, образованное, по меньшей мере, одним спиральным элементом, причем поток текучей среды входит в спиральный проход вблизи первого конца, направляется ко второму концу, ускоряется по радиусу наружу от оси и проходит через наружное отверстие.
Таким образом, в соответствии с настоящим изобретением создан сепаратор, который отделяет жидкости от газов и/или паров в потоке текучей среды, образуемом «пропускными» газами, создаваемыми в двигателе внутреннего сгорания. С помощью этого сепаратора значительная часть текучих сред в «пропускном» потоке текучей среды отделяется и собирается. Только более легкие углеводороды направляются обратно во впускное устройство двигателя и повторно подаются с топливно-воздушной смесью. При уменьшении жидкостей, которые повторно подаются в индукционную систему двигателя, рабочие характеристики двигателя улучшаются. Как указано выше, большая часть жидкости в потоке текучей среды является загрязненным маслом картера, которое не сгорает во время процесса горения. Кроме того, уменьшение повторно подаваемых жидкостей уменьшает нежелательный нагар в двигателе и может увеличить срок службы двигателя. Кроме того, улучшенная сепарация позволяет удерживать поток текучей среды, образуемый дизельным двигателем, и предотвращать его прохождение непосредственно в окружающую среду через «пропускную трубу».
Сепаратор в соответствии с настоящим изобретением содержит разделительный дефлектор, имеющий, по меньшей мере, один спиральный ускоритель, проходящий вокруг оси спирали между первым и вторым концом. Спиральный ускоритель увеличивает скорость текучих сред потока текучей среды и направляет эти текучие среды от оси спирали к неабсорбирующим шарикам, которые, по меньшей мере, частично окружают ускоритель и которые направляют часть текучей среды в сборное отделение в сепараторе.
Сепаратор в соответствии с другим аспектом настоящего изобретения может содержать специальный экран корпуса, также проходящий, по меньшей мере, вокруг оси спирали для создания повышенного отделения жидкостей от газов в потоке «пропускной» текучей среды.
В соответствии с еще одним аспектом настоящего изобретения сепаратор может использовать наружный корпус, достаточно большой, для содержания количества отделенных жидкостей, образованных потоком «пропускной» текучей среды между регулярными заменами масла. Сепаратор может также содержать сливное устройство, предназначенное для обеспечения легкого технического обслуживания или слива собранных жидкостей.
В соответствии с еще одним аспектом настоящего изобретения сепаратор может содержать предохранительный клапан давления для предотвращения повреждения элементов двигателя вследствие противодавления в системе. В результате предохранительный клапан давления может быть установлен при номинальном давлении, предназначенном для открывания при первом признаке противодавления.
В соответствии с еще одним аспектом настоящего изобретения сепаратор может содержать узел дефлектора, содержащий как спиральный ускоритель, так и неабсорбирующие шарики, для обеспечения легкого удаления этих элементов для периодической очистки.
Вышеуказанное является отчасти понятным и отчасти будет более подробно раскрыто далее посредством описания предпочтительных вариантов осуществления настоящего изобретения со ссылкой на прилагаемые чертежи, на которых приведены:
Фиг.1А – сепаратор известного уровня техники, показывающий обычную систему PCV для бензинового двигателя;
фиг.1В – дизельный двигатель известного уровня техники с «пропускной трубой»;
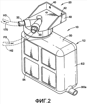
фиг.2 – вид в перспективе спереди сепаратора в соответствии с настоящим изобретением;
фиг.3 – вид в перспективе только корпуса емкости сепаратора, показанного на фиг.2, с другой установочной конструкцией и конструкцией слива;
фиг.4 – вид спереди в вертикальном разрезе корпуса емкости сепаратора, показанного на фиг.3;
фиг.5 – вид справа сбоку в вертикальном разрезе корпуса емкости сепаратора, показанного на фиг.3;
фиг.6 – вид слева сбоку в вертикальном разрезе корпуса емкости сепаратора, показанного на фиг.3;
фиг.7 – вид сверху корпуса сепаратора, показанного на фиг.3;
фиг.8 – вид в разрезе сепаратора в соответствии с настоящим изобретением;
фиг.9 – вид в разрезе в увеличенном масштабе узла дефлектора, показанного на фиг.8;
фиг.10 – вид в перспективе спирального ускорителя, как показано на фиг.8;
фиг.11 – вид в разрезе по линии 11-11 с фиг.10;
фиг.12 – вид спереди в вертикальном разрезе ускорителя, показанного на фиг.8;
фиг.13 – вид в разрезе по линии 13-13 с фиг.9; и
фиг.14 – дизельный двигатель, содержащий сепаратор в соответствии с настоящим изобретением.
Чертежи предназначены для иллюстрации предпочтительных вариантов осуществления данного изобретения, а не для его ограничения, при этом на фиг.1А показана система PCV (система принудительной вентиляции картера) для бензинового двигателя вместе с сепаратором известного уровня техники, используемого в сочетании с системой PCV. Более конкретно, показан бензиновый двигатель GE внутреннего сгорания, содержащий картер СС, впускное устройство I и, по меньшей мере, одну головку СН цилиндра. При работе впускное устройство I подает топливно-воздушную смесь через трубу IP впускного устройства в головку СН цилиндра, которая направляется в камеру ССН сгорания. Клапан V регулирует поток топливно-воздушной смеси в камеру сгорания. Затем поршень Р сжимает топливно-воздушную смесь, где при сжатии небольшая ее часть, в зависимости от режима работы двигателя, проходит мимо поршня Р в качестве «пропускных» газов BG в картер СС. Аналогичным образом при горении топливно-воздушной смеси часть выхлопных газов также проходит мимо поршня Р в качестве «пропускных» газов, таким образом, проходя в картер СС. В результате возникает положительное давление в картере СС, которое должно быть сброшено. Однако горячие газообразные продукты сгорания или «пропускные» газы, которые отклоняются от колец поршня и проходят в картер, гомогенизируются с тяжелым маслом картера в результате высокоскоростного взбалтывающего действия коленчатого вала и соединительных тяг.
Положительное давление в картере создает поток FS текучей среды, который содержит масло картера, проходящее через один из многих проходов PW и входящее в пространство между крышкой VC клапана и головкой СН цилиндра. Этот режим позволяет улавливать поток текучей среды в крышке клапана. Для уменьшения воздействия потока текучей среды на окружающую среду система PCV принудительной вентиляции картера направляет поток FS текучей среды от крышки VC клапана в трубу IP впускного устройства через шланг H1. В результате, по меньшей мере, некоторые из газов и жидкостей в потоке текучей среды сгорают во время процесса горения в двигателе. Поскольку поток текучей среды содержит загрязненные масла кратера, более тяжелые, чем обычный нагар, отложения образуются на клапанах, свечах зажигания и поршнях. Кроме того, инжекторы топлива могут засориться или частично засориться, что препятствует их работе. Часть потока текучей среды, который образуется при горении, выбрасывается как копоть через систему выпуска в качестве твердых частиц, таким образом, покрывая каталитический конвертер и уменьшая его способность работать должным образом. Часть твердых частиц выбрасывается в атмосферу. По существу двигатели засоряются своими собственными выбросами, которые неблагоприятно влияют на рабочие характеристики, срок службы двигателя и расход топлива.
Устройства известного уровня техники использовались для удаления некоторого материала из потока FS текучей среды посредством использования устройства (ссылка №11) в системе PCV. Как показано на фиг.1А, шланги Н2 и Н3 заменяют шланг H1 для обеспечения прохождения потока FS текучей среды через устройство 11. Однако эти устройства не удаляют существенную часть жидкости и не могут использоваться для образования замкнутой системы PCV в сочетании с дизельным двигателем.
Как показано на фиг.1В, дизельный двигатель DE известного уровня техники содержит «пропускную» трубу для сбрасывания внутреннего давления в картере. Дизельный двигатель DE имеет, по меньшей мере, один поршень А с кольцами В и имеет, по меньшей мере, одну верхнюю часть, которая содержит коромысла и клапаны С. Инжекторы направляют поток топлива в каждый из цилиндров для зажигания. При работе впускное устройство I подает воздух в, по меньшей мере, один цилиндр за один раз через впускные отверстия Е. Топливо подается в цилиндр с помощью инжектора F. Топливно-воздушная смесь затем сжимается под сверхвысоким давлением, вызывая воспламенение. При таком воспламенении и сжатии небольшие количества пара несгоревшего топлива проходят мимо колец поршня и вытесняются в картер или поддон D для масла в качестве «пропускных» газов, как описывалось выше. Аналогичным образом после сгорания топливно-воздушной смеси часть выхлопных газов также проходит мимо колец поршня в качестве «пропускных» газов. В результате в картере возникает положительное давление, которое должно быть сброшено. Однако горячие газообразные продукты сгорания или «пропускные» газы гомогенизируются с тяжелым маслом картера в результате высокоскоростного сбалтывающего действия коленчатого вала и соединительных тяг. При этом это давление должно быть сброшено. Как в случае с бензиновым двигателем, описанным выше, поток текучей среды образуется внутри двигателя и направляется в пространство между крышкой клапана и верхней частью двигателя. Однако из-за жидкостей в потоке текучей среды поток текучей среды не может быть направлен обратно в индукционную систему дизельного двигателя. Вместо этого поток текучей среды выпускается в окружающую среду через «пропускную» трубу G.
Как показано на фиг.2-13, сепаратор 10 содержит наружный корпус или емкость 12, узел 14 дефлектора и крышку 20. Наружный корпус 12 содержит резьбовые части 24 горловины для завинчивания узла 20 крышки. Резьбовая часть 24 горловины и крышка 20 могут также использовать резьбу в четверть оборота, предназначенную для легкого съема, или любую другую резьбу и/или стопорную конструкцию крышки, известную в технике, включая, но, не ограничиваясь этим, для блокировки зажимов. Крышка 20 дополнительно содержит входной патрубок 30 и выходной патрубок 32. Как показано на фиг.1А, входной патрубок 30 может быть соединен со шлангом Н2, а выходной патрубок 32 может быть соединен со шлангом Н3, чтобы поток FS текучей среды проходил через сепаратор 10 после того, как он выйдет из крышки VC клапана двигателя, и до того, как он войдет в трубу IP впускного устройства двигателя. Что касается дизельных двигателей, которые будут более подробно описаны ниже, входной патрубок 30 может быть соединен с «пропускной» трубой, а выходной патрубок 32 может быть соединен со шлангом по текучей среде с индукционной системой двигателя. Проход потока FS текучей среды через сепаратор 10 будет также описан ниже более подробно. Крышка 20 может дополнительно содержать крепежный фланец или крепежную скобу 40, которая может быть использована одна или в сочетании с другими крепежными приспособлениями для закрепления сепаратора 10 на поверхности транспортного средства, включая, но не ограничиваясь этим, поверхность внутри отделения двигателя транспортного средства, например теплоизоляционную перегородку. Для легкого прикрепления крышки 20 к поверхности крепежная скоба может содержать сквозные отверстия 42 и 44, которые могут быть использованы в сочетании с самонарезающими винтами или другими крепежными средствами, известными в технике.
Емкость 12 имеет верхнюю часть 50 и нижнюю часть 52, причем передняя часть 54 и задняя часть 56 проходят между верхней частью 50 и нижней частью 52. Емкость 12 дополнительно содержит боковые стороны 60 и 62 и показана на фиг.4, причем боковые стороны 60 и 62 могут содержать крепежные фланцы 70 и 72, соответственно. Как в случае с крышкой крепежная скоба 40, установочные фланцы 70 и 72 могут содержать сквозные отверстия 74 и 76, соответственно, для закрепления сепаратора 10 на поверхности транспортного средства с помощью самонарезающих винтов или других крепежных средств, известных в технике. Наличие как крепежной скобы 40, так и фланцев 70 и 72, обеспечивают легкое присоединение сепаратора к самым разнообразным поверхностям.
Как можно понять, узел крышки и узел емкости могут иметь многочисленные конфигурации, не изменяя сущности данного изобретения. В этом отношении емкость 12 может быть выполнена с возможностью установки в конкретном двигательном отделении любого транспортного средства или на каркасе корпуса двигателя, или в отделении и еще может быть предназначена для содержания заданного количества жидкости, отделенной от потока текучей среды. Кроме того, емкость или корпус могут также содержать ребра жесткости для упрочнения емкости при сохранении заданного отношения веса емкости к весу крышки. Крышка 20 и/или емкость 12 могут дополнительно содержать внутренние ребра жесткости и могут быть изготовлены из известного в технике материала, включая формованный пластик, такой как высокотемпературный композитный формованный пластик, и металлы.
Емкость 12 может дополнительно содержать сливное выпускное отверстие 80, которое должно быть расположено вблизи с нижней части контейнера для слива жидкостей, собранных из потока текучей среды. Следует отметить, что емкости 12, которые содержат сливной узел, могут, предпочтительно, закрепляться на месте, в то время как емкости, которые не содержат сливного узла, предпочтительно, являются съемными, в которых закрепляется только крышка. Кроме того, сливное выпускное отверстие 80 фактически может быть расположено в любом месте на узле емкости, включая горизонтальное прохождение от одной из сторон, передней или задней стороны емкости 12, например, от стороны 62, которая показана на фиг.2 как 80а. Сливное выпускное отверстие может также проходить вниз от нижней части 52, как показано на фиг.8, как 80b. Сепаратор 10 может дополнительно содержать любой известный из уровня техники клапан (не показан) для открытия и закрытия сливного выпускного отверстия 80. Также необходимо отметить, что сливное отверстие и/или сливной клапан могут быть расположены на емкости или расположены для соответствия с любым конструктивным исполнением производителей и могут иметь сливную систему, выполненную в зависимости от необходимости или когда требуется пространство. Кроме того, сливное выпускное отверстие 80 может также соединяться по текучей среде с другим узлом емкости (не показан) и/или шлангом (также не показан), чтобы жидкости могли сливаться из сепаратора в место, расположенное на расстоянии от сепаратора. Например, сепаратор 10 может содержать шланг (не показан), соединенный с выпускным отверстием 80, который проходит по направлению к поддону для слива масла транспортного средства, причем клапан расположен вблизи поддона для масла транспортного средства для обеспечения удобного доступа к сливу. При данной конкретной конструкции загрязняющие вещества, собранные в сепараторе, могут быть слиты в ту же самую емкость с отработанным маслом из картера. Кроме того, любой известный клапан и/или узел шланга могут быть использованы для обеспечения более удобного слива загрязненной жидкости из сепаратора 10. Контрольный клапан также может быть использован для обеспечения легкого слива и очистки сепаратора.
Узел 14 дефлектора подвешен в наружном корпусе 12 так, чтобы нижняя торцевая поверхность 90 узла дефлектора отстояла от нижней части 52 емкости 12. Например, узел 14 дефлектора может иметь резьбовое соединение с узлом 20 крышки, чтобы узел 14 дефлектора подвешивался и/или поддерживался посредством своего зацепления с узлом 20 крышки. Однако могут быть использованы другие крепежные приспособления, известные из уровня техники. Для обеспечения легкой очистки сепаратора узел 14 дефлектора может иметь такие размеры, чтобы он мог проходить через верхнее отверстие 82 для удаления и очистки. Более конкретно показано, что верхнее отверстие 82 является круглым отверстием и узел 14 дефлектора является цилиндрическим с нижней частью 90, цилиндрической боковой стенкой 92 и круглой верхней частью 94. Диаметр нижней части 90, боковая стенка 92 и верхняя часть 94 меньше диаметра верхнего отверстия 82, таким образом, обеспечивается прохождение узла дефлектора через отверстие. Однако, необходимо отметить, что могут быть использованы другие конфигурации в сочетании с узлом 14 дефлектора и/или отверстием 82.
При работе поток FS текучей среды проходит в сепаратор 10 через входной патрубок 30 крышки 20 и направляется в узел 14 дефлектора по каналу 100 для текучей среды, который может быть сформован в крышке 20, или по любому другому типу канала для текучей среды, известного в технике. Когда поток текучей среды достигает узла 14, он входит в отверстие 102 в верхней части 94 узла 14 и направляется в первую разделительную камеру 104. Первая разделительная камера 104 может быть цилиндрической и проходить между верхней частью 94 и нижней частью 90. Первая разделительная камера 104 содержит разделительный дефлектор 110, который может иметь один или более спиральных ускорителей 112, которые проходят вокруг оси 114 ускорителя. Показано, что узел 110 содержит два спиральных ускорителя 112а и 112b. Однако необходимо понимать, что хотя показаны два ускорителя, может быть использовано больше или меньше ускорителей, не изменяя сущности данного изобретения.
Когда поток FS текучей среды проходит через первую разделительную камеру 104, он входит в контакт с поверхностями 120а и 120b спиральных ускорителей 112а и 112b, соответственно, заставляя поток текучей среды вращаться по спирали вокруг оси 114 и устремляться наружу от оси 114 во вторую разделительную камеру 124. Первая разделительная камера 104 и вторая разделительная камера 124 могут разделяться посредством сетчатой перегородки 126, которая будет описана ниже более подробно. В частности, как показано на фиг.10-12, дефлектор 110 содержит центральный стержень 130, по существу, соосный с осью 114, с наружной цилиндрической поверхностью 132. Ускорители 112а и 112b проходят наружу от поверхности 132 и включают в себя обращенные вверх отклоняющие поверхности 120а и 120b, соответственно, описанные выше, и обращенные вниз поверхности 134а и 134b. Поверхности 120а и 120b проходят от кромок 140а и 140b основания, соответственно, к наружным кромкам 142а и 142b. Аналогичным образом поверхности 134а и 134b также проходят между стержнем 130 и наружными кромками 142а и 142b. Кроме того, наружные кромки 142а и 142b могут зацеплять экран 126 для сохранения положения дефлектора 110 в камере 104. Ускорители 112а и 112b могут также включать ускорители 120а и 120b с дугообразными поверхностями, соответственно. В этом отношении, хотя поверхности 120а и 120b изогнуты на основании своего расположения по спирали вокруг стержня 130, они также могут быть изогнуты от кромок 140а и 140b основания к наружным кромкам 142а и 142b, соответственно.
Поток текучей среды захватывается между поверхностями 120а, 120b, 132, 134а, 134b и входом во вторую разделительную камеру 124, то есть экраном 126 (если используется), таким образом, заставляя поток текучей среды входить в камеру 124, когда он проходит через первую камеру 104. Принудительное прохождение потока текучей среды через спиральный ускоритель увеличивает скорость потока текучей среды и охлаждает поток текучей среды до того, как он войдет во вторую камеру 124. Кроме того, вращение по спирали потока текучей среды при прохождении через спиральные ускорители 112а и 112b вызывает процесс отделения в результате иного воздействия на жидкости, чем на легкие углеводороды. Кроме того, поток текучей среды принудительно проходит через экран 126 при увеличенной скорости, которая также производит отделительный эффект. Затем происходит процесс отделения во второй разделительной камере 124, которая также проходит между нижней торцевой поверхностью 90 и верхней торцевой поверхностью 94, в которой отделенные жидкости 150 направляются вниз в сборное отделение 152 в корпусе 12. Как указано выше, разделительный узел в достаточной мере отстоит от нижней части 52 для содержания заданного количества отделенной жидкости в корпусе 12, чтобы не влиять на работу узла 14.
Вторая камера 124 содержит неабсорбирующие или абсорбирующие шарики 160, которые способствуют завершению процесса отделения. В этом отношении при прохождении потока текучей среды в камеру 124 его скорость увеличивалась в результате вращения по спирали, обусловленного ускорителем 112. Затем поток текучей среды сталкивается с шариками 160 и под действием своего веса направляется вниз в сборное отделение 152. Шариками 160 могут быть силикагелевые шарики или другие абсорбирующие или неабсорбирующие шарики, известные из уровня техники. Шарики 160 удерживаются в камере 124 с помощью перегородки 126, которая может быть экраном и наружной перегородкой 162, которая также может быть экраном в дополнение к нижней части 90 и верхней части 94 узла. Объем шариков 160, используемых в камере 124, является функцией нескольких факторов, включающих двигатель внутреннего сгорания, в котором используется сепаратор 10, а также рабочие режимы транспортного средства и/или размер камер.
При прохождении потока текучей среды через камеры отделенная жидкость 150 направляется вниз в сборное отделение 152, а легкие углеводороды и другие газы 170 поднимаются вверх и выходят из сепаратора под действием вакуума, созданного в системе впуска воздуха двигателя. Вакуум сбрасывает или уравновешивает давление, создаваемое «пропускными» газами в двигателе. Поток 170 газа выходит из корпуса 12 в результате прохождения через канал 172 для текучей среды в узле 20 крышки и выходит из сепаратора 10 через выходной патрубок 32. Затем поток 170 газа направляется в индукционную трубу IP через шланг Н3. Когда поток газа входит в индукционную систему двигателя внутреннего сгорания, он направляется в камеру сгорания и смешивается со свежим топливом и воздухом, причем углеводороды в потоке 170 становятся усилителем для топливной смеси. Поскольку удаляется больший процент жидкости (в основном загрязненное масло картера) из потока текучей среды, то подача потока 170 газа в индукционную систему двигателя может быть эффективной для горения топливно-воздушной смеси, а не только средством для выгорания потока текучей среды, образованного «пропускными» газами. В этом отношении «пропускные» газы, которые отделяются от загрязненного масла, являются усилителем, которые лучше способствуют более полному сгоранию во время горения. Кроме того, когда отделенные «пропускные» газы достигают камеры сжатия, они уже имеют температуру двигателя, при которой образуется лучшая смесь и обеспечивается более полное сгорание.
Как показано на фиг.14, сепаратор 10 соединен с дизельным двигателем DE. Более конкретно, как указано выше, дизельный двигатель DE содержит впускное устройство I, которое направляет поток воздуха в камеру сжатия дизельного двигателя через впускные отверстия Е для воздуха. Этот конкретный дизельный двигатель является двигателем с турбонаддувом, содержащим турбокомпрессор К, который известен в технике и который находится в сообщении по текучей среде с индукционной системой I через подводящую трубу М. Пропускная труба G соединена с входным патрубком посредством шланга Н2. Выходящие газы 170 направляются в подводящую трубу М через шланг Н3, присоединенный между выходным соединителем 32 и фитингом Z в подводящей трубе М. При работе воздух проходит через турбокомпрессор К и направляется в камеру сгорания через впускную систему I. В камере сгорания воздух смешивается с топливной смесью, которая сжимается и воспламеняется для запуска двигателя. Пропускные газы, которые проходят мимо колец В поршня и входят в картер, направляются в головку цилиндра и выходят из двигателя в пропускной трубу G. Однако, поскольку пропускная труба G находится в сообщении по текучей среде с впускным отверстием 30, то поток текучей среды, выходящий из двигателя, направляется в сепаратор 10 и проходит через сепаратор, благодаря чему жидкости в потоке текучей среды собираются и содержатся в емкости 12, в то время как более легкие углеводороды выходят из сепаратора 10 через выпускное отверстие 32. Эти более легкие углеводороды проходят через шланг Н3 и направляются в подводящую трубу М, через которую они повторно подаются в дизельный двигатель DE через индукционные системы. Хотя разделительные системы известного уровня техники не могут быть использованы в сочетании с дизельным двигателем, сепаратор 10 удаляет достаточное количество жидкостей, содержащихся в потоке текучей среды, чтобы использовать замкнутую систему с дизельным двигателем. Кроме того, как указано выше, такое большое количество жидкостей удаляется из потока текучей среды, что углеводороды, повторно поданные в двигатель, фактически повышают эффективность и уменьшают нежелательный нагар в двигателе, тем самым увеличивая мощность, экономию топлива и срок службы двигателя.
Настоящее изобретения предназначено для обеспечения многочисленных преимуществ двигателя внутреннего сгорания. В этом отношении использование сепаратора в соответствии с настоящим изобретением улучшает технические характеристики двигателя за счет эффективного сжигания более легких углеводородов, которые проходят вблизи кольца поршня при сжатии, и цикла выхлопных газов, что повышает экономию топлива и эффективность двигателя. Однако более значительное преимущество сепаратора в соответствии с настоящим изобретением относится к способности создания замкнутой системы для пропускных газов дизельного двигателя, таким образом, уменьшая количество загрязняющих веществ, выпускаемых дизельным двигателем.
Хотя большое значение предавалось предпочтительным вариантам осуществления настоящего изобретения, проиллюстрированных и описанных здесь, понятно, что могут быть выполнены другие варианты осуществления, и возможны многие изменения в предпочтительных вариантах осуществления без отхода от принципов настоящего изобретения. Подразумевается включение всех таких модификаций и изменений постольку, поскольку они входят в объем прилагаемой формулы изобретения и ее эквивалентов.
Формула изобретения
1. Сепаратор для отделения жидкостей из потока текучей среды, генерируемого пропускными газами, образующимися в картере двигателя внутреннего сгорания, причем поток текучей среды включает в себя как газы, так и жидкости, а указанный сепаратор содержит впускное отверстие, находящееся в сообщении по текучей среде с двигателем, для приема потока текучей среды и выпускное отверстие, находящееся в сообщении по текучей среде с двигателем, для возврата потока газа в двигатель, канал для текучей среды, соединяющий впускное отверстие с выпускным, сборную емкость, находящуюся в сообщении по текучей среде с каналом для текучей среды, первую разделительную камеру, в которую поступает поток текучей среды, спиральный ускоритель потока текучей среды, находящийся в канале для текучей среды, и вторую разделительную камеру, в которую устремляется поток из ускорителя.
2. Сепаратор по п.1, в котором спиральный ускоритель содержит спиральный проход для текучей среды, образованный, по меньшей мере, одним удлиненным спиральным элементом, проходящим вокруг оси спирали между первым и вторым концами, причем поток текучей среды входит в проход вблизи первого конца и направляется ко второму, ускоряясь по радиусу наружу от оси.
3. Сепаратор по п.2, в котором спиральный проход образован двумя удлиненными спиральными элементами, проходящими вокруг оси спирали.
4. Сепаратор по п.1, в котором вторая разделительная камера содержит неабсорбирующие или абсорбирующие шарики.
5. Сепаратор по п.1, содержащий сетчатый экран, разделяющий первую и вторую разделительные камеры.
6. Сепаратор по п.1, в котором спиральный ускоритель потока текучей среды и неабсорбирующие шарики в камере образуют легкоудаляемый узел для периодической очистки.
7. Сепаратор для отделения жидкостей из потока текучей среды, генерируемого пропускными газами, образующимися в картере двигателя внутреннего сгорания, причем поток текучей среды включает в себя как газы, так и жидкости, а указанный сепаратор содержит впускное отверстие, находящееся в сообщении по текучей среде с двигателем, для приема потока текучей среды и выпускное отверстие, находящееся в сообщении по текучей среде с двигателем, для возврата потока газа в двигатель, канал для текучей среды, соединяющий впускное отверстие с выпускным, сборную емкость, находящуюся в сообщении по текучей среде с каналом для текучей среды, спиральный проход для потока текучей среды в канале для текучей среды, причем проход образован, по меньшей мере, одним удлиненным спиральным элементом, проходящим вокруг оси спирали между первым и вторым концами, и дополнительно содержит наружное отверстие, по меньшей мере, образованное, по меньшей мере, одним спиральным элементом, причем поток текучей среды входит в спиральный проход вблизи первого конца и направляется ко второму концу и ускоряется по радиусу наружу от оси и проходит через наружное отверстие.
РИСУНКИ
MM4A – Досрочное прекращение действия патента СССР или патента Российской Федерации на изобретение из-за неуплаты в установленный срок пошлины за поддержание патента в силе
Дата прекращения действия патента: 28.01.2009
Извещение опубликовано: 20.07.2010 БИ: 20/2010
|
|