|
|
(21), (22) Заявка: 2007129235/03, 30.07.2007
(24) Дата начала отсчета срока действия патента:
30.07.2007
(46) Опубликовано: 27.03.2009
(56) Список документов, цитированных в отчете о поиске:
RU 2106495 C1, 10.03.1998. SU 27615 A, 31.08.1932. RU 2239701 C2, 10.11.2004. СУЛИН Г.А. Техника и технология разработки россыпей открытым способом. – М.: Недра, 1974, с.96-211. ШОРОХОВ С.М. Технология и комплексная механизация разработки россыпных месторождений. – М.: Недра, 1973, с.260-307.
Адрес для переписки:
690950, Приморский край, г.Владивосток, ул. Пушкинская, 10, ДВГТУ, патентный отдел
|
(72) Автор(ы):
Звонарев Михаил Иванович (RU), Жуков Анатолий Васильевич (RU)
(73) Патентообладатель(и):
Государственное образовательное учреждение высшего профессионального образования Дальневосточный государственный технический университет (ДВПИ им.В.В.Куйбышева) (RU)
|
(54) СПОСОБ РАЗРАБОТКИ ПОГРЕБЕННЫХ ОБВОДНЕННЫХ РОССЫПЕЙ
(57) Реферат:
Изобретение относится к разработке погребенных россыпных месторождений твердых полезных ископаемых, предпочтительно пляжных месторождений шельфа. Технический результат – повышение селективной выемки. Способ разработки погребенных обводненных россыпей включает предварительную концентрацию полезного компонента песков в нижней части россыпи посредством возбуждения в песках россыпи упругих колебаний и последующую очистную выемку. В россыпь внедряют трубчатую оболочку, высота которой превышает расстояние от поверхности до плотика россыпи, возбуждение в песках россыпи упругих колебаний осуществляют их передачей с поверхности через трубчатую оболочку. После чего со стороны внутренней поверхности оболочки формируют сжимающее усилие на контактирующую с ней поверхность покрывающего объема пустого материала. После этого осуществляют гидравлическую выемку нижней части россыпи с подачей размывающей воды через форсунки, размещенные у стенок трубчатой оболочки и отводом пульпы через грунтозаборные отверстия, размещенные у стенок трубчатой оболочки между форсунками. При этом по завершении выемки нижней части россыпи сводят до нуля давление на контактирующей с внутренней поверхностью оболочки поверхности покрывающего объема пустого материала. После заполнения полости оболочки до уровня, соответствующего земной поверхности, оболочку извлекают. 3 ил.
Изобретение может быть использовано при разработке погребенных россыпных месторождений твердых полезных ископаемых, предпочтительно пляжных месторождений шельфа.
Известны способы гидравлической отработки (см. Шорохов С.М. Технология и комплексная механизация разработки россыпных месторождений. – М.: Недра, 1973 г., 766 с, с.260-307), включающие размыв песков напорными струями, самотечное транспортирование к зумпфу и гидроэлеваторный подъем к промывочному прибору.
Недостатками известных способов является ограниченная возможность применения вследствие большого потребления водных ресурсов и значительная экологическая нагрузка на природную среду.
Более близким аналогом способа по технической сущности является способ разработки погребенных обводненных россыпей, включающий предварительную концентрацию полезного компонента песков в нижней части россыпи посредством возбуждения в песках россыпи упругих колебаний и последующую очистную выемку (см. патент 2106495, кл. Е21С 41/00, 1998 г.).
Недостатком этого способа является низкая эффективность отработки вследствие отработки подготовленного участка традиционными способами, при этом не минимизируется выемка покрывающих пустых пород, поскольку не обеспечивается вертикальность стенок очистной выемки, формируемой в процессе разработки (из-за несвязности материала).
В основу изобретения поставлена задача повышения селективности выемки.
Технический результат, достигаемый при решении поставленной задачи, выражается в исключении выемки объемов, покрывающих пустых пород, исключении разубоживания песков, уменьшении объемов извлекаемых песков и уменьшении объемов хвостов, требующих утилизации.
Для решения поставленной задачи способ разработки погребенных обводненных россыпей, включающий предварительную концентрацию полезного компонента песков в нижней части россыпи посредством возбуждения в песках россыпи упругих колебаний и последующую очистную выемку, отличается тем, что в россыпь внедряют трубчатую оболочку, высота которой превышает расстояние от поверхности до плотика россыпи, возбуждение в песках россыпи упругих колебаний осуществляют их передачей с поверхности через трубчатую оболочку, после чего со стороны внутренней поверхности оболочки формируют сжимающее усилие на контактирующую с ней поверхность покрывающего объема пустого материала, после чего осуществляют гидравлическую выемку нижней части россыпи с подачей размывающей воды через форсунки, размещенные у стенок трубчатой оболочки и отводом пульпы через грунтозаборные отверстия, размещенные у стенок трубчатой оболочки между форсунками, при этом по завершении выемки нижней части россыпи сводят до нуля давление на контактирующей с внутренней поверхностью оболочки поверхности покрывающего объема пустого материала и, после заполнения полости оболочки до уровня, соответствующего земной поверхности, оболочку извлекают.
Сравнение признаков заявленного решения с признаками аналогов и прототипа свидетельствует о его соответствии критерию “новизна”.
Признаки отличительной части формулы изобретения решают следующие функциональные задачи:
Признаки: «…в россыпь внедряют трубчатую оболочку, высота которой превышает расстояние от поверхности до плотика россыпи…» исключают перемешивание песков и покрывающих наносов при извлечении ограждающей конструкции, и кроме того, обеспечивается изоляция отрабатываемого объема от остального массива. Кроме того, при использовании не менее двух таких устройств, обеспечивается складирование хвостов в выработанном пространстве одного из них, что исключает сброс хвостов в окружающую среду. Кроме того, обеспечивается возможность реализации последующих приемов и операций способа.
Признаки: «…возбуждение в песках россыпи упругих колебаний осуществляют их передачей с поверхности через трубчатую оболочку…» упрощают передачу упругих колебаний в объем песков.
Признаки: «…со стороны внутренней поверхности оболочки формируют сжимающее усилие на контактирующую с ней поверхность, покрывающего объема пустого материала…» обеспечивают обжатие вертикальных стенок массива материала, отсеченного корпусом, и тем самым исключает возможность разрушения «пробки» из покрывающих пород в процессе выемки слоя песков.
Признаки: «осуществляют гидравлическую выемку нижней части россыпи, с подачей размывающей воды через форсунки, размещенные у стенок трубчатой оболочки, и отводом пульпы через грунтозаборные отверстия, размещенные у стенок трубчатой оболочки между форсунками» обеспечивают локализацию технологического воздействия в нижнем слое песков – слое, подлежащем выемке, при этом обеспечивается равномерный и качественный размыв материала, «отсеченного» корпусом и его качественное удаление.
Признаки: «…по завершении выемки нижней части россыпи сводят до нуля давление на контактирующей с внутренней поверхностью оболочки поверхности, покрывающего объема пустого материала и, после заполнения полости оболочки до уровня, соответствующего земной поверхности, оболочку извлекают.» – обеспечивают повторное использование трубчатой оболочки.
Сущность предлагаемого изобретения поясняется чертежами.
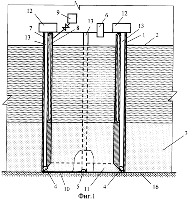
На фиг.1 представлена схема устройства, обеспечивающего реализацию заявленного способа на этапе внедрения трубчатой оболочки, на фиг.2 показано то же, на этапе выемки песков, на фиг.3 показано поперечное сечение трубчатой оболочки.
На чертежах показано грунтозаборное устройство, обеспечивающее реализацию заявленного способа, включающее корпус 1, выполненный в виде трубчатой оболочки, высота которой превышает расстояние от поверхности 2 до плотика погребенной россыпи 3. Форма поперечного сечения корпуса 1 может быть произвольной, но для качественного перекрытия зазоров между стенками корпусов и, тем самым, повышения полноты выемки целесообразнее прямоугольная форма сечения. Вес корпуса должен удовлетворять возможностям подъемно-транспортного оборудования (на чертежах не показано), имеющегося в распоряжении. При этом поперечные размеры корпуса 1 не превышают удвоенный радиус действия размывающих форсунок 4, размещенных на равных расстояниях друг от друга по периметру внутренней полости корпуса 1. При этом всасывающие патрубки 5 размещены на равных расстояниях друг от друга по периметру внутренней полости корпуса 1, между размывающими форсунками 4. Размывающие форсунки 4 ориентируют горизонтально, при этом целесообразна придача их выходным отверстиям формы горизонтальной щели. Кроме того, показан вибратор 6 (целесообразно использовать съемные вибраторы, фиксируемые на корпусе 1 в необходимых количествах на период его внедрения в грунт и виброобработки массива). Массогабаритные параметры и рабочие характеристики вибратора определяются известным образом с учетом массогабаритных размеров корпуса 1 и требуемой интенсивности вибрационной обработки массива (обычно с увеличением размеров корпуса названные параметры увеличиваются). Внутренняя стенка 7 корпуса 1 снабжена средством формирования силового воздействия перпендикулярного внутренней поверхности корпуса 1, выполненным в виде торообразной полой оболочки 8, скрепленной с внутренней поверхностью корпуса 7 и снабженной реверсируемым гидронасосом 9. В случае придания поперечному сечению корпуса квадратной формы размывающие форсунки 4 размещены по сторонам квадрата, а всасывающие патрубки 5 размещены в его углах. Для обеспечения сохранности торообразной полой оболочки 8 в процессе внедрения корпуса 1 в грунт, целесообразно, чтобы кромка 10 корпуса была снабжена полым кольцевым башмаком 11 (сечение которого имеет треугольную форму, и последний размещен со стороны внутренней полости корпуса). В полости башмака 11 располагают размывающие форсунки 4 и всасывающие патрубки 5 так, чтобы они не выходили за пределы стенки башмака обращенной к кромке 10 корпуса 1.
Целесообразно, чтобы полость торообразной полой оболочки 8 была соединена с реверсируемым гидронасосом 9 через запорный клапан (на чертежах не показан), обеспечивающий возможность отключения насоса после введения в работу торообразной полой оболочки 8 и использования его на другом грунтозаборном устройстве.
Целесообразно, чтобы размывающие форсунки 4 были связаны с напорными средствами 12, размещаемыми на поверхности отдельными водоподающими каналами 13, выполненными, как продольные конструктивные элементы корпуса 1. Кроме того, целесообразно, чтобы всасывающие патрубки 5 были связаны с приемными емкостями 14 (например, контейнерами), размещаемыми на поверхности отдельными отводящими каналами 15, выполненными как продольные конструктивные элементы корпуса 1, при этом суммарные площади названных каналов должны быть равны, хотя диаметр каналов 15 должен быть больше диаметра каналов 13 во избежание заштыбовывания. На чертежах показаны также плотик 16 и массив песков 17.
Заявляемый способ реализуется следующим образом
К месту работы доставляют вышеописанное грунтозаборное устройство, устанавливают его на участке, предназначенном для выемки. Далее осуществляют внедрение грунтозаборного устройства в массив, прикладывая к верхнему торцу корпуса 1 вдавливающее усилие (при этом возможно включение в работу вибраторов 6 и/или размывающих форсунок 4, для ускорения процесса погружения). При выходе башмака 11 корпуса 1 на уровень плотика 16, проводят виброобработку массива, окруженного корпусом 1, при этом предварительно этот массив должен быть обводнен (что для пляжных россыпей осуществляется «автоматически» из-за фильтрации воды). Далее включают вибратор 6 (или вибраторы 6), временно зафиксированный на верхней части корпуса 1, и начинают виброобработку массива путем передачи в него колебаний и распространения волн по обводненному массиву. При прохождении волн по массиву частички, слагающие этот массив, приходят в колебательное движение. Частички рудных минералов в слое песков обладают более высокой плотностью по сравнению с вмещающими их породными частичками. Поэтому при колебательных движениях по мере распространения волн по обводненному массиву частички рудных минералов опускаются в нижнюю часть слоя песков и концентрируются у плотика 16. По окончанию процесса виброобработки, в работу включают торобразную полую оболочку 8 (закачивают в нее воду посредством реверсируемого гидронасоса 9), для формирования сжимающих усилий (порядка 5 кг/см2) на обращенную к ним поверхность массива покрывающих пустых пород в объеме, находящемся в полости корпуса 1. Далее рабочая вода от насосов подается под давлением через каналы 13, откуда через размывающие форсунки 4 истекает в вынимаемый массив песков 17, размывая его и насыщая водой. Образовавшаяся в результате воздействия на пески водяных струй, истекающих из размывающих форсунок 4, пульпа всасывается через всасывающие патрубки 5 и через отводящие каналы 15 выдается к месту складирования на поверхность и размещается в приемных емкостях 14. По мере выемки песков вышележащие их объемы обрушаются на плотик 16, откуда пески убираются аналогично описанному. При этом покрывающие породы, обжатые торообразной полой оболочкой 8 являются достаточно устойчивой пробкой, тем более, что прямого воздействия на них размывающие струи не оказывают (слой песков размываемый ими оказывается вроде защитной подушки для них). На поверхности, известным образом, контролируют содержание полезного компонента в выдаваемой пульпе. После выемки обогащенного слоя песков содержание полезного компонента в пульпе начинает резко падать. При фиксации этого очистную выемку останавливают (прекращают подачу воды и отвод пульпы). Далее сбрасывают давление в полости торобразной полой оболочки 8 (предпочтительно откачкой из нее воды – включением насоса на реверс). В результате этого удерживаемый ранее оболочкой 8 массив покрывающих пород опускается на плотик. Далее корпус 1 поднимают на поверхность (подъемными механизмами – на чертежах не показаны), после чего используют вновь в ранее описанном порядке. Выемку, оставшуюся после извлечения корпуса 1, заполняют хвостами обогащения песков, извлеченных ранее.
Использование предлагаемого решения приводит к исключению выемки объемов покрывающих пустых пород, исключению разубоживания песков, уменьшению объемов, извлекаемых песков и уменьшению объемов хвостов, требующих утилизации.
Формула изобретения
Способ разработки погребенных обводненных россыпей, включающий предварительную концентрацию полезного компонента песков в нижней части россыпи посредством возбуждения в песках россыпи упругих колебаний и последующую очистную выемку, отличающийся тем, что в россыпь внедряют трубчатую оболочку, высота которой превышает расстояние от поверхности до плотика россыпи, возбуждение в песках россыпи упругих колебаний осуществляют их передачей с поверхности через трубчатую оболочку, после чего со стороны внутренней поверхности оболочки формируют сжимающее усилие на контактирующую с ней поверхность покрывающего объема пустого материала, после чего осуществляют гидравлическую выемку нижней части россыпи с подачей размывающей воды через форсунки, размещенные у стенок трубчатой оболочки, и отводом пульпы через грунтозаборные отверстия, размещенные у стенок трубчатой оболочки между форсунками, при этом по завершении выемки нижней части россыпи сводят до нуля давление на контактирующей с внутренней поверхностью оболочки поверхности покрывающего объема пустого материала и после заполнения полости оболочки до уровня, соответствующего земной поверхности, оболочку извлекают.
РИСУНКИ
|
|