|
|
(21), (22) Заявка: 2007142947/03, 20.11.2007
(24) Дата начала отсчета срока действия патента:
20.11.2007
(46) Опубликовано: 27.03.2009
(56) Список документов, цитированных в отчете о поиске:
RU 2052111 C1, 10.01.1996. SU 1458573 A, 25.01.1978. SU 1798500 A1, 28.02.1993. SU 1812310 A1, 30.04.1993. RU 2247245 С1, 27.02.2005. RU 2301334 C2, 20.06.2007. DE 555799 C, 28.07.1932.
Адрес для переписки:
199106, Санкт-Петербург, В.О., 21 линия, 2, СПГГИ(ТУ), патентный отдел
|
(72) Автор(ы):
Мозер Сергей Петрович (RU)
(73) Патентообладатель(и):
Государственное образовательное учреждение высшего профессионального образования “Санкт-Петербургский государственный горный институт имени Г.В. Плеханова (технический университет)” (RU)
|
(54) СПОСОБ РАЗРАБОТКИ КРУТЫХ РУДНЫХ ТЕЛ
(57) Реферат:
Изобретение относится к горному делу, в частности к разработке крутых рудных тел подземным способом. После проходки выработок выпуска по центру блока создают нишу по мощности рудного тела вкрест простирания. Бурят из нее нисходящие комплекты скважин с симметрично расположенными горизонтальными стволами в висячем боку рудного тела параллельно плоскости залегания рудного тела. Бурение, зарядку и взрывание скважин ведут поэтапно в направлении снизу вверх с оставлением временного целика высотой h, после чего бурят по временному целику нисходящие веерные комплекты скважин, заряжают и взрывают его. После каждого цикла бурения, заряжания и взрывания производят частичный выпуск отбитой руды. Затем создают перекрытие в висячем боку рудного тела путем заполнения полученного пространства твердеющим закладочным материалом через нишу, а после его затвердевания производят отработку запасов блока под защитой полученного перекрытия, при этом высоту h временного целика принимают равной минимальному радиусу Rmin изгиба буровой штанги. Изобретение позволяет снизить разубоживание при отработке камерных запасов, повысить производительность блока в период очистной выемки и снизить общую трудоемкость отработки камерных запасов. 7 ил.
Изобретение относится к горному делу, в частности к разработке крутых рудных тел подземным способом.
Известен способ разработки крутопадающих жил сложной морфологии (патент РФ №2187645, Е21С 41/22, опубл. 2002.02.19). Способ включает проведение откаточного штрека, блоковых восстающих, отработку руды наклонными слоями, ее частичное магазинирование, выпуск неразместившейся руды в очистном пространстве через рудоспуск. При разработке жил с невыдержанной мощностью по восстанию отработку руды ведут в двух полублоках с наращиванием центрального восстающего. На участках сокращения мощности жилы ниже минимальной ширины очистного пространства на замагазинированную руду укладывают жесткое перекрытие и производят селективную выемку, отбитую породу оставляют в полублоке. На участках отработки жилы с мощностью, соответствующей минимально допустимой ширине очистного пространства и свыше, на отбитую породу укладывают постоянный настил, а на месте стыковки постоянного настила с рудоспуском устанавливают выпускной люк. Недостатком данного способа является высокая трудоемкость осуществления операций способа, связанная с использованием мелкошпуровой отбойки, а также низкая производительность в период очистной выемки, связанная с необходимостью магазинирования руды в блоке.
Известен способ разработки крутых рудных тел, принятый за прототип (патент РФ №2052111, Е21С 41/22, опубл. 1996.01.10). Одновременно обуривают все запасы подэтажа и запасы бедной руды. При этом скважины, используемые для отбойки богатой руды, не обуривают до подошвы подэтажного целика, а скважины, используемые для отбойки бедной руды, бурят на всю высоту подэтажа. Богатую руду отбивают в первую очередь. Отбитую богатую руду убирают с подошвы целика, после чего отбивают запасы бедной руды. Выпуск отбитой бедной руды ведут из всех подэтажей одновременно. Недостатком данного способа является высокое разубоживание руды при выпуске породами висячего бока, а также низкая производительность в период очистной выемки, связанная с необходимостью магазинирования руды в блоке.
Техническим результатом способа является повышение производительности блока в период очистной выемки и снижение разубоживания руды породами висячего бока за счет создания перекрытия.
Технический результат достигается тем, что в способе разработки крутых рудных тел, включающем проходку подготовительных и нарезных выработок, обуривание запасов этажа до подошвы целика, заряжание и взрывание скважин, магазинирование руды, выпуск отбитой руды из блока через выработки выпуска, согласно изобретению после проходки выработок выпуска по центру блока создают нишу по мощности рудного тела вкрест простирания, бурят из нее нисходящие комплекты скважин с симметрично расположенными горизонтальными стволами в висячем боку рудного тела параллельно плоскости залегания рудного тела, причем бурение, зарядку и взрывание скважин ведут поэтапно в направлении снизу вверх с оставлением временного целика высотой h, после чего бурят по временному целику нисходящие веерные комплекты скважин, заряжают и взрывают его, причем после каждого цикла бурения, заряжания и взрывания производят частичный выпуск отбитой руды, затем создают перекрытие в висячем боку рудного тела путем заполнения полученного пространства твердеющим закладочным материалом через нишу, а после его затвердевания производят отработку запасов блока под защитой полученного перекрытия, при этом высоту h временного целика принимают равной минимальному радиусу Rmin изгиба буровой штанги.
Применение предлагаемого способа по сравнению с прототипом позволяет повысить производительность способа в период очистной выемки с одновременным снижением разубоживания руды породами висячего бока крутого рудного тела.
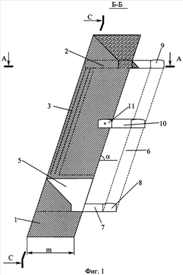
Способ разработки крутых рудных тел поясняется чертежами. На фиг.1 изображен вертикальный разрез по линии Б-Б, на фиг.2 изображен горизонтальный разрез по линии А-А, на фиг.3 изображен разрез по линии С-С (начальный этап создания пространства для заполнения твердеющим закладочным материалом с разметкой схемы бурения скважин), на фиг.4 изображен промежуточный этап создания пространства для заполнения твердеющим закладочным материалом с разметкой схемы бурения скважин, на фиг.5 изображен этап оставления временного целика высотой h создания пространства для заполнения твердеющим закладочным материалом с разметкой схемы бурения скважин, на фиг.6 изображен вертикальный разрез – этап заполнения созданного пространства для заполнения твердеющим закладочным материалом закладкой, на фиг.7 изображен этап очистной выемки, где:
1 – крутое рудное тело;
2 – ниша, пройденная по центру блока по мощности рудного тела 1 вкрест его простирания;
3 – симметрично расположенные нисходящие комплекты скважин с горизонтальными стволами, пробуренные из ниши 2;
4 – нисходящие веера скважин, пробуренные из ниши 2, предназначенные для отбойки временного целика высотой h=Rmin;
5 – траншея, расширенная из траншейного штрека;
6 – наклонный съезд;
7 – погрузочные заезды;
8 – доставочный штрек;
9 – вентиляционный штрек;
10 – сбойка наклонного съезда 6 с буровым штреком 11;
11 – буровой штрек;
12 – перекрытие из закладочного твердеющего материала, созданное в висячем боку рудного тела 1;
13 – взрывные скважины для отбойки запасов блока;
14 – временный целик высотой h;
h – высота временного целика, оставляемого под нишей 2, м;
LБЛ – длина блока, м;
m – мощность рудного тела 1;
W – линия наименьшего сопротивления;
– угол падения рудного тела, градусы.
Способ разработки крутых рудных тел осуществляют следующим образом. Крутое рудное тело 1 подготавливают необходимыми подготовительными и нарезными выработками. Проходят доставочный штрек 8, из него погрузочные заезды 7, из которых проходят траншейный штрек (на чертеже условно не показан), расширяемый в траншею 5. Из доставочного штрека 8 проходят наклонный съезд 6, сбиваемый с вентиляционным штреком 9 вышележащего горизонта. Из наклонного съезда 6 проходят сбойку 10 с буровым штреком 11. Из вентиляционного штрека 9 проходят по центру блока по мощности m рудного тела 1 вкрест его простирания (до висячего бока рудного тела 1), ограниченного LБЛ – длиной блока и высотой блока, ниши 2. Из ниши 2 бурят симметрично расположенные нисходящие комплекты скважин 3 с горизонтальными стволами. Скважины 3 с горизонтальными стволами бурят параллельно плоскости залегания рудного тела в соответствии с его углом падения в непосредственной близости от висячего бока рудного тела 1. Использование скважин 3 с горизонтальными стволами позволяет повысить точность отбойки и снизить разубоживание за счет равномерного дробления руды. За счет симметричного расположения скважин 3 с горизонтальными стволами один вертикальный ствол используется для бурения целого ряда горизонтальных стволов, что в свою очередь позволяет снизить объемы бурения. После поэтапного обуривания скважин 3 с горизонтальными стволами параллельно плоскости залегания рудного тела 1 по простиранию в соответствии с паспортом буровзрывных работ, построенным по одной из известных методик, осуществляют их заряжание взрывчатым веществом (гранулированным или патронированным) и взрывание нижерасположенных рядов скважин 3 с горизонтальными стволами. Расстояние между горизонтальными стволами скважин 3 по вертикали принимают равным W – линии наименьшего сопротивления для обеспечения наибольшей эффективности и равномерности дробления руды. Зарядку скважин 3 с горизонтальными стволами производят до точки врезки горизонтального ствола скважин (при оставлении временного целика 14 зарядку ведут до контура временного целика). После каждого этапа отбойки руду магазинируют с частичным выпуском отбитой руды через траншею 5. Выпуск (частичный и массовый) ведут следующим образом. Например, погрузочно-доставочная машина (на чертеже условно не показана) заезжает к траншее 5 через погрузочный заезд 7, зачерпывает отбитую руду и транспортирует ее по доставочному штреку 8 до ближайшего рудоспуска (на чертеже условно не показан). Отбойку и выпуск в указанной выше последовательности ведут снизу вверх до временного целика 14. Временный целик 14 необходим для поддержания ниши 2 в период обуривания нисходящих вееров скважин 4. После частичного выпуска отбитой руды под временным рудным целиком высотой h производят его разбуривание нисходящими веерами скважин 4. Высоту h временного целика принимают равной Rmin, где Rmin – минимальный радиус изгиба буровой штанги для обеспечения возможности бурения под ним скважин 3 с горизонтальными стволами. Например, буровой станок фирмы Vermeer типа Navigator D7×11A Series II при диаметре штанги 40 мм и длине штанги 1,8 м имеет радиус изгиба штанги 29,11 м. Соответственно при использовании этого станка Rmin следует принимать не менее 29,11 м.
После отбойки и доставки отбитой руды в описанной выше последовательности с промежуточным магазинированием производят массовый выпуск руды с оставлением заполненной рудой траншеей 5, а образовавшееся пространство заполняют твердеющим закладочным материалом для создания перекрытия 12 из закладочного твердеющего материала в висячем боку рудного тела. Толщину перекрытия определяют исходя из устойчивости вмещающих пород и полученного пролета камеры. После затвердевания закладочного материала начинают очистную выемку блока. Время затвердевания зависит в основном от состава твердеющего закладочного материала и может быть ускорено путем введения ускорителей твердения. По центру блока или у одного из его краев проходят отрезной восстающий, расширяемый в отрезную щель (на чертеже условно не показаны). Затем обуривают в соответствии с паспортом буровзрывных работ взрывные скважины 13 для отбойки запасов блока, взрывают их, проветривают блок и производят выпуск руды из блока через траншею 5 под защитой созданного перекрытия 12.
Применение предлагаемого способа разработки крутых рудных тел обеспечивает следующие преимущества:
– снижение разубоживания при отработке камерных запасов;
– повышение производительности блока в период очистной выемки;
– снижение общей трудоемкости отработки камерных запасов.
Формула изобретения
Способ разработки крутых рудных тел, включающий проходку подготовительных и нарезных выработок, обуривание запасов этажа до подошвы целика, заряжание и взрывание скважин, магазинирование руды, выпуск отбитой руды из блока через выработки выпуска, отличающийся тем, что после проходки выработок выпуска по центру блока создают нишу по мощности рудного тела вкрест простирания, бурят из нее нисходящие комплекты скважин с симметрично расположенными горизонтальными стволами в висячем боку рудного тела параллельно плоскости залегания рудного тела, причем бурение, зарядку и взрывание скважин ведут поэтапно в направлении снизу вверх с оставлением временного целика высотой h, после чего бурят по временному целику нисходящие веерные комплекты скважин, заряжают и взрывают его, причем после каждого цикла бурения, заряжания и взрывания производят частичный выпуск отбитой руды, затем создают перекрытие в висячем боку рудного тела путем заполнения полученного пространства твердеющим закладочным материалом через нишу, а после его затвердевания производят отработку запасов блока под защитой полученного перекрытия, при этом высоту h временного целика принимают равной минимальному радиусу Rmin изгиба буровой штанги.
РИСУНКИ
|
|