|
|
(21), (22) Заявка: 2007118892/03, 21.05.2007
(24) Дата начала отсчета срока действия патента:
21.05.2007
(46) Опубликовано: 27.03.2009
(56) Список документов, цитированных в отчете о поиске:
RU 2253009 C1, 27.05.2005. RU 2291953 C1, 20.01.2007. RU 2258799 C2, 20.08.2005. RU 2262586 C2, 10.12.2004. US 6119780 A, 19.09.2000. US 5335732 A, 09.09.1994.
Адрес для переписки:
625000, г.Тюмень, Главпочтамт, а/я 729, Л.С. Бевзенко
|
(72) Автор(ы):
Гарипов Олег Марсович (RU), Багров Олег Викторович (RU), Мустафин Эдвин Ленарович (RU)
(73) Патентообладатель(и):
Гарипов Олег Марсович (RU), Общество с ограниченной ответственностью Научно-производственное объединение “Новые нефтяные технологии” (RU), Закрытое акционерное общество “НИГРУС” (RU)
|
(54) СПОСОБ ОДНОВРЕМЕННО-РАЗДЕЛЬНОЙ И ПООЧЕРЕДНОЙ ЭКСПЛУАТАЦИИ И ОСВОЕНИЯ НЕСКОЛЬКИХ ПЛАСТОВ ОДНОЙ СКВАЖИНОЙ
(57) Реферат:
Изобретение относится к скважинной эксплуатации многопластовых месторождений углеводородов. Техническим результатом изобретения является повышение эффективности способа за счет герметичной посадки пакеров, возможности проверки их на герметичность, обеспечения раздельного освоения вышележащих объектов разработки. Способ включает спуск в скважину, по крайней мере, одной колонны труб без или с заглушенным концом, по меньшей мере, с одним спущенным ниже верхнего пласта рабочим пакером без или с разъединителем колонны, ниже и выше которого спущены, по крайней мере, по одному посадочному узлу для подачи через них рабочего агента соответственно в нижний и верхний пласты, посадку рабочего пакера и его опрессовку сверху. Согласно изобретению перед спуском в скважину колонну труб дополнительно оснащают, по крайней мере, одним технологическим пакером без или с установленным под ним разъединителем колонны. Устанавливают его на заданном расстоянии над рабочим пакером. В посадочные узлы в качестве съемных клапанов устанавливают съемные глухие пробки до спуска колонны труб в скважину или после спуска. Осуществляют спуск колонны труб, производят установку рабочего пакера на заданной глубине. Затем посредством разъединителя колонны отсоединяют нижнюю колонну труб с рабочим пакером от верхней колонны труб и осуществляют подъем верхней колонны труб с технологическим пакером на заданное расстояние. Производят пакеровку технологического пакера, образуя зону разъединения колонны труб между технологическим и рабочим пакерами. Производят опрессовку рабочего пакера путем создания давления внутри колонны труб и в указанной зоне между пакерами. Проводят проверку герметичности посадки рабочего пакера, при соблюдении которой производят распакеровку технологического пакера и подъем его на поверхность совместно с верхней колонной труб. Вводят скважину в эксплуатацию либо осуществляют спуск верхней колонны труб без технологического пакера и соединяют ее с нижней колонной труб. После этого с помощью канатной техники производят замену съемных глухих пробок в посадочных узлах на съемные штуцеры и проводят закачку через них рабочего агента в соответствующие пласты или добычу флюида. 9 з.п. ф-лы, 5 ил.
Изобретение относится к скважинной разработке и эксплуатации многопластовых месторождений углеводородов, а именно к технологии и технике одновременно-раздельной (ОРЭ) и поочередной эксплуатации (ПЭ) и освоения нескольких эксплуатационных объектов (пластов) одной скважиной, и может быть использовано для добычи углеводородов из скважины и/или нагнетания рабочего агента, и/или поддержания пластового давления, и/или физико-химического воздействия на продуктивный пласт.
Известен способ для одновременно-раздельной и поочередной эксплуатации нескольких пластов одной нагнетательной скважиной (патент РФ №2253009, Е21В 43/14, 2005 г.), включающий спуск в скважину колонны труб с пакером, ниже и выше которого спущены, по крайней мере, по одному посадочному узлу со съемным клапаном для подачи через них рабочего агента соответственно в нижний и верхний пласты, посадку пакера и его опрессовку на герметичность, определение при опрессовке минимального давления поглощения каждого пласта, закачку рабочего агента, измерение на поверхности характеристик и параметров рабочего агента в полости колонны труб и затрубном пространстве скважины, сопоставление фактических расходов рабочего агента для пластов с их проектными значениями, при этом при их отличии производят извлечение съемных клапанов из посадочных узлов, определяют и изменяют их характеристики и параметры, после чего повторно устанавливают каждый съемный клапан в соответствующий посадочный узел и продолжают закачку рабочего агента через них в соответствующие пласты.
Недостаток известного способа заключается в невозможности проверки на герметичность установки рабочих пакеров, в особенности нижних, на давлениях опрессовки эксплуатационной колонны и/или посадочных узлов. В указанном изобретении опрессовку на герметичность производят на давлениях, равных минимальным давлениям поглощения каждого из пластов, которые всегда значительно ниже рабочих давлений закачки и никогда не достигают давлений опрессовки колонны. Например, если по данному способу рабочий пакер спрессовывают на начальном давлении поглощения пласта, составляющем 70-100 атм, то нельзя с уверенностью сказать, что пакер будет герметичен при рабочем давлении закачки рабочего агента, равном 200 атм, если уже при давлении, например, в 120 атм может раскрыться трещина в колонне или в манжете пакера и начаться переток флюида. Обычно герметичность пакера проверяется на давлениях, превышающих рабочий диапазон давлений закачки и ограниченных давлением опрессовки эксплуатационной колонны или другого скважинного оборудования, например насосно-компрессорных труб или посадочных узлов.
Кроме того, при данном способе эксплуатации пластов не всегда возможно получить достоверную информацию о текущих параметрах вовлекаемого в эксплуатацию вышележащего пласта, поскольку чтобы освоить или доосвоить верхний пласт, необходимо исключить отрицательное влияние высоконапорных или сильнопоглощающих нижних пластов и штуцирующее влияние посадочных узлов.
Также в известной технологии не предусмотрена возможность открытия верхнего пласта при освоении скважины для прямого воздействия на пласт.
Если освоение пласта проводить, как описано в известном способе, через малые отверстия (имеющие диаметры 10-20 мм) в посадочных узлах, то оно будет малоэффективным из-за значительного штуцирующего эффекта.
Задачей изобретения является увеличение эффективности способа за счет повышения эффективности герметичной посадки рабочих пакеров, возможности проверки их на герметичность, а также обеспечения раздельного освоения вышележащих объектов разработки.
Поставленная задача достигается тем, что в способе одновременно-раздельной и поочередной эксплуатации и освоения нескольких пластов одной скважиной, включающем спуск в скважину, по крайней мере, одной колонны труб без или с заглушенным концом, по меньшей мере, с одним спущенным ниже верхнего пласта рабочим пакером без или с разъединителем колонны, ниже и выше которого спущены, по крайней мере, по одному посадочному узлу для подачи через них рабочего агента соответственно в нижний и верхний пласты, посадку рабочего пакера и его опрессовку сверху, согласно изобретению перед спуском в скважину колонну труб дополнительно оснащают, по крайней мере, одним технологическим пакером без или с установленным под ним разъединителем колонны и устанавливают его на заданном расстоянии над рабочим пакером, осуществляют спуск колонны труб, в посадочные узлы устанавливают съемные глухие пробки, производят установку рабочего пакера на заданной глубине, затем посредством разъединителя колонны отсоединяют нижнюю колонну труб с рабочим пакером от верхней колонны труб и осуществляют подъем верхней колонны труб с технологическим пакером на заданное расстояние, производят пакеровку технологического пакера, образуя зону разъединения колонны труб между технологическим и рабочим пакерами, производят опрессовку рабочего пакера путем создания давления внутри колонны труб и в указанной зоне между пакерами, проводят проверку герметичности посадки рабочего пакера, при соблюдении которой производят распакеровку технологического пакера и подъем его на поверхность совместно с верхней колонной труб и вводят скважину в эксплуатацию либо осуществляют спуск верхней колонны труб без технологического пакера и соединяют ее с нижней колонной труб, после чего с помощью канатной техники производят замену съемных глухих пробок в посадочных узлах на съемные штуцеры и проводят закачку через них рабочего агента в соответствующие пласты или добычу флюида.
Также при реализации способа выполняют следующие операции.
При опрессовке рабочего пакера создают давление внутри колонны труб и в зоне разъединения колонны труб между технологическим и рабочим пакерами, равное, например, давлению опрессовки эксплуатационной колонны.
Съемные глухие пробки в посадочные узлы можно предварительно устанавливать на поверхности до спуска колонны труб в скважину.
В скважину спускают технологический пакер многоразового действия.
Для проверки герметичности рабочего пакера над нижним пластом подъем верхней колонны труб с технологическим пакером на заданное расстояние осуществляют на участке до интервала перфорации верхнего пласта.
Между технологическим и рабочим пакерами устанавливают, по крайней мере, одно телескопическое соединение, которое обеспечивает возможность пакеровки технологического пакера в случае негерметичности или непосадки рабочего пакера.
Для освоения верхнего пласта проводят проверку герметичности посадки рабочего пакера над нижним пластом, при соблюдении которой производят подъем технологического пакера и установку его над интервалом перфорации верхнего пласта, и освоение верхнего пласта осуществляют через зону разъединения колонны труб между пакерами, затем производят распакеровку технологического пакера.
Освоение верхнего пласта под закачку производят за счет нагнетания под высоким давлением рабочего агента или путем гидроразрыва пласта.
Освоение верхнего пласта производят с помощью свабирования или компрессирования, или струйным насосом.
После освоения верхнего пласта производят подъем верхней колонны труб с технологическим пакером и разъединителем колонны, осуществляют промывку и спуск верхней колонны труб без или с технологическим пакером.
После освоения верхнего пласта поднимают верхнюю колонну труб, спускают глубинный насос и осуществляют дифференцированно по пластам закачку рабочего агента или добычу флюида.
Рабочий агент выбирают в зависимости от условий эксплуатации скважины.
Сущность предлагаемого изобретения заключается в том, что колонну труб оснащают технологическим пакером, предназначенным для опрессовки, и производят опрессовку рабочего пакера при создании давления внутри колонны труб и в зоне разъединения колонны труб между технологическим и рабочим пакерами, равного, например, давлению опрессовки эксплуатационной колонны, что позволяет произвести не только посадку пакеров, но и их проверку на герметичность, а также полностью отсечь нижний пласт и вести освоение вышележащих пластов в указанной зоне разъединения колонны труб между технологическим и рабочим пакерами (при установленных глухих пробках в посадочных узлах) с применением различных технологий прямого воздействия на пласт.
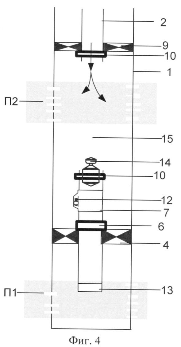
Для реализации способа на чертежах приведены некоторые схемы установок с технологическим пакером, где на фиг.1 показан общий вид установки; на фиг.2 – установка с открытым нижним концом – посадочным узлом центрального положения под съемный опрессовочный клапан; на фиг.3 – установка с установленным в посадочном узле центрального положения съемным опрессовочным обратным клапаном, а также показана зона разъединения колонны труб между технологическим и рабочим пакерами; на фиг.4 – установка с технологическим пакером, установленным над верхним пластом; на фиг.5 – установка с использованием глубинного насоса.
Установка для реализации способа, приведенная на фиг.1, включает в себя спуск в скважину 1 колонны труб 2 с заглушенным нижним концом 3, нижним рабочим пакером 4 и верхним рабочим пакером 5. Над нижним пакером 4 и верхним пакером 5 могут быть установлены разъединители колонны 6 для возможности отсоединения или соединения колонны труб 2 с рабочими пакерами 4 и 5. Ниже и/или выше пакеров 4 и 5 установлены один или несколько посадочных узлов, выполненных в виде скважинных камер 7 со съемными клапанами 8 (например, в виде глухой пробки или штуцера). Между интервалами перфорации нижнего пласта П1 и верхнего пласта П2 над нижним рабочим пакером 4 установлен технологический пакер 9 с размещенным под ним разъединителем колонны 10. Между технологическим пакером 9 и разъединителем колонны 10 может быть установлено телескопическое соединение 11. В скважинной камере 7 может быть установлен исследовательский прибор 12.
Эта установка (см. фиг.1) может применяться в монтажных, исследовательских и освоенческих работах для ведения ОРЭ, ПЭ, ОРЗ (одновременно-раздельной закачки) и ПЗ (поочередной закачки), для осуществления проверки герметичности посадки нижнего рабочего пакера и для проведения освоения пластов с прямым воздействием на перфорированный интервал пласта.
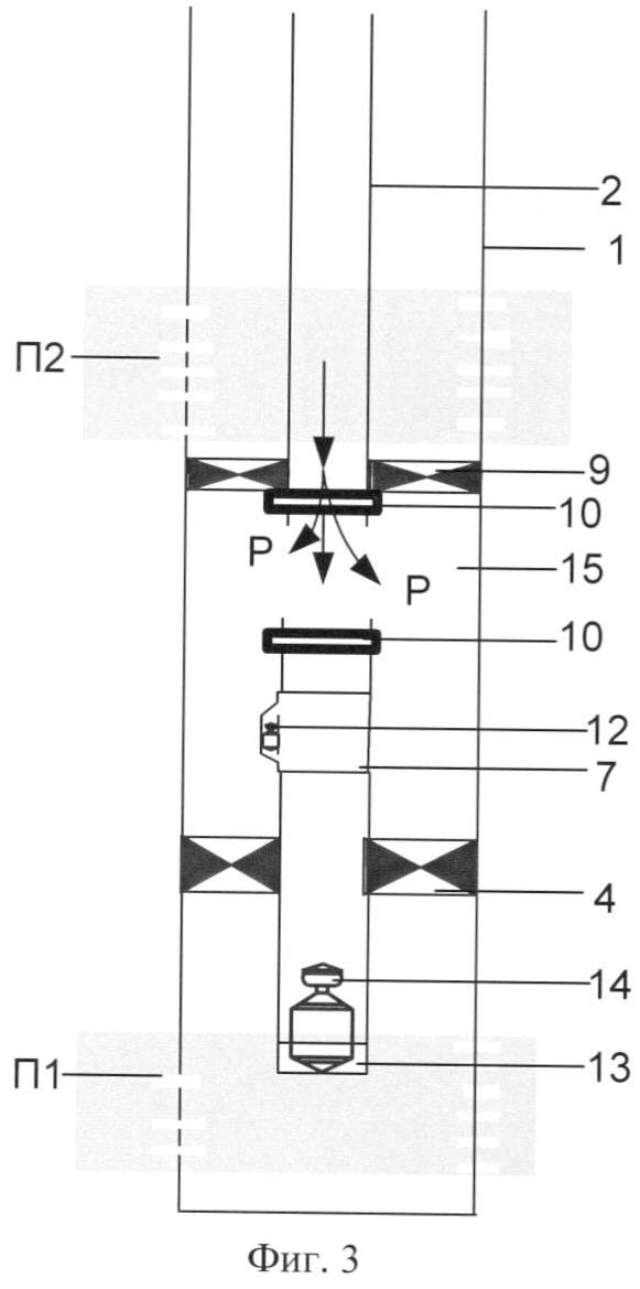
Установка, приведенная на фиг.2, включает колонну труб с открытым нижним концом – посадочным узлом центрального положения 13. Технологический пакер 9 показан в транспортном положении и может быть использован для проверки на герметичность рабочего нижнего пакера 4 или освоения верхнего пласта. Установка может быть использована для одновременно-раздельной или поочередной эксплуатации пластов или закачки рабочего агента через один лифт.
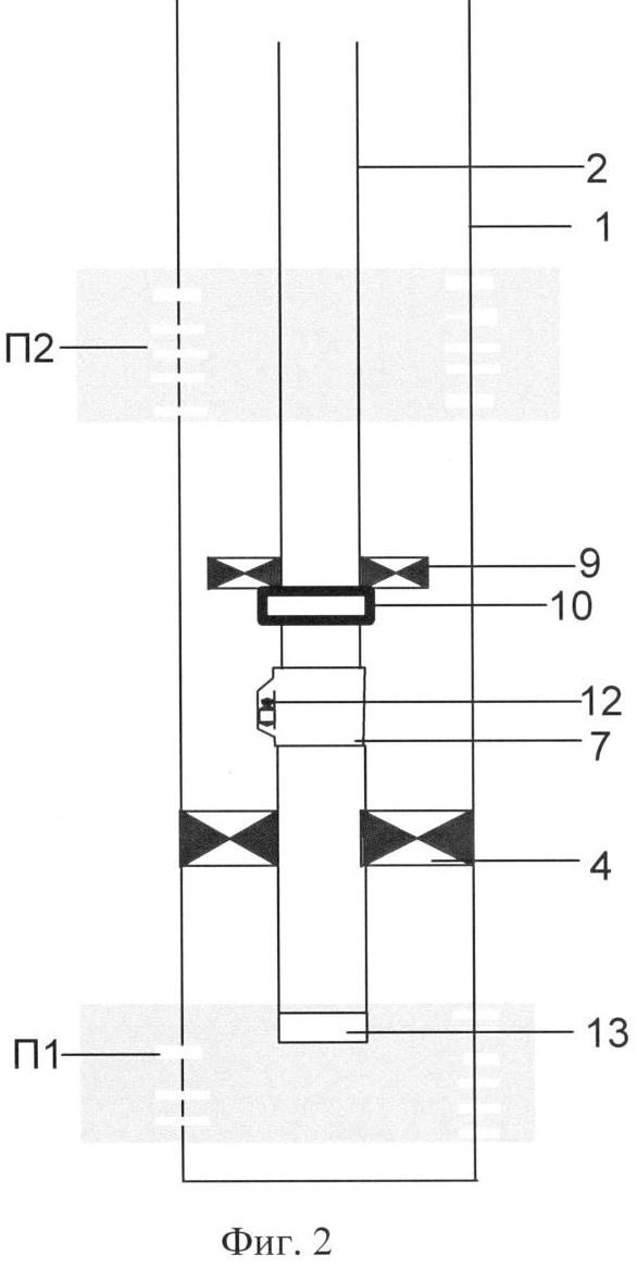
Установка, приведенная на фиг.3, включает колонну труб с установленным в посадочном узле 13 съемным опрессовочным обратным клапаном 14. Установка показана в рабочем положении в момент опрессовки нижнего рабочего пакера 4 через зону разъединения колонны труб 15 между пакерами (технологическим пакером 9 и нижним рабочим пакером 4). Стрелками показано распределение давления опрессовки (Р). Разъединитель колонны 10 показан в разъединенном состоянии.
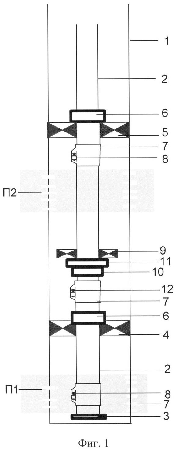
Установка, показанная на фиг.4, предназначена для освоения верхнего пласта. В этой установке технологический пакер 9 устанавливают над интервалом перфорации верхнего пласта П2, что позволяет открыть пласт и создать скважинное пространство, не перекрытое колонной труб (зону разъединения колонны труб 15 между пакерами), с целью проведения на пласт прямого воздействия, на что указывают стрелки. Опрессовочный клапан 14 устанавливают в нижней разъединенной части разъединителя колонны 10 с целью предотвращения загрязнения нижней части скважинной установки продуктами освоения верхнего пласта, для исключения попадания различных механических примесей и химических агрессивных веществ, применяемых при ОПЗ, в нижерасположенные посадочные узлы и на забой скважины.
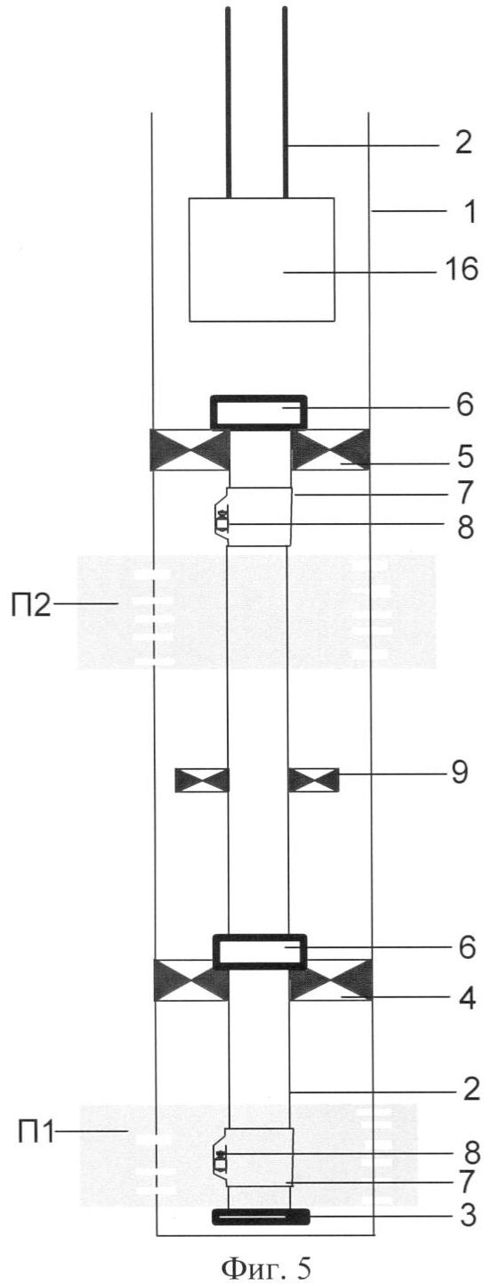
Установка, приведенная на фиг.5, оснащена глубинным насосом 16.
Способ реализуется следующим образом.
Спускают в скважину 1 колонну труб 2 без (с открытым 13 на фиг.2) или с заглушенным 3 концом (см. фиг.1), нижним 4 и/или верхним 5 рабочими пакерами без или с разъединителем колонны 6, одним или несколькими посадочными узлами, в виде скважинных камер 7, технологическим пакером 9 с разъединителем колонны 10 и без или с телескопическим соединением 11. В скважинные камеры 7 устанавливают съемные глухие пробки 8. Вместо глухой пробки можно установить обратный опрессовочный клапан или регулирующее устройство в положении “закрыто”. Устанавливают нижний рабочий пакер 4 на заданной глубине пласта. Технологический пакер 9 и нижний рабочий пакер 4 устанавливают в скважине 1 так, чтобы они находились между интервалами перфорации нижнего П1 и верхнего П2 пластов (фиг.1). Посредством разъединителя колонны 10, установленного под технологическим пакером 9, отсоединяют нижнюю колонну труб 2 с нижним рабочим пакером 4 от верхней колонны труб 2 с технологическим пакером 9 и осуществляют подъем верхней колонны труб на заданное расстояние на участке до интервала перфорации верхнего пласта П2. Производят пакеровку технологического пакера 9, образуя таким образом зону разъединения колонны труб 15 между пакерами (технологическим пакером 9 и нижним рабочим пакером 4). Создают давление внутри колонны труб 2 и в указанной зоне 15 между технологическим 9 и нижним рабочим 4 пакерами и производят опрессовку нижнего рабочего пакера (фиг.3). Создают давление, равное давлению опрессовки эксплуатационной колонны, например 130 атм, и выдерживают в течение некоторого времени, достаточного для стабилизации давления, например 30 минут. Если давление в течение времени опрессовки не изменилось, то оно свидетельствует о герметичности замкнутой системы. В этом случае производят распакеровку технологического пакера 9 и подъем его на поверхность совместно с верхней колонной труб и вводят скважину в эксплуатацию либо осуществляют спуск в скважину верхней колонны труб без технологического пакера и соединяют ее с нижней колонной труб, затем с помощью канатной техники производят замену съемных глухих пробок 8 на съемные клапаны/штуцеры в соответствующих скважинных камерах 7 и проводят закачку через них рабочего агента в соответствующие пласты или добычу флюида.
При герметичности системы и необходимости проведения работ по освоению верхнего пласта производят распакеровку технологического пакера 9 и с верхней колонной труб 2 поднимают над интервалом перфорации вышележащего пласта, в частности П2 (фиг.4). Производят пакеровку технологического пакера 9 и начинают закачку рабочего агента или отработку пласта с помощью, например, струйного насоса. Определяют параметры приемистости или дебита. В случае необходимости улучшения параметров/свойств пласта проводят ОПЗ с прямым воздействием на пласт, например, акустическими вибраторами. На фиг.4 стрелками показано направление движения рабочего агента к интервалу перфорации П2 в зоне разъединения колонны труб 15 между пакерами 9 и 4.
Исследовательские приборы 12, установленные в скважинных камерах 7, предназначены для исследований и регистрации изменений параметров при освоении, закачке и эксплуатации одного или нескольких пластов. Съемные штуцеры 8 после их установки в скважинные камеры 7 применяются для регулирования закачки или дебита раздельно по отдельно взятому пласту.
Опрессовочный клапан 14 используется для отсечения нижней колонны труб для опрессовки или для исключения попадания в нее различных механических примесей, образующихся при проведении различных физико-химических прямых воздействий на пласт.
В случае недостаточной приемистости пласта П2 производят гидроразрыв пласта (ГРП) или ОПЗ различными кислотами, щелочами и ПАВ или свабирование. После достижения необходимой приемистости верхнего пласта производят распакеровку технологического пакера 9 и подъем его на поверхность совместно с верхней колонной труб, после чего осуществляют спуск в скважину верхней колонны труб без технологического пакера 9 и соединяют ее с нижней колонной труб посредством разъединителя колонны 10. Затем с помощью канатной техники производят замену съемных глухих пробок 8 в скважинных камерах 7 на съемные штуцеры 8 и осуществляют через них закачку рабочего агента или добычу флюида.
Если после освоения пласта методом ГРП необходима промывка скважины в осваиваемом интервале, то ее проводят в том числе после полного подъема (до устья скважины) верхней колонны труб вместе с технологическим пакером 9 и отсоединенной частью разъединителя колонны 10, а после выполнения промывки скважины спускают верхнюю колонну труб с отсоединенной частью разъединителя колонны 10 без или с технологическим пакером 9 для возможности повторной проверки нижнего рабочего пакера 4 на герметичность. Соединяют нижнюю колонну с верхней колонной труб, в случае необходимости устанавливают над верхним интервалом перфорации пласта П2 верхний рабочий пакер 5 и с помощью канатной техники производят замену съемных глухих пробок 8 в скважинных камерах 7 на съемные штуцеры 8 и осуществляют через них закачку рабочего агента или производят одновременно-раздельный отбор флюида, например, глубинным насосом 16 (фиг.5).
Если скважина предназначена для ввода ее в эксплуатацию-добычу, то для освоения/доосвоения скважины применяют кроме гидроразрыва пласта свабирование, освоение с помощью струйного насоса или компрессирование с помощью, например, азотной установки. После вывода и отработки пласта до требуемого режима эксплуатации производят распакеровку технологического пакера с подъемом его на поверхность совместно с верхней колонной труб, затем производят с помощью канатной техники замену съемных глухих пробок на штуцеры в соответствующих скважинных камерах и проводят добычу флюида через них из соответствующих пластов.
Если требуется спустить в скважину следующую ступень установки, включающую, например, пакер, разъединитель колонны с посадочным узлом, то производят подъем верхней колонны труб с технологическим пакером. Далее на поверхности собирают следующую ступень установки, аналогично предыдущей, и спускают в скважину.
Затем соединяют посредством разъединителя колонны на заданной глубине две ступени установки. Устанавливают очередную ступень с рабочим пакером, над которым производят разъединение и подъем верхней колонны труб с технологическим пакером на заданное расстояние и производят пакеровку технологического пакера. Опрессовывают рабочий пакер сверху. Создают давление в колонне труб и соответственно между указанными пакерами. После проверки герметичности производят распакеровку технологического пакера с подъемом его на поверхность, устанавливают вместо съемных глухих пробок съемные штуцеры в соответствующие скважинные камеры и проводят закачку через них рабочего агента в соответствующие пласты или добычу флюида.
Пример 1
На многопластовом месторождении Западной Сибири на скважине №5302 был осуществлен спуск колонны труб с заглушенным концом, с ниппелем и нижним рабочим пакером гидравлического действия 2ПД-ЯГ-122, разъединителем колонны, технологическим пакером механического (осевого) действия и двумя скважинными камерами КТ1-60Б-21К2 с установленными в них глухими пробками 5ПГ-25. Установили опрессовочный клапан в ниппель выше нижнего рабочего пакера 2ПД-ЯГ-122 и проверили на герметичность колонну труб при давлении в 210 атм в течение 20 минут.После подтверждения герметичности извлекли опрессовочный клапан и затем на глубине 2692 м установили нижний рабочий пакер 2ПД-ЯГ-122. Для проверки на герметичность нижнего рабочего пакера 2ПД-ЯГ-122 было проведено разъединение колонны труб посредством разъединителя колонны РКМ-122 и осуществлен подъем верхней колонны труб с технологическим пакером на одну НКТ 9,5 м, произведена пакеровка технологического пакера и с выдержкой в течение 30 минут при устьевом давлении опрессовки эксплуатационной колонны в 130 атм произведена опрессовка колонны насосно-компрессорных труб, двух скважинных камер и эксплуатационной колонны в девятиметровом межпакерном пространстве (зоне разъединения колонны труб между технологическим и нижним рабочим пакерами). Герметичность подтвердилась неизменным давлением в течение всего опрессовочного времени. Затем произвели распакеровку технологического пакера с подъемом его на устье.
Далее снова провели спуск следующей колонны труб, среднего рабочего пакера 2ПД-ЯГ-122, одной скважинной камеры КТ1-60Б-21К2 с установленной в ней глухой пробкой 5ПГ-25, технологического пакера и отсоединенной части разъединителя колонны РКМ-122, соединили нижнюю колонну с верхней колонной труб, произвели посадку среднего рабочего пакера 2ПД-ЯГ-122 гидравлического действия. После этого осуществили в аналогичной последовательности все технологические операции, описанные выше.
Средний рабочий пакер установили на глубине 2625 м, спрессовали его на 130 атм после разъединения разъединителя колонны РКМ-122 и пакеровки технологического пакера с подъемом на одну НКТ. После соединения разъединителя колонны РКМ-122 проверили приемистость среднего пласта 2БП-9 за счет извлечения глухой пробки 5ПГ-25 после открытия с помощью канатной техники скважинной камеры, расположенной под средним рабочим пакером 2ПД-ЯГ-122, которая составила при 165 атм около 50 м3/сут. После этого произвели распакеровку технологического пакера с подъемом его на устье и последующим демонтажом.
Затем осуществили спуск очередной колонны труб с верхним рабочим пакером 2ПД-ЯГ-122 двумя скважинными камерами КТ1-60Б-21К2 с установленными в них глухими пробками 5ПГ-25 и отсоединенной частью разъединителя колонны РКМ-122, соединили нижнюю колонну с верхней колонной труб, произвели посадку верхнего рабочего пакера 2ПД-ЯГ-122. Опрессовали его в обычном порядке, уже без применения технологического пакера, сверху по межтрубью также при опрессовочном давлении эксплуатационной колонны в 130 атм.
Установили с помощью канатной техники в скважинные камеры вместо глухих пробок регуляторы расхода 5РД-25. Подключили к скважине водовод и начали одновременно-раздельную закачку воды в три пласта.
В результате работ была установлена раздельно по ступеням трехпакерная скважинная установка с поочередной фактической проверкой на герметичность сверху каждого из пакеров в отдельности на давлении опрессовки, равном 130 атм, с применением технологического пакера и запущена ОРЗ воды в три пласта.
Пример 2
На многопластовом месторождении Западной Сибири на скважине №1109 был осуществлен спуск колонны труб с опрессовочным обратным клапаном в посадочном узле центрального положения, с нижним рабочим пакером гидравлического действия, разъединителем колонны, технологическим пакером механического (осевого) действия и скважинными камерами с установленными в них глухими пробками, затем на глубине 3211 м была произведена установка нижнего рабочего пакера, для проверки которого на герметичность было проведено разъединение колонны труб посредством разъединителя колонны и осуществлен подъем верхней колонны труб с технологическим пакером на 10 м, произведена пакеровка технологического пакера и проведена опрессовка с выдержкой в течение 1 часа при устьевом давлении в 210 атм колонны насосно-компрессорных труб, посадочного узла и эксплуатационной колонны в десятиметровом межпакерном пространстве. Герметичность подтвердилась неизменным давлением в течение всего опрессовочного времени.
Затем извлекли опрессовочный клапан из посадочного узла центрального положения, произвели распакеровку технологического пакера с подъемом его на устье и последующим демонтажом.
Далее провели спуск следующей колонны труб с верхним рабочим пакером, скважинной камерой и отсоединенной частью разъединителя колонны, осуществили соединение нижней колонны с верхней колонной труб, закрыли опрессовочным клапаном отверстие внизу колонны труб, произвели посадку верхнего рабочего пакера гидравлического действия, спрессовали его сверху по межтрубью, после чего извлекли опрессовочный клапан с помощью канатной техники.
Для того чтобы вести насосным способом поочередный отбор флюида сначала с нижнего, а потом с верхнего пласта, оставляют съемную глухую пробку в скважинной камере, расположенной в интервале перфорации верхнего пласта, спускают глубинный насос УЭЦН-50 и осуществляют добычу флюида из нижнего пласта. После отработки нижнего пласта снова спускают глубинный насос и вовлекают дополнительно в одновременно-раздельную эксплуатацию верхний пласт, предварительно с помощью канатной техники установив в скважинную камеру съемный штуцер вместо глухой пробки.
Формула изобретения
1. Способ одновременно-раздельной и поочередной эксплуатации и освоения нескольких пластов одной скважиной, включающий спуск в скважину, по крайней мере, одной колонны труб без или с заглушенным концом, по меньшей мере, с одним спущенным ниже верхнего пласта рабочим пакером без или с разъединителем колонны, ниже и выше которого спущены, по крайней мере, по одному посадочному узлу для подачи через них рабочего агента соответственно в нижний и верхний пласты, посадку рабочего пакера и его опрессовку сверху, отличающийся тем, что перед спуском в скважину колонну труб дополнительно оснащают, по крайней мере, одним технологическим пакером без или с установленным под ним разъединителем колонны и устанавливают его на заданном расстоянии над рабочим пакером, в посадочные узлы в качестве съемных клапанов устанавливают съемные глухие пробки до спуска колонны труб в скважину или после спуска, осуществляют спуск колонны труб, производят установку рабочего пакера на заданной глубине, затем посредством разъединителя колонны отсоединяют нижнюю колонну труб с рабочим пакером от верхней колонны труб и осуществляют подъем верхней колонны труб с технологическим пакером на заданное расстояние, производят пакеровку технологического пакера, образуя зону разъединения колонны труб между технологическим и рабочим пакерами, производят опрессовку рабочего пакера путем создания давления внутри колонны труб и в указанной зоне между пакерами, проводят проверку герметичности посадки рабочего пакера, при соблюдении которой производят распакеровку технологического пакера и подъем его на поверхность совместно с верхней колонной труб, и вводят скважину в эксплуатацию либо осуществляют спуск верхней колонны труб без технологического пакера и соединяют ее с нижней колонной труб, после чего с помощью канатной техники производят замену съемных глухих пробок в посадочных узлах на съемные штуцеры и проводят закачку через них рабочего агента в соответствующие пласты или добычу флюида.
2. Способ по п.1, отличающийся тем, что при опрессовке рабочего пакера создают давление внутри колонны труб и в зоне разъединения колонны труб между пакерами, равное давлению опрессовки эксплуатационной колонны.
3. Способ по п.1, отличающийся тем, что в скважину спускают технологический пакер многоразового действия.
4. Способ по п.1, отличающийся тем, что для проверки герметичности рабочего пакера над нижним пластом подъем колонны труб с технологическим пакером на заданное расстояние осуществляют на участке до интервала перфорации верхнего пласта.
5. Способ по п.1, отличающийся тем, что между технологическим и рабочим пакерами устанавливают, по крайней мере, одно телескопическое соединение.
6. Способ по п.1, отличающийся тем, что для освоения верхнего пласта проводят проверку герметичности посадки рабочего пакера над нижним пластом, при соблюдении которой производят подъем технологического пакера и установку его над интервалом перфорации верхнего пласта и освоение верхнего пласта осуществляют через зону разъединения колонны труб между пакерами, затем производят распакеровку технологического пакера.
7. Способ по п.6, отличающийся тем, что освоение верхнего пласта под закачку производят за счет нагнетания под высоким давлением рабочего агента или путем гидроразрыва пласта.
8. Способ по п.6, отличающийся тем, что освоение верхнего пласта производят с помощью свабирования или компрессирования или струйным насосом.
9. Способ по п.6, отличающийся тем, что после освоения верхнего пласта производят подъем верхней колонны труб с технологическим пакером и разъединителем колонны, осуществляют промывку и спуск верхней колонны труб без или с технологическим пакером.
10. Способ по п.6, отличающийся тем, что после освоения верхнего пласта поднимают верхнюю колонну труб, спускают глубинный насос и осуществляют дифференцированно по пластам закачку рабочего агента или добычу флюида.
РИСУНКИ
|
|