|
|
(21), (22) Заявка: 2007120206/03, 30.05.2007
(24) Дата начала отсчета срока действия патента:
30.05.2007
(46) Опубликовано: 27.03.2009
(56) Список документов, цитированных в отчете о поиске:
RU 2059061 С1, 27.04.1996. SU 697697 А, 15.11.1979. SU 1783111 А1, 23.12.1992. RU 2007552 C1, 15.02.1994. RU 2039220 C1, 09.07.1995.
Адрес для переписки:
246050, Республика Беларусь, г.Гомель, а/я 82, С.В. Громыко
|
(72) Автор(ы):
Родионов Вячеслав Иванович (BY), Демяненко Николай Александрович (BY)
(73) Патентообладатель(и):
Республиканское унитарное предприятие “Производственное объединение “Белоруснефть” (BY)
|
(54) УСТРОЙСТВО ДЛЯ ГИДРАВЛИЧЕСКОЙ ПЕРФОРАЦИИ СКВАЖИН
(57) Реферат:
Изобретение относится к нефтяной промышленности и может быть использовано при разработке нефтяных месторождений с использованием гидроразрыва пласта. Технический результат – повышение надежности и эффективности работы устройства. Устройство для гидравлической перфорации скважин состоит из колонны насосно-компрессорных труб (1), корпуса (2) перфоратора с осевым каналом (3). В осевом канале (3) выполнены боковые отверстия (4), в них расположены насадки (5). Устройство также содержит двухступенчатую втулку (6), узел центрирующих элементов, расположенный ниже насадок (5), муфту (7), установленную на втулке (6) посредством подшипника (8), расположенного между кольцевым упором (9) муфты и большей ступенью (10) втулки (6). Узел центрирующих элементов состоит из корпуса (11), содержащего в верхней части седло (12) для установки рабочего шара (13), установленных на нем четырех центрирующих ребер (14). В одном из ребер выполнен паз (15) с установленной в нем продольной осью (16). На оси (16) закреплены держатели (17) роликов (18), соединенные пружиной кручения (19), обеспечивающей постоянный контакт ролика (18) со стенкой обсадной колонны (20) скважины. Угол с вершиной в точке касания ролика (18) стенки обсадной колонны скважины (20), образованный радиусом обсадной колонны (20) и линией, проходящей через ось поворота держателя (17) роликов (18), меньше угла трения. 2 ил.
Изобретение относится к нефтяной промышленности и может быть использовано при разработке нефтяных месторождений с использованием гидроразрыва пласта.
Известен пескоструйный перфоратор /1/, состоящий из корпуса с осевым каналом, боковыми отверстиями с расположенными в них насадками, расположенного ниже корпуса хвостовика с центратором.
Недостатком данного перфоратора является то, что центрирующие ребра не удерживают устройство в процессе гидропескоструйной перфорации скважины от поперечных колебаний (поворотов вокруг оси), возникающих от действия пульсаций давления в перфорационной жидкости и вибраций, обусловленных упругими свойствами колонны НКТ и кривизной скважины. Амплитуда поперечных колебаний во многих случаях больше амплитуды продольных колебаний устройства. Это приводит к нарушению процесса создания перфорационных каналов в стенке скважины из-за непроизводительного действия отклоняемой в поперечном направлении струи перфорационной жидкости, что снижает эффективность работы устройства.
Известно также устройство для гидроразрыва пласта /2/, включающее НКТ, перфоратор с перфорационными отверстиями, расположенными в одной вертикальной плоскости, размещенный выше перфоратора на НКТ якорный узел, состоящий из корпуса, установленных в корпусе перпендикулярно его оси поршней, на концах которых имеются упорные элементы в виде салазок.
Недостатком данного устройства является то, что механизм выдвижения центрирующих и стабилизирующих от поворота салазок подвержен абразивному действию перфорационной жидкости, подаваемой под давлением в перфоратор. Это приводит к износу и заклиниванию механизма выдвижения и, соответственно, к снижению надежности работы устройства. Расположение якорного узла выше перфоратора препятствует также циркуляции перфорационной жидкости, снижая эффективность работы устройства по перфорации скважины.
Наиболее близким по технической сущности и выполняемым функциям к заявляемому изобретению является устройство для гидравлической перфорации скважины /3/, включающее колонну насосно-компрессорных труб, корпус перфоратора с осевым каналом, боковыми отверстиями с расположенными в них насадками, двухступенчатую втулку, узел центрирующих элементов, расположенный ниже насадок и содержащий подпружиненные ролики, установленные с возможностью контакта со стенкой обсадной колонны скважины, муфту с кольцевым упором, жестко соединенную с колонной насосно-компрессорных труб.
Недостатком данного устройства является то, что стесненные условия скважины и, соответственно, небольшие поперечные размеры устройства не позволят изготовить прочным узел выдвижных центрирующих роликов, испытывающих значительные нагрузки для обеспечения центрирования устройства в скважине, что снижает надежность устройства.
Гашение пульсаций давления и удлинений НКТ для предотвращения разрушения или разгерметизации является актуальной задачей, когда имеет место жесткая фиксация перфоратора, а при свободном его возвратно-поступательном перемещении гашение пульсаций давления снижает надежность и эффективность работы устройства.
Сложное устройство гашения пульсаций давления, работающее в среде высокоабразивной жидкости, снижает надежность работы устройства. Одновременно, гашение пульсаций давления перфорационной жидкости отрицательно сказывается на эффективности процесса перфорации скважины, так как пульсации давления создают пульсации скоростного напора струй перфорационной жидкости, истекающей из сопел. Пульсирующие струи перфорационной жидкости увеличивают неравномерность распределения порового давления и напряжений в породе, что приводит к более интенсивному разрушению породы пласта и повышению эффективности процесса перфорации.
Задачей изобретения является повышение надежности и эффективности работы устройства для гидравлической перфорации скважины.
Поставленная задача решается за счет того, что в устройстве для гидравлической перфорации скважин, включающем колонну насосно-компрессорных труб, корпус перфоратора с осевым каналом, боковыми отверстиями с расположенными в них насадками, двухступенчатую втулку, узел центрирующих элементов, расположенный ниже насадок и содержащий подпружиненные ролики, установленные с возможностью контакта со стенкой обсадной колонны скважины, муфту с кольцевым упором, жестко соединенную с колонной насосно-компрессорных труб, согласно изобретению муфта установлена на втулке посредством подшипника, расположенного между кольцевым упором муфты и большей ступенью втулки, узел центрирующих элементов состоит из центрирующих ребер, по меньшей мере в одном из которых выполнен паз с установленной в нем продольной осью, на которой закреплены с возможностью поворота держатели роликов, соединенные пружиной, обеспечивающей постоянный контакт ролика со стенкой обсадной колонны скважины, при этом угол с вершиной в точке касания ролика стенки обсадной колонны скважины, образованный радиусом обсадной колонны и линией, проходящей через ось поворота держателя роликов, меньше угла трения.
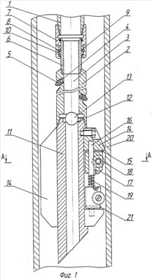
На фиг.1 изображен разрез устройства, на фиг.2 – сечение А-А.
Устройство для гидравлической перфорации скважин состоит из колонны насосно-компрессорных труб 1, корпуса 2 перфоратора с осевым каналом 3. В осевом канале 3 выполнены боковые отверстия 4, в них расположены насадки 5. Устройство также содержит двухступенчатую втулку 6, узел центрирующих элементов, расположенный ниже насадок 5, муфту 7, установленную на втулке 6 посредством подшипника 8, расположенного между кольцевым упором 9 муфты и большей ступенью 10 втулки 6. Узел центрирующих элементов состоит из корпуса 11, содержащего в верхней части седло 12 для установки рабочего шара 13, установленных на нем четырех центрирующих ребер 14, в одном из которых выполнен паз 15 с установленной в нем продольной осью 16, на которой закреплены держатели 17 роликов 18, соединенные пружиной кручения 19, обеспечивающей постоянный контакт ролика 18 со стенкой обсадной колонны 20 скважины, при этом угол с вершиной в точке A касания ролика 18 со стенкой обсадной колонны 20 скважины, образованный радиусом ОА обсадной колонны и линией АО1, проходящей через ось О1 поворота держателя 17, меньше угла трения . На центрирующем ребре 14 с пазом 15 выполнены упоры 21, удерживающие держатели 17 в рабочем положении.
Устройство для гидравлической перфорации скважин работает следующим образом.
Устройство на НКТ спускают в интервал перфорации скважины, где оно центрируется ребрами 14, установленными с небольшим зазором (порядка 2 мм) относительно обсадной колонны скважины. При этом точность центрирования устройства в обсадной колонне вполне приемлема для процесса ее перфорации, а простота центрирования, не требующая сложного привода, повышает надежность работы устройства.
Закрепленные на держателях 17 ролики 18 постоянно контактируют со стенкой обсадной колонны 20 скважины, причем усилие прижатия роликов 18 направлено навстречу друг другу за счет пружины кручения 19, установленной на продольной оси 16 с предварительным поджатием и креплением между держателями 17.
После спуска устройства, обвязки устья, опрессовки НКТ и восстановления круговой циркуляции сбрасывают рабочий шар 13 в седло 12 узла центрирующих элементов и насосными агрегатами по колонне НКТ 1 прокачивают перфорационную жидкость, которая через насадки 5 направляется на стенки обсадной колонны 20, прорезая ее и образуя углубления в породе пласта. При этом колонна НКТ 1 под действием пульсаций давления, создаваемых насосными агрегатами, и вибраций испытывает продольные и поперечные колебания, передаваемые на жестко закрепленную на колонне НКТ 1 муфту 7. Под действием продольных колебаний, вызванных удлинением и сжатием колонны НКТ 1, перфоратор осуществляет возвратно-поступательные перемещения вдоль обсадной колонны. За счет установки подшипника 8, расположенного между кольцевым упором 9 муфты 7 и большей ступенью 10 втулки 6, жестко закрепленной на корпусе 2 перфоратора, поперечные (крутильные) колебания НКТ передаются на корпус 2 перфоратора только в виде незначительного по величине момента сил трения, возникающих в подшипнике 8 и между цилиндрическими поверхностями муфты 7 и двухступенчатой втулки 6. Эти поперечные силы (момент сил), пытающиеся повернуть перфоратор, воспринимаются поочередно (в зависимости от направления поворота) одним из роликов 18, прижимаемым к стенке обсадной колонны 20 пружиной кручения 19. При этом происходит процесс самоторможения, предотвращающий поворот перфоратора. Самоторможение обеспечивается действием сил трения, возникающих в точке контакта А ролика 18 и противоположно установленного ребра 14 со стенкой обсадной колонны 20 при условии, что угол , образованный радиусом ОА и линией АО1, меньше угла трения , т.е. угол ОАО1< , где O1– ось поворота держателя 17 ролика 18, – угол трения, образованный реакцией F21 обсадной колонны на ролик 18 и силой нормального давления Fn между роликом 18 и обсадной колонной. Реакция F21 равна геометрической сумме силы Fn и силы трения Ff.
Пружина 19 обеспечивает начальное прижатие роликов 18 к стенке обсадной колонны 20.
Таким образом, перфоратор совершает только возвратно-поступательные перемещения вдоль обсадной колонны, а поперечные (крутильные) колебания не передаются подшипником 8 и не допускаются механизмом самоторможения.
Струя перфорационной жидкости при этом прорезает в обсадной колонне и в породе пласта строго щелевой канал длиной, равной полной амплитуде продольных колебаний НКТ.
Необходимое количество щелевых каналов определяется величиной интервала перфорации и обеспечивается подъемом колонны НКТ на необходимую величину, определяемую шагом перфорационных каналов.
Свободное, без гашения пульсаций давления, возвратно-поступательное перемещение перфоратора позволяет получать более длинные щелевые перфорационные каналы. Кроме того, пульсации давления создают пульсации скоростного напора струй перфорационной жидкости, увеличивающие интенсивность разрушения породы и, как следствие, обеспечивающие получение более глубоких перфорационных каналов.
Источники информации
1. Временная инструкция по гидропескоструйному методу перфорации и вскрытию пласта. Министерство нефтедобывающей промышленности СССР. Всесоюзный нефтегазовый научно-исследовательский институт. – М. 1967 г., с.17-20.
2. RU 2007552 С1, МПК Е 21 В 43/24, опубл. 15.02.1994 г.
3. RU 2059061 С1, МПК Е 21 В 43/114, опубл. 27.04.1996 г.
Формула изобретения
Устройство для гидравлической перфорации скважин, включающее колонну насосно-компрессорных труб, корпус перфоратора с осевым каналом, боковыми отверстиями с расположенными в них насадками, двухступенчатую втулку, узел центрирующих элементов, расположенный ниже насадок и содержащий подпружиненные ролики, установленные с возможностью контакта со стенкой обсадной колонны скважины, муфту с кольцевым упором, жестко соединенную с колонной насосно-компрессорных труб, отличающееся тем, что муфта установлена на втулке посредством подшипника, расположенного между кольцевым упором муфты и большей ступенью втулки, узел центрирующих элементов состоит из центрирующих ребер, по меньшей мере, в одном из которых выполнен паз с установленной в нем продольной осью, на которой закреплены с возможностью поворота держатели роликов, соединенные пружиной, обеспечивающей постоянный контакт ролика со стенкой обсадной колонны скважины, при этом угол с вершиной в точке касания ролика стенки обсадной колонны скважины, образованный радиусом обсадной колонны и линией, проходящей через ось поворота держателя роликов, меньше угла трения.
РИСУНКИ
|
|