|
|
(21), (22) Заявка: 2006119925/03, 05.11.2004
(24) Дата начала отсчета срока действия патента:
05.11.2004
(30) Конвенционный приоритет:
07.11.2003 EP 03104119.7
(43) Дата публикации заявки: 27.12.2007
(46) Опубликовано: 27.03.2009
(56) Список документов, цитированных в отчете о поиске:
US 5875802 А, 02.03.1999. RU 2002126128 А, 20.02.2004. RU 2194152 С2, 10.12.2002. RU 2174590 С1, 10.10.2001. US 4042033 А, 16.08.1977.
(85) Дата перевода заявки PCT на национальную фазу:
07.06.2006
(86) Заявка PCT:
EP 2004/052829 (05.11.2004)
(87) Публикация PCT:
WO 2005/045183 (19.05.2005)
Адрес для переписки:
103735, Москва, ул. Ильинка, 5/2, ООО “Союзпатент”, пат.пов. О.Ф.Ивановой
|
(72) Автор(ы):
ВАН ЕЙДЕН Гербранд Йозеф Мария (NL), ЛЮГТМЕЕР Луббертус (NL)
(73) Патентообладатель(и):
ШЕЛЛ ИНТЕРНЭШНЛ РИСЕРЧ МААТСХАППИЙ Б.В. (NL)
|
(54) СПОСОБ И УСТРОЙСТВО ДЛЯ ЗАКАЧИВАНИЯ В СКВАЖИНУ ОБРАБАТЫВАЮЩЕЙ ТЕКУЧЕЙ СРЕДЫ
(57) Реферат:
Группа изобретений относится к способу и системе для закачивания обрабатывающей текучей среды в скважину. Техническим результатом изобретения является повышение эффективности способа и надежности системы по обработке скважины. По изобретению скважину снабжают управляемым с поверхности заглубленным предохранительным клапаном. Этим клапаном управляют путем изменения давления в трубопроводе управления клапаном. При этом обрабатывающую текучую среду закачивают в скважину с прохождением потока через трубопровод управления клапаном. Обеспечивают прохождение потока от клапана к устью скважины и к отверстию для подачи обрабатывающей среды в скважину. Система содержит трубопровод, подсоединенный к трубопроводу управления клапаном и содержащий, по меньшей мере, одно отверстие для подачи обрабатывающей среды и один обратный клапан, который препятствует протеканию пластовых сред от каждого отверстия для подачи обрабатывающей среды по трубопроводу подачи обрабатывающей среды в трубопровод управления клапаном. При этом трубопровод подачи обрабатывающей среды установлен на участке скважины ниже предохранительного клапана так, что, по меньшей мере, одно отверстие для подачи обрабатывающей среды расположено ниже предохранительного клапана. 2 н. и 17 з.п. ф-лы, 1 табл., 1 ил.
Область техники, к которой относится изобретение
Настоящее изобретение относится к способу и устройству для закачивания в скважину обрабатывающей текучей среды.
Уровень техники
Часто бывает необходимо закачивать в нефтяную и/или газовую эксплуатационную скважину текучую среду для технологической обработки скважины. Обрабатывающая среда может включать в себя ингибитор коррозии или ингибитор гидратообразования, вещество, снижающее вязкость, химическое вещество для предотвращения осаждения серы, асфальтенов или парафинов, или пенообразующее вещество, которое задерживает накапливание в скважине сконденсированной воды и/или конденсатов.
Многие нефтяные и/или газовые эксплуатационные скважины оборудованы погружным предохранительным клапаном, управляемым с поверхности (сокращенно называемым ППК), который может быть установлен на глубине около 100 м в эксплуатационной насосно-компрессорной колонне. Погружной предохранительный клапан автоматически закрывается, если давление в трубопроводе гидравлического управления работой ППК падает, например, в результате перебоя в подаче энергии в нефтяном и/или газовом эксплуатационном оборудовании, размещенном на поверхности земли, действия снаружи ударной нагрузки на устье скважины или в случае опасности отключения оборудования.
Из патента США №4042033 известно закачивание химических реагентов в колонну насосно-компрессорных труб в зоне выше места установки ППК через трубопровод гидравлического управления предохранительным клапаном, в котором имеется отверстие для подачи химических реагентов непосредственно выше места размещения указанного клапана. Закачиваемый химический реагент используют для создания гидравлического давления с тем, чтобы поддерживать ППК открытым, и подают его в эксплуатационную насосно-компрессорную колонну с уровня выше ППК через обратный клапан, пропускающий поток лишь в одном направлении, который установлен в верхней части конструкции ППК.
В патентном документе US 5875852 А описан пакер с проходящими через него трубопроводами, транспортирующими текучую среду для обработки скважины, и электрическими кабелями. Недостаток, присущий известной конструкции погружного предохранительного клапана, заключается в том, что она не позволяет вводить химические вещества в участки скважины, находящиеся ниже предохранительного клапана. Конструкция указанного клапана не позволяет опускать трубопровод для подачи химических веществ из устья скважины в насосно-компрессорную колонну ниже ППК, так как в аварийных ситуациях трубопровод для закачивания химических веществ будет препятствовать герметизации ППК.
Задача настоящего изобретения заключается в создании способа и устройства для закачивания обрабатывающей среды в скважину, которая оборудована погружным предохранительным клапаном, в глубинные участки скважины, находящиеся ниже места размещения предохранительного клапана.
Задача настоящего изобретения заключается также в создании способа и устройства для закачивания обрабатывающей среды в скважину с установленным в ней предохранительным клапаном, в соответствии с которыми в скважине размещено лишь минимальное количество трубопроводов для гидравлического регулирования и закачивания химических веществ, причем так, чтобы они создавали лишь минимальное смещение потока в стволе скважины.
Сущность изобретения
В соответствии с данным изобретением обеспечивается способ и устройство для закачивания обрабатывающей среды в скважину, снабженную управляемым с поверхности погружным предохранительным клапаном, который управляется путем изменения давления текучей среды в трубопроводе управления указанным клапаном, проходящем от предохранительного клапана к устью скважины, при этом предложенный способ включает в себя:
подачу обрабатывающей среды изол в скважину через трубопровод управления предохранительным клапаном к отверстию, служащему для выпуска обрабатывающей среды в скважину, при этом в скважине установлен трубопровод для закачивания обрабатывающей среды, который подсоединен к трубопроводу управления указанным клапаном, имеет, по меньшей мере, одно отверстие для подачи обрабатывающей среды и снабжен обратным клапаном, который предотвращает поступление пластовых сред от каждого отверстия, предназначенного для подачи обрабатывающей среды, через трубопровод для закачивания обрабатывающей среды в трубопровод управления предохранительным клапаном, при этом трубопровод для закачивания обрабатывающей среды размещен на участке скважины, который находится ниже предохранительного клапана так, что, по меньшей мере, одно отверстие для подачи обрабатывающей среды расположено ниже предохранительного клапана скважины.
Настоящее изобретение, кроме того, реализует систему для закачивания текучей обрабатывающей среды в скважину, содержащую управляемый с поверхности предохранительный клапан путем изменения давления обрабатывающей среды в трубопроводе управления указанным клапаном, который проходит от предохранительного клапана к устью скважины, при этом система содержит, по меньшей мере, одно отверстие, предназначенное для подачи обрабатывающей среды в скважину; кроме того, предложенная система содержит:
– трубопровод подачи обрабатывающей среды, предназначенный для закачивания обрабатывающей среды в скважину, соединенный с трубопроводом управления предохранительным клапаном, при этом указанный трубопровод подачи обрабатывающей среды содержит, по меньшей мере, одно отверстие для подачи обрабатывающей среды и один обратный клапан, который предотвращает поступление пластовых сред от каждого отверстия, предназначенного для подачи обрабатывающей среды, через трубопровод для закачивания обрабатывающей среды в трубопровод управления предохранительным клапаном, при этом трубопровод для закачивания обрабатывающей среды установлен на участке скважины, расположенном ниже предохранительного клапана так, что, по меньшей мере, одно отверстие для подачи обрабатывающей среды находится ниже предохранительного клапана.
По меньшей мере, одно отверстие для подачи обрабатывающей среды подходящим образом расположено значительно ниже предохранительного клапана.
Соответственно, все отверстия для подачи обрабатывающей среды расположены ниже предохранительного клапана, в частности, значительно ниже предохранительного клапана.
В предпочтительном воплощении предложенных способа и системы, согласно настоящему изобретению, управляемый с поверхности скважины погружной предохранительный клапан (ППК) установлен в эксплуатационной насосно-компрессорной колонне, в частности, в эксплуатационной насосно-компрессорной колонне газовой скважины (добычи газа). Кроме того, соответствующим образом, в насосно-компрессорную колонну ниже ППК опущен трубопровод для закачивания обрабатывающей среды, причем так, чтобы, по меньшей мере, одно отверстие для подачи обрабатывающей среды находилось на расстоянии значительно ниже предохранительного клапана. Это расстояние может, например, составлять 100 м или более. Обрабатывающая текучая среда, в частности, может включать пенообразующее вещество.
При этом трубопровод для подачи обрабатывающей среды может проходить через насосно-компрессорную колонну ниже предохранительного клапана на расстояние в несколько километров, при необходимости, в зону притока пластовых сред, расположенную вблизи дна скважины. Пенообразующее вещество, которое может содержать поверхностно-активное вещество, закачивают в жидкой фазе через трубопровод управления предохранительным клапаном и трубопровод подачи обрабатывающей среды, при этом указанное пенообразующее вещество генерирует пену при его смешивании в скважине с компонентами воды добываемого природного газа.
Обрабатывающая среда, кроме того, может включать в себя химическое вещество, предпочтительно, металлалкил, который вступает в реакцию с находящейся в скважине жидкостью с образованием продукта реакции в виде твердой фазы.
Предпочтительно, трубопровод управления предохранительным клапаном содержит протяженный верхний участок, который проходит через кольцевое пространство, образованное между колонной насосно-компрессорных труб и обсадной трубой, от устья до отверстия в колонне насосно-компрессорных труб, и короткий нижний участок, проходящий через корпус предохранительного клапана скважины и соединенный с механизмом гидравлического управления работой предохранительного клапана, конструктивное выполнение которого позволяет поддерживать предохранительный клапан в открытом положении, если давление обрабатывающей среды в нижнем участке трубопровода управления указанным клапаном превышает предварительно заданную пороговую величину давления, и закрывать упомянутый клапан в том случае, когда давление обрабатывающей среды ниже предварительно заданной пороговой величины давления.
В соответствии с изобретением предохранительный клапан может быть установлен внутри эксплуатационной насосно-компрессорной колонны с возможностью извлечения, при этом трубопровод для подачи обрабатывающей среды содержит верхний участок, проходящий через корпус предохранительного клапана и соединенный с нижним участком трубопровода управления предохранительным клапаном, снабжен обратным клапаном и имеет протяженный гибкий нижний участок, проходящий от нижнего торца корпуса предохранительного клапана вниз через эксплуатационную насосно-компрессорную колонну.
Предпочтительно, обратный клапан выполнен с возможностью открытия, если перепад давления на обратном клапане превышает давление его срабатывания, которое значительно выше, чем пороговая величина давления, так, что
если в трубопроводе управления предохранительным клапаном поддерживается умеренное давление обрабатывающей среды, которое превышает пороговую величину давления, но не превышает давление срабатывания предохранительного клапана, то в этом случае предохранительный клапан открыт, при этом добываемый газ проходит через скважину, но обрабатывающая среда не может закачиваться в скважину через трубопровод подачи обрабатывающей среды; и
если в трубопроводе управления предохранительным клапаном поддерживается высокое давление обрабатывающей среды, превышающее и давление срабатывания и пороговое давление так, что и предохранительный клапан, и обратный клапан оба открыты, то в этом случае газ транспортируется к поверхности, а обрабатывающая среда инжектируется в поток добытого газа через трубопровод для подачи обрабатывающей среды.
Предохранительный клапан может быть выполнен в виде клапана откидного типа или шарового клапана, который снабжен пружинным механизмом, предназначенным для закрытия этого клапана, если действующее давление обрабатывающей среды в нижнем участке трубопровода управления предохранительным клапаном ниже пороговой величины давления.
Эти и другие особенности, преимущества и примеры воплощения способа и устройства в соответствии с данным изобретением раскрыты в приложенных пунктах формулы изобретения, реферате и подробном описании изобретения со ссылкой на сопровождающий чертеж.
Краткое описание чертежа
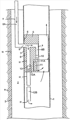
Фиг.1 схематически изображает продольный разрез эксплуатационной насосно-компрессорной колонны, в которой установлен погружной предохранительный клапан, при этом обрабатывающую текучую среду, поступающую в насосно-компрессорную колонну, подают ниже места расположения предохранительного клапана через трубопровод управления работой указанного клапана и проходящий от клапана вниз трубопровод для подачи обрабатывающей текучей среды.
Подробное описание изобретения
На фиг.1 схематически представлен продольный разрез примера осуществления изобретения. Насосно-компрессорная колонна 1 опущена в эксплуатационную скважину 1а для добычи природного газа так, что между насосно-компрессорной колонной 1 и обсадной трубой 3 образовано кольцевое пространство 2. Обсадную трубу 3 цементируют или иным способом укрепляют в глубинной земной породе 4.
Внутри насосно-компрессорной колонны 1 установлен погружной предохранительный клапан 5, управляемый с поверхности. При этом предохранительный клапан 5 присоединен к насосно-компрессорной колонне так, чтобы его можно было поднять на поверхность, например, с помощью талевого троса, и опирается на посадочный бурт. Кроме того, предохранительный клапан может быть установлен в извлекаемой насосно-компрессорной колонне, и в таком случае колонна предпочтительно снабжена отдельным посадочным буртом для другого извлекаемого предохранительного клапана, используемого в качестве резервного средства в случае аварии. Набор уплотнительных колец 6 образует изолированную кольцевую камеру 7 вокруг цилиндрического корпуса предохранительного клапана 5. Камера 7 обеспечивает сообщение по обрабатывающей текучей среде между верхним участком 8А трубопровода 8 управления предохранительным клапаном, проходящего через кольцевое пространство 2 от устья скважины (не показано) к отверстию 9, выполненному в насосно-компрессорной колонне 1, и нижним участком 8 В указанного трубопровода 8. Нижний участок 8 В проходит через корпус клапана 5 в направлении сборной конструкции 10, состоящей из гидравлического поршня и цилиндра, который приводит в действие заслонку 11А с тем, чтобы освободить тело 11 откидного клапана.
Тело 11 откидного клапана нагружено пружиной (не показана), которая толкает его вверх в поперечное положение (показано пунктирной линией) относительно насосно-компрессорной колонны 1, при этом предохранительный клапан закрывается, если давление в указанном нижнем участке 8 В становится ниже предварительно заданной пороговой величины, а в том случае, когда указанное давление превышает предварительно заданную величину порогового давления, тело 11 клапана вдавливается поршнем 10 и заслонкой 11А и, как показано на фиг.1, занимает положение параллельно продольной оси насосно-компрессорной колонны 1, при котором предохранительный клапан 5 открыт и позволяет потоку природного газа протекать через насосно-компрессорную колонну к поверхности земли.
Нижний участок 8 В трубопровода регулирования предохранительного клапана соединен с трубопроводом 12 подачи обрабатывающей текучей среды. Верхний участок 12А трубопровода 12 подачи обрабатывающей среды проходит через корпус клапана 5, и на этом верхнем участке установлен обратный клапан 13, который предотвращает протекание пластовых сред вверх из трубопровода для подачи обрабатывающей среды в нижний участок 8 В трубопровода регулирования работы предохранительного клапана.
Трубопровод для подачи обрабатывающей среды, помимо того, снабжен отверстием 15 для выпуска обрабатывающей среды. В данном примере воплощения отверстием для выпуска обрабатывающей среды служит нижний торец протяженного гибкого нижнего участка 12 В трубопровода подачи среды, который (участок 12 В) проходит вниз от нижнего торца корпуса клапана 5 в зону эксплуатационной насосно-компрессорной колонны 1, находящуюся ниже клапана 5.
Обратный клапан 13 подпружинен, то есть снабжен пружиной, которая установлена таким образом, чтобы она закрывала обратный клапан 13, если перепад давления, действующий на обратном клапане, ниже определенной величины давления срабатывания клапана, которое обычно происходит в том случае, если перепад давления на обратном клапане 13 достигает предварительно заданной величины срабатывания клапана.
Указанную величину давления срабатывания обратного клапана выбирают в значительно степени выше пороговой величины давления, при которой закрывается предохранительный клапан 5. Поэтому, если на нижнем участке 8 В (и, следовательно, также в самом верхнем участке 12А трубопровода для подачи обрабатывающей среды) трубопровода управления предохранительным клапаном поддерживают низкое давление обрабатывающей среды, то, как предохранительный клапан 5, так и обратный клапан 13 закрыты. В то же время, если на указанном нижнем участке 8 В поддерживают средний уровень давления с превышением пороговой величины для предохранительного клапана, но давление открытия обратного клапана не превышено, то в этом случае предохранительный клапан 5 открыт, а обратный клапан 13 закрыт. Когда же на указанном нижнем участке 8 В поддерживается высокое давление обрабатывающей среды и превышены как пороговый перепад давления, так и перепад давления срабатывания, то, следовательно, и предохранительный клапан 5 и обратный клапан 13 открыты. В этом случае обрабатывающая среда, которую в устье скважины нагнетают через трубопровод управления предохранительным клапаном, может протекать через указанный трубопровод управления предохранительным клапаном, трубопровод для подачи обрабатывающей среды и закачиваться через одно или более чем одно отверстие 15 для выпуска обрабатывающей среды в насосно-компрессорную колонну 1 ниже предохранительного клапана 5.
Отверстия 15 для выпуска обрабатывающей среды могут быть расположены на заданном расстоянии друг от друга по длине нижнего участка 12 В трубопровода для подачи обрабатывающей среды с тем, чтобы осуществлять закачивание обрабатывающей среды ниже предохранительного клапана 5 на различных уровнях по высоте эксплуатационной насосно-компрессорной колонны 1.
Обрабатывающая текучая среда может включать пенообразующее вещество, например, мыло или подобное поверхностно активное вещество, которое создает пену при его смешивании с конденсированной водой или другим конденсатом, который может накапливаться вблизи забоя (дна) скважины, при этом пена, которая имеет низкую плотность и большую площадь поверхности, чем конденсат воды или другие конденсаты, смешивается с потоком природного газа и транспортируется к поверхности. Подходящие пенообразующие вещества для использования в газовых скважинах могут включать в себя сульфаты полиоксилалкилена, алкил четвертичные соли аммония, бетины или аксилкилированные алкилфенолы, которые находятся в контейнере с растворителем, включающим гликоли и спирты.
Обрабатывающая среда также может включать в себя вещество, снижающее вязкость, и/или ингибитор гидратообразования или ингибитор коррозии, и/или парафин, асфальтен, неочищенный парафин и/или другую присадку, предохраняющую (нефтепродукты) от порчи, или комбинацию указанных веществ. Кроме того, обрабатывающая среда может состоять из смеси различных химических соединений.
Настоящее изобретение, помимо того, обеспечивает способ обработки скважины, при котором в ствол скважины подают обрабатывающую среду, которая содержит химическое соединение для обработки, предназначенное для уменьшения высоты столба жидкости в скважине. Обрабатывающая среда может, в частности, закачиваться в скважину через трубопровод управления предохранительным клапаном и трубопровод для подачи обрабатывающей среды.
Для многих «газовых» скважин (добычи газа) актуальна проблема, связанная с наличием в них жидкости, в особенности, ближе к концу периода эксплуатации скважины. На этой стадии давление в окружающем пласте месторождения значительно падает, и, соответственно, падают расходы газа. Ниже определенного критического расхода из добываемой газовой смеси начинает выпадать жидкая фаза, и этот процесс известен как обводнение скважины. Обводнение «газовой» скважины является причиной закрытия скважины, находящейся в истощенных пластах, используемых для хранения газа.
Жидкости могут скапливаться за счет конденсации в стволе скважины или могут поступать из-за притока воды в пласт. Если жидкость начинает скапливаться, она будет оказывать действующее на пласт противодавление, что может влиять на производительность скважины. При этом в скважине с низким давлением накопление жидкости может полностью уничтожить скважину, а в скважинах с более высоким давлением в напорном трубопроводе может формироваться снарядный или пульсирующий режим (двухфазного) течения добываемых газа/жидкости.
Новое решение данной проблемы заключается в закачивании в скважину обрабатывающих химических веществ, которые реагируют с жидкостью с образованием твердой фазы, которая опускается на дно скважины, и газа (что не обязательно). Твердая фаза имеет значительно более высокую плотность, чем жидкость, так что в результате обводнение скважины уменьшается.
Для этой цели подходящей является обрабатывающая среда, включающая металлалкил, например AlR3, BR3,MgR2, ZnR2 или подобное соединение, где R-группа алкила, например метил, этил, пропил и т.д.
Al-алкилы являются товарными химическими реагентами, дешевыми, легко доступными, поставляемыми в чистом виде или в виде раствора.
Металлалкилы быстро реагируют с водой с образованием оксидов и алканов. Оксид металла выпадает в осадок и падает вниз на дно скважины. Полная реакция приводит к восстановлению в объемных процентах, соответствующему, как правило, 95%, тем самым увеличивается срок эксплуатации скважины, производительность которой снижается в результате обводнения.
Типичная реакция имеет следующий вид
2Al(С2Н5)3+Н2O Al2O3 +6С2Н6 .
При этом окись алюминия будет осаждаться на дне скважины, а газообразный этан будет перемещаться к поверхности. Для регулирования реакционной способности металлалкил может быть растворен в жидком углеводороде. Кроме того, на реакционную способность с водой может оказывать влияние выбор различных групп R.
В таблице 1 приведены результаты реакции триметилалюминия и триэтилалюминия с водой и соответствующие объемные проценты восстановления.
| Таблица 1 |
| Н2O |
AlR3 |
AlR3 |
газ |
газ |
Al2О3 |
Восстановление по объему |
| м3 |
|
м3 |
|
м3 (80°С, 50 бар) |
м3 |
% |
| 1 |
все R=метил |
3,6 |
метан |
54 |
0,048 |
95 |
| 1 |
все R=этил |
5,1 |
этан |
54 |
0,048 |
95 |
Обрабатывающую среду закачивают в жидкой фазе через трубопровод 8 управления ППК и трубопровод 12 для подачи обрабатывающей среды, но она также может закачиваться через указанные трубопроводы и в газообразном состоянии. В таком случае обрабатывающая среда может быть введена в качестве транспортирующего газа (газа газлифта) в эксплуатационную насосно-компрессорную колонну 1 ниже ППК 5 с тем, чтобы уменьшить плотность потока добываемой вязкой сырой нефти и увеличить ее добычу.
При необходимости нижний участок 12 В трубопровода для подачи обрабатывающей среды может быть с возможностью съема прикреплен посредством посадочного ниппеля (не показан) к верхнему участку 12А трубопровода подачи обрабатывающей среды внутри нижнего участка корпуса предохранительного клапана. В таком случае нижний участок 12 В трубопровода подачи обрабатывающей среды опускают вниз через открытый предохранительный клапан 5 с помощью инструмента или скважинного автоматического устройства, спускаемого в скважину на тросе, и присоединяют к посадочному ниппелю.
Нижний участок 12 В трубопровода подачи обрабатывающей среды может быть выполнен в виде стального трубопровода, который может иметь длину в несколько километров и наружный диаметр менее сантиметра, предпочтительно менее 0,5 см. Такой протяженный трубопровод малого диаметра вмещает в себя только относительно небольшое количество обрабатывающей среды. Это позволяет предотвратить химическое разложение среды и возможную закупорку трубопровода 12 подачи обрабатывающей среды. В случае повреждения нижнего участка 12 В трубопровода подачи обрабатывающей среды, имеющего малый диаметр, в ствол скважины немедленно выходит лишь небольшое количество обрабатывающей текучей среды, что не приводит к повреждению продуктивного пласта или блокированию прохождения продукта.
Формула изобретения
1. Способ закачивания обрабатывающей текучей среды в скважину, снабженную управляемым с поверхности скважины погружным предохранительным клапаном, которым управляют посредством изменения давления обрабатывающей текучей среды в трубопроводе управления указанным клапаном, проходящем от предохранительного клапана к устью скважины, при этом предложенный способ включает в себя закачивание в скважину обрабатывающей среды, проходящей через трубопровод управления предохранительным клапаном к отверстию, предназначенному для выпуска обрабатывающей среды в скважину, при этом в скважине установлен трубопровод для подачи обрабатывающей среды, который подсоединен к трубопроводу управления предохранительным клапаном и содержит, по меньшей мере, одно отверстие для подачи обрабатывающей среды и один обратный клапан, который препятствует поступлению пластовых сред от каждого отверстия для подачи обрабатывающей среды через трубопровод подачи обрабатывающей среды в трубопровод управления предохранительным клапаном, при этом трубопровод подачи обрабатывающей среды расположен на участке скважины ниже предохранительного клапана так, что, по меньшей мере, одно отверстие для подачи обрабатывающей среды расположено ниже предохранительного клапана.
2. Способ по п.1, в котором, по меньшей мере, одно отверстие для подачи обрабатывающей среды расположено значительно ниже предохранительного клапана.
3. Способ по п.1 или 2, в котором трубопровод подачи обрабатывающей среды проходит вниз от предохранительного клапана так, что, по меньшей мере, одно отверстие для подачи обрабатывающей среды расположено, по меньшей мере, на 100 м ниже предохранительного клапана.
4. Способ по п.1 или 2, в котором предохранительный клапан установлен в эксплуатационной насосно-компрессорной колонне скважины, в частности газовой скважины, при этом трубопровод подачи обрабатывающей среды проходит внутри насосно-компрессорной колонны, при необходимости через насосно-компрессорную колонну, в зону притока пластовых сред в скважину.
5. Способ по п.1 или 2, в котором обрабатывающая среда включает пенообразующее вещество.
6. Способ по п.5, в котором трубопровод для инжектирования обрабатывающей среды проходит через насосно-компрессорную колонну ниже предохранительного клапана, при необходимости в зону притока пластовой среды скважины, а пенообразующее вещество включает в себя поверхностно-активное вещество, которое закачивают в жидкой фазе с прохождением через трубопровод управления предохранительным клапаном и трубопровод для подачи обрабатывающей среды, и которым генерируют пену при его смешивании в насосно-компрессорной колонне с водными компонентами добываемого природного газа.
7. Способ по п.1 или 2, в котором трубопровод управления предохранительным клапаном содержит протяженный верхний участок трубопровода управления указанным клапаном, который проходит через кольцевое пространство, образованное между насосно-компрессорной колонной и обсадной трубой, от устья до отверстия в насосно-компрессорной колонне, и короткий нижний участок трубопровода управления упомянутым клапаном, который проходит через корпус предохранительного клапана и подсоединен к гидравлическому механизму управления работой предохранительного клапана, выполнение которого обеспечивает поддерживание предохранительного клапана в открытом положении, если разность давлений обрабатывающей среды в нижнем участке трубопровода управления предохранительным клапаном и скважинных сред при протекании обрабатывающей среды через предохранительный клапан превышает предварительно заданную пороговую величину разности давлений, и обеспечивает закрытие предохранительного клапана, если указанная разность давлений ниже предварительно заданной пороговой величины разности давлений.
8. Способ по п.7, в котором предохранительный клапан установлен внутри эксплуатационной насосно-компрессорной колонны с возможностью извлечения, при этом трубопровод для подачи обрабатывающей среды содержит верхний участок, проходящий через корпус предохранительного клапана и соединенный с нижним участком трубопровода управления предохранительным клапаном, снабжен обратным клапаном и имеет протяженный гибкий нижний участок, проходящий от нижнего торца корпуса предохранительного клапана вниз через эксплуатационную насосно-компрессорную колонну.
9. Способ по п.6, в котором обратный клапан выполнен с возможностью открытия, если перепад давления на обратном клапане превышает давление его срабатывания, которое значительно выше, чем пороговая величина давления, так что если на нижнем участке трубопровода управления предохранительным клапаном умеренное давление жидкости и перепад давления на обратном клапане ниже пороговой величины давления, но давление обрабатывающей среды в указанном нижнем участке выше давления срабатывания, действующего снизу, то в этом случае предохранительный клапан открыт, а обратный клапан закрыт, при этом газ и/или сырую нефть транспортируют через скважину, но обрабатывающая среда не может быть закачана в скважину по трубопроводу подачи обрабатывающего состава; и
если на нижнем участке трубопровода управления предохранительным клапаном высокое давление обрабатывающей среды и перепад давлений обрабатывающей среды на обратном клапане превышает давление его срабатывания, то предохранительный клапан и обратный клапан оба открыты, при этом газ транспортируют к поверхности и обрабатывающую среду одновременно инжектируют в поток добытого газа через трубопровод для подачи обрабатывающей среды.
10. Способ по п.1 или 2, в котором обрабатывающая среда содержит химический реагент, предпочтительно металлалкил, который вступает в химическую реакцию со средой, находящейся в скважине, с образованием продукта реакции, представляющего собой твердую фазу.
11. Система для подачи обрабатывающей среды в скважину, снабженную погружным предохранительным клапаном, управляемым с поверхности скважины, который имеет возможность управления посредством изменения давления обрабатывающей среды в трубопроводе управления предохранительным клапаном, который проходит от указанного клапана к устью скважины, при этом предложенная система включает в себя трубопровод управления предохранительным клапаном и, по меньшей мере, одно отверстие для подачи обрабатывающей среды, предназначенное для выпуска обрабатываемой среды в скважину; кроме того, предложенная система содержит трубопровод для подачи названной обрабатывающей среды в скважину, который подсоединен к трубопроводу управления предохранительным клапаном и содержит, по меньшей мере, одно отверстие для подачи обрабатывающей среды и один обратный клапан, который препятствует поступлению пластовых сред от каждого отверстия для подачи обрабатывающей среды через трубопровод подачи обрабатывающей среды в трубопровод управления предохранительным клапаном, при этом трубопровод подачи обрабатывающей среды расположен на участке скважины ниже предохранительного клапана так, что, по меньшей мере, одно отверстие для подачи обрабатывающей среды расположено ниже предохранительного клапана.
12. Система по п.11, в которой, по меньшей мере, одно отверстие для подачи обрабатывающей среды расположено на значительном расстоянии ниже предохранительного клапана.
13. Система по п.11 или 12, в котором трубопровод подачи обрабатывающей среды проходит от предохранительного клапана вниз так, что, по меньшей мере, одно отверстие для подачи обрабатывающей среды расположено, по меньшей мере, на 100 м ниже предохранительного клапана.
14. Система по п.11, в которой предохранительный клапан установлен в эксплуатационной насосно-компрессорной колонне газовой скважины, а трубопровод подачи обрабатывающей среды проходит в насосно-компрессорной колонне, при необходимости через насосно-компрессорную колонну в зону притока пластовых сред скважины.
15. Система по п.11, в которой трубопровод для подачи обрабатывающей среды проходит через насосно-компрессорную колонну на расстояние, по меньшей мере, 1000 м ниже места расположения предохранительного клапана.
16. Система по п.11, в которой трубопровод управления предохранительным клапаном содержит протяженный верхний участок трубопровода управления указанным клапаном, который проходит через кольцевое пространство, образованное между насосно-компрессорной колонной и обсадной трубой, от устья до отверстия в насосно-компрессорной колонне, и короткий нижний участок трубопровода управления указанным клапаном, который проходит через корпус предохранительного клапана и подсоединен к гидравлическому механизму управления работой предохранительного клапана, выполнение которого обеспечивает поддерживание предохранительного клапана в открытом положении, если разность давлений обрабатывающей среды в нижнем участке трубопровода управления предохранительным клапаном и пластовых сред при протекании обрабатывающей среды через предохранительный клапан превышает предварительно заданную пороговую величину разности давлений, и обеспечивает закрытие предохранительного клапана, если указанная разность давлений ниже предварительно заданной пороговой величины разности давлений.
17. Система по п.11, в которой предохранительный клапан установлен внутри эксплуатационной насосно-компрессорной колонны с возможностью извлечения, при этом трубопровод для подачи обрабатывающей среды содержит верхний участок, проходящий через корпус предохранительного клапана и соединенный с нижним участком трубопровода управления предохранительным клапаном, снабжен обратным клапаном и имеет протяженный гибкий нижний участок, проходящий от нижнего торца корпуса предохранительного клапана вниз через эксплуатационную насосно-компрессорную колонну.
18. Система по п.17, в которой протяженный нижний гибкий участок трубопровода для подачи обрабатывающей среды выполнен с отверстиями, которые распределены на заданном расстоянии друг от друга по длине указанного гибкого нижнего участка, и снабжен средствами придания устойчивости и раздвижными средствами захвата, которые выполнены с возможностью расширения вплоть до внутренней поверхности насосно-компрессорной колонны и служат для поддерживания гибкого нижнего участка трубопровода подачи обрабатывающей среды на участке насосно-компрессорной колонны ниже предохранительного клапана, по существу, в вытянутом положении.
19. Система по п.11, в которой предохранительный клапан представляет собой откидной клапан.
РИСУНКИ
|
|