|
| На основании пункта 1 статьи 1366 части четвертой Гражданского кодекса Российской Федерации патентообладатель обязуется заключить договор об отчуждении патента на условиях, соответствующих установившейся практике, с любым гражданином Российской Федерации или российским юридическим лицом, кто первым изъявил такое желание и уведомил об этом патентообладателя и федеральный орган исполнительной власти по интеллектуальной собственности. |
|
(21), (22) Заявка: 2007129389/03, 01.08.2007
(24) Дата начала отсчета срока действия патента:
01.08.2007
(46) Опубликовано: 27.03.2009
(56) Список документов, цитированных в отчете о поиске:
SU 1198183 А, 15.12.1985. RU 2291273 С1, 10.01.2007. RU 2214497 С2, 20.10.2003. RU 2007537 С1, 15.02.1994. US 5853245 А, 29.12.1998. US 5586611 А, 24.12.1996.
Адрес для переписки:
123182, Москва, ул. Авиационная, 68, кв. 490, Н.М. Панину
|
(72) Автор(ы):
Панин Николай Митрофанович (RU), Ясашин Виталий Анатольевич (RU), Сериков Дмитрий Юрьевич (RU), Якимов Вадим Петрович (RU)
(73) Патентообладатель(и):
Панин Николай Митрофанович (RU)
|
(54) ОПОРА БУРОВОГО ШАРОШЕЧНОГО ДОЛОТА
(57) Реферат:
Изобретение относится к области породоразрушающего инструмента, а именно к опорам буровых шарошечных долот. Техническим результатом является упрощение конструкции всего долота, а следовательно, и его стоимость. Опора содержит цапфу с осевым и радиальными смазкоподающими каналами, цилиндрической опорной поверхностью и сферической пятой, радиус которой больше радиуса цилиндрической опорной поверхности, и шарошку, закрепленную на цапфе замковым элементом. Сферическая пята соединена с цилиндрической опорной поверхностью разъемно, посредством резьбы. Замковый элемент образован цилиндрической втулкой с левой резьбой на наружной поверхности, соединенной с шарошкой посредством ответной резьбы, выполненной на внутренней поверхности шарошки. Сферическая пята может быть выполнена с резьбовым выступом или каналом, а цилиндрическая сферическая пята – с ответным резьбовым каналом или выступом. Сферическая пята и цилиндрическая опорная поверхность выполнены со спиральными канавками на наружной поверхности, сообщенными радиальными каналами с осевым каналом цапфы. Центр сферической пяты расположен на линии разъема сферической пяты и цилиндрической опорной поверхности цапфы. 5 з.п. ф-лы. 1 ил.
Изобретение относится к области породоразрушающего инструмента, а именно к опорам буровых шарошечных долот.
Известна опора шарошечного долота, включающая цапфу с цилиндрической поверхностью и сферической пятой и закрепленную на цапфе посредством замкового подшипника шарошку с породоразрушающими элементами (см. авт.св. СССР №1089229, кл. Е21 В 10/22, 1982 г.).
Недостатком данной опоры является малая стойкость, связанная с неравномерной нагрузкой, действующей на элементы опоры долота.
Наиболее близкой по технической сущности и достигаемой цели является опора бурового шарошечного долота, содержащая цапфу с осевым и радиальными смазкоподающими каналами, цилиндрической опорной поверхностью и сферической пятой, радиус которой больше радиуса цилиндрической опорной поверхности, и шарошку, закрепленную на цапфе замковым элементом (см. авт.св. СССР №1198183, кл. Е21 В 10/22, 1985 г.).
К недостаткам данной опоры следует отнести сложность конструкции и технологии изготовления, связанные с выполнением замкового элемента а виде двух полуклец, а также нетехнологичность монтажа опоры из-за необходимости нагрева шарошки для соединения с полукольцами и связанное с этим ослабление опорных элементов опоры.
В связи с изложенным техническим результатом изобретения является повышение стойкости опоры бурового шарошечного долота при одновременном упрощении конструкции и технологии ее сборки.
Указанный технический результат достигается тем, что опора шарошечного долота, содержащая цапфу с осевым и радиальными смазкоподающими каналами, цилиндрической опорной поверхностью и сферической пятой, радиус которой больше радиуса цилиндрической опорной поверхности, и шарошку, закрепленную на цапфе замковым элементом, согласно изобретению сферическая пята соединена с цилиндрической опорной поверхностью посредством левой резьбы, а замковый элемент образован цилиндрической втулкой с левой резьбой на наружной поверхности, соединенной с шарошкой посредством ответной резьбы, выполненной на внутренней поверхности шарошки, опорная поверхность выполнена со спиральными канавками на наружной поверхности, сообщенными радиальными каналами с осевым каналом цапфы;
– центр сферической пяты расположен на линии разъема сферической пяты и цилиндрической опорной поверхности цапфы;
– сферическая пята выполнена с резьбовым выступом, а цилиндрическая сферическая пята – с ответным резьбовым каналом;
– сферическая пята выполнена с резьбовым каналом, а цилиндрическая сферическая пята – с ответным резьбовым выступом;
– цилиндрическая втулка в исходном положении зафиксирована относительно цапфы срезным или съемным элементом.
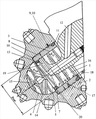
Изобретение поясняется чертежом, на котором изображена опора бурового шарошечного долота в разрезе.
Опора бурового шарошечного долота содержит цапфу 1 и установленную на ней шарошку 2. Цапфа 1 включает два подшипника скольжения: цилиндрическую опорную поверхность 3 и сферическую пяту 4, причем центр О концевого сферического подшипника лежит в плоскости 5 перехода цилиндрической и сферической поверхностей, а диаметр сферической пяты 4 – Dсф больше диаметра dц цилиндрической поверхности скольжения Dсф>dц, образуя на цапфе 1 выступ 6, в который упирается торец 8 замкового элемента, выполненного в виде цилиндрической втулки 7. Цилиндрическая втулка 7 выполнена с левой резьбой 9 на наружной поверхности для соединения с шарошкой 2, внутренняя поверхность которой выполнена с ответной левой резьбой 10. Герметичность опоры обеспечивается уплотнением 11. Смазка из масляного резервуара в лапе (на чертеже не показан) по каналам 12, 13 и 14 в цапфе поступает соответственно в цилиндрический и концевой сферический подшипники скольжения. Далее благодаря насосному эффекту, создаваемому спиральными канавками 15 и 16 на сферическом и цилиндрическом подшипниках соответственно, смазка прокачивается через всю опору. Сферическая пята 4 может быть выполнена с резьбовым каналом или резьбовым выступом 19, а цилиндрическая часть цапфы – с ответным резьбовым выступом или каналом 20. На чертеже показан только один из этих вариантов.
Опора бурового шарошечного долота монтируется и работает следующим образом.
На цапфу 1 надеваются уплотнение 11 и кольцевая втулка 7, затем шарошка 2 жестко соединяется посредством левой резьбы 10 на своей внутренней поверхности с ответной резьбой 9 на наружной поверхности цилиндрической втулки 7. При этом для фиксации цилиндрической втулки 7 от проворота при навинчивают на нее шарошки 2 может использоваться срезной элемент 17, которым кольцевая втулка 7 в исходном положении крепится к цапфе 1 через радиальный канал во втулке 7. Могут быть использованы и другие варианты фиксации втулки 7, на цапфе 1, например, съемным элементом (штифтом) 18, вводимым в контакт с цилиндрической втулкой 7 через канал в лапе долота. В этом случае штифт 18 после навинчивания шарошки 2 на втулку 7 может быть удален из канала в лапе или только выведен из контакта с ней, например, путем вывинчивания из лапы долота.
Таким образом обеспечивается жесткое соединение шарошки 2 с кольцом 7. Сползанию шарошки 2 с цапфы 1 препятствует то, что кольцо 7 упирается своим торцом 8 в выступ 6, который образован благодаря тому, что радиус сферической 4 больше радиуса цилиндрической поверхности скольжения 3. При вращении шарошки 2 на цапфе 1 смазка из масляного резервуара по каналам 12, 13 и 14 поступает в цилиндрический 3 и концевой сферический подшипники скольжения 4. Далее благодаря насосному эффекту и различному направлению спиральных канавок 15 и 16 на цилиндрических и сферических подшипниках скольжения соответственно смазка постоянно прокачивается через подшипники скольжения 3 и 4, создавая с одной стороны давление на опорную сферическую поверхность шарошки 2, облегчая тем самым условия работы концевого сферического подшипника 4. Это достигается благодаря тому, что давление, создаваемое смазкой, частично компенсирует составляющую от реакции забоя. С другой стороны смазка, попадая под кольцевую втулку 7, создает через нее давление на уплотнение 11, повышая надежность его работы.
Применение предложенной опоры позволяет упростить конструкцию всего долота, а следовательно, и его стоимость. Кроме того, использование кольцевой втулки в качестве замкового элемента упрощает и технологию изготовления опоры и повышает надежность работы, что также положительно скажется на стоимости буровых работ.
Формула изобретения
1. Опора бурового шарошечного долота, содержащая цапфу с осевым и радиальными каналами для подачи смазки, цилиндрической опорной поверхностью и сферической пятой, радиус которой больше радиуса цилиндрической опорной поверхности, и шарошку, закрепленную на цапфе замковым элементом, отличающаяся тем, что сферическая пята соединена с цилиндрической опорной поверхностью разъемно посредством резьбы, а замковый элемент образован цилиндрической втулкой с левой резьбой на наружной поверхности, соединенной с шарошкой посредством ответной резьбы, выполненной на внутренней поверхности шарошки.
2. Опора шарошечного долота по п.1, отличающаяся тем, что сферическая пята и цилиндрическая опорная поверхность выполнены со спиральными канавками на наружной поверхности, сообщенными радиальными каналами с осевым каналом цапфы.
3. Опора шарошечного долота по п.1, отличающаяся тем, что центр сферической пяты расположен на линии разъема сферической пяты и цилиндрической опорной поверхности цапфы.
4. Опора шарошечного долота по п.1, отличающаяся тем, что сферическая пята выполнена с резьбовым выступом, а цилиндрическая сферическая пята – с ответным резьбовым каналом.
5. Опора шарошечного долота по п.1, отличающаяся тем, что сферическая пята выполнена с резьбовым каналом, а цилиндрическая сферическая пята – с ответным резьбовым выступом.
6. Опора шарошечного долота по п.1, отличающаяся тем, что цилиндрическая втулка в исходном положении зафиксирована относительно цапфы срезным или съемным элементом.
РИСУНКИ
|
|