|
|
(21), (22) Заявка: 2007113058/12, 10.04.2007
(24) Дата начала отсчета срока действия патента:
10.04.2007
(43) Дата публикации заявки: 27.10.2008
(46) Опубликовано: 27.03.2009
(56) Список документов, цитированных в отчете о поиске:
ЕР 1770239 А2, 04.04.2007. FR 2780042 А1, 24.12.1999. US 4011686 А, 15.03.1977. RU 12835 U1, 10.02.2000. RU 47419 U1, 27.08.2005. FR 2596800 А1, 09.10.1987. WO 2006024765 А1, 09.03.2006.
Адрес для переписки:
390028, г.Рязань, ул. Промышленная, 31, ОАО РМСЗ “Банктехника”, генеральному директору Д.В. Амелину
|
(72) Автор(ы):
Амелин Дмитрий Васильевич (RU), Никишин Виталий Николаевич (RU)
(73) Патентообладатель(и):
ОТКРЫТОЕ АКЦИОНЕРНОЕ ОБЩЕСТВО РЯЗАНСКИЙ МЕХАНО-СБОРОЧНЫЙ ЗАВОД “Банктехника” (RU)
|
(54) ШЛЮЗ ДЛЯ ПРИЕМА-ПЕРЕДАЧИ ЦЕННОСТЕЙ
(57) Реферат:
Изобретение относится к банковским защитным средствам для приема-передачи ценностей, устанавливаемым между передающим и принимающим помещениями в кассовых центрах банков. Технический результат заключается в повышении оперативности и удобства в работе при приеме-передаче ценностей, а также в обеспечении высокой грузоподъемности. Шлюз включает бокс с противоположно расположенными передаточной и приемочной дверями. Двери имеют встроенные механизмы их запирания и связаны между собой механизмом взаимной блокировки. Пульт управления закреплен на внешней поверхности бокса над приемочной дверью. Шлюз имеет передаточный и приемочный столы, платформу на колесах в виде короба с ручками, первую и вторую направляющие в виде рельсов для передвижения платформы из бокса на передаточный или приемочный столы и обратно. Платформа выполнена с возможностью размещения в боксе. 6 з.п. ф-лы, 6 ил.
Изобретение относится к банковским защитным средствам для приема-передачи ценностей, устанавливаемым между передающим и принимающим помещениями в кассовых центрах банков для приема-передачи штучных, тяжелых, объемных ценностей на хранение, в том числе денежных средств в специальных пластмассовых кассетах.
Известен шлюз банковский для передачи ценностей, содержащий панели, соединенные между собой с образованием боковых стенок, крыши шлюза и двух дверей, причем все панели, включая панели, образующие боковые стенки и крышу шлюза, выполнены из пулестойкого стекла (см. патент на полезную модель №47419, МПК E05G 5/00, опубл. 2005 г.).
Шлюз сложен в сборке, применение дорогостоящих материалов увеличивает его стоимость и не обеспечивает высокой степени защиты от несанкционированного доступа при передаче ценностей.
Известен шлюз для передачи ценностей, содержащий корпус, имеющий шарнирно скрепленные с ним две расположенные друг против друга двери с замками, оборудованные бронестеклом, снабженным решеткой изнутри (см. патент на полезную модель №12835, МПК E05G 7/00, опубл. 2000 г.).
Применение решетки для повышения степени защиты от несанкционированного доступа при передаче ценностей снижает оперативность приема-передачи ценностей.
Известен шлюз банковский для передачи ценностей, выполненный в виде металлического пулестойкого бокса, в двух противоположных стенках которого установлены бронированные двери с бронестеклом для визуального наблюдения, связанные между собой механизмом взаимной блокировки для исключения одновременного их открытия и возможности разблокировки механизма их запирания при закрытом положении обеих дверей (см. Шлюз передаточный пулестойкий, производитель ООО Защитные Технологии Сибири, г.Новосибирск, http:/description.ru, опубл. 2006 г. – прототип).
Шлюз встраивают в нижнюю часть (ближе к полу) смежной стенки приемного и сдаточного помещений кассового центра банка. Шлюз позволяет осуществлять прием-передачу ценностей, предварительно упакованных в контейнеры, инкассаторские сумки или мешки. Расположение дна шлюза в нижней части смежной стены приемного и сдаточного помещений неудобно для укладки и перемещения груза вручную. Работа персонала особенно затруднена при приеме-передаче ценностей со значительным объемом и весом или упакованным во множество кассет.
Общий недостаток известных шлюзов заключается в низкой оперативности, высокой трудоемкости и неудобстве эксплуатации, а также в сложности приема-передачи ценностей с высокой грузоподъемностью, предварительно упакованных в специальные контейнеры и кассеты. Узкая номенклатура ценных грузов, низкая производительность, неудобство погрузочно-разгрузочных работ и отсутствие эффективных средств препятствия к взлому, не снижающих оперативность приема-передачи ценностей, ограничивает применение известных шлюзов.
Технический результат изобретения в повышении оперативности (быстродействии) и удобства работы при приеме-передаче ценностей, обеспечение высокой грузоподъемности, универсальности и безопасности применения при обеспечении высокой степени защиты от несанкционированного доступа при передаче ценностей.
Технический результат достигается тем, что в шлюз для приема-передачи ценностей, включающий бокс, выполненный с возможностью установки в стену между принимающим и передающим помещениями и имеющий противоположно расположенные передаточную и приемочную двери, снабженные механизмами их запирания и связанные между собой механизмом взаимной блокировки, пульт управления, введены платформа, приемочный и передаточный столы для установки соответственно в принимающем и передающем помещениях, первая и вторая направляющие, причем бокс жестко соединен с приемочным и передаточным столами, направляющие установлены и закрепленны параллельно внутри бокса, а также на приемочном и передаточном столах для передвижения платформы из бокса на передаточный или приемочный столы и обратно в бокс, а платформа выполнена с возможностью размещения в боксе.
Предпочтительно платформу выполнить на колесах.
Предпочтительно первую и вторую направляющие для передвижения платформы выполнить представляющими собой рельсы.
Целесообразно в первой направляющей иметь паз для движения одних колес платформы, а во второй направляющей иметь плоскую рабочую поверхность для движения других колес платформы.
Предпочтительно платформу выполнить в виде короба с ручками.
Целесообразно бокс выполнить металлическим пулестойким с бронированными передаточной и приемочной дверями.
Предпочтительно бокс выполнить с бронестеклом для визуального наблюдения за процессом приема-передачи ценностей.
При проведении патентных исследований не обнаружены решения, идентичные заявленному, при этом сущность изобретения не следует явным образом из известных решений. Таким образом обеспечивается соответствие изобретения критериям “новизна” и “изобретательский уровень”.
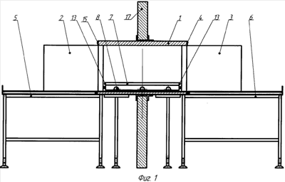
Фиг.1 изображает шлюз в исходном положении; на фиг.2 – шлюз в положении загрузки кассет на платформу, расположенную на передаточном столе. На фиг.3 – шлюз с платформой, загруженной в бокс. На фиг.4 показан разрез А-А на фиг.3. На фиг.5 показан увеличенный фрагмент Б на фиг.4, поясняющий расположение колес платформы в первой и второй направляющих. На фиг.6 – шлюз с платформой с кассетами, расположенной на приемочном столе.
Шлюз для приема-передачи ценностей включает (фиг.1) бокс 1 с противоположно расположенными передаточной и приемочной дверями 2, 3, имеющими встроенные механизмы их запирания и связанными между собой механизмом взаимной блокировки (на фиг. не показан), пульт управления 4, закрепленный на внешней поверхности бокса 1 над приемочной дверью 3, передаточный стол 5, приемочный стол 6, платформу 7 на колесах 8, первую и вторую направляющие 9, 10 для передвижения платформы 7 вручную из бокса 1 на передаточный или приемочный столы 5, 6 и обратно (с приемочного или передаточного столов 5, 6 в бокс 1). Платформа 7 на колесах 8 выполнена с возможностью размещения в боксе 1 (габариты платформы 7 не превышают внутренние размеры бокса 1).
Первая и вторая направляющие 9, 10 для передвижения платформы 7 представляют собой рельсы, установленные и закрепленные параллельно внутри бокса 1, а также на приемочном и передаточном столах 6, 5. Первая направляющая 9 имеет паз 11 (фиг.5) для движения одних колес платформы 7, а вторая направляющая 10 имеет плоскую рабочую поверхность 12 для движения других колес платформы 7. Колеса 8 платформы 7 выполнены с подшипниками для улучшения скольжения по указанным направляющим 9, 10. Подвижная платформа 7 выполнена в виде короба с ручками 13 для ее перемещения по первой и второй направляющими 9, 10.
Бокс 1 выполнен металлическим пулестойким с бронированными передаточной и приемочной дверями 2, 3 и бронестеклом 14 для визуального наблюдения за процессом приема-передачи ценностей. Приемочная и передаточная двери 2, 3 бокса 1 шлюза оборудованы электромеханическим запирающим устройством (на фиг. не показан), обеспечивающим поочередное открывание-закрывание указанных дверей 2, 3 по схеме: передаточная дверь 3 открыта – приемочная дверь 2 закрыта или приемочная дверь 2 закрыта – передаточная дверь 3 открыта. Бокс 1 шлюза снабжен также стандартным механизмом взаимной блокировки (на фиг. не показан) передаточной и приемочной дверей 2, 3, выполненных с возможностью исключения одновременного их открытия и разблокировки механизма их запирания при закрытом положении обеих указанных дверей 2, 3. Передаточная и приемочная двери 2, 3 в исходном положении закрыты. Над приемочной (внутренней) дверью 3 шлюза установлен пульт 4 управления, при помощи которого кассир осуществляет управление открыванием и закрыванием передаточной и приемочной дверей 2, 3. На пульте 4 управления в исходном положении светится светодиод «12V», а свечение светодиодов «Открыто» (например, зеленый цвет) и «Закрыто» (например, красный цвет) отсутствует. Над передаточной (наружной) дверью 2 установлена панель 15 индикаторная на светодиодах, сигнализирующих о разрешении на ее открытие. Блок питания шлюза подключен к розетке сети переменного тока 220 Вольт, 50 Гц. Приемочная и передаточная двери 2, 3 также имеют механизм, обеспечивающий работу шлюза в режиме аварийного открывания-закрывания.
Бокс 1 оборудован боковым защитным остеклением (бронестекло 14) для наблюдения за содержимым внутри него, приемочная и передаточная двери 2, 3 при этом могут быть без такого остекления. Возможно применение защитного остекления только в указанных дверях 2, 3.
Шлюз для передачи ценностей, упакованных, например, в кассеты 16 из пластмассы, применяют следующим образом. Бокс 1 шлюза устанавливают в панель защитную или стену 17 (фиг.1) между передающим и принимающим помещениями, например, кассового центра банка. При этом приемочный и передаточный столы 2, 3 с первой и второй направляющими 9, 10, проходящими через бокс 1 шлюза, установлены соответственно в принимающем и передающем помещениях. Указанные столы 2, 3 с первой и второй направляющими 9, 10 жестко соединяются с боксом 1 шлюза. Передаточная (наружная) и приемочная (внутренняя) двери 2, 3 в исходном положении закрыты.
Шлюз работает следующим образом. Перемещение ценностей осуществляют с передаточного стола 2 в бокс 1 шлюза и из бокса 1 на приемочный стол 3 кассира. Для открывания передаточной (наружной) двери 2 бокса кассир нажимает кнопку «Передаточная дверь» пульта 4 управления. При этом над передаточной (наружной) дверью 2 появится свечение светодиода «Открыть» (зеленый цвет). Клиент открывает передаточную дверь 2. На пульте 4 управления светится светодиод «Открыто», сигнализирующий об открытии передаточной (наружной) двери 2 бокса 1 шлюза. Клиент, перемещая платформу 7 за ручку 13, выдвигает ее на передаточный стол 5. При выдвижении платформы 7 ее колеса 8 катятся по пазу 11 первой направляющей 9 и плоской рабочей поверхности 12 второй направляющей 10. Установка переднего и заднего колес 8 платформы 7 в пазу 11 первой направляющей 9 исключает ее заклинивание и смещение в боксе 1 шлюза.
Кассеты 16 устанавливаются клиентом на платформу 7 (фиг.2), выполненную в виде короба. Затем клиент закатывает платформу 7 вручную обратно в бокс 1 (фиг.3, 4) через передаточную дверь 2, удерживая платформу 7 за ручку 13, и закрывает указанную дверь 2 загруженного бокса 1. На пульте 4 управления кассира при этом гаснет светодиод «Открыто».
Далее кассир нажимает кнопку «Внутренняя дверь» на пульте 4 управления и открывает приемочную дверь 3. На пульте 4 управления засветится светодиод «Открыто», сигнализирующий об открытой приемочной (внутренней) двери 3. Кассир выдвигает платформу 7 с кассетами 16 из бокса 1 на приемочный стол 6 (фиг.6). После разгрузки кассет 16 платформу 7 возвращают обратно в бокс 1 в исходное положение. Приемочную (внутреннюю) дверь 3 закрывают (светодиод «Открыто» на пульте 4 управления погаснет).
Передача груза или документов из внутреннего помещения в наружное производится в обратной последовательности. Шлюз оснащен механизмом взаимной блокировки передаточной и приемочной дверей 2, 3, что обеспечивает исключение одновременного их открытия и разблокировки механизма их запирания при закрытом положении обеих указанных дверей. Наличие бронестекла 14 обеспечивает возможность визуального наблюдения и контроля за процессом приема-передачи ценностей. Передаточный стол 5 является одновременно эффективным средством препятствия к взлому, не снижающего оперативность приема-передачи ценностей.
Шлюз для приема-передачи ценностей прост, не имеет трудностей при изготовлении и обеспечивает:
– непродолжительное время передачи тяжелых ценностей от клиента к кассиру (оператору), и наоборот;
– повышенную защиту кассира в случае вооруженного нападения;
– улучшение условий труда, удобство и безопасность эксплуатации;
– возможность визуального контроля за перемещением ценностей.
Формула изобретения
1. Шлюз для приема-передачи ценностей, включающий бокс, выполненный с возможностью установки в стену между принимающим и передающим помещениями и имеющий противоположно расположенные передаточную и приемочную двери, снабженные механизмами их запирания и связанные между собой механизмом взаимной блокировки, пульт управления, отличающийся тем, что введены платформа, приемочный и передаточный столы для установки соответственно в принимающем и передающем помещениях, первая и вторая направляющие, причем бокс жестко соединен с приемочным и передаточным столами, направляющие установлены и закреплены параллельно внутри бокса, а также на приемочном и передаточном столах для передвижения платформы из бокса на передаточный или приемочный столы и обратно в бокс, а платформа выполнена с возможностью размещения в боксе.
2. Шлюз по п.1, отличающийся тем, что платформа выполнена на колесах.
3. Шлюз по и. 1, отличающийся тем, что первая и вторая направляющие для передвижения платформы представляют собой рельсы.
4. Шлюз по п.1, отличающийся тем, что первая направляющая имеет паз для движения одних колес платформы, а вторая направляющая имеет плоскую рабочую поверхность для движения других колес платформы.
5. Шлюз по п.1, отличающийся тем, что платформа выполнена в виде короба с ручками.
6. Шлюз по п.1, отличающийся тем, что бокс выполнен металлическим пулестойким с бронированными передаточной и приемочной дверями.
7. Шлюз по п.1, отличающийся тем, что бокс выполнен с бронестеклом для визуального наблюдения за процессом приема-передачи ценностей.
РИСУНКИ
|
|