|
|
(21), (22) Заявка: 2007120061/12, 25.08.2006
(24) Дата начала отсчета срока действия патента:
25.08.2006
(30) Конвенционный приоритет:
21.12.2005 KR 10-2005-0127054 28.06.2006 KR 10-2006-0058719
(46) Опубликовано: 27.03.2009
(56) Список документов, цитированных в отчете о поиске:
KR 20-0349119 A1, 30.04.2004. EP 1241311 A2, 18.09.2002. DE 2824206 A1, 06.12.1979. RU 2260102 C2, 10.09.2005.
(85) Дата перевода заявки PCT на национальную фазу:
29.05.2007
(86) Заявка PCT:
KR 2006/003355 (25.08.2006)
(87) Публикация PCT:
WO 2007/073027 (28.06.2007)
Адрес для переписки:
129090, Москва, ул. Б.Спасская, 25, стр. 3, ООО “Юридическая фирма Городисский и Партнеры”
|
(72) Автор(ы):
СЕО Сонг-Вон (KR)
(73) Патентообладатель(и):
ЭЛ ДЖИ КЕМ, ЛТД. (KR)
|
(54) ОТКРЫВАЮЩЕЕ И ЗАКРЫВАЮЩЕЕ УСТРОЙСТВО ДЛЯ ПОДНИМАЕМЫХ РАЗДВИЖНЫХ ДВЕРЕЙ И ОКОН
(57) Реферат:
Открывающее и закрывающее устройство для поднимаемых раздвижных дверей и окон включает роликовый блок, который находится в разъемном контакте с рельсом опорной рамы, опорный блок рамы оконного стекла, который предусмотрен в раме оконного стекла и удаляется от роликового блока и приближается к нему, рукоятку, установленную с возможностью поворота на переднем конце рамы оконного стекла, и подъемный рабочий блок, который перемещает опорный блок рамы относительно роликового блока. Подъемный рабочий блок включает подъемный рабочий стержень, который выполнен с возможностью перемещения в переднем конце рамы оконного стекла и соединен с роликовым блоком, и подъемный рабочий передаточный блок. Подъемный рабочий передаточный блок имеет приводное зубчатое колесо, которое соединено с рукояткой, ведомое зубчатое колесо, увеличивающее усилие поворота приводного зубчатого колеса, и зубчатую рейку, которая находится в зацеплении с ведомым зубчатым колесом. Устройство также содержит блок управления запиранием, соединенный с подъемным рабочим стержнем, для удержания подъемного рабочего стержня в поднятом состоянии или опускания из поднятого состояния. Техническим результатом изобретения является упрощение процесса изготовления и снижение стоимости изготовления устройства, с помощью которого можно уменьшить усилие, необходимое для открывания и закрывания двери или окна. 11 з.п. ф-лы, 15 ил.
Область техники, к которой относится изобретение
Данное изобретение относится в целом к открывающим и закрывающим устройствам для поднимаемых раздвижных дверей и окон, в частности к открывающему и закрывающему устройству для поднимаемых раздвижных дверей и окон, которое имеет улучшенную структуру и параметры.
Уровень техники
Обычно раздвижные двери и окна поднимаемого типа, которые используются в виде относительно больших дверей и окон, таких как большая стеклянная дверь на балкон или в сад, имеют то преимущество, что движение скольжения для открывания или закрывания можно выполнять плавно и тихо, при этом обеспечиваются непроницаемость для воздуха и воды, а также ослабление шума и отличная защита от несанкционированного проникновения.
На фиг. 1 показан представительный пример таких поднимаемых раздвижных дверей и окон. Как показано на фиг. 1, обычная поднимаемая раздвижная дверь или окно 201 включает опорную раму 203, имеющую проем 203а, раму 205 для оконного стекла, которая служит опорой для листа оконного стекла 205а и установлена с возможностью скольжения в опорной раме 203 для закрывания с возможностью открывания опорной рамы 203, и открывающее и закрывающее устройство 101, которое запирает или освобождает раму 205 оконного стекла, которая скользит для открывания или закрывания.
При повороте рукоятки 120, предусмотренной в заданном положении на раме 205 оконного стекла, открывающее и закрывающее устройство 101 позволяет раме 205 оконного стекла скользить вдоль рельса 203b опорной рамы 203, находясь на расстоянии от рельса 203b, или же позволяет раме 205 оконного стекла приходить в плотный контакт с рельсом 203b опорной рамы 203 под действием собственного веса, так что предотвращается скольжение рамы 205 оконного стекла вдоль рельса 203b. Минимизация шума во время процесса скольжения рамы 205 оконного стекла, удобство управления для открывания и закрывания, непроницаемость для воздуха, непроницаемость для воды, а также защита от шума и незаконного проникновения определяются параметрами открывающего и закрывающего устройства 101.
Для достижения указанных выше целей в последнее время были разработаны различные технологии для улучшения открывающих и закрывающих устройств для поднимаемых раздвижных дверей и окон. Представительный пример таких технологий раскрыт в полезной модели Кореи № 20-0349119, показанной на фиг. 2-4.
Как показано на фигурах, обычное открывающее и закрывающее устройство 101 для поднимаемых раздвижных дверей и окон включает пару роликовых блоков 110, которые предусмотрены в нижнем конце рамы 205 оконного стекла (см. фиг. 1). Роликовые блоки 110 обеспечивают скольжение рамы 205 оконного стекла вдоль рельса 203b опорной рамы 203 и перемещают раму 205 оконного стекла в направлении от рельса 203b или приближают к нему. Кроме того, открывающее и закрывающее устройство 101 включает рукоятку 120, которая установлена с возможностью поворота в переднем конце рамы 205 оконного стекла, и узел 130 рукоятки, который имеет несколько передач 131 и передаточное звено 133 для преобразования поворота рукоятки 120 в линейное движение, и имеет тяговый ползун 135. Открывающее и закрывающее устройство дополнительно включает верхнее соединительное звено 140, которое соединяет передаточное звено 133 с узлом 130 рукоятки, и демпферную пружину 150, которая поглощает удары, возникающие при вертикальном движении рамы 205 оконного стекла.
В обычном открывающем и закрывающем устройстве 101, имеющем указанную выше конструкцию, при повороте пользователем рукоятки 120 в одном направлении, рабочее усилие передается в передаточное звено 133 через передачи 131, которые предусмотрены в узле 130 рукоятки и сцепляются друг с другом, и тем самым преобразуется в направленное вверх линейное движение передаточного звена 133 перед передачей в тяговый ползун 135, который соединен с передаточным звеном 133.
Затем, как показано на фиг. 4, верхнее соединительное звено 140, которое соединено с тяговым ползуном 135, перемещается вверх, так что опорный элемент 111 рамы оконного стекла роликового блока 110 удаляется от роликов 113. Таким образом, рама 205 оконного стекла переходит в состояние скольжения, в котором она находится на расстоянии от рельса 203b опорной рамы 203.
В это время вес рамы 205 оконного стекла уменьшается демпфирующей пружиной 150, в то время как рама 205 оконного стекла удаляется от рельса 203b опорной рамы 203. После перехода рамы 205 оконного стекла в поднятое состояние тяговый ползун 135 запирается стопорным механизмом 137, удерживая тем самым верхнее соединительное звено 140 в перемещенном вверх состоянии, т.е. удерживая раму 205 оконного стекла на расстоянии от рельса 203b опорной рамы 203. После этого, когда пользователь отпустит рукоятку 120, передачи 131 поворачиваются в противоположном направлении с помощью пружины, так что рукоятка 120 возвращается в свое первоначальное положение. Кроме того, когда опорный элемент 111 рамы оконного стекла движется вверх от роликов 113, направляющий ролик 173, который предусмотрен на опорной плите 171, на которую опираются с возможностью вращения ролики 113, перемещается вниз вдоль направляющей прорези 175 линейного подъема, которая выполнена с наклоном в нижнем положении в опорном элементе 111 рамы оконного стекла.
Когда переключатель 138 узла 130 рукоятки приходит в контакт с ударником 160 посредством закрывания рамы 205 оконного стекла и тем самым толкается вперед, или когда переключатель 138 принудительно толкается внутрь для сохранения желаемого открытого положения рамы 205 оконного стекла, то стопорный механизм 137 переводится с помощью переключательного звена 139 в не запирающее направление. Таким образом, тяговый ползун 135 освобождается из стопорного механизма 137.
Затем, как показано на фиг. 3, верхнее соединительное звено 140, которое соединено с тяговым ползуном 135, движется вниз, и опорный элемент 111 рамы оконного стекла роликового блока 110 перемещается в направлении роликов 113. Таким образом, рама 205 оконного стекла приходит в плотный контакт с рельсом 203b опорной рамы 203. В результате рама 205 оконного стекла приходит в стационарное состояние за счет своего собственного веса.
В это время вес рамы 205 оконного стекла демпфируется демпфирующей пружиной 150, в то время как рама 205 оконного стекла приходит в контакт с рельсом 203b опорной рамы 203. Кроме того, в закрытом состоянии, в котором рама 205 оконного стекла находится в контакте с опорной рамой 203, запирающая пружина 135а тягового ползуна 135 сцепляется с запирающим выступом 170 (смотри фиг. 2) ударника 160 (см. фиг. 2), который прикреплен к опорной раме 203, так что рама 205 оконного стекла автоматически запирается. В открытом состоянии рама 205 оконного стекла удерживается в открытом положении с помощью своего собственного веса.
Кроме того, когда опорный элемент 111 рамы оконного стекла движется вниз к роликам 113, направляющий ролик 173, который предусмотрен на опорной плите 171, на которую опираются с возможностью вращения ролики 113, движется вверх вдоль направляющей прорези 175 линейного подъема, которая выполнена наклонно в нижнем положении в опорном элементе 111 рамы оконного стекла.
Однако в обычном открывающем и закрывающем устройстве для поднимаемых раздвижных дверей или окон требуется сложный передаточный механизм и отдельная демпфирующая пружина для уменьшения рабочего усилия, необходимого для перемещения рамы оконного стекла вверх от рельса опорной рамы и вниз к нему. Поэтому имеется недостаток, состоящий в том, что конструкция механизма для уменьшения рабочего усилия является очень сложной.
Кроме того, поскольку требуется передаточное звено и тяговый ползун для передачи усилия с передач в верхнее соединительное звено, то структура для приведения в действие верхнего соединительного звена также является сложной.
Структура для запирания рамы оконного стекла, т.е. структура для запирания тягового ползуна в стопорном механизме и освобождения из него, также является очень сложной.
Таким образом, за счет сложной структуры устройства процесс изготовления устройства также усложняется, и повышается стоимость его изготовления.
Дополнительно к этому, когда опорный элемент рамы оконного стекла перемещается вверх относительно роликов, то направляющий ролик линейно движется вдоль направляющей прорези подъема, которая образована с наклоном у нижнего положения в опорном элементе рамы оконного стекла. В этом случае, поскольку направляющая прорезь подъема выполнена линейно с наклоном, то вес рамы оконного стекла не может распределяться, а непрерывно действует в направлении нижнего конца направляющей прорези подъема (в направлении стрелки Н, как показано, в частности, в увеличенном масштабе на фиг. 3 и 4). Поэтому имеется недостаток, состоящий в том, что усилие, необходимое для поворота рукоятки, и усилие, необходимое для приведения в действие передач, т.е. усилие, необходимое для открывания и закрывания рамы оконного стекла, является большим.
Сущность изобретения
В соответствии с этим, данное изобретение выполнено с учетом указанных выше недостатков уровня техники, и целью данного изобретения является создание открывающего и закрывающего устройства для поднимаемых раздвижных дверей и окон, которое имеет простую конструкцию, так что упрощается процесс изготовления и снижается стоимость его изготовления, и с помощью которого можно уменьшить усилие, необходимое для открывания и закрывания рамы оконного стекла для улучшения управляемости.
Для достижения указанной цели, согласно данному изобретению, предлагается открывающее и закрывающее устройство для поднимаемых раздвижных дверей и окон, включающее роликовый блок в роликовом контакте с рельсом, предусмотренным в нижнем конце опорной рамы, опорный блок рамы оконного стекла, предусмотренный в нижнем конце рамы оконного стекла и перемещающийся от роликового блока и приближающийся к нему в вертикальном направлении, рукоятку, установленную с возможностью поворота на переднем конце рамы оконного стекла, и подъемный рабочий блок, перемещающий опорный блок рамы оконного стекла в направлении от роликового блока и к нему в ответ на поворот рукоятки. Подъемный рабочий блок включает: подъемный рабочий стержень, предусмотренный в переднем конце рамы оконного стекла с возможностью перемещения в вертикальном направлении, при этом подъемный рабочий стержень соединен с роликовым блоком, с принимающей зубчатую рейку щелью, имеющей заданную длину, образованной в подъемном рабочем стержне в положении вблизи рукоятки; и подъемный рабочий передаточный блок, содержащий приводное зубчатое колесо, соединенное с рукояткой, так что приводное зубчатое колесо вращается при повороте рукоятки, ведомое зубчатое колесо, увеличивающее усилие поворота приводного зубчатого колеса, и зубчатую рейку, расположенную в принимающей зубчатую рейку щели подъемного рабочего стержня с возможностью перемещения в вертикальном направлении, при этом зубчатая рейка находится в зацеплении с ведомым зубчатым колесом и преобразует усилие поворота в усилие линейного движения.
Ведомое зубчатое колесо может включать первое ведомое зубчатое колесо, находящееся в зацеплении с приводным зубчатым колесом, и второе ведомое зубчатое колесо, коаксиально интегрированное с первым ведомым зубчатым колесом, так что второе ведомое зубчатое колесо увеличивает усилие поворота первого ведомого зубчатого колеса и передает усилие поворота на зубчатую рейку.
Приводное зубчатое колесо может быть выполнено с возможностью вращения в противоположных направлениях в заданном угловом диапазоне, и зубья могут быть предусмотрены на такой части периферийной наружной поверхности приводного зубчатого колеса, что приводное зубчатое колесо находится в зацеплении с ведомым зубчатым колесом, по меньшей мере, внутри углового диапазона поворота приводного зубчатого колеса.
Угловой диапазон поворота приводного зубчатого колеса может составлять 45° или меньше.
Открывающее и закрывающее устройство может дополнительно включать возвратную пружину, подпружинивающую приводное зубчатое колесо в направлении, в котором приводное зубчатое колесо возвращается в свое исходное положение.
Открывающее и закрывающее устройство предпочтительно может дополнительно включать блок управления запиранием, сохраняющий и снимающий состояние подъема подъемного рабочего стержня.
В данном случае запирающая стопорный механизм щель может быть образована в подъемном рабочем стержне, и блок управления запиранием может включать: стопорный механизм, запертый с возможностью освобождения в запирающей стопорный механизм щели; пружину стопорного механизма, подпружинивающую стопорный механизм в направлении, в котором стопорный механизм запирается в запирающей стопорный механизм щели; и переключатель управления запиранием, выступающий наружу из рамы оконного стекла в направлении опорной рамы, так что при смещении переключателя управления запиранием внутрь состояние запирания стопорного механизм снимается.
В качестве альтернативного решения запирающая стопорный механизм щель может быть образована в подъемном рабочем стержне, и блок управления запиранием может включать: стопорный механизм, запертый с возможностью освобождения в запирающей стопорный механизм щели; пружину стопорного механизма, подпружинивающую стопорный механизм в направлении, в котором стопорный механизм заперт в запирающей стопорный механизм щели; стопорный элемент стопорного механизма, сохраняющий и снимающий запертое состояние стопорного механизма; пружину стопорного элемента, подпружинивающую стопорный элемент стопорного механизма в направлении, в котором сохраняется запертое состояние стопорного механизма; и переключатель управления запиранием, выступающий наружу рамы оконного стекла в направлении опорной рамы, так что при смещении переключателя управления запиранием внутрь снимается состояние запирания стопорного механизма.
Открывающее и закрывающее устройство может дополнительно включать запирающий выступающий элемент, который имеет крепежную базовую часть, прикрепленную к опорной раме, при этом запирающая выступающая часть выступает из крепежной базовой части в направлении подъемного рабочего стержня, и головную запирающую часть, предусмотренную на дальнем конце запирающей выступающей части. Подъемный рабочий стержень может иметь в положении, соответствующем запирающему выступающему элементу, запирающую щель, которая имеет проходное отверстие, через которое проходит запирающая головная часть, и имеет стопорную щель, которая проходит вверх от проходного отверстия, так что при смещении подъемного рабочего стержня вниз запирающая головная часть заперта в стопорной щели.
Кроме того, может быть образована запирающая направляющая поверхность, которая наклонена от своего верхнего конца к нижнему концу в направлении крепежной базовой части, на поверхности запирающей головной части, которая обращена к крепежной базовой части.
Направляющая щель подъема, имеющая форму изогнутой вверх дуги, может быть предпочтительно сформирована в опорном блоке рамы оконного стекла, и роликовый блок может включать направляющий ролик, перемещающийся вдоль направляющей щели подъема.
В данном случае направляющая щель подъема может включать изогнутую вверх секцию, которая имеет частично дуговую форму и проходит на заданную длину из нижнего конца направляющей щели подъема, и горизонтальную секцию, которая проходит на заданную длину из верхнего конца изогнутой вверх секции.
Как вариант направляющая щель подъема включает изогнутую вверх секцию, которая имеет частично дуговую форму и проходит из нижнего конца в самое верхнее положение направляющей щели подъема, и изогнутую посадочную концевую секцию, которая проходит вниз из самого верхнего положения изогнутой вверх секции.
Как указывалось выше, данное изобретение предлагает открывающее и закрывающее устройство для поднимаемых раздвижных дверей и окон, которое имеет простую конструкцию, так что упрощается процесс изготовления и уменьшается стоимость его изготовления, и с помощью которого можно уменьшить усилие, необходимое для открывания или закрывания рамы оконного стекла, что повышает управляемость.
Краткое описание чертежей
На чертежах изображено:
фиг. 1 – типичная поднимаемая раздвижная дверь или окно, на виде спереди;
фиг. 2 – обычное открывающее и закрывающее устройство поднимаемой раздвижной двери и окна, согласно фиг. 1, в изометрической проекции;
фиг. 3 и 4 – разрезы открывающего и закрывающего устройства поднимаемой раздвижной двери или окна, согласно фиг. 2, в двух рабочих положениях, на виде спереди;
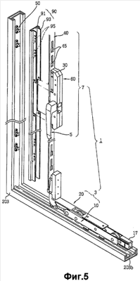
фиг. 5 – открывающее и закрывающее устройство для поднимаемых раздвижных дверей и окон, согласно одному варианту выполнения данного изобретения, в изометрической проекции;
фиг. 6 – подъемный блок скольжения, согласно фиг. 5, в изометрической проекции в увеличенном масштабе;
фиг. 7 – блок управления подъемом, согласно фиг. 5, в изометрической проекции в увеличенном масштабе;
фиг. 8-12 – различные рабочие положения открывающего и закрывающего устройства, согласно данному изобретению, на виде спереди;
фиг. 13 и 14 – другой вариант выполнения направляющего ролика и направляющей щели подъема, согласно фиг. 6; и
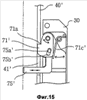
фиг. 15 – другой вариант выполнения блока управления запиранием, согласно фиг. 7-12.
Предпочтительный вариант выполнения изобретения
Ниже приводится подробное описание данного изобретения со ссылками на прилагаемые чертежи.
На фиг. 5 показано в изометрической проекции открывающее и закрывающее устройство 1 для поднимаемых раздвижных дверей и окон, согласно одному варианту выполнения данного изобретения. На фиг. 6 показан в увеличенном масштабе в изометрической проекции подъемный блок 3 скольжения открывающего и закрывающего устройства 1. На фиг. 7 показан в увеличенном масштабе в изометрической проекции блок 7 управления подъемом открывающего и закрывающего устройства 1. Как показано на фигурах, открывающее и закрывающее устройство 1 для поднимаемых раздвижных дверей и окон, согласно данному изобретению, включает подъемный блок 3 скольжения, который установлен у нижнего положения в раме 205 оконного стекла (см. фиг. 1) и поддерживает раму 205 оконного стекла на рельсе 203b опорной рамы 203, так что рама 205 оконного стекла может скользить вдоль рельса 203b и может подниматься вверх от рельса 203b и опускаться в плотный контакт с ним, и блок 7 управления подъемом, который приводит в действие подъемный блок 3 скольжения в ответ на открывающее или закрывающее действие рукоятки 5, которая предусмотрена в заданном положении на раме 205 оконного стекла.
Как показано на фиг. 5 и 6, подъемный блок 3 скольжения включает роликовый блок 10, который находится в контакте с рельсом 203b опорной рамы 203, и опорный блок 20 рамы оконного стекла, который соединен с нижним концом рамы 205 оконного стекла с возможностью движения вверх и вниз, то есть в направлениях, в которых опорный блок 20 рамы оконного стекла удаляется от роликового блока 10 и приближается к нему.
Роликовый блок 10 включает плиты 11 опоры роликов, по меньшей мере, один ролик, который соединен с возможностью вращения с плитами 11 опоры роликов и приводится в контакт с рельсом 203b опорной рамы 203, и направляющий ролик 15, который соединен с возможностью вращения с плитами 11 опоры роликов и перемещается вдоль подъемной направляющей щели 25 опорного блока 20 рамы оконного стекла, как будет описано ниже.
Предпочтительно предусмотрены два роликовых блока 10, соответственно, в продольном переднем положении и заднем положении в нижнем конце рамы 205 оконного стекла. В этом случае противоположные роликовые блоки 10 соединены друг с другом с помощью соединительного стержня 17. Кроме того, подъемное звено 11а соединено с возможностью поворота с передними концами плит 11 опоры роликов роликового блока 10, который расположен у переднего положения в нижнем конце рамы 205 оконного стекла. Подъемное звено 11а соединено с возможностью поворота на своем переднем конце с подъемным шарниром 27, описание которого будет приведено ниже.
Опорный блок 20 рамы оконного стекла включает опорный элемент 21, который соединен с нижним концом рамы оконного стекла, элементы 23 контакта с рельсом, которые предусмотрены в виде единого целого под опорным элементом 21, и направляющую щель 25 подъема, которая направляет направляющий ролик 15 роликового блока 10 вверх и вниз.
Кроме того, в опорном элементе 21 выполнено несколько соединительных отверстий 21а, через которые вводятся винты для соединения опорного элемента 21 с рамой 205 оконного стекла. Имеющий перевернутую U-образную форму контактный конец 23а, который можно приводить в контакт с рельсом 203b или располагать на расстоянии от него, предусмотрен под нижним концом каждого элемента 23 контакта с рельсом. Направляющая щель 25 подъема имеет форму дуги, которая изогнута вверх.
В данном случае, поскольку направляющая щель 25 подъема имеет форму изогнутой вверх дуги, роликовый блок 10 можно плавно перемещать в направлении рамы 205 оконного стекла и от нее в вертикальных направлениях с использованием минимального рабочего усилия.
А именно, во время перемещения направляющего ролика 15 от нижнего конца к верхнему концу направляющей щели 25 подъема, после прохождения направляющего ролика 15 через верхнюю мертвую точку, которая обозначена позицией А на фиг. 8-12, он плавно движется к верхнему концу направляющей щели 25 подъема вдоль изогнутой поверхности и останавливается в нем. И наоборот, когда направляющий ролик 15 перемещается от верхнего конца к нижнему концу направляющей щели 25 подъема, то после прохождения направляющего ролика через верхнюю мертвую точку А, он плавно движется к нижнему концу направляющей щели 25 подъема вдоль изогнутой поверхности под действием веса рамы 205 оконного стекла и останавливается в нем. То есть в процессе движения направляющего ролика 15 вдоль направляющей щели 25 подъема, в момент, когда направляющий ролик 15 проходит через верхнюю мертвую точку А, вес рамы 205 оконного стекла, который находился в распределенном состоянии, как показано буквой «а», действует в направлении движения направляющего ролика 15. Поэтому раму 205 оконного стекла можно перемещать от рельса 203b или к нему вверх и вниз с использованием относительно небольшого рабочего усилия.
В данном случае направляющая щель 25 подъема может иметь указанные ниже различные формы с ограничением, что, по меньшей мере, одна секция изогнута вверх.
Как показано на фиг. 13, она может быть выполнена так, что изогнутая вверх секция В, имеющая частично форму дуги, образована от верхнего конца до верхней мертвой точки А направляющей щели 25′ подъема, а горизонтальная секция С образована от верхней мертвой точки А до верхнего конца направляющей щели 25′ подъема.
Благодаря такой форме, когда направляющий ролик 15 перемещается вверх, то есть когда рама 205 оконного стекла движется вниз и тем самым приближается к рельсу 203b, то направляющий ролик 15 может плавно двигаться вдоль горизонтальной секции С после прохождения через верхнюю мертвую точку А, что предотвращает резкое перемещение рамы 205 оконного стекла вниз под действием своего собственного веса.
Кроме того, когда направляющий ролик перемещается вниз, то есть когда рама 205 оконного стекла движется вверх и тем самым удаляется от рельса 203b, то направляющий ролик 15 можно плавно перемещать от горизонтальной секции С направляющей щели 25 подъема к верхней мертвой точке А с использованием относительно небольшого рабочего усилия, а затем можно плавно перемещать вдоль изогнутой вверх секции В, которая образована в нижней части направляющей щели 25 подъема. Поэтому минимизируется рабочее усилие, необходимое для перемещения рамы 205 оконного стекла вверх, то есть усилие, которое должен прикладывать пользователь к рукоятке 5.
Как показано на фиг. 14, направляющая щель 25″ подъема может быть выполнена так, что изогнутая вверх секция D, имеющая частично форму дуги, образована от нижнего конца до самой верхней точки направляющей щели 25″ подъема, а изогнутая посадочная концевая секция Е проходит вниз от самой верхней точки изогнутой вверх секции D. В этом случае, когда направляющий ролик 15 перемещается к верхней концевой секции направляющей щели 25″ подъема, то есть когда рама 205 оконного стекла движется вниз и тем самым приближается к рельсу 203b, то направляющий ролик может плавно входить в нижнюю посадочную концевую секцию Е после прохождения через верхнюю мертвую точку А, что предотвращает резкое перемещение вниз рамы 205 оконного стекла и минимизирует требуемое рабочее усилие.
В то же время опорный блок 20 рамы оконного стекла соединен с роликовым блоком 10 так, что их можно перемещать в направлении друг от друга и друг к другу. Предпочтительно предусмотрены, по меньшей мере, два опорных блока 20 рамы оконного стекла, соответственно, у передней и задней части в нижнем конце рамы 205 оконного стекла, так же как и роликовый блок 10.
В данном случае предусмотрен подъемный шарнир 27 на переднем конце опорного блока 20 рамы оконного стекла, который расположен в передней части нижнего конца рамы 205 оконного стекла с возможностью поворота вверх и вниз относительно рамы 205 оконного стекла. А именно, часть подъемного шарнира 27, которая находится смежно с нижним концом рамы 205 оконного стекла, соединена с возможностью поворота с подъемным звеном 10, а подъемный соединительный рычаг 29 соединен с возможностью поворота на своем нижнем конце с частью подъемного шарнира 27, которая находится смежно с передним концом рамы 205 оконного стекла. Подъемный соединительный рычаг 29 соединен на своем верхнем конце с нижним концом подъемного рабочего стержня 40, описание которого будет приведено ниже.
Поэтому когда подъемный рабочий стержень 40 перемещается вверх, то подъемный соединительный рычаг 29 поворачивает подъемный шарнир 27 от нижнего конца к переднему концу рамы 205 оконного стекла. За счет поворота подъемного шарнира 27 подъемное звено 11а тянет роликовый блок 10. Затем опорный блок 20 рамы оконного стекла удаляется от роликового блока 10.
И наоборот, когда подъемный рабочий стержень 40 перемещается вниз, то подъемный соединительный рычаг 29 поворачивает подъемный шарнир 27 от переднего конца к нижнему концу рамы 205 оконного стекла. За счет поворота подъемного шарнира 27 подъемное звено 11а толкает роликовый блок 10. Затем опорный блок 20 рамы оконного стекла приближается к роликовому блоку 10.
Как показано на фиг. 5 и 7, подъемный рабочий блок 7 включает подъемный рабочий стержень 40, который предусмотрен на переднем конце рамы 205 оконного стекла, который обращен к опорной раме 203, с возможностью перемещения в вертикальном направлении, так что подъемный блок 3 скольжения приводится в действие с помощью подъемного рабочего стержня 40. Подъемный рабочий блок 7 дополнительно включает направляющий элемент 90 рабочего стержня, который направляет вертикальное перемещение подъемного рабочего стержня 40, и несколько запирающих выступающих элементов 50, которые предусмотрены на внутренней поверхности опорной рамы 203, которая обращена к подъемному рабочему стержню 40. Подъемный рабочий блок 7 дополнительно включает подъемный рабочий передаточный блок 60, который предусмотрен в переднем конце рамы 205 оконного стекла и приводит в движение подъемный рабочий стержень 40 в вертикальном направлении в ответ на открывающее или закрывающее действие рукоятки 5, и блок 70 управления запиранием, который воспрещает или позволяет перемещение вверх подъемного рабочего стержня 40.
Как указывалось выше, подъемный рабочий стержень 40 соединен на своем нижнем конце с подъемным соединительным рычагом 29 подъемного блока 3 скольжения. Щель 41 запирания стопорного механизма и щель 43 для размещения зубчатой рейки образованы в поверхности подъемного рабочего стержня 40 в смежных с рукояткой 5 частях. Кроме того, запирающие щели 45 образованы в поверхности подъемного рабочего стержня 40 в местах, соответствующих запирающим выступающим элементам 50, которые предусмотрены на опорной раме 203.
В данном случае принимающая зубчатую рейку щель 43 имеет длину, превышающую длину зубчатой рейки 67, как будет пояснено ниже. Каждая запирающая щель 45 включает проходное отверстие 45а, которое имеет ширину больше размера запирающей головной части 55 соответствующего запирающего выступающего элемента 50, описание которого будет приведено ниже, так что запирающая головная часть 55 проходит через проходное отверстие 45а, и стопорную щель 45b, которая проходит вверх от проходного отверстия 45 и имеет заданную ширину, так что запирающая головная часть 55 стопорится подъемным рабочим стержнем 40.
Как показано на фиг. 5, направляющий элемент 90 рабочего стержня имеет, по меньшей мере, длину, соответствующую расстоянию перемещения подъемного рабочего стержня 40 в вертикальном направлении. Направляющий элемент 90 рабочего стержня включает рабочую направляющую часть 91, которая окружает подъемный рабочий стержень 40, так что подъемный рабочий стержень 40 может перемещаться в вертикальном направлении, и соединительную часть 91, которая соединена с передним концом рамы 205 оконного стекла, который обращен к опорной раме 203, и с корпусом 30 подъемного рабочего передаточного блока 60, пояснение которого будет приведено ниже.
Кроме того, проходные отверстия 95 для запирающих выступов, соответствующие запирающим выступающим элементам 50, образованы в поверхности рабочей направляющей части 91, которая обращена к опорной раме 203.
Направляющий элемент 90 направляет вертикальное перемещение подъемного рабочего стержня 40 и служит в качестве отделочного элемента, который задает наружную форму переднего конца рамы 205 оконного стекла, в котором установлен подъемный рабочий стержень 40.
В то же время каждый запирающий выступающий элемент 50 включает в виде единого целого крепежную базовую часть 51, которая прикреплена к опорной раме 203, запирающую выступающую часть 53, которая выступает из крепежной базовой части 51 в направлении переднего конца рамы 205 оконного стекла, в котором установлен подъемный рабочий стержень 40, и запирающую головную часть 55, которая предусмотрена на дальнем конце запирающей выступающей части 53. В данном случае толщина запирающей выступающей части 53 меньше ширины стопорной щели 45b соответствующей запирающей щели 45, а толщина запирающей головной части 55 больше ширины стопорной щели 45b, но меньше ширины проходного отверстия 45а, так что запирающая головная часть 55 может проходить через проходное отверстие 45а.
Запирающая направляющая поверхность 57, которая наклонена от своего верхнего конца к своему нижнему концу в направлении крепежной базовой части 51, предпочтительно образована на поверхности запирающей головной части 55, которая обращена к крепежной базовой части 51. Благодаря этому, когда каждый запирающий выступающий элемент 50 запирается в соответствующей запирающей щели 45, которая образована в подъемном рабочем стержне 40, то нижний конец стопорной щели 45b плавно движется вдоль запирающей направляющей поверхности 57, и тем самым запирающая головная часть 55 надежно удерживается в стопорной щели 45b без помех со стороны запирающей выступающей части 53, что исключает неправильную работу.
В то же время подъемный рабочий передаточный блок 60 и блок 70 управления запиранием предусмотрены в корпусе 30, который предусмотрен в раме 205 оконного стекла вокруг места расположения рукоятки 5.
Подъемный рабочий передаточный блок 60 включает приводное зубчатое колесо 61, которое поворачивается под действием поворотного усилия от рукоятки 5, возвратную пружину 63, которая упруго подпружинивает приводное зубчатое колесо 61 в направлении, в котором приводное зубчатое колесо 61 возвращается в свое исходное положение, ведомое зубчатое колесо 65, которое входит в зацепление с приводным зубчатым колесом 61, и зубчатую рейку 67, которая входит в зацепление с ведомым зубчатым колесом 65, преобразует поворотное движение рукоятки 5 в усилие линейного движения и передает его в подъемный рабочий стержень 40.
Приводное зубчатое колесо 61 установлено в корпусе 30 с возможностью поворота внутри заданного углового диапазона. Ключевое отверстие 61а для соединения рукоятки 5 с приводным зубчатым колесом 61 образовано в приводном колесе 61 в месте, обращенном к боковой стенке корпуса 30. В данном случае зубья 61b приводного зубчатого колеса 61 могут быть выполнены внутри углового диапазона поворота лишь в зоне, в которой приводное зубчатое колесо 61 находится в зацеплении с ведомым зубчатым колесом 65. Кроме того, угловой диапазон поворота приводного зубчатого колеса 61 предпочтительно может быть равен углу примерно 45°. Этот угловой диапазон соответствует углу, на который поворачивается рукоятка 5, который является углом, на который пользователь может легко поворачивать рукоятку 5.
Возвратная пружина 63 соединена на своих противоположных концах с заданным местом на периферийной наружной поверхности приводного зубчатого колеса 61 и с заданным местом на корпусе 30 вблизи периферийной наружной поверхности приводного зубчатого колеса 61. Когда пользователь поворачивает рукоятку 5, то возвратная пружина 63 растягивается за счет поворота приводного зубчатого колеса 61. Когда пользователь отпускает рукоятку 5, то возвратная пружина 63 упруго сжимается и тем самым поворачивает приводное зубчатое колесо 61 в его исходное положение. Поэтому, если даже к рукоятке 5 не прикладывается внешнее усилие, рукоятка 5 возвращается в свое исходное положение.
Ведомое зубчатое колесо 65 включает первое ведомое зубчатое колесо 65b, которое находится в зацеплении с приводным зубчатым колесом 61, и второе ведомое зубчатое колесо 65а, которое увеличивает усилие поворота первого ведомого зубчатого колеса 65b и передает усилие поворота на зубчатую рейку 67. Первое и второе ведомые колеса 65b и 65а предпочтительно интегрированы друг с другом. Ведомое колесо 65 установлено с возможностью поворота в корпусе 30 между приводным зубчатым колесом 61 и зубчатой рейкой 67.
Передаточные зубья 67а, которые входят в зацепление со вторым ведомым зубчатым колесом 65а, предусмотрены на поверхности зубчатой рейки 67, которая обращена внутрь корпуса 30. Кроме того, предусмотрены направляющие 67b зубчатой рейки на верхнем и нижнем концах зубчатой рейки 67 в местах, обращенных внутрь корпуса 30, и установлены с возможностью скольжения в направляющих канавках 31 для зубчатой рейки, которые образованы на внутренней поверхности корпуса 30. Часть зубчатой рейки 67, которая обращена к подъемному рабочему стержню 40, расположена в принимающей зубчатую рейку щели 43 подъемного рабочего стержня 40 с возможностью перемещения в вертикальном направлении.
Зубчатая рейка 67 преобразует поворотную кинетическую энергию, которая передается от рукоятки 5 через приводное зубчатое колесо 61 и ведомое зубчатое колесо 65 при повороте рукоятки 5, в вертикальную линейную кинетическую энергию, перемещая тем самым подъемный рабочий стержень 40 вверх.
То есть, когда пользователь поворачивает рукоятку 5, поворотное усилие передается на зубчатую рейку 67 через приводное зубчатое колесо 61 и ведомое зубчатое колесо 65, так что зубчатая рейка 67 перемещается вверх. Затем верхний конец зубчатой рейки 67 приходит в контакт с верхним концом принимающей зубчатую рейку щели 43 подъемного рабочего стержня 40 и тем самым перемещает подъемный рабочий стержень 40 вверх.
После этого, когда пользователь отпускает рукоятку 5, приводное зубчатое колесо 61 и ведомое зубчатое колесо 65 поворачиваются в направлении, в котором они возвращаются в свое исходное положение за счет возвратного усилия приводного зубчатого колеса 61. Таким образом, зубчатая рейка перемещается вниз. В это время подъемный рабочий стержень 40, который перемещался вверх перед перемещением зубчатой рейки 67 вниз, сохраняет состояние удерживания стопорным механизмом 71 блока 70 управления запиранием, и лишь зубчатая рейка 67 перемещается вниз.
В то же время блок 70 управления запиранием включает стопорный механизм 71, который с возможностью освобождения стопорится в запирающей щели 41 для стопорного механизма подъемного рабочего стержня 40, стопорный элемент 73 стопорного механизма, который удерживает и освобождает стопорный механизм 71, и переключатель 75 управления запиранием, который управляет стопорным элементом 73 стопорного механизма.
Стопорный механизм 71 включает запирающий упор 71а, в который упирается верхний конец запирающей стопорный механизм щели 41 подъемного рабочего стержня 40, и сохраняющий состояние запирания упор 71b, который стопорится стопорным элементом 73 стопорного механизма. Кроме того, стопорный механизм 71 выполнен так, что он упруго поворачивается из внутреннего пространства корпуса 30 в направлении запирающей щели 41 для стопорного механизма подъемного рабочего стержня 40 за счет упругости стопорной пружины 71с.
Стопорный элемент 73 стопорного механизма расположен вблизи стопорного механизма 71, так что он упруго поворачивается в направлении сохраняющего состояние запирания упора 71b стопорного механизма 71 за счет упругости пружины 73а стопорного элемента.
Переключатель 75 управления запиранием соединен на своем внутреннем конце со стопорным элементом 73 стопорного механизма. Дальний конец переключателя 75 управления запиранием проходит через запирающую щель 41 для стопорного механизма подъемного рабочего стержня 40 и выступает наружу из рамы 205 оконного стекла. В данном случае переключатель 75 управления запиранием и стопорный элемент 73 стопорного механизма предпочтительно соединены друг с другом через структуру соединительных звеньев, так что стопорный элемент 73 стопорного механизма может поворачиваться за счет линейного перемещения переключателя 75 управления запиранием. Для достижения этой цели образована наклонная шарнирная щель 75b, соответствующая радиусу поворота стопорного элемента 73 стопорного механизма, в стопорном элементе 73 стопорного механизма, и на внутреннем конце переключателя 75 управления запиранием предусмотрен шарнирный палец 75, который введен с возможностью перемещения в шарнирную щель 75b.
В блоке 70 управления запиранием, имеющем указанную выше конструкцию, когда переключатель 75 управления запиранием толкается внутрь, то стопорный элемент 73 стопорного механизма поворачивается внутрь, так что состояние запирания между стопорным элементом 73 стопорного механизма и сохраняющим состояние запирания упором 71b стопорного механизма 71 снимается.
В то же время наряду с указанной выше конструкцией, блок 70 управления запиранием может иметь следующую конструкцию. Как показано на фиг. 15, блок 70′ управления запиранием включает стопорный механизм 71′, который дистанционно стопорится в закрывающей щели 41 для стопорного механизма подъемного рабочего стержня 40, пружину 71с’ стопорного механизма, которая сохраняет стопорное состояние стопорного механизма 71′, и переключатель 75′ управления запиранием, который снимает стопорное состояние стопорного механизма 71′.
В этом случае шарнирная щель 75b’ образована в наружном конце стопорного механизма 71′ (нижнем конце стопорного механизма при рассматривании на чертежах), и шарнирный палец 75а’ переключателя 75′ управления запиранием введен с возможностью перемещения в шарнирную щель 75b’ стопорного механизма 71′.
В данном случае пружина 71с’ стопорного механизма должна иметь достаточную упругость для удерживания стопорного механизма 71′ запертым в запирающей щели 41′ для стопорного механизма подъемного рабочего стержня 40′. Таким образом, структуру блока 70′ управления запиранием можно упростить.
Ниже приводится пояснение работы открывающего и закрывающего устройства для поднимаемых раздвижных дверей и окон, согласно данному изобретению, имеющего указанную выше конструкцию.
В то время как рама 205 оконного стекла закрывает проем 203а опорной рамы 203, рама 205 оконного стекла находится в нижнем положении, и опорный блок 20 рамы оконного стекла и роликовый блок 10 находятся вблизи друг друга, как показано на фиг. 8.
В это время подъемный рабочий стержень 40 также находится в опущенном состоянии, и контактные концы 23а рельсовых контактных элементов 23 опорного блока 20 рамы оконного стекла контактируют с рельсом 203b и нажимают на рельс 203b вниз с использованием веса рамы оконного стекла.
Кроме того, переключатель 75 управления запиранием блока 70 управления запиранием находится в нажатом состоянии, поскольку он находится в контакте с опорной рамой 203. Таким образом, стопорный элемент 73 стопорного механизма и стопорный механизм 71 находятся в состоянии поворота в направлениях, в которых замок открывается. Закрывающие головки 55 запирающих выступающих элементов 50, которые предусмотрены на опорной раме 203, находятся в состоянии запирания в соответствующих стопорных щелях 45b подъемного рабочего стержня 40. Поэтому рама 205 оконного стекла находится в запертом состоянии.
Кроме того, приводное зубчатое колесо 61 подъемного рабочего передаточного блока 60 находится в своем исходном положении, и зубчатая рейка 67 находится в нижнем положении принимающей зубчатую рейку щели 43 подъемного рабочего стержня 40. Направляющий ролик 15 роликового блока 10 находится в верхнем конце направляющей щели 25 подъема опорного блока 20 рамы оконного стекла.
В этом состоянии для открывания рамы 205 оконного стекла, когда пользователь поворачивает рукоятку 5 в направлении открывания рамы 205 оконного стекла, как показано на фиг. 9 и 10, приводное зубчатое колесо 61, соединенное с рукояткой 5, поворачивается. Затем второе ведомое зубчатое колесо 65а поворачивается за счет поворота первого ведомого зубчатого колеса 65b, которое находится в зацеплении с приводным зубчатым колесом 61. Таким образом, зубчатая рейка 67 линейно перемещается вверх.
В то время как зубчатая рейка 67 перемещается вверх, верхний конец зубчатой рейки 67 толкает подъемный рабочий стержень 40 вверх за счет контакта с верхним концом принимающей зубчатую рейку щели 43 подъемного рабочего стержня 40.
Таким образом, когда подъемный рабочий стержень 40 перемещается вверх, то подъемный соединительный рычаг 29, который соединен с нижним концом подъемного рабочего стержня 40, поворачивает подъемный шарнир 27 опорного блока 20 рамы оконного стекла от нижнего конца рамы 205 оконного стекла в направлении переднего конца рамы 205 оконного стекла. За счет поворота подъемного шарнира 27 подъемное звено 11а тянет роликовый блок 10. В это время направляющий ролик 15 роликового блока 10 перемещается в направлении нижнего конца направляющей щели 25 подъема опорного блока 20 рамы оконного стекла. За счет этого опорный блок 20 рамы оконного стекла удаляется от роликового блока 10.
После этого контактные концы 23а рельсовых контактных элементов 23 опорного блока 20 рамы оконного стекла находятся на расстоянии от рельса 203b опорной рамы 203, так что вес рамы 205 оконного стекла не передается на рельс 203b через контактные элементы 23. Поэтому ролики 13 способны катиться по рельсу 203b опорной рамы 203, так что рама 205 оконного стекла переходит в открытое состояние. В данном случае, когда пользователь отпускает рукоятку 5 в желаемом положении, в котором рама 205 оконного стекла открыта, возвратная пружина 63 приводного зубчатого колеса 61 упруго сжимается, тем самым возвращая приводное зубчатое колесо 61 в его исходное положение. В это время рукоятка 5 также возвращается вместе с приводным зубчатым колесом 61 в свое исходное положение, даже если к рукоятке 5 прикладывается усилие.
Кроме того, когда подъемный рабочий стержень 40 перемещается вверх, то запирающая выступающая часть 53 и запирающая головная часть 55 каждого запирающего выступающего элемента 50 расположены у проходного отверстия 45а каждой запирающей щели 45 подъемного рабочего стержня 40, так что снимается состояние запирания рамы 205 оконного стекла.
Следовательно, когда рама 205 оконного стекла перемещается в направлении, в котором окно открывается, как показано на фиг. 10, стопорный механизм 71 и стопорный элемент 73 стопорного механизма поворачиваются в направлениях, в которых они заперты, за счет упругости пружины 71с стопорного механизма и пружины 73а стопорного элемента, так что запирающий упор 71а стопорного механизма 71 заперт в верхнем конце запирающей щели 41 для стопорного механизма подъемного рабочего стержня 40, и одновременно стопорный элемент 73 стопорного механизма заперт на сохраняющем состояние запирания упоре 71b стопорного механизма 71, так что подъемный рабочий стержень 40 сохраняет поднятое состояние. Кроме того, переключатель 75 управления запиранием блока 70 управления запиранием, который заталкивается внутрь за счет контакта с опорной рамой 203, выступает наружу из подъемного рабочего стержня 40 за счет поворота стопорного элемента 73 стопорного механизма в направлении запирания.
В то же время, как показано на фиг. 11, когда пользователь желает сохранить открытое состояние рамы 205 оконного стекла в желаемом положении, то пользователь толкает переключатель 75 управления запиранием блока 70 управления запиранием. За счет этого, как показано на фиг. 12, стопорный элемент 73 стопорного механизма поворачивается в направлении, в котором он не заперт, так что снимается состояние запирания стопорного механизма 71. Затем подъемный рабочий стержень 40 перемещается вниз под действием веса рамы 205 оконного стекла, так что опорный блок 20 рамы оконного стекла приближается к роликовому блоку 10. В это время контактные концы 23а рельсовых контактных элементов 23 опорного блока 20 рамы оконного стекла приводятся в контакт с рельсом 203b опорной рамы 203 и нажимают на рельс 203b с использованием веса рамы 205 оконного стекла, предотвращая тем самым скольжение рамы 205 оконного стекла по рельсу 203b. Поэтому рама 205 оконного стекла сохраняет открытое состояние. В указанном процессе направляющий ролик 15 роликового блока 10 плавно перемещается вверх вдоль направляющего отверстия 25 подъема опорного блока 20 рамы оконного стекла, предотвращая тем самым резкое перемещение вниз рамы 205 оконного стекла.
После этого, когда пользователь снова поворачивает рукоятку 5 для скольжения рамы 205 оконного стекла, как указывалось выше, опорный блок 20 рамы оконного стекла находится на расстоянии от роликового блока 10 за счет перемещения вверх подъемного рабочего стержня 40 и сохранения его поднятого состояния, так что рама 205 оконного стекла становится способной к скольжению.
В то же время, когда рама 205 оконного стекла, которая была в открытом состоянии, закрывается, как показано на фиг. 8, переключатель 75 управления запиранием блока 70 управления запиранием входит в контакт с опорной рамой 203 и тем самым толкается внутрь. Таким образом, состояние запирания стопорного механизма 71 снимается, и подъемный рабочий стержень 40 перемещается вниз. За счет этого запирающие головные части 55 запирающих выступающих элементов 50 запираются в соответствующих стопорных щелях 45b запирающих щелей 45 подъемного рабочего стержня 40, и одновременно опорный блок 20 рамы оконного стекла перемещается вниз и приближается к роликовому блоку 10. Поэтому рама 205 оконного стекла закрывает проем 203а опорной рамы 203 и автоматически переходит в состояние запирания.
Таким образом, в открывающем и закрывающем устройстве для поднимаемых раздвижных дверей и окон, согласно данному изобретению, приводное зубчатое колесо поворачивается за счет поворота рукоятки, и поворотное усилие приводного зубчатого колеса преобразуется в линейную кинетическую энергию с помощью ведомого зубчатого колеса и зубчатой рейки. Линейная кинетическая энергия непосредственно перемещает подъемный рабочий стержень вверх. Поэтому передаточный механизм для приведения в действие подъемного рабочего стержня сильно упрощается.
Кроме того, поскольку направляющий ролик роликового блока перемещается вдоль направляющей щели подъема подъемного блока скольжения, которая имеет частично форму дуги, которая изогнута вверх, то раму оконного стекла можно перемещать от рельса и к рельсу с использованием минимального рабочего усилия.
Дополнительно к этому, поскольку стопорный механизм блока управления запиранием непосредственно запирается или освобождается из запирающей щели стопорного механизма подъемного рабочего стержня, то структура для запирания рамы оконного стекла может быть упрощена.
Благодаря указанным выше преимуществам структура открывающего и закрывающего устройства сильно упрощается, и число его элементов значительно сокращается. Поэтому процесс изготовления упрощается, и стоимость его изготовления понижается.
Промышленная применимость
Как указывалось выше, данное изобретение предлагает открывающее и запирающее устройство для поднимаемых раздвижных дверей и окон, которое имеет простую конструкцию, так что процесс изготовления упрощается, и стоимость его изготовления понижается, и с помощью которого усилие, требуемое для открывания или закрывания рамы оконного стекла, можно уменьшить, что увеличивает управляемость.
Формула изобретения
1. Открывающее и закрывающее устройство для поднимаемых раздвижных дверей и окон, содержащее роликовый блок в роликовом контакте с рельсом, предусмотренным на нижнем конце опорной рамы, опорный блок рамы оконного стекла, предусмотренный в нижнем конце рамы оконного стекла, перемещающийся от роликового блока и приближающийся к нему в вертикальном направлении, рукоятку, установленную с возможностью поворота на переднем конце рамы оконного стекла, и подъемный рабочий блок, перемещающий опорный блок рамы оконного стекла в направлении от роликового блока и к нему в соответствии с поворотом рукоятки, при этом подъемный рабочий блок содержит:
подъемный рабочий стержень, предусмотренный в переднем конце рамы оконного стекла с возможностью перемещения в вертикальном направлении, при этом подъемный рабочий стержень соединен с роликовым блоком, с принимающей зубчатую рейку щелью, имеющей заданную длину и образованной в подъемном рабочем стержне в положении вблизи рукоятки;
подъемный рабочий передаточный блок, содержащий приводное зубчатое колесо, соединенное с рукояткой, так что приводное зубчатое колесо вращается при повороте рукоятки, ведомое зубчатое колесо, увеличивающее усилие поворота приводного зубчатого колеса, и зубчатую рейку, расположенную в принимающей зубчатую рейку щели подъемного рабочего стержня с возможностью перемещения в вертикальном направлении, при этом зубчатая рейка находится в зацеплении с ведомым зубчатым колесом и преобразует усилие поворота в усилие линейного смещения; и
блок управления запиранием, соединенный с подъемным рабочим стержнем, для удержания подъемного рабочего стержня в поднятом состоянии или отпускания из поднятого состояния.
2. Устройство по п.1, в котором ведомое колесо содержит первое ведомое зубчатое колесо, находящееся в зацеплении с приводным зубчатым колесом, и второе ведомое зубчатое колесо, коаксиально присоединенное к первому ведомому зубчатому колесу, так что второе ведомое зубчатое колесо увеличивает усилие поворота первого ведомого зубчатого колеса и передает усилие поворота на зубчатую рейку.
3. Устройство по п.2, в котором приводное зубчатое колесо выполнено с возможностью поворота в противоположных направлениях в заданном угловом диапазоне, а передаточные зубья выполнены на такой части периферийной наружной поверхности приводного зубчатого колеса, что приводное зубчатое колесо находится в зацеплении с ведомым зубчатым колесом, по меньшей мере, внутри углового диапазона поворота приводного зубчатого колеса.
4. Устройство по п.3, в котором угловой диапазон поворота приводного зубчатого колеса составляет 45° или меньше.
5. Устройство по п.4, дополнительно содержащее возвратную пружину, смещающую приводное зубчатое колесо в направлении, в котором приводное зубчатое колесо возвращается в свое исходное положение.
6. Устройство по п.1, в котором подъемный рабочий стержень имеет запирающую стопорный механизм щель, а блок управления запиранием содержит стопорный механизм, запертый с возможностью освобождения в запирающей стопорный механизм щели, пружину стопорного механизма, смещающую стопорный механизм в направлении, в котором стопорный механизм запирается в запирающей стопорный механизм щели, и переключатель управления запиранием, выступающий наружу из рамы оконного стекла в направлении опорной рамы, так что при смещении переключателя управления запиранием внутрь состояние запирания стопорного механизма снимается.
7. Устройство по п.1, в котором подъемный рабочий стержень имеет запирающую стопорный механизм щель, а блок управления запиранием содержит стопорный механизм, запертый с возможностью освобождения в запирающей стопорный механизм щели, пружину стопорного механизма, смещающую стопорный механизм в направлении, в котором стопорный механизм заперт в запирающей стопорный механизм щели, стопорный элемент стопорного механизма, сохраняющий и снимающий запертое состояние стопорного механизма, пружину стопорного элемента, смещающую стопорный элемент стопорного механизма в направлении, в котором сохраняется запертое состояние стопорного механизма, и переключатель управления запиранием, выступающий наружу рамы оконного стекла в направлении опорной рамы, так что при смещении переключателя управления запиранием внутрь снимается состояние запирания стопорного механизма.
8. Устройство по п.1, дополнительно содержащее запирающий выступающий элемент, содержащий крепежную базовую часть, прикрепленную к опорной раме, запирающую выступающую часть, выступающую из крепежной базовой части в направлении подъемного рабочего стержня, и запирающую головную часть, предусмотренную на дальнем конце запирающей выступающей части, при этом подъемный рабочий стержень в положении, соответствующем запирающему выступающему элементу, имеет запирающую щель, которая имеет проходное отверстие, через которое проходит запирающая головная часть, и имеет стопорную щель, которая проходит вверх от проходного отверстия, так что при смещении подъемного рабочего стержня вниз запирающая головная часть запирается в стопорной щели.
9. Устройство по п.8, в котором на поверхности запирающей головной части, которая обращена к крепежной базовой части, образована запирающая направляющая поверхность, которая наклонена от своего верхнего конца до нижнего конца в направлении крепежной базовой части.
10. Устройство по п.1, в котором в опорном блоке рамы оконного стекла сформирована направляющая щель подъема, имеющая форму изогнутой вверх дуги, а роликовый блок содержит направляющий ролик, перемещающийся вдоль направляющей щели подъема.
11. Устройство по п.10, в котором направляющая щель подъема включает изогнутую вверх секцию, которая имеет частично дуговую форму и выступает на заданную длину из нижнего конца направляющей щели подъема, и горизонтальную секцию, которая выступает на заданную длину из верхнего конца изогнутой вверх секции.
12. Устройство по п.10, в котором направляющая щель подъема включает изогнутую вверх секцию, которая имеет частично дуговую форму и выступает из нижнего конца в самое верхнее положение направляющей щели подъема, и изогнутую посадочную концевую секцию, которая выступает вниз из самого верхнего положения изогнутой вверх секции.
РИСУНКИ
|
|