|
|
(21), (22) Заявка: 2007123580/12, 08.12.2005
(24) Дата начала отсчета срока действия патента:
08.12.2005
(30) Конвенционный приоритет:
24.12.2004 DE 202004019974.2
(46) Опубликовано: 27.03.2009
(56) Список документов, цитированных в отчете о поиске:
СН 541058 А, 31.08.1973. ЕР 1255010 A1, 06.11.2002. WO 02/084057 A1, 24.10.2002. RU 2162507 C1, 27.01.2001.
(85) Дата перевода заявки PCT на национальную фазу:
24.07.2007
(86) Заявка PCT:
EP 2005/013134 (08.12.2005)
(87) Публикация PCT:
WO 2006/072330 (13.07.2006)
Адрес для переписки:
129090, Москва, ул. Б.Спасская, 25, стр. 3, ООО “Юридическая фирма Городисский и Партнеры”
|
(72) Автор(ы):
ПАЛЬМОВСКИ Ханс-Юрген (DE)
(73) Патентообладатель(и):
ДР.ХАН ГМБХ УНД КО.КГ (DE)
|
(54) ПЕТЛЯ ДЛЯ ДВЕРЕЙ, ОКОН И ТОМУ ПОДОБНОГО
(57) Реферат:
Петля для дверей, окон и тому подобного предназначена для установки на профиле створки или коробки, который содержит профильный паз с поверхностью боковых выточек. По меньшей мере одна из частей петли, предназначенных для створки или коробки, имеет крепежную часть с контактной поверхностью для прилегания к наружной поверхности профиля, с крепежной пластиной с зажимной поверхностью для прилегания к поверхности боковой выточки профильного паза и с по меньшей мере одним зажимным винтом. Винт проходит через отверстие в крепежной части и ввернут в резьбовое отверстие в крепежной пластине, чтобы прижать зажимную поверхность к поверхности боковой выточки профильного паза с целью достижения зажимного соединения петли. В петле предусмотрены средства, с помощью которых после достижения зажимного соединения может быть обеспечено геометрическое замыкание крепежной части с профилем. Техническим результатом является создание петли с высоким удерживающим усилием предпочтительно при тяжелых створках. 6 з.п. ф-лы, 3 ил.
Изобретение относится к петле для окон, дверей и тому подобного, соответствующего ограничительной части пункта 1 формулы изобретения рода.
Петля должна быть пригодной для крепления на профилях створки или коробки, которые имеют профильный паз с боковыми выточками, в частности С-образный профильный паз. Подобные профили находят широкое применение в современных конструкциях дверей и окон. Чаще всего они изготовлены из алюминиевых сплавов.
Петля, которая пригодна для крепления на таком профиле, известна из ЕР 255010 В1. Она содержит крепежную пластину, которая в смонтированном состоянии входит в зацепление с поверхностью боковых выточек профильного паза. При затягивании крепежной пластины с помощью сквозного прижимного винта, проходящего сквозь крепежную деталь, часть петли прижимает крепежную деталь с контактной поверхностью к наружной поверхности профиля.
Так как в местах профиля, на которых должна закрепляться петля, не предусмотрено каких-либо специальных мер, она может быть установлена в любом месте вдоль профиля.
Чтобы обеспечить надежное удерживание петли в желаемом положении на длительный срок, а также при тяжелых створках, на крепежной пластине предусмотрены пирамидальные образующие выступ зубцы, вершины которых врезаются при затягивании зажимного винта в поверхность боковых выточек паза.
Хотя врезка зубцов повышает усилия, передающиеся петлей на коробку, в этом имеются недостатки, заключающиеся в том, что уже при первом, еще не окончательном позиционировании петли при предварительном затягивании зажимных винтов происходит деформация самой поверхности боковых выточек. Это может привести к тому, что при окончательной юстировке петли в продольном направлении профильного паза могут возникнуть осложнения, так как при новом затягивании зажимного винта крепежная пластина вместе с петлей будет смещаться во вмятину, образованную при предварительной установке. Кроме этого концентрация напряжений в надрезе, вызываемая зубцами на продолжении профиля, образующем поверхность боковых выточек продольного паза, может привести к образованию трещин, которое при непрерывном использовании и продолжении воздействия связанной с этим динамической нагрузки на коробку может в итоге привести к растрескиванию части продолжения профиля, обеспечивающего зажимное соединение.
В связи с этим задачей изобретения является создание петли для установки на профиле рамы или створки, который имеет профильный паз с боковыми выточками, в частности, на профиле, имеющем С-образный профильный паз, которая, с одной стороны, создает высокие удерживающие усилия, с другой стороны, не имеет указанных выше недостатков.
Эта задача решается с помощью петли, охарактеризованной в пункте 1 формулы изобретения.
Благодаря тому, что петля согласно изобретению содержит средства, с помощью которых после достижения зажимного соединения может быть обеспечено геометрическое замыкание петли с профилем, прежде всего может быть осуществлено окончательное позиционирование петли, не причиняя при этом вреда продолжению профиля, образующего поверхность боковых выточек паза, во время нескольких процессов по закреплению на различных местах в продольном направлении профиля. Геометрическое замыкание, требуемое для достижения надежной окончательной посадки, при этом осуществляется только в том случае, если найдено конечное положение петли, необходимое для корректной юстировки створки в коробке.
Особенно предпочтительным является вариант выполнения петли согласно изобретению, при котором средства для обеспечения геометрического замыкания выполнены таким образом, что геометрическое замыкание может быть также снова снято по выбору. Это мероприятие позволяет – если позднее потребуется дополнительная юстировка створки в коробке – изменять положение петли в профиле.
При особо предпочтительном варианте выполнения петли согласно изобретению средства включают фиксирующий винт, который может быть ввинчен в резьбовое отверстие в крепежной пластине и который расположен и выполнен таким образом, что он самостоятельно при затягивании создает геометрическое замыкание. При этом варианте выполнения фиксирующий винт выполнен в виде отдельной от зажимных винтов конструктивной детали для осуществления зажимной посадки крепежной пластины. В связи с этим появляется возможность устанавливать фиксирующий винт только в том случае, когда при корректной юстировке створки в коробке найдено необходимое положение петли, и петля установлена путем затяжки зажимных винтов.
Фиксирующий винт – что особенно предпочтительно – имеет режущую кромку, которая при затягивании вырезает в профиле выемку, в которую входит с зацеплением фиксирующий винт, и, следовательно, создается геометрическое замыкание, при этом не возникают концентрации напряжений в надрезе, которые могли бы привести к появлению трещин.
Фиксирующий винт предпочтительно расположен таким образом, что выемка вырезается в продолжении профиля, образующем поверхность боковых выточек профильного паза. Благодаря этому предотвращается ослабление несущей структуры профиля из-за наличия выемки.
Можно предусмотреть выемки в крепежной детали части петли для фиксирующих винтов. Однако особенно предпочтительно вследствие упрощения изготовления петли согласно изобретению, если крепежная пластина в продольном направлении профильного паза по меньшей мере с одной стороны выступает за крепежную деталь, и средства для обеспечения геометрического замыкания предусмотрены в этой области крепежной пластины, выступающей за крепежную деталь.
Чтобы предотвратить воздействие на фиксирующий винт в затянутом состоянии срезающих сил и чтобы наилучшим образом обеспечить надежность против самостоятельного отвинчивания, крепежная пластина предпочтительно имеет кольцевой паз, к донной части которого после затягивания прилегает режущая кромка фиксирующего винта.
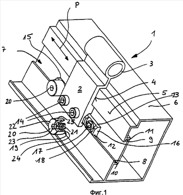
На чертежах – фрагментарно и схематически – в перспективном изображении показана петля согласно изобретению на примере части петли, предназначенной для установки на коробке. При этом показано:
фиг.1 – часть петли, предназначенная для установки на коробке в смонтированном на профиле состоянии при не установленном нижнем фиксирующем винте, последний показан в частичном разрезе;
фиг.2 – тот же пример выполнения на том же виде с фиксирующим винтом в частичном разрезе в начале процесса завинчивания, а также
фиг.3 – тот же пример выполнения на том же виде при полностью затянутом фиксирующем винте.
Из петли согласно изобретению на чертеже дано схематическое изображение только части петли 1, предназначенной для установки на коробке. Она включает крепежную часть 2, на которой имеется шарнирная часть 3. Крепежная часть 2 прилегает контактной поверхностью 4, которая обращена от наблюдателя к наружной поверхности 5 профиля 6.
Профиль имеет С-образный в поперечном сечении профильный паз 7, который имеет поверхности 10, 11 боковых выточек, образованные двумя продолжениями 8, 9 профиля. Поверхность 10 боковой выточки паза, изображенная на чертеже внизу, образует опору для зажимной поверхности 12 крепежной пластины 13. Последняя имеет два резьбовых отверстия, невидимые на чертеже, в которые соответственно ввинчиваются зажимные винты 14, проходящие через отверстия в крепежной части 2. Крепежная часть 2 выступает за продолжение 8 профиля на стороне, противолежащей поверхности 10 боковой выточки паза, так что при затягивании зажимных винтов 14 продолжение 8 профиля зажимается между крепежной частью 2 и зажимной поверхностью 12 крепежной пластины 13, и крепежная часть после затягивания зажимных винтов 14 закрепляется на профиле 6 с силовым замыканием, которое препятствует смещению в продольном направлении профиля, показанному символически стрелкой Р.
Крепежная пластина 13 в продольном направлении профиля 6 выступает с обеих сторон крепежной части 2, устанавливаемой на коробке части петли 1. В выступающих областях 15, 16 соответственно предусмотрено по одному резьбовому отверстию, при этом на фиг.1 и 2 можно видеть только нижнее отверстие 17. Концентрически относительно резьбового отверстия 17 в крепежной пластине 13 выполнен имеющий форму части кольца паз 18, диаметр и ширина которого соответствуют кольцевой режущей кромке 19 фиксирующего винта 20.
Фиксирующий винт 20 включает резьбовую часть 21, которая соответствует резьбовому отверстию 17. Далее фиксирующий винт 20 имеет цилиндрическую головку 22 с внутренним шестигранником 23 под ключ.
Концентрически к резьбовой части 21 на часть длины резьбовой части 21 от цилиндрической головки отходит имеющее кольцевое поперечное сечение продолжение, торец 24 которого образует режущую кромку 19.
Как, в частности, видно из фиг.2, режущая кромка 19 выступает за продолжение 8 профиля, так что она при затягивании фиксирующего винта 20 вырезает из продолжения профиля 8 выемку 26, имеющую форму части окружности, и наружная боковая поверхность 25 цилиндрической головки 22 прилегает к краю выемки 26.
Когда фиксирующий винт 20 находится в полностью завинченном изображенном на фиг.3 состоянии, режущая кромка 19 прилегает к донной части паза 18, так что возникающее за счет этого самоторможение предотвращает ослабление фиксирующего винта.
Благодаря контакту боковой поверхности 25 с краем 27 выемки 26 осуществляется соединение с геометрическим замыканием крепежной части 2 с профилем 6.
Чтобы закрепить крепежную часть 2 в профильном пазу 7, на крепежной части 2 предусмотрено закрытое на чертеже продолжением 9 профиля продолжение, которое входит в зацепление с поверхностью 11 боковой выточки паза 7.
Изобретение в данном случае описано только на примере части петли, устанавливаемой на коробке. Разумеется, что часть петли, устанавливаемая на створке, при соответствующем профиле может быть выполнена соответствующим или любым другим способом.
Также часть петли, устанавливаемая на створке, может быть выполнена, как описано выше, а часть петли, устанавливаемая на коробке, может быть выполнена другим способом.
Перечень позиций
1 – Часть петли, устанавливаемая на коробке
2 – Крепежная часть
3 – Шарнирная часть
4 – Контактная поверхность
5 – Наружная поверхность
6 – Профиль
7 – Профильный паз
8,9 – Продолжения профиля
10,11 – Поверхности боковых выточек паза
12 – Зажимная поверхность
13 – Крепежная пластина
14 – Зажимной винт
15,16 – Выступающие области
17 – Резьбовое отверстие
18 – Паз
19 – Кольцевая режущая поверхность
20 – Фиксирующий винт
21 – Резьбовая часть
22 – Цилиндрическая головка
23 – Внутренний шестигранник
24 – Торцевая сторона
25 – Боковая поверхность
26 – Выемка
27 – Край
Р – Стрелка
Формула изобретения
1. Петля для дверей, окон и тому подобного для установки на профиль (6) створки или коробки, который содержит профильный паз с поверхностями (10, 11) боковых выточек, с частью петли, устанавливаемой на створке, частью петли (1), устанавливаемой на коробке, причем по меньшей мере одна из частей петли, устанавливаемых на створке или коробке, имеет крепежную часть (2) с контактной поверхностью (4) для прилегания к наружной поверхности (5) профиля (6), с крепежной пластиной (13) с зажимной поверхностью (12) для прилегания к поверхности (10) боковой выточки профильного паза (7) и по меньшей мере с одним зажимным винтом (14), который проходит через отверстие в крепежной части (2) и может быть ввернут в резьбовое отверстие в крепежной пластине (13) для прижатия зажимной поверхности (12) к поверхности (10) боковой выточки профильного паза (7) с обеспечением зажимного соединения петли, отличающаяся тем, что предусмотрены средства, с помощью которых после достижения зажимного соединения обеспечивается геометрическое замыкание крепежной части (2) с профилем (6).
2. Петля по п.1, отличающаяся тем, что средства выполнены таким образом, что геометрическое замыкание может быть снято по выбору.
3. Петля по п.1 или 2, отличающаяся тем, что средства включают фиксирующий винт (20), который может быть ввинчен в резьбовое отверстие (17) в крепежной пластине (13), расположен и выполнен таким образом, что он самостоятельно при затягивании создает геометрическое замыкание.
4. Петля по п.3, отличающаяся тем, что фиксирующий винт (20) имеет режущую кромку (19) для вырезания при затягивании выемки (26) в профиле (6), в которую входит фиксирующий винт (20).
5. Петля по п.4, отличающаяся тем, что фиксирующий винт (20) расположен таким образом, что выемка (26) вырезается в продолжении профиля (8), образующем поверхность (10) боковой выточки профильного паза (7).
6. Петля по п.5, отличающаяся тем, что крепежная пластина (13) имеет кольцевой паз (18), к донной части которого после затягивания прилегает режущая кромка (19) фиксирующего винта (20).
7. Петля по п.1 или 6, отличающаяся тем, что крепежная пластина (13) в продольном направлении профильного паза по меньшей мере с одной стороны выступает за крепежную часть (2), а средства предусмотрены на выступающей области (15, 16).
РИСУНКИ
|
|