|
(21), (22) Заявка: 2007129453/12, 31.07.2007
(24) Дата начала отсчета срока действия патента:
31.07.2007
(46) Опубликовано: 27.03.2009
(56) Список документов, цитированных в отчете о поиске:
US 5244238 А, 14.09.1993. GB 2053340 А1, 04.02.1981. FR 2344695 А1, 14.10.1077. RU 2194838 С1, 20.12.2002.
Адрес для переписки:
170003, г.Тверь, Петербургское ш., 45-б, ОАО “Тверской вагоностроительный завод”, ОПИиИР
|
(72) Автор(ы):
Козырева Надежда Алексеевна (RU), Федотова Надежда Михайловна (RU), Никольский Виталий Евгеньевич (RU), Сиротов Николай Геннадьевич (RU), Арнт Алексей Борисович (RU), Румянцев Павел Анатольевич (RU)
(73) Патентообладатель(и):
Открытое акционерное общество “Тверской вагоностроительный завод” (ОАО “ТВЗ”) (RU)
|
(54) ФИКСИРУЮЩЕЕ УСТРОЙСТВО К ПРИВОДУ ЗАСОВА ЗАДВИЖНОЙ ДВЕРИ
(57) Реферат:
Относящееся к изобретению фиксирующее устройство к приводу засова задвижной двери направлено на улучшение эксплуатационных качеств задвижных дверей. Фиксирующее устройство содержит створку, стойку каркаса прямоугольно-коробчатого сечения, приемный элемент, вал с внешним элементом привода запирания и отпирания засова, установленный в опорах стойки, рычажный механизм. Рычажный механизм содержит запорный рычаг, закрепленный на валу и соединенный шарниром с приводным звеном. Приводное звено несет на шарнирной оси вертикальный засов, установленный в направляющих устройства и задвинутый в приемный элемент. В вырезах стойки с продольной перемычкой закреплена опорная рамка, имеющая направляющие пазы и втулку. Последними сблокированы между собой возвратная пружина и буртик засова. В исходном положении засов при помощи пружины, шарнирной оси и концевых ползунных головок зафиксирован на торцах направляющих пазов. Шарнирная ось удерживает, при заблокированной рамкой возвратной пружине, посредством приводного звена плечо запорного рычага в исходном положении. Запорный рычаг может быть заблокирован посредством возвратной пружины в заданном положении приводного звена своим блокировочным выступом на перемычке, фиксирующей засов в приемном элементе. 4 з.п. ф-лы, 8 ил.
Заявляемое изобретение относится к устройствам фиксации и запирания привода засова задвижных дверей пассажирских вагонов. Оно содержит два управляемых вручную совмещенных узла: один из них приводит засов в движение в верхнем и нижнем направлениях, а другой блокирует его в конечных положениях.
Известно “Запорное устройство” (WO 3050373 A1, E05C 9/04, опубликовано 19.06.2003 г.), имеющее приводной блок (1) и вертикальный засов, зацепляющийся с приемным элементом (27). Засов имеет по меньшей мере две детали (6, 17), соединенных пружиной растяжения (16). Засов выполнен в виде пластины, скользящей по направляющим и подпружиненной в направлении запирания двери пружиной (16), прикрепленной одним концом к пружине (15) засова, а другим концом – к кронштейну (17а) детали (17), прикрепленной к пластинчатой скобе (8) створки. Деталь (17) имеет возможность скользить по направляющему пазу (32) второй створки раздвижной двери. Фланец (4) приводного блока (1) закреплен резьбовыми элементами (5) на боковой поверхности створки. Направляющая пластинчатая скоба (7) закреплена на внешней стороне створки.
Известное “Запорное устройство” имеет простую конструкцию, однако имеет следующие недостатки:
а) засов раздвигаемой двери имеет возможность под действием пружины автоматически запираться в прорези (22) приемного элемента (23);
б) расположение вертикального засова на открытой с лицевой стороны поверхности створки не исключает травмирования рук при запирании подпружиненного засова в вырез приемного элемента;
в) привод не компактен и не позволяет дверь запереть бесшумно;
г) нет регулировки створки для обеспечения ее плотности прилегания к притвору двери.
За прототип принято “Запирающее устройство для двухступенчатых раздвижных дверей” (СССР, авт. св. №1208165, Е05С 7/02, заявлено 03.02.1984 г.), содержащее створку (1), стойку каркаса (8), приемный элемент (6), вал с внешним элементом (18) привода запирания и отпирания засова (4), установленный в опорах стойки, рычажный механизм, включающий запорный рычаг (2), закрепленный на валу и соединенный шарниром с приводным звеном (3), несущим на шарнирной оси вертикальный засов (4), установленный в направляющих элементах устройства, фиксатор, блокирующий засов, задвинутый в приемный элемент (6).
Недостатки описываемого прототипа следующие:
а) нельзя открыть или закрыть засов с другой стороны двери;
б) нет защиты элементов привода засова от шума и вибраций в крайних положениях засова;
в) расположение вертикального засова на обратной стороне створки не исключает травмирования рук пассажиров при задвижении засова и не улучшает внешнего вида двери.
Кроме того, конструкция запирающего устройства не предусматривает регулировки створки для обеспечения ее плотности прилегания к притвору двери.
Задачей предложения является обеспечение комфорта пассажиров, безопасности их нахождения в купе за счет улучшения эксплуатационных качеств задвижной двери и фиксирующего устройства к приводу засова, травмобезопасности при пользовании фиксирующим устройством, бесшумности в работе, а также беззазорного примыкания двери к ее притвору в запертом положении двери.
Для этого фиксирующее устройство к приводу засова задвижной двери содержит створку, стойку каркаса, приемный элемент, вал с внешним элементом привода запирания и отпирания засова, установленный в опорах стойки, рычажный механизм, включающий запорный рычаг, закрепленный на валу и соединенный шарниром с приводным звеном, несущим на шарнирной оси вертикальный засов, установленный в направляющих устройства и задвинутый в приемный элемент.
Новым является то, что в вырезах стойки прямоугольно-коробчатого сечения закреплена вертикально опорная рамка с направляющими: втулкой и пазами, с которыми соединена подпружиненная внутри опорной рамки нижняя часть незапертого засова с шарнирной осью, зафиксированная установленной на буртике засова возвратной пружиной при помощи концевых ползунных головок шарнирной оси на торцах направляющих пазов, другая часть засова на выходе из канала стойки сцентрирована направляющим отверстием секции подвески; запертое положение засова блокирует сжатая в опорной рамке в пределах длины ее направляющих пазов возвратная пружина, опирающаяся подвижным концом на буртик выдвинутого вверх рычажным приводом засова, блокируемого через рычажный привод и блокировочный выступ запорного рычага на перемычке стойки, выполняющей функцию корпуса фиксирующего устройства, после того как шарнир запорного рычага будет выведен упомянутым внешним элементом привода или рукояткой за пределы межосевой линии “вал-шарнирная ось”, а усилие возвратной пружины будет приложено к шарниру рычагами с его тыльной стороны.
Кроме того, опорная рамка образована пластинчатой скобой, полка которой с отверстием под направляющую втулку опирается на стенки с направляющими пазами, а средняя часть скобы прикреплена к кромкам выреза боковой перемычки посредством наружной пластины и заклепок.
Выступ вала, на котором закреплена рукоятка привода запирания и отпирания засова, расположен на тыльной стороне двери.
Секция подвески соединена фитингами с опорным элементом каретки и выполнена в виде армирующего кромочную часть створки гнутого швеллера, стенка которого подкреплена изнутри планкой с резьбовыми и направляющим отверстиями, предназначенными, соответственно, под фитинги и верхнюю часть засова, а полки швеллера закреплены стяжками на кромочной части створки.
Запертая на засов дверь подвешена на фитингах к опорному элементу каретки с возможностью ее поперечного сдвижения с фитингами и засовом к ее притвору.
Технический результат выразится в следующем.
Наличие вертикально закрепленной в вырезах стойки прямоугольно-коробчатого сечения опорной рамки позволит фиксировать вертикальный засов в исходном положении.
Наличие установленной на буртике засова возвратной пружины, втягивающей вертикальный засов в опорную рамку, позволит использовать пружину в качестве дополнительного фиксирующего элемента засова в его исходном положении и обеспечить в конечных положениях засова его бесшумное фиксирование.
Соединение с направляющими: втулкой и пазами опорной рамки нижней части незапертого засова, несущей шарнирную ось и пружину, предотвратит вибрации и шум в запертой на засов двери.
Прижатие ползунных головок возвратной пружины к торцам направляющих пазов опорной рамки позволит устранить вибрации в деталях засова и обеспечить их фиксирование в незапертом положении.
Наличие блокировочного выступа на поворачиваемом рукояткой запорном рычаге, контактирующего с перемычкой, определяет передаточное положение шарнира (9) рычажного привода за пределами межосевой линии “вал-шарнирная ось”, в котором происходит перемена направления прилагаемой нагрузки от приводного звена с одной стороны рычага на другую через тот же шарнир (9).
Наличие рычажного привода, соединенного валом с опорами стойки, позволит в сочетании с запорным рычагом и рукояткой использовать возвратную пружину в качестве блокирующего элемента засова после его запирания.
Фиксирование шарнира запорного рычага возвратной пружиной, усилие которой приложено к шарниру рычага с его тыльной стороны, благодаря выводу шарнира запорного рычага упомянутым внешним элементом привода или рукояткой за пределы межосевой линии “вал-шарнирная ось”, позволит привод перемещения засова и возвратную пружину рамки использовать также в качестве бесшумного фиксирующего устройства для постоянного фиксирования запертого засова двери.
Скрытое расположение засова в полости профильной стойки улучшит внешний вид двери.
Управление заявленным фиксирующим устройством при помощи рукоятки пассажирами, находящимися в купе, исключает травмирование рук при задвижении засова.
Наличие внешних элементов привода запирания и отпирания засова по концам вала, на одном из которых со стороны купе установлена рукоятка, позволит исключить доступ без ключа в купе посторонним лицам и, в то же время, не препятствует выходу пассажиров из купе.
Наличие поперечно-удлиненных отверстий (41, 42, 4) в опорном элементе каретки и приемном элементе позволит отрегулировать при запертой двери на засов примыкание створки к притвору двери.
Совмещение в стойке двух управляемых вручную узлов, один из которых приводит подпружиненный относительно направляющих опорной рамки засов в движение в верхнем и нижнем направлениях, а другой блокирует его в конечных положениях, обеспечивает компактность фиксирующему устройству.
Скрытое расположение рычажного привода и в целом заявляемого фиксирующего устройства в стойке исключает возможность получения травм при запирании и отпирании засова вручную внешним или внутренним управляющими элементами.
Сущность предложения поясняется чертежами, где
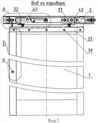
на фиг.1 – вид из коридора;
на фиг.2 – вид из купе;
на фиг.3 – вид А на фиг.1;
на фиг.4 – вид Б на фиг.1 (засов в исходном положении, нагружен возвратной пружиной);
на фиг.4а – вид Б на фиг.1 (засов в рабочем положении, заблокированный пружиной);
на фиг.5 – разрез Д-Д на фиг.4;
на фиг.6 – вид В на фиг.4;
на фиг.7 – разрез Г-Г на фиг.3;
на фиг.8 – разрез Е-Е на фиг.3.
Фиксирующее устройство к приводу задвижной двери содержит створку 1, стойку 2 дверного каркаса, приемный элемент 3 с поперечно-удлиненным отверстием 4, в качестве которого использована верхняя направляющая двери, вал 5 с внешним, расположенным на лицевой стороне двери, элементом 6 привода запирания и отпирания засова, установленный в опорах 7 стойки, запорный рычаг 8, закрепленный на валу и соединенный шарниром 9 с приводным звеном 10, несущим на шарнирной оси 11 вертикальный засов 12, установленный в направляющих заявляемого устройства, фиксатор, блокирующий задвинутый засов в поперечно удлиненное отверстие 4 (фиг.8).
В монтажных вырезах 13 перемычек (фиг.6) стойки 2 прямоугольно-коробчатого сечения, имеющей перемычку 14 для фиксирования засова в рабочем положении, закреплена вертикально в качестве направляющей засова опорная рамка 15 (фиг.4, 4а) с направляющими элементами: втулкой 16 и пазами 17 (фиг.5), с которыми соединена подпружиненная внутри рамки нижняя часть незапертого засова с шарнирной осью 11, зафиксированная посредством установленной на буртике 18 засова возвратной пружины 19 и концевых ползунных головок 20 шарнирной оси – на торцах 21 направляющих пазов. Ползунные головки установлены на концах шарнирной оси, соединяющей приводное звено 10 с нижней частью засова. Другая часть засова на выходе из стойки 2 сцентрирована направляющим отверстием 22 секции 23 подвески. Секция 23 закреплена на рамке, изготовленной из алюминиевого профиля. Рамка имеет стойки и поперечины, охватывающие панель створки.
Одна из стоек использована в функции корпуса и упора заявляемого фиксирующего устройства. Упором служит продольная перемычка 14 стойки.
Запертое положение засова фиксирует сжатая в опорной рамке, в пределах ее направляющих пазов, возратная пружина, опирающаяся подвижным концом на буртик выдвинутого вверх рычажным приводом засова. Засов заблокирован возвратной пружиной 19 через рычажный привод и блокировочный выступ 24 запорного рычага 8 на перемычке 14 стойки. Шарнир 9 запорного рычага 8 выведен упомянутым внешним элементом 6 привода или рукояткой 31 за пределы межосевой линии “вал-шарнирная ось”. Положение шарнира 9 заранее задано размером блокировочного выступа 24 при контакте его с перемычкой 14. Шарнир 9 запорного рычага заблокирован возвратной пружиной 19, т.к. усилие ее через звено 10 приложено к шарниру рычага с его тыльной стороны.
Засов запирается с тыльной стороны при повороте рукоятки 31 вправо запорным рычагом 8, с лицевой стороны запирается запорным рычагом 8 при повороте элемента 6 привода влево.
Блокировочный выступ 24 направлен от оси шарнира 9 по дуге движения ее к перемычке 14 и в контакте с ней имеет возможность нагружаться через шарнир 9 и звено 10 усилием возвратной пружины 17, достаточным, чтобы постоянно удерживать засов в запертом положении, а отпирается рукояткой 31, поворачиваемой против часовой стрелки до упора, функцию которого могут выполнять торцы 21 пазов 17 опорной рамки.
Опорная рамка образована пластинчатой скобой, полка 25 которой с отверстием под направляющую втулку 16 опирается на стенки 26 с направляющими пазами 17, а средняя часть скобы прикреплена к кромкам выреза боковой перемычки 27 посредством наружной пластины 28 и заклепок 29.
Выступ 30 (фиг.6) вала расположен на тыльной стороне двери (фиг.2). На выступе вала закреплена рукоятка 31 привода запирания и отпирания засова.
Секция 23 (фиг.4, 4а) подвески соединена фитингами 32 и 33 (фиг.1) с опорным элементом 34 (фиг.7) каретки и выполнена в виде армирующего кромочную часть створки гнутого швеллера 35, стенка которого подкреплена изнутри планкой 36 (фиг.7). В стенке швеллера и планке выполнены резьбовые 37, 38 (фиг.2) и направляющее 22 (фиг.4, 4а) отверстия, предназначенные, соответственно, под фитинги и верхнюю часть засова, а полки швеллера 35 закреплены стяжками 39 на кромочной части 40 створки.
В полках приемного элемента 3 (фиг.8) и опорного элемента 34 каретки (фиг.7) задвижной двери выполнены для регулировки двери в ее запертом положении поперечно-удлиненные параллельные отверстия, с одним из которых 4 (фиг.8) взаимодействует засов 12, а фитинги 32, 33 (фиг.1) соединены с поперечно-удлиненными параллельными отверстиями 41, 42 (фиг.1), выполненными в полке опорного элемента 34 каретки (фиг.7). По линиям поперечного удлинения отверстий 4, 41, 42 могут направленно скользить засов 12 и фитинги 32 и 33 секции 23 при регулировке притвора двери.
Опорная рамка 15 (фиг.4) базирует исходное положение подпружиненного в направлении отпирания засова, прижатого возвратной пружиной через буртик 18 и шарнирную ось 11 ползунными головками 20 – к торцам 21 направляющих пазов 17 (фиг.5) опорной рамки, которая базирует исходное положение запорного рычага 8, опирающегося через шарнир 9, приводное звено 10, шарнирную ось 11 и концевые ползунные головки 20 – на торцы 21 направляющих пазов 17.
Пружина 19 опорной рамки в запертой на засов двери, кроме того, выполняет роль фиксатора засова в его рабочем положении, когда выступ 24 рычага упирается в перемычку 14 стойки.
Фиксирующее устройство работает следующим образом.
Исходное положение незапертого засова зафиксировано жестко закрепленной в монтажных вырезах 13 стойки опорной рамкой 15, возвратная пружина 19 которой и нижняя часть засова 12 сблокированы между собой буртиком 18, направляющими (втулкой 16 и пазами 17) опорной рамки. С одной стороны, засов при помощи пружины 19, шарнирной оси 11, концевых ползунных головок 20 фиксируется на торцах 21 направляющих пазов, а с другой стороны, шарнирная ось 11 удерживает (при заблокированной в рамке возвратной пружине) посредством приводного звена 10 плечо запорного рычага 8 в исходном положении.
Засов при повороте ключа сцепленного с внешним элементом 6 рычажного привода (фиг.6) входит в поперечно-удлиненное отверстие 4 приемного элемента 3 (фиг.8) и запирает дверь. При перемещении шарнира 9 (фиг.4) со звеном 10 влево и вверх (фиг.4а) возвратная пружина сначала максимально сжимается в верхней мертвой точке засова, а затем, перейдя ее, разжимается: при этом звено 10 передает усилие возвратной пружины на повернутый тыльной стороной вверх запорный рычаг 8 и прижимает через шарнир 9 блокировочный выступ 24 (фиг.4) к перемычке 14, фиксируя задвинутый в поперечно-удлиненное отверстие 4 засов 12 от возможного опускания вниз.
Запертую на засов дверь сдвигают по поперечно-удлиненным параллельным отверстиям 41, 42 до примыкания к дверному проему и закрепляют фитинги 32, 33 в заданном положении двери.
Со стороны коридора (фиг.1) дверь может быть открыта ключом, сцепленным с внешним элементом 6 привода, если его повернуть по часовой стрелки в положение “Открыто” (фиг.4).
При повороте ключа (фиг.5) верхняя часть засова выводится из сцепления с приемным элементом 3: засов пружиной втягивается в опорную рамку 15 (фиг.4) до упора ползунных головок 20 в торцы 21 направляющих пазов 17 (фиг.5).
Поворот рычага 8 “до упора” ограничивается торцами 21 пазов 17 опорной рамки (фиг.5), в которые упираются ползунные головки 20, нагруженные через буртик 18 и ось 11 пружиной 19.
При необходимости выйти из купе, рукоятку 31 нужно (фиг.2, 6) повернуть против часовой стрелки до упора, после чего дверь разблокируется. Засов 12 выводится из сцепления с приемным элементом 3 (фиг.8), а шарнирная ось 11 посредством ползунных головок 20 (фиг.5) опускается по направляющим пазам 17 вниз до упора в их торцы 21.
В ночное время дверь купе может быть заперта на засов изнутри. Для этого рычаг поворачивают рукояткой 31 (фиг.2) по часовой стрелке, при этом ползунные головки 20 перемещаются вверх по направляющим пазам, и рабочая часть засова фиксируется в приемном элементе 3, благодаря перемещению звена 10 в позицию запирания, в которой постоянно действующее усилие от него приложено к тыльной стороне рычага 8 через шарнир 9, вследствие его смещения влево и вверх за межосевую линию (точки 5, 11, фиг.4а) в базированное выступом и перемычкой позицию запирания, после чего пружина (фиг.5) работает в качестве блокирующего элемента рабочего положения засова.
Шарнирная ось 11 приводного звена 10 в рабочем положении засова занимает в пазах 17 опорной рамки промежуточное положение и нагружена возвратной пружиной 19, реакция которой уравновешена через передаточные элементы 18, 11, 10, 9, 8, 24 перемычкой 14 профильной стойки 2, выполняющей роль корпуса для элементов привода засова и его элементов фиксирования.
Формула изобретения
1. Фиксирующее устройство к приводу засова задвижной двери, содержащее створку, стойку каркаса, приемный элемент, вал с внешним элементом привода запирания и отпирания засова, установленный в опорах стойки, рычажный механизм, включающий запорный рычаг, закрепленный на валу и соединенный шарниром с приводным звеном, несущим на шарнирной оси вертикальный засов, установленный в направляющих устройства и задвинутый в приемный элемент, отличающееся тем, что в вырезах стойки прямоугольно-коробчатого сечения закреплена вертикально опорная рамка с направляющими – втулкой и пазами, с которыми соединена подпружиненная внутри опорной рамки нижняя часть незапертого засова с шарнирной осью, зафиксированная установленной на буртике засова возвратной пружиной при помощи концевых ползунных головок шарнирной оси на торцах направляющих пазов, другая часть засова на выходе из канала стойки сцентрирована направляющим отверстием секции подвески, запертое положение засова блокирует сжатая в опорной рамке в пределах длины ее направляющих пазов возвратная пружина, опирающаяся подвижным концом на буртик выдвинутого вверх рычажным приводом засова, блокируемого через рычажный привод и блокировочный выступ запорного рычага на перемычке стойки, выполняющей функцию корпуса фиксирующего устройства, после того как шарнир запорного рычага будет выведен упомянутым внешним элементом привода или рукояткой за пределы межосевой линии “вал – шарнирная ось”, усилие возвратной пружины будет приложено к шарниру рычага с его тыльной стороны.
2. Фиксирующее устройство по п.1, отличающееся тем, что опорная рамка образована пластинчатой скобой, полка которой с отверстием под направляющую втулку опирается на стенки с направляющими пазами, а средняя часть скобы прикреплена к кромкам выреза боковой перемычки посредством наружной пластины и заклепок.
3. Фиксирующее устройство по п.1, отличающееся тем, что выступ вала, на котором закреплена рукоятка привода запирания и отпирания засова, расположен на тыльной стороне двери.
4. Фиксирующее устройство по п.1, отличающееся тем, что секция подвески соединена фитингами с опорным элементом каретки и выполнена в виде армирующего кромочную часть створки гнутого швеллера, стенка которого подкреплена изнутри планкой с резьбовыми и направляющим отверстиями, предназначенными соответственно под фитинги и верхнюю часть засова, а полки швеллера закреплены стяжками на кромочной части створки.
5. Фиксирующее устройство по п.1, отличающееся тем, что запертая на засов дверь подвешена на фитингах к опорному элементу каретки с возможностью поперечного сдвижения створки двери с фитингами и засовом к притвору двери.
РИСУНКИ
|