|
|
(21), (22) Заявка: 2007139294/12, 24.10.2007
(24) Дата начала отсчета срока действия патента:
24.10.2007
(46) Опубликовано: 27.03.2009
(56) Список документов, цитированных в отчете о поиске:
JP 2001073614 А, 21.03.2002. RU 92010821 А, 27.09.1996. JP 2002364213 А, 18.12.2002. JP 8120997 А, 14.05.1996.
Адрес для переписки:
117574, Москва, ул. Голубинская, 15/10, кв.172, А.И.Башкину
|
(73) Патентообладатель(и):
Башкин Анатолий Иванович (RU)
|
(54) СИСТЕМА ПРЕДОТВРАЩЕНИЯ НЕСАНКЦИОНИРОВАННОГО ПРОНИКНОВЕНИЯ В ПОМЕЩЕНИЕ
(57) Реферат:
Изобретение относится к системам тревожной сигнализации при попытках несанкционированного проникновения в помещение, например при открывании двери путем взлома видимого снаружи запирающего устройства. Система предотвращения несанкционированного проникновения в помещение содержит запирающие устройства двери и, по меньшей мере, одно не обнаруживаемое снаружи запирающее устройство, например, открываемое дистанционно, смонтированное с возможностью лишь приоткрытия двери и предотвращения ее дальнейшего открывания. Система предотвращения несанкционированного проникновения в помещение предотвращает проникновение злоумышленника внутрь помещения после взлома им видимых запирающих устройств, по крайней мере, до прибытия охраны или принуждает его прекратить дальнейшие попытки проникнуть в помещение. 4 з.п. ф-лы, 2 ил.
Изобретение относится к системам тревожной сигнализации о попытках несанкционированного проникновения в помещение, например при открывании двери путем взлома видимого снаружи запирающего устройства.
Известна система тревожной сигнализации о несанкционированном проникновении в помещение, содержащая, по меньшей мере, одно видимое снаружи запирающее устройство двери, а также датчик контроля запертого положения двери, соединенный с блоком передачи тревожного сигнала на внешнее приемное устройство. Кроме того, она дополнительно содержит в качестве приманки злоумышленника фотоаппарат со вспышкой и некое электромеханическое устройство захвата злоумышленника, размещенное у фотоаппарата (см. RU 2066475, G08B 13/08, опубл. 10.09.1996 г.). В данной системе сделана попытка не просто сообщить охране о взломе, но и задержать злоумышленника, если удастся ввести его в заблуждение вышеупомянутыми дополнительными средствами. К недостаткам аналога следует отнести как высокие стоимость и сложность, так и низкую эффективность, поскольку после взлома запирающих устройств на двери злоумышленник имеет возможность некоторое время до прибытия охраны действовать внутри помещения в своих преступных целях, и вовсе не факт, что он поддастся на вышеописанную уловку разработчиков системы.
Известна система тревожной сигнализации о несанкционированном проникновении в помещение, содержащая два видимых снаружи запирающих устройств двери, одно из которых предназначено для индикации несанкционированного проникновения в помещение и передачи тревожного сигнала на внешнее приемное устройство (см. US 7158029 B1, US C1, 340/545.7, опубл. 02.01.2007 г.).
К недостаткам известного устройства следует отнести то, что срабатывание тревожной сигнализации в течение некоторого времени до момента прибытия охраны не препятствует взломщику совершить кражу предметов и ценностей в помещении.
Данное устройство является наиболее близким аналогом заявляемому изобретению по совокупности признаков и достигаемому результату (прототип).
В изобретении решается задача не допустить злоумышленника внутрь помещения после взлома им видимых (как правило, с той или иной замочной скважиной) запирающих устройств, по крайней мере, до прибытия охраны или понудить его прекратить дальнейшие попытки проникнуть в помещение.
В изобретении техническое решение указанной задачи достигается тем, что система снабжена, по меньшей мере, одним не обнаруживаемым снаружи запирающим устройством, например, открываемым дистанционно, смонтированным с возможностью лишь приоткрытия двери и предотвращения дальнейшего открывания двери при отсутствии сигнала на открывание этого запирающего устройства.
В изобретении в качестве одного из возможных вариантов не обнаруживаемого снаружи запирающего устройства предлагается использовать запирающее устройство, выполненное в виде закрепляемого на двери подпружиненного в сторону запирания поворотного зацепа, имеющего концевой выступ с обращенными навстречу друг другу заходным и рабочим участками, а также примыкающий к рабочему участку участок свободного хода, и размещенных на основании, закрепляемом на дверной коробке, узла фиксации зацепа и электромагнитного привода расфиксации зацепа, при этом узел фиксации зацепа выполнен в виде закрепленного на основании неподвижного выступа, обращенного в сторону концевого выступа зацепа, и поворотного упора зацепа, установленного на основании с тыльной стороны зацепа, а электромагнитный привод расфиксации зацепа кинематически связан с поворотным упором зацепа.
Положительный эффект от использования изобретения может быть усилен за счет того, что система снабжена датчиком контроля закрытого положения двери, соединенным с сигнальным устройством тревоги, при этом необнаруживаемое снаружи запирающее устройство смонтировано с возможностью приоткрытая двери только до момента срабатывания указанного датчика. Сигнальное устройство тревоги может быть выполнено в виде блока передачи тревожного сигнала на внешнее приемное устройство, а в качестве внешнего приемного устройства может быть использован пульт приема тревожных сигналов вневедомственной охраны района.
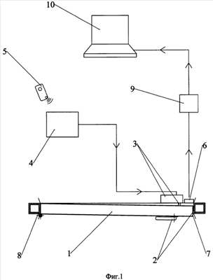
Сущность изобретения поясняется чертежами, где на фиг.1 представлена система тревожной сигнализации о взломе, а на фиг.2 – общий вид необнаруживаемого снаружи запирающего устройства.
Система предотвращения несанкционированного проникновения в помещение содержит смонтированное в двери 1, по меньшей мере, одно видимое снаружи запирающее устройство 2 и, по меньшей мере, одно не обнаруживаемое снаружи запирающее устройство 3, открываемое посредством блока управления 4, срабатывающего дистанционно от носимого кодового ключа 5, например радиобрелока, как в автомобильных устройствах дистанционного отпирания дверей. Другим возможным вариантом может быть использование блока управления 4 и кодового ключа 5, работающих на инфракрасных лучах, при условии, что приемник инфракрасных лучей от кодового ключа 5, например, в виде замаскированного светодиода, соединенный с блоком 4 (не показан) будет выполнен не обнаруживаемым снаружи.
Не обнаруживаемое снаружи запирающее устройство 3, установленное, например, как показано на фиг.1, внутри помещения сверху двери 1, должно обеспечивать при отсутствии сигнала на его открытие от кодового ключа 5 приоткрытие двери 1 на минимальное расстояние, обеспечивающее лишь возможность срабатывания датчика контроля закрытого положения двери 6 (на практике менее 10 мм для герконовых датчиков). Во всяком случае, торец 7 двери 1 при указанном приоткрытии не должен выходить за пределы дверной коробки 8, чтобы не облегчать злоумышленнику возможный силовой взлом двери 1.
Датчик контроля закрытого положения двери 6 может быть соединен с сигнальным устройством тревоги 9, в качестве которого может быть использована, например, звуковая или световая сигнализация, смонтированная внутри помещения (либо замаскировано снаружи помещения). Сигнальное устройство тревоги 9 может быть выполнено и в виде проводного или беспроводного блока передачи тревожного сигнала на внешнее приемное устройство 10. В качестве внешнего приемного устройства 10 может быть использован пульт приема тревожных сигналов вневедомственной охраны района. Другим возможным вариантом внешнего приемного устройства 10 может быть мобильный телефон.
Не обнаруживаемое снаружи запирающее устройство 3 содержит закрепляемый на двери 1 подпружиненный в сторону запирания поворотный зацеп 11, имеющий концевой выступ 12 с обращенными навстречу друг другу заходным 13 и рабочим 14 участками, а также примыкающий к рабочему участку участок свободного хода 15. На дверной коробке 8 закреплено основание 16 устройства 3, выполненное, как вариант, в виде стальной трубы прямоугольного профиля (не показана). На основании 16 выполнен неподвижный выступ 17, обращенный в сторону концевого выступа 12 зацепа 11. Зацеп 11 подпружинен относительно своей оси 18 в сторону запирания. С тыльной стороны 19 зацепа 11 смонтирован поворотный упор 20 зацепа 11, кинематически связанный, например, посредством подпружиненного рычага 21 с подвижным якорем 22 электромагнитного привода 23 расфиксации зацепа 11.
Система предотвращения несанкционированного проникновения в помещение работает следующим образом.
Допустим, злоумышленник изначально не предполагает, что данное помещение оборудовано заявляемой системой предотвращения несанкционированного проникновения в помещение и производит вскрытие видимого снаружи замка 2. Однако далее, пытаясь открыть дверь 1, он убеждается, что дверь 1 лишь слегка приоткрывается, удерживаемая необнаруживаемым снаружи запирающим устройством 3. Поскольку взломщик не может проникнуть в помещение, он не может знать, каким сигнальным устройством оборудовано данное помещение. У него есть альтернатива: ретироваться либо продолжить взлом двери с риском быть захваченным охраной, например вневедомственной, оперативно прибывающей к месту происшествия в случае постановки данного помещения на охрану. В других возможных случаях, в зависимости от того или иного исполнения системы предотвращения несанкционированного проникновения в помещение, срабатывает звуковая либо световая сигнализация, привлекающая внимание окружающих со всеми возможными последствиями. Здесь следует отметить, что закрывание двери взломщиком ни к чему не приведет: через короткое заданное время сигнал тревоги может уйти на пульт вневедомственной охраны. Важно подчеркнуть, что оборудование помещения даже простейшей системой предотвращения несанкционированного проникновения в помещение по п.1 формулы данного изобретения способно существенно снизить процент краж.
В случае, если система несанкционированного проникновения в помещение оснащена всеми элементами, представленными на фиг.1, она работает следующим образом. После взлома запирающего устройства 2 взломщик пытается открыть дверь 1, но она лишь приоткрывается, удерживаемая устройством 3, и не пускает взломщика внутрь помещения. При этом срабатывает датчик 6 и подает сигнал о приоткрытии двери 1 сигнальному устройству 9, которое в свою очередь транслирует его на пульт вневедомственной охраны 10 со всеми вытекающими отсюда последствиями для взломщика. В случае санкционированного открывания помещения сигнал тревоги снимается с внешнего приемного устройства 10 обычным путем, например по телефону.
В качестве не обнаруживаемого снаружи запирающего устройства 3 в принципе может быть использован любой замок-невидимка, смонтированный с возможностью лишь приоткрытая двери и предотвращения дальнейшего открывания двери при отсутствии сигнала на открывание этого замка. Однако лучшим на сегодняшний день для достижения указанных целей является запирающее устройство, защищенное патентом RU №2266383 и представленное на фиг.2 настоящего описания.
Данное устройство работает следующим образом.
При закрывании двери 1 зацеп 11 своим заходным участком 13 набегает на неподвижный выступ 17 и поворачивается относительно своей оси 18 и в то же время отклоняет упор 20. При дальнейшем закрывании двери 1 подпружиненный поворотный зацеп 11 и поворотный упор посредством подпружиненного рычага 21 поворачиваются в исходное положение и при полностью закрытой двери 1 занимают положения, показанные на фиг.2.
При открывании двери 1 зацеп 11 благодаря участку свободного хода 15 беспрепятственно вместе с открываемой дверью 1 перемещается до неподвижного выступа 17, после чего, упираясь в него рабочим участком 14, останавливается вместе с дверью 1. Зацеп 11 при отсутствии сигнала на открывание устройства от кодового ключа 5 не может повернуться вокруг своей оси 18, поскольку своей тыльной стороной 19 он упирается в упор 20 и не может выйти из зацепления с неподвижным выступом 17. При подаче сигнала на открывание устройства от кодового ключа 5 блок управления 4 подключает электропитание к электромагнитному приводу 23, подвижный якорь 22 которого производит отвод поворотного упора 20 от тыльной части 19 зацепа 11. Если теперь приложить открывающее усилие к двери 1, зацеп 11 при повороте двери 1 начнет скользить своим рабочим участком 14, а затем своим заходным участком 13 по неподвижному выступу 17, выходя тем самым из зацепления с ним. Дверь 1 открыта и электропитание от электромагнитного привода 23 может быть отключено.
Формула изобретения
1. Система предотвращения несанкционированного проникновения в помещение, содержащая одно или несколько видимых снаружи запирающих устройств двери, отличающаяся тем, что она снабжена, по меньшей мере, одним не обнаруживаемым снаружи запирающим устройством, например, открываемым дистанционно, смонтированным с возможностью лишь приоткрытия двери и предотвращения дальнейшего открывания двери при отсутствии сигнала на открывание этого запирающего устройства.
2. Система предотвращения несанкционированного проникновения в помещение по п.1, отличающаяся тем, что не обнаруживаемое снаружи запирающее устройство выполнено в виде закрепляемого на двери, подпружиненного в сторону запирания поворотного зацепа, имеющего концевой выступ с обращенными навстречу друг другу заходным и рабочим участками, а также примыкающий к рабочему участку участок свободного хода, и размещенных на основании, закрепляемом на дверной коробке, узла фиксации зацепа и электромагнитного привода расфиксации зацепа, при этом узел фиксации зацепа выполнен в виде закрепленного на основании неподвижного выступа, обращенного в сторону концевого выступа зацепа, и поворотного упора зацепа, установленного на основании с тыльной стороны зацепа, а электромагнитный привод расфиксации зацепа кинематически связан с поворотным упором зацепа.
3. Система предотвращения несанкционированного проникновения в помещение по п.1, отличающаяся тем, что она снабжена датчиком контроля закрытого положения двери, соединенным с сигнальным устройством тревоги, при этом не обнаруживаемое снаружи запирающее устройство смонтировано с возможностью приоткрытия двери только до момента срабатывания указанного датчика.
4. Система предотвращения несанкционированного проникновения в помещение по п.3, отличающаяся тем, что сигнальное устройство тревоги выполнено в виде блока передачи тревожного сигнала на внешнее приемное устройство.
5. Система предотвращения несанкционированного проникновения в помещение по п.4, отличающаяся тем, что в качестве внешнего приемного устройства используется пульт приема тревожных сигналов вневедомственной охраны района.
РИСУНКИ
|
|