|
(21), (22) Заявка: 2007120946/03, 05.06.2007
(24) Дата начала отсчета срока действия патента:
05.06.2007
(46) Опубликовано: 27.03.2009
(56) Список документов, цитированных в отчете о поиске:
Адрес для переписки:
129337, Москва, а/я 32, А.А. Щелоковой, рег.№ 932
|
(72) Автор(ы):
Смирнов Сергей Альбертович (RU)
(73) Патентообладатель(и):
Смирнов Сергей Альбертович (RU)
|
(54) ПЛИТКА ПОКРЫТИЯ
(57) Реферат:
Изобретение относится к области сборно-разборных покрытий, преимущественно пола, открытых площадок, например спортивных, и может быть использовано в качестве опорного не несущего элемента. Плитка покрытия, представляющая собой или содержащая трехмерную каркасную структуру, состоящую из двух частей – верхней и нижней, соединенных между собой, и содержащую замковые устройства, расположенные на части периметра плитки, причем нижняя часть представляет собой решетку, узлы которой выполнены в виде цилиндров или сужающихся книзу усеченных конусов, или пирамид, причем каждый узел решетки выполнен полым. По крайней мере, часть из узлов решетки снабжена ребрами жесткости, по меньшей мере, два из которых соединены с ребрами жесткости соседних узлов, образуя связи решетки в виде арок, на которые опирается верхняя часть каркасной структуры. Верхняя часть каркасной структуры соединена с ее нижней частью монолитно или разъемно и выполнена в виде плоского листа или множества листов и/или множества площадок, преимущественно соосно соединенных с узлами нижней части. Замковые устройства выполнены в виде полых цилиндров или полых усеченных конусов, или пирамид, соединенных с нижней частью каркасной структуры, по крайней мере, одним несущим соединительным элементом. Две стороны плитки содержат, по меньшей мере, два, преимущественно четыре замковых устройства, выполненных с возможностью соединения с любым узлом решетки нижней части каркасной структуры такой же плитки. Технический результат состоит в обеспечении требуемой надежности и долговечности покрытия в целом, обеспечении возможности создания любых цветовых узоров, создании возможности замены истертой верхней части каркасной структуры плитки. Заявленная конструкция технологична в изготовлении, экономична и не материалоемка. 21 з.п. ф-лы, 40 ил.
Изобретение относится к области сборно-разборных покрытий, преимущественно пола, открытых площадок, например спортивных, также может быть использовано в качестве опорного не несущего элемента.
Техническое решение относится к области сборно-разборных покрытий, преимущественно пола, открытых площадок, например спортивных может быть использовано в качестве опорного не несущего элемента, а также в качестве стенового или потолочного покрытия.
Из уровня техники известна плитка покрытия, представляющая собой трехмерную каркасную структуру, содержащую каркасную решетку, узлы которой выполнены в виде пустотелых цилиндров, причем каждый внешний узел каркасной решетки выполняет роль замкового устройства (см. US 4590731, Е04С 1/10, 10.08.1983).
Также известна плитка покрытия, снабженная каркасной структурой, узлы которой выполнены в форме пустотелых цилиндров, а также прикрепленные к каркасной структуре периметральные стенки и лицевой слой, с размещенными по периметру плитки замковыми устройствами в виде выступов, заходящих в периметральные стенки соседних плиток. Лицевой слой плитки выполнен с отверстиями, закрываемыми заглушками (US 5509244, Е04F 15/10, 13.05.1992).
К недостаткам указанных технических решений можно отнести недостаточную технологичность, материалоемкость изготовления указанных выше конструкций, отсутствие требуемой жесткости некоторых составляющих элементов указанных конструкций и неустойчивость к нормальным и тангенциальным нагрузкам, возникающим в процессе эксплуатации.
Задачей настоящего изобретения является повышение технологичности изготовлении, снижение материалоемкости, обеспечение требуемой надежности и долговечности покрытия в целом.
Поставленная задача решается за счет того, что в плитке покрытия, представляющей собой или содержащей трехмерную каркасную структуру, согласно изобретению каркасная структура состоит из двух частей – верхней и нижней, соединенных между собой, и содержит замковые устройства, расположенные на части периметра плитки, причем нижняя часть представляет собой решетку, узлы которой выполнены в виде цилиндров или сужающихся к низу усеченных конусов или пирамид, причем каждый узел решетки выполнен полым, а, по крайней мере, часть из узлов решетки снабжена ребрами жесткости, по меньшей мере, два из которых соединены с ребрами жесткости соседних узлов, образуя связи решетки в виде арок, на которые опирается верхняя часть каркасной структуры, при этом верхняя часть каркасной структуры соединена с ее нижней частью монолитно или разъемно и выполнена в виде плоского листа или множества листов и/или множества площадок, преимущественно соосно соединенных с узлами нижней части, а замковые устройства выполнены в виде полых цилиндров или полых усеченных конусов или пирамид, соединенных с нижней частью каркасной структуры, по крайней мере, одним несущим соединительным элементом, при этом две стороны плитки содержат, по меньшей мере, два, преимущественно четыре замковых устройства, выполненных с возможностью соединения с любым узлом решетки нижней части каркасной структуры такой же плитки.
Верхняя часть каркасной структуры может быть соединена с ее нижней частью через соединение типа паз – шип, причем пазом служит полость узла решетки нижней части.
Шип может быть выполнен симметрично по центру каждой из площадок верхней части каркасной структуры.
Плитка может быть выполнена многосекционной с разделением секций между собой выполненными в нижней части каркасной структуры деформационными швами, образованными из расположенных между ребрами жесткости части смежных узлов V или U-образных элементов.
По крайней мере, часть площадок верхней части каркасной структуры может быть связана между собой монолитно Х-образными элементами.
Верхняя часть каркасной структуры может быть выполнена многослойной.
Верхняя часть каркасной структуры может быть выполнена размерами, не совпадающими с размерами нижней части плитки.
Каждая площадка верхней части каркасной структуры может представлять собой тело, ограниченное сверху выпуклой поверхностью, выпуклостью направленной вверх, боковые грани тела также выполнены выпуклыми, а верхние ребра площадок скруглены, при этом боковые грани соседних площадок преимущественно направлены выпуклостями одна к другой, а между соседними гранями близлежащих площадок образован зазор, ширина которого выполнена переменной по длине этих боковых граней.
Площадки верхней части могут быть выполнены круглой формы или квадратной формы со скругленными углами и выпуклой верхней поверхностью.
Верхняя часть каркасной структуры может быть выполнена с шероховатой верхней поверхностью или с нанесенными на ее верхнюю поверхность бороздами.
По крайней мере, одна из частей каркасной структуры плитки – верхняя или нижняя, выполнена из термопласта методом литья под давлением.
В пределах одной плитки верхняя часть каркасной структуры может быть выполнена из независимых друг от друга площадок или блоков площадок или листов.
Ребра жесткости узлов решетки могут быть выполнены с увеличением их высоты и/или толщины к верхней части узлов и образованием дополнительных опор для опирания верхней части.
Плитка может быть выполнена с каналами для скрытой прокладки коммуникаций.
Полости замковых устройств могут иметь коническую или цилиндрическую конфигурацию.
Полости, по крайней мере, части замковых устройств плитки могут быть выполнены с фаской в верхней части.
Несущий соединительный элемент замкового устройства или его часть выполнена с переменной высотой, нарастающей к узлу каркасной структуры нижней части решетки.
Замковые устройства могут быть соединены с нижней частью каркасной структуры двумя несущими соединительными элементами, образующими между собой прямой угол и размещенными по отношению к ближайшим смежным с ними ребрам жесткости узлов нижней части каркасной структуры под углом 45°.
Высота полых цилиндров или полых усеченных конусов или пирамид замковых устройств может быть выполнена не превышающей 80% высоты узла нижней части каркасной структуры.
Внутренний размер и конфигурация полостей замковых устройств могут быть выбраны из условия прохождения и обеспечения зацепления, например, внатяг с любым узлом решетки нижней части каркасной структуры такой же плитки.
Замковые устройства могут быть расположены на противоположных сторонах плитки.
Замковые устройства могут быть расположены на смежных сторонах плитки.
Технический результат, обеспечиваемый приведенной совокупностью существенных признаков, состоит в обеспечении требуемой надежности и долговечности покрытия в целом за счет выполнения каркасной структуры плитки, состоящей из двух частей – верхней и нижней, выполнения замковых устройств, обеспечивающих зацепление с любым узлом нижней части каркасной структуры, вынесенными на несущих соединительных элементах, что позволяет свободно варьировать конфигурацию и размер плитки, обеспечении возможности создания любых цветовых узоров как за счет размещения плиток, так и за счет произвольного набора цветов и количества элементов – множества площадок, составляющих верхнюю часть каркасной структуры плитки, создание возможности замены истертой верхней части каркасной структуры плитки. Заявленная конструкция технологична в изготовлении, экономична и не материалоемка.
Заявленное техническое решение поясняется чертежами с примерами выполнения, не охватывающими и тем более не огранивающими весь объем притязаний данного изобретения.
На фиг.1, 2, 5, 8, 10, 12, 15, 17 изображена плитка покрытия, вид в аксонометрии;
На фиг.3 – вид в аксонометрии на нижнюю часть плитки;
На фиг.4, 6, 7, 9, 11, 13 – вид в аксонометрии на нижнюю часть одной плитки;
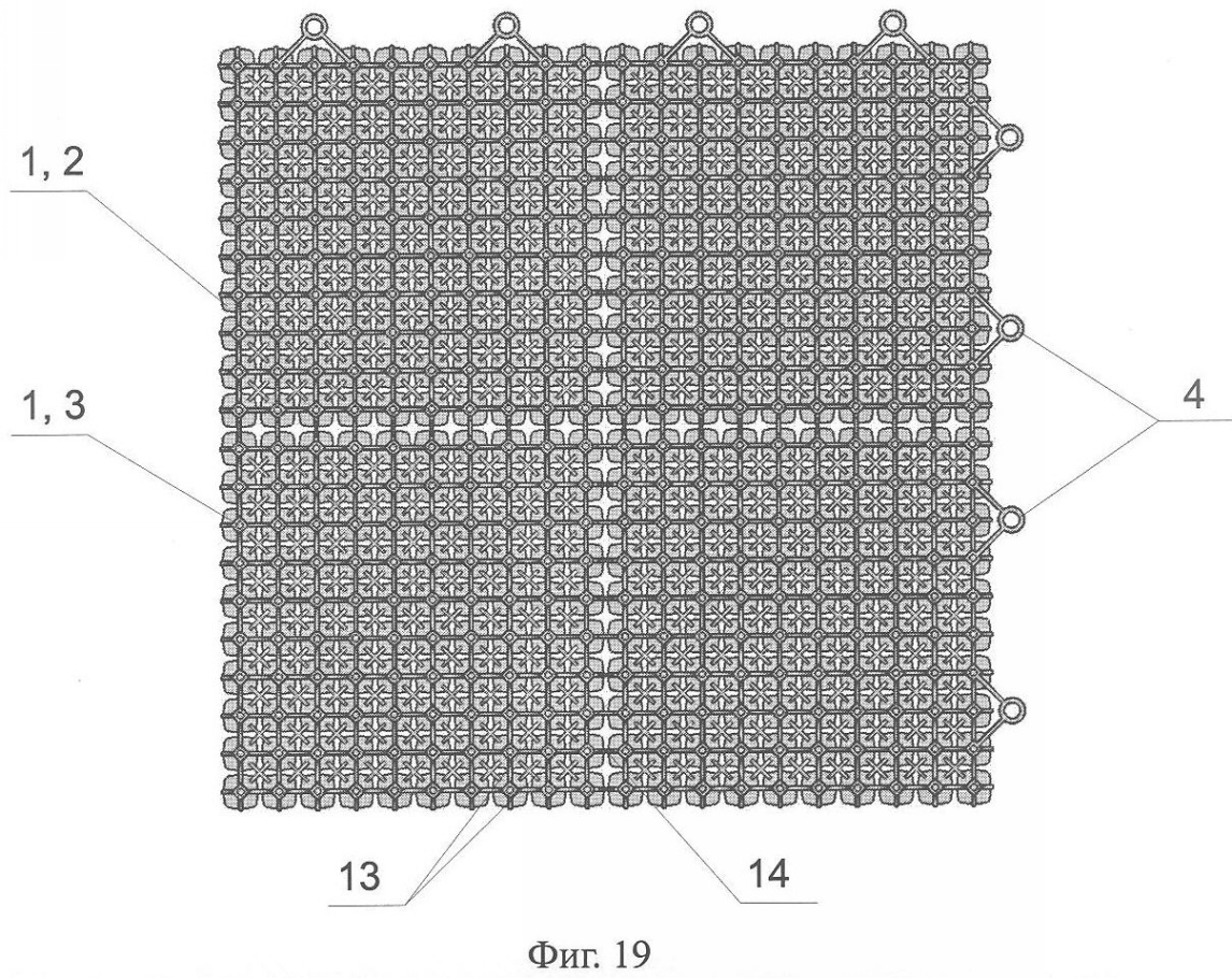
На фиг.14 и 19 – вид в плане снизу на плитку;
На фиг.16 – вид сбоку на плитку;
На фиг.18 – вид в плане сверху на плитку;
На фиг.20 и 21 – вид в аксонометрии снизу на соединение двух плиток между собой (фрагменты);
На фиг.22 и 23 – то же, что и на 21, виды в аксонометрии и сбоку сечения, проходящего через замковое устройство;
На фиг.24 – вид в аксонометрии на несколько соединенных плиток покрытия;
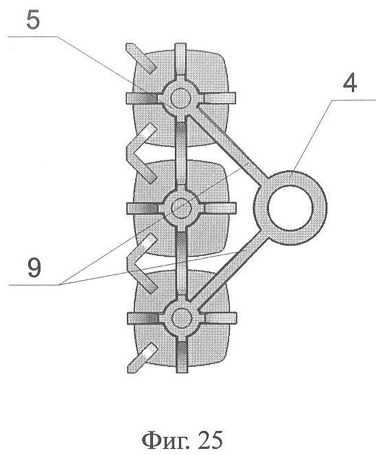
На фиг.25-29 – виды на фрагмент плитки с замковым устройством снизу, сверху, сбоку и в аксонометрии;
На фиг.30 и 31 – вид на фрагмент плитки сбоку и в аксонометрии в зоне размещения деформационного шва;
На фиг.32 – фрагмент плитки с каналом для прокладки кабеля, вид сбоку;
На фиг.33-36 – узел в варианте выполнения монолитным соединения верхней и нижней частей каркасной структуры плитки, виды сверху, сбоку и в аксонометрии;
На фиг.37 – узел в варианте разъемного соединения верхней и нижней частей каркасной структуры плитки;
На фиг.38 – вид сбоку на узел каркасной структуры плитки;
На фиг.39 и 40 – варианты форм элементов верхней части – площадок.
Плитка покрытия, представляющая собой или содержащая трехмерную каркасную структуру 1, состоит из двух частей – верхней 2 и нижней 3, соединенных между собой, и содержит замковые устройства 4, расположенные на части периметра плитки. Нижняя часть 3 представляет собой решетку, по крайней мере, часть узлов 5 которой выполнена полыми, при этом, по крайней мере, часть из узлов 5 решетки снабжена ребрами 6 жесткости, по меньшей мере, два из которых соединены с ребрами 6 жесткости соседних узлов 5, образуя связи решетки в виде арок, на которые опирается верхняя часть 2 каркасной структуры 1. Верхняя часть выполнена в виде плоского листа 7 (фиг.5) или множества листов 7, или множества площадок 8 (фиг.1, 12, 15), преимущественно соосно соединенных с узлами 5 нижней части 3.
А замковые устройства 4 выполнены в виде полых цилиндров или полых усеченных конусов или полых усеченных пирамид, соединенных с нижней частью 3 каркасной структуры, по крайней мере, одним несущим соединительным элементом 9, например, типа консоли. Полости 10 замковых устройств 4 имеют коническую или цилиндрическую конфигурацию.
При этом две стороны плитки содержат два замковых устройства 4. Замковые устройства 4 выполнены с возможностью соединения с любым узлом 5 решетки нижней части 3 каркасной структуры такой же плитки.
Верхняя часть 2 каркасной структуры 1 соединена с ее нижней частью 3 монолитно (фиг.15) или разъемно (фиг.1).
Верхняя часть 2 каркасной структуры 1 может быть соединена с ее нижней частью 3 через соединение типа паз 11 – шип 12 (фиг.37), причем пазом 11 служит полость узла 5 решетки нижней части.
Шип 12 выполнен симметрично по центру каждой из площадок верхней части каркасной структуры.
Плитка может быть выполнена многосекционной с разделением секций 13 между собой выполненными в нижней части 3 каркасной структуры деформационными швами 14, образованными из расположенных между ребрами жесткости 6 части смежных узлов 5 V или U-образных элементов 15.
По крайней мере, часть площадок 8 верхней части каркасной структуры связана между собой монолитно Х-образными элементами 16.
Верхняя часть каркасной структуры выполнена многослойной (на чертежах не показано).
Верхняя часть каркасной структуры выполнена размерами, не совпадающими с размерами нижней части плитки (фиг.13, 14).
Каждая площадка 8 верхней части каркасной структуры представляет собой тело, ограниченное сверху выпуклой поверхностью 17, выпуклостью направленной вверх, боковые грани 18 тела также выполнены выпуклыми, а верхние ребра 19 площадок скруглены, при этом боковые грани 18 соседних площадок 8 преимущественно направлены выпуклостями одна к другой, а между соседними гранями 18 близлежащих площадок 8 образован зазор, ширина которого выполнена переменной по длине этих боковых граней.
Площадки верхней части выполнены круглой формы или квадратной формы со скругленными углами и выпуклой верхней поверхностью (фиг.11, 13, 15).
Верхняя часть каркасной структуры выполнена с шероховатой верхней поверхностью (фиг.5) или с нанесенными на ее верхнюю поверхность бороздами (на чертежах не показано).
По крайней мере, одна из частей каркасной структуры плитки – верхняя или нижняя выполнена из термопласта методом литья под давлением.
В пределах одной плитки верхняя часть каркасной структуры выполнена из независимых друг от друга площадок, или блоков площадок, или листов.
Ребра жесткости 6 узлов 5 решетки выполнены с увеличением их высоты и/или толщины к верхней части узлов и образованием дополнительных опор для опирания верхней части 2.
Плитка выполнена с каналами 20 для скрытой прокладки коммуникаций.
Узлы 5 нижней части каркасной структуры выполнены в виде цилиндров и/или призм, и/или сужающихся к низу усеченных конусов или пирамид.
Полости 10, по крайней мере, части замковых устройств 4 плитки выполнены с фаской в верхней части.
Замковые устройства 4 соединены с нижней частью 2 каркасной структуры двумя несущими соединительными элементами 9, образующими между собой прямой угол и размещенными по отношению к ближайшим смежным с ними ребрам жесткости 6 узлов 5 нижней части каркасной структуры под углом 45°.
По крайней мере, один несущий соединительный элемент 6 замкового устройства 4 или его часть выполнена с переменной высотой, нарастающей к узлу 5 каркасной структуры нижней части решетки.
Высота полых цилиндров, или полых усеченных конусов, или пирамид замковых устройств 4 выполнена не превышающей 80% высоты узла 5 нижней части каркасной структуры.
Внутренний размер полостей 10 замковых устройств 4 выбран из условия прохождения и обеспечения зацепления, например, внатяг с любым узлом 5 решетки нижней части каркасной структуры такой же плитки.
Замковые устройства расположены на противоположных сторонах плитки (на фигурах не показано).
Или замковые устройства 4 расположены на смежных сторонах плитки.
Частным случаем выполнения плитки является плитка размером 330×330 мм, разделенная на секции 13, снабженная деформационным швом 14 и каналами 20 для скрытой прокладки коммуникаций. Плитка выполнена с четырьмя замковыми устройствами 4, размещенными на смежных сторонах плитки, каждый на двух несущих соединительных элементах 9, образующих между собой прямой угол и размещенных по отношению к ближайшим смежным с ними ребрами жесткости 6 узлов 5 нижней части каркасной структуры под углом 45°.
Устройство работает следующим образом: на выровненной поверхности размещают плитку. Рядом с ней размещают другую плитку таким образом, чтобы произошло зацепление внатяг узлов 5 решетки одной плитки и замковых элементов другой, смежной плитки. Далее размещают подобным же образом следующие плитки.
Возможно, соединение между собой вначале лишь нижних частей 3 каркасных структур множества плиток покрытия с последующим их объединением полотном единой верхней части или созданием на их поверхности множеством объединенных между собой или разрозненных площадок верхних частей узора.
Плитки могут быть прикреплены различными известными способами к поверхности, на которой они размещаются, например, с помощью клея или саморезов/гвоздей.
Таким образом, обеспечивается создание покрытия с любым цветовым узором и различной фактурой покрытия, составляющие которого – плитки покрытия надежно зацеплены между собой, с обеспечением возможности замены истертой верхней части каркасной структуры плитки. При этом заявленная конструкция технологична, экономична и не материалоемка.
Формула изобретения
1. Плитка покрытия, представляющая собой или содержащая трехмерную каркасную структуру, характеризующаяся тем, что каркасная структура состоит из двух частей – верхней и нижней, соединенных между собой, и содержит замковые устройства, расположенные на части периметра плитки, причем нижняя часть представляет собой решетку, узлы которой выполнены в виде цилиндров, или сужающихся книзу усеченных конусов, или пирамид, причем каждый узел решетки выполнен полым, а, по крайней мере, часть из узлов решетки снабжена ребрами жесткости, по меньшей мере, два из которых соединены с ребрами жесткости соседних узлов, образуя связи решетки в виде арок, на которые опирается верхняя часть каркасной структуры, при этом верхняя часть каркасной структуры соединена с ее нижней частью монолитно или разъемно и выполнена в виде плоского листа, или множества листов, и/или множества площадок, преимущественно соосно соединенных с узлами нижней части, а замковые устройства выполнены в виде полых цилиндров, или полых усеченных конусов, или пирамид, соединенных с нижней частью каркасной структуры, по крайней мере, одним несущим соединительным элементом, при этом две стороны плитки содержат, по меньшей мере, два, преимущественно четыре, замковых устройства, выполненных с возможностью соединения с любым узлом решетки нижней части каркасной структуры такой же плитки.
2. Плитка по п.1, отличающаяся тем, что верхняя часть каркасной структуры соединена с ее нижней частью через соединение типа паз – шип, причем пазом служит полость узла решетки нижней части.
3. Плитка по п.2, отличающаяся тем, что шип выполнен симметрично по центру каждой из площадок верхней части каркасной структуры.
4. Плитка по п.1, отличающаяся тем, что плитка выполнена многосекционной с разделением секций между собой выполненными в нижней части каркасной структуры деформационными швами, образованными из расположенных между ребрами жесткости части смежных узлов V- или U-образных элементов.
5. Плитка по п.1, отличающаяся тем, что, по крайней мере, часть площадок верхней части каркасной структуры связана между собой монолитно X-образными элементами.
6. Плитка по п.1, отличающаяся тем, что верхняя часть каркасной структуры выполнена многослойной.
7. Плитка по п.1, отличающаяся тем, что верхняя часть каркасной структуры выполнена размерами, не совпадающими с размерами нижней части плитки.
8. Плитка по п.1, отличающаяся тем, что каждая площадка верхней части каркасной структуры представляет собой тело, ограниченное сверху выпуклой поверхностью, выпуклостью направленной вверх, боковые грани тела также выполнены выпуклыми, а верхние ребра площадок скруглены, при этом боковые грани соседних площадок преимущественно направлены выпуклостями одна к другой, а между соседними гранями близлежащих площадок образован зазор, ширина которого выполнена переменной по длине этих боковых граней.
9. Плитка по п.1, отличающаяся тем, что площадки верхней части выполнены круглой формы или квадратной формы со скругленными углами и выпуклой верхней поверхностью.
10. Плитка по п.1, отличающаяся тем, что верхняя часть каркасной структуры выполнена с шероховатой верхней поверхностью или с нанесенными на ее верхнюю поверхность бороздами.
11. Плитка по п.1, отличающаяся тем, что, по крайней мере, одна из частей каркасной структуры плитки, верхняя или нижняя, выполнена из термопласта методом литья под давлением.
12. Плитка по п.1, отличающаяся тем, что в пределах одной плитки верхняя часть каркасной структуры выполнена из независимых друг от друга площадок, или блоков площадок, или листов.
13. Плитка по п.1, отличающаяся тем, что ребра жесткости узлов решетки выполнены с увеличением их высоты и/или толщины к верхней части узлов и образованием дополнительных опор для опирания верхней части.
14. Плитка по п.1, отличающаяся тем, что плитка выполнена с каналами для скрытой прокладки коммуникаций.
15. Плитка по п.1, отличающаяся тем, что полости замковых устройств имеют коническую или цилиндрическую конфигурацию.
16. Плитка по п.1, отличающаяся тем, что полости, по крайней мере, части замковых устройств плитки выполнены с фаской в верхней части.
17. Плитка по п.1, отличающаяся тем, что несущий соединительный элемент замкового устройства или его часть выполнена с переменной высотой, нарастающей к узлу каркасной структуры нижней части решетки.
18. Плитка по п.1, отличающаяся тем, что замковые устройства соединены с нижней частью каркасной структуры двумя несущими соединительными элементами, образующими между собой прямой угол и размещенными по отношению к ближайшим смежным с ними ребрам жесткости узлов нижней части каркасной структуры под углом 45°.
19. Плитка по п.1, отличающаяся тем, что высота полых цилиндров, или полых усеченных конусов, или пирамид замковых устройств выполнена не превышающей 80% от высоты узла нижней части каркасной структуры.
20. Плитка по п.1, отличающаяся тем, что внутренний размер и конфигурация полостей замковых устройств выбраны из условия прохождения и обеспечения зацепления, например, внатяг с любым узлом решетки нижней части каркасной структуры такой же плитки.
21. Плитка по п.1, отличающаяся тем, что замковые устройства расположены на противоположных сторонах плитки.
22. Плитка по п.1, отличающаяся тем, что замковые устройства расположены на смежных сторонах плитки.
РИСУНКИ
MM4A – Досрочное прекращение действия патента СССР или патента Российской Федерации на изобретение из-за неуплаты в установленный срок пошлины за поддержание патента в силе
Дата прекращения действия патента: 06.06.2009
Извещение опубликовано: 20.03.2010 БИ: 08/2010
NF4A – Восстановление действия патента СССР или патента Российской Федерации на изобретение
Дата, с которой действие патента восстановлено: 27.03.2010
Извещение опубликовано: 27.03.2010 БИ: 09/2010
|