|
|
(21), (22) Заявка: 2007137358/03, 10.10.2007
(24) Дата начала отсчета срока действия патента:
10.10.2007
(46) Опубликовано: 27.03.2009
(56) Список документов, цитированных в отчете о поиске:
DE 946970 А, 09.08.1956. SU 141815 А, 01.01.1961. GB 1302988 A, 10.01.1973. US 4233698 A, 18.11.1980.
Адрес для переписки:
300001, Тульская обл., г.Тула, ул. Епифанская, 29, кв.211, пат.пов. В.И.Курчакову
|
(72) Автор(ы):
Панкратов Андрей Викторович (RU), Андреев Игорь Вячеславович (RU), Егоров Виктор Иванович (RU), Касаткин Михаил Георгиевич (RU), Крючков Борис Сергеевич (RU)
(73) Патентообладатель(и):
Общество с ограниченной ответственностью “Санприбор” (RU)
|
(54) КРАН СМЫВНОЙ (ВАРИАНТЫ)
(57) Реферат:
Изобретение относится к области санитарной техники. Кран смывной содержит корпус с впускным и выпускным патрубками, а также с впускной и выпускной полостями с перепускным отверстием между ними. Причем впускная полость включает цилиндрический участок, внутри которого коаксиально размещены поршень, взаимодействующий с седлом перепускного отверстия, и шток. Также устройство включает установленную на корпусе со стороны цилиндрического участка впускной полости резьбовую пробку с прокладкой и механизм приведения крана в действие. При этом механизм приведения крана в действие включает подпружиненную кнопку, установленную на корпусе со стороны, противоположной размещению поршня, и снабженную осью с резьбовым отверстием, расположенной в направляющей, выполненной в корпусе и снабженной герметичным уплотнением. Шток выполнен в виде винта, головка которого размещена внутри поршня с образованием зазора и возможностью осевого перемещения в сторону пробки. По второму варианту изобретения механизм приведения крана в действие включает подпружиненную ручку, установленную на корпусе со стороны размещения поршня и снабженную осью, расположенной в направляющей, выполненной, по крайней мере, в пробке и снабженной герметичным уплотнением. Шток выполнен регулируемым по длине – в виде винта с удлиненной головкой, частично размещенной внутри поршня с образованием зазора и возможностью осевого перемещения в сторону пробки. Технический результат заключается в повышении надежности конструкции. 2 н. и 7 з.п. ф-лы, 2 ил.
Изобретение относится к области производства сантехнического оборудования, а именно к открываемым вручную и автоматически закрывающимся смывным кранам, предназначенным для промывки унитазов, напольных чаш, писсуаров и других санитарно-технических приборов аналогичного назначения, присоединенных непосредственно к системе хозяйственно-питьевого водопровода, и может быть использовано в системах смыва туалета.
Известен смывной кран, состоящий из корпуса с впускным и выпускным патрубками, размещенных коаксиально внутри корпуса поршня с уплотнительными прокладками на торцевых плоскостях и канавкой на цилиндрической поверхности, штока с грибовидной головкой, установленного с зазором в осевом отверстии поршня и герметично в отверстии корпуса. Перемещение штока относительно поршня ограничивает штифт, смонтированный в отверстии штока на некотором расстоянии от торца поршня. Технологическое отверстие корпуса, через которое осуществляется установка поршня в сборе со штоком и штифтом, герметично закрывает прокладка с пробкой, навинчиваемой по резьбе корпуса. Со стороны, противоположной грибовидной головке, шток подвижно соединен с пусковым рычагом, установленным на корпусе с помощью оси [описание изобретения к патенту Финляндии №20328, МПК7 Е03D 1/34, опубл. 06.02.1945].
Кран смывной данной конструкции открывается и закрывается вручную путем нажатия и возврата в исходное положение пускового рычага, что противоречит требованиям действующего Межгосударственного стандарта ГОСТ 11614-94 «Краны смывные полуавтоматические. Технические условия», М., 1994.
Известен кран смывной в виде корпуса с коаксиально установленными внутри него основным поршнем с уплотнительной манжетой и запорным клапаном и штоком, шарнирно соединенным с головкой. Корпус имеет впускной и выпускной патрубки. Технологическое отверстие корпуса, через которое осуществляется установка поршня в сборе со штоком, герметично закрывает прокладка с пробкой, навинчиваемой по резьбе корпуса, при этом между пробкой и поршнем установлена пружина, а внутри поршня имеется промежуточная камера, в которой размещены пружина, вентиль разгрузки камеры противодавления, образуемой в пространстве между корпусом, пробкой и поршнем, и шарнирное крепление головки на штоке. В стенке поршня предусмотрено отверстие, соединяющее его внешнюю поверхность с промежуточной камерой, в которое ввернут регулировочный винт. Со стороны, противоположной размещению основного поршня, шток подвижно соединен через патрубок с пусковым рычагом, установленным на корпусе с помощью оси. Перемещение пускового рычага регулируют ограничительным винтом, размещенным в отверстии корпуса [описание изобретения к патенту ФРГ №803044, Klasse 85 h Gruppe 9, опубл. 26.02.1951].
Известная конструкция крана смывного при его открытии вручную и автоматическом закрывании позволяет регулировать количество воды, подаваемой на смыв. Однако она содержит большое количество деталей, включая достаточно сложные, что снижает надежность работы устройства и ведет к удорожанию производства кранов.
Наконец, известен кран смывной, содержащий корпус с впускным и выпускным патрубками и соответственно впускной и выпускной полостями с перепускным отверстием между ними, причем впускная полость включает цилиндрический участок, внутри которого коаксиально размещены поршень, взаимодействующий с седлом перепускного отверстия через запорный клапан, и шток, установленную на корпусе со стороны цилиндрического участка впускной полости резьбовую пробку с прокладкой и рычажный механизм приведения крана в действие. При этом в стенке поршня предусмотрено отверстие, соединяющее его внешнюю поверхность с внутренней полостью, являющейся частью камеры противодавления, образуемой цилиндрическим участком впускной полости корпуса между пробкой и поршнем [описание изобретения к патенту ФРГ №946970, Klasse 85 h Gruppe 9 (Internat. klasse E03d), опубл. 09.08.1956].
Несмотря на существенное упрощение данной конструкции крана по сравнению с предыдущей, в ней присутствуют два отдельных механизма, один из которых обеспечивает при нажатии вручную на рычаг управления сброс давления в соответствующей камере, второй – открытие и закрытие запорного клапана. Такое количество подлежащих герметизации поверхностей делает известный кран недостаточно надежным.
Задача, решаемая первым изобретением группы, и достигаемый технический результат заключаются в создании технологичной конструкции смывного крана, упрощении его конструкции, повышении надежности работы и снижении затрат на изготовление.
Для решения поставленной задачи и достижения заявленного технического результата в известном кране смывном, содержащем корпус с впускным и выпускным патрубками и соответственно впускной и выпускной полостями с перепускным отверстием между ними, причем впускная полость включает цилиндрический участок, внутри которого коаксиально размещены поршень, взаимодействующий с седлом перепускного отверстия, и шток, установленную на корпусе со стороны цилиндрического участка впускной полости резьбовую пробку с прокладкой и механизм приведения крана в действие, который включает подпружиненную кнопку, установленную на корпусе со стороны, противоположной размещению поршня, и снабженную осью с резьбовым отверстием, расположенной в направляющей, снабженной герметичным уплотнением и выполненной в корпусе, шток выполнен в виде винта, головка которого размещена внутри поршня с образованием зазора и возможностью осевого перемещения в сторону пробки, а резьбовая часть винта ввернута в резьбовое отверстие оси кнопки, при этом на внутренней поверхности цилиндрического участка впускной полости корпуса выполнена продольная канавка, длина которой превышает ход поршня по обе его стороны.
Кроме этого:
– поршень снабжен манжетой, открытая полость которой расположена со стороны впускного патрубка;
– шток выполнен регулируемым по длине и снабжен контргайкой, расположенной на его резьбовой части;
– герметичное уплотнение оси кнопки выполнено в виде манжеты, взаимодействующей с осью;
– по меньшей мере часть корпуса со стороны кнопки включает поверхность для упора ее пружины.
Приведенный выше уровень техники, включая ближайший аналог, применим и для второго изобретения группы.
Задача, решаемая вторым изобретением группы, и достигаемый технический результат заключаются в создании технологичной конструкции смывного крана, в дальнейшем упрощении его конструкции, повышении надежности работы и снижении затрат на изготовление.
Для решения поставленной задачи и достижения заявленного технического результата в известном кране смывном, содержащем корпус с впускным и выпускным патрубками и соответственно впускной и выпускной полостями с перепускным отверстием между ними, причем впускная полость включает цилиндрический участок, внутри которого коаксиально размешены поршень, взаимодействующий с седлом перепускного отверстия, и шток, установленную на корпусе со стороны цилиндрического участка впускной полости резьбовую пробку с прокладкой и механизм приведения крана в действие, который включает подпружиненную ручку, установленную на корпусе со стороны размещения поршня и снабженную осью, расположенной в направляющей, выполненной, по крайней мере, в пробке и снабженной герметичным уплотнением, шток выполнен регулируемым по длине – в виде винта с удлиненной головкой, частично размещенной внутри поршня с образованием зазора и возможностью осевого перемещения в сторону пробки, а второй частью связан с осью ручки, причем резьбовая часть винта снабжена гайкой и контргайкой, при этом на внутренней поверхности цилиндрического участка впускной полости корпуса выполнена продольная канавка, длина которой превышает ход поршня по обе его стороны.
Кроме этого:
– поршень снабжен манжетой, открытая полость которой расположена со стороны впускного патрубка;
– герметичное уплотнение подпружиненной ручки выполнено в виде манжеты, взаимодействующей с ее осью;
– удлиненная головка винта снабжена резьбой для размещения и фиксации на ней упора для пружины ручки.
Изобретения поясняются чертежами, где:
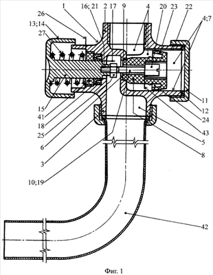
– на фиг.1 изображен общий вид крана смывного – первый вариант, с механизмом приведения крана в действие, который включает подпружиненную кнопку;
– на фиг.2 – общий вид крана смывного – второй вариант, с механизм приведения крана в действие, который включает подпружиненную ручку.
Кран смывной независимо от варианта исполнения содержит корпус 1 с впускным 2 и выпускным 3 патрубками и соответственно впускной 4 и выпускной 5 полостями с перепускным отверстием 6 между ними, причем впускная полость 4 включает цилиндрический участок 7, внутри которого коаксиально размещены поршень 8, взаимодействующий с седлом 9 перепускного отверстия 6, и шток 10, установленную на корпусе 1 со стороны цилиндрического участка 7 впускной полости 4 резьбовую пробку 11 с прокладкой 12 и механизм 13 приведения крана в действие.
В зависимости от варианта исполнения крана, например для его первого варианта, механизм 13 приведения его в действие может включать подпружиненную кнопку 14, установленную на корпусе 1 со стороны, противоположной размещению поршня 8, и снабженную осью 15 с резьбовым отверстием 16, расположенной в направляющей 17, выполненной в корпусе 1 и снабженной герметичным уплотнением в виде манжеты 18, взаимодействующей с осью 15, шток 10 выполнен в виде винта 19, головка 20 которого размещена внутри поршня 8 с образованием зазора и возможностью осевого перемещения в сторону пробки 11, а резьбовая часть 21 винта 19 ввернута в резьбовое отверстие 16 оси 15 кнопки 14, при этом на внутренней поверхности цилиндрического участка 7 впускной полости 4 корпуса 1 выполнена продольная канавка 22, длина которой превышает ход поршня 8 по обе его стороны. Дополнительно поршень 8 снабжен манжетой 23, открытая полость 24 которой расположена со стороны впускного патрубка 2, шток 10 выполнен регулируемым по длине и снабжен контргайкой 25, расположенной на его резьбовой части 21. Кроме того, часть корпуса 1 со стороны кнопки 14 включает поверхность 26 для упора ее пружины 27.
Предлагаемая конструкция крана смывного предусматривает применение корпуса 1 достаточно сложного конструктивного и технологического исполнения. Кнопочные механизмы 13 спуска воды (привода крана в действие) находят ограниченное применение в конструкции смывных кранов, например, по сравнению с рычажными (см. уровень техники). Для ряда потребителей более привычен механизм привода, выполненный в виде выдвигающейся рукоятки, например, поднимающейся вверх.
Для второго варианта исполнения крана механизм 13 приведения его в действие включает подпружиненную ручку 28, установленную на корпусе 1 со стороны размещения поршня 8 и снабженную осью 29, расположенной в направляющей 30, выполненной, по крайней мере, в пробке 11 (которая может быть не только деталью, но и сборочной единицей) и снабженной герметичным уплотнением в виде манжеты 31, взаимодействующей с осью 29, шток 10 выполнен регулируемым по длине в виде винта 32 с удлиненной головкой 33, частично размещенной внутри поршня 8 с образованием зазора и возможностью осевого перемещения в сторону пробки 11, а своей второй частью связан с осью 29 ручки 28 (т.е. является ее продолжением), причем резьбовая часть 34 винта 32 снабжена гайкой 35 и контргайкой 36, при этом на внутренней поверхности цилиндрического участка 7 впускной полости 4 корпуса 1 выполнена продольная канавка 37, длина которой превышает ход поршня 8 по обе его стороны. Дополнительно поршень 8 снабжен манжетой 23, открытая полость 24 которой расположена со стороны впускного патрубка 2, а удлиненная головка 33 винта 32 снабжена резьбой 38 для размещения и фиксации на ней упора 39 для пружины 40 ручки 28.
Проанализируем существенность признаков заявляемых изобретений.
Использование смывных кранов по сравнению с традиционными смывными бачками и бачками компакт-унитазов, особенно в местах общего пользования, является более предпочтительным по ряду причин. При сохранении функционального назначения смывные краны менее материалоемки, обладают меньшими габаритами и выглядят достаточно эстетично. Малые габариты крана не позволяют использовать их для размещения во внутреннем объеме посторонних предметов, не предусмотренных правилами эксплуатации, таких, например, как взрывчатка и т.п.
Заявляемые в качестве изобретений технические решения предусматривают два варианта исполнения. Один – с кнопочным механизмом приведения крана в действие, а другой – с механизмом, приводимым в действие при помощи ручки с удобной сферической головкой. В обоих случаях уплотнение движущихся элементов устройств происходит с использованием надежных герметичных уплотнений, причем цилиндрические оси и цилиндрические полости уплотняются по одинаковому принципу, что в сочетании с унифицированными и стандартизованными деталями позволяет существенно упростить конструкцию кранов, повысить их надежность и долговечность работы. Автоматизация процесса спуска воды решена с использованием конструктивной доработки элементов корпуса и простейших настроек при монтаже, что позволяет управлять им в довольно широких пределах. Это очень важно для случаев эксплуатации устройств в условиях разности напора воды, например первого по сравнению с девятым или еще более высокими этажами.
Сборка крана смывного по первому варианту и его монтаж осуществляются в следующей последовательности.
В соответствующие посадочные места корпуса 1 вставляют ориентированную соответствующим образом уплотнительную манжету 18, которую фиксируют, например, при помощи полиамидной втулки 41 с наружной резьбой, в которой выполнено направляющее отверстие, дополнительное к направляющей 17 в корпусе 1. Поршень 8 собирается с винтом 19, на резьбовую часть 21 которого наворачивают контргайку 25. На ось 15 кнопки 14 надевают пружину 27 и начинают вставлять ее в направляющее отверстие полиамидной втулки 41 и направляющую 17 в корпусе 1, преодолевая при этом усилие пружины 27. Во впускную полость 4 со стороны цилиндрического участка 7 вставляют собранный поршень 8 резьбовой частью 21 винта 16 (он же – шток 10) вперед до его контакта с резьбовым отверстием 16 оси 15 кнопки 14, после чего винт 16 вворачивают до определенного положения, зависящего от этажности места установки (технологической величины напора воды) и надежно стопорят контргайкой 25. Цилиндрический участок 7 впускной полости 4 наглухо закрывают резьбовой пробкой 11. В таком виде кран смывной готов к монтажу. Для этого его впускным патрубком 2 подсоединяют к магистральному трубопроводу (возможно после отдельного запорного крана), а выпускным патрубком 3 через соответствующее переходное колено (присоединительную трубу) 42 – к входному отверстию раковины унитаза (условно не показаны). В магистраль подают воду (открывают запорный кран) – устройство готово к эксплуатации.
Кран смывной по первому варианту работает следующим образом.
При нажатии на кнопку 14 шток 10 начинает перемещаться, головка 20 винта 19 отходит от контактной плоскости 43 поршня 8 – происходит разгерметизация впускной полости 4, образованной ее цилиндрическим участком 7. При дальнейшем поступательном движении кнопки 14 начинают воздействовать непосредственно на поршень 8 через контргайку 25. Поршень 8 легко смещается в сторону резьбовой пробки 11. Вода из магистральной сети через перепускное отверстие 6 устремляется (начинает поступать) в выпускную полость 5 и оттуда через переходное колено 42 в раковину унитаза. Кнопка 14 отпускается, головка 20 винта 19 прижимается к контактной плоскости 43 поршня 8, закупоривая его, и сразу же во впускную полость 4, образованную ее цилиндрическим участком 7 через продольную канавку 22 начинает поступать вода, вследствие чего давление в полости 4 поднимается и передается на поршень 8, который начинает смещаться в сторону седла 9 перепускного отверстия 6 и надежно перекрывать его. Наличие манжеты 23 на поршне 8 позволяет исключить неконтролируемое поступление воды и скорость перемещения поршня в таких условиях будет определяться исключительно геометрическими характеристиками продольной канавки 22. Следует отметить, что усилие возвратной пружины 27 кнопки 13 никоим образом не влияет на скорость перемещения поршня 8. Время срабатывания крана будет зависеть только от величины заданного кнопкой 14 перемещения герметизирующей поверхности поршня 8 относительно седла 9 перепускного отверстия 6. В любом случае, можно выбрать такой режим поступления воды в раковину унитаза, который позволит обеспечить выполнение краном его основной функции. В случае, если пользователь крана не знаком с его техническими возможностями, он может нажать кнопку 14 до упора, при этом произойдет гарантированное выполнение краном своей функции, правда с возможным перерасходом воды.
Сборка крана смывного по второму варианту и его монтаж осуществляются в следующей последовательности.
Вначале берут ручку 28, например, с навинченной сферической головкой 44 и начинают последовательно нанизывать на ее ось 29 и шток 10 (винт 32 с удлиненной головкой 33) (или размещать на них) крышку 11 с направляющей 30, оснащенной уплотнительной манжетой 31, пружину 40, упор 39 для пружины 40 и поршень 8, после чего на резьбовую часть 34 винта 32 наворачивают гайку 35 и контргайку 36.
Собранный узел вставляют во впускную полость 4 корпуса 1 со стороны его цилиндрического участка 7 до положения, когда поршень 8 упрется в седло 9 перепускного отверстия 6. После этого, воздействуя на пробку 11 и преодолевая усилие сжатия пружины, 40 доводят ее до контакта с резьбой 45 цилиндрического участка 7 впускной полости 4 и надежно заворачивают до упора. При необходимости кран может настраиваться по принципу, аналогичному принципу настройки крана по предыдущему варианту. Таким образом, кран смывной готов к монтажу, особенность которого по сравнению с монтажом предыдущего крана заключается в расположении трубы магистрального трубопровода. Если в предыдущем случае труба должна располагаться сверху, то в этом – сбоку или со стороны стены.
Кран смывной по второму варианту работает следующим образом.
При подъеме сферической головки 44 ручки 28 шток 10 начинает перемещаться, удлиненная головка 33 винта 32 отходит от контактной плоскости 43 поршня 8 – происходит разгерметизация впускной полости 4, образованной ее цилиндрическим участком 7. При дальнейшем поступательном движении штока 10 гайка 35 начинает воздействовать на поршень 8, и он легко начинает смещаться в сторону резьбовой пробки 11. Вода устремляется в выпускную полость 5 и далее через переходное колено 42 в раковину унитаза.
Сферическая головка 44 ручки 28 отпускается, пружина 40 прижимает головку 33 винта 32 к контактной плоскости 43 поршня 8, закупоривая его, и сразу же во впускную полость 4, образованную ее цилиндрическим участком 7, через продольную канавку 37 начинает поступать вода – поршень 8 начинает смещаться в сторону седла 9 перепускного отверстия 6, перекрывая его. Истечение воды прекращается. В остальном особенности эксплуатации крана смывного аналогичны описанному выше для первого варианта изобретения.
При изготовлении кранов смывных используются распространенные технологии, материалы и комплектующие. Часть деталей обоих кранов унифицирована, что позволяет существенно снизить издержки их производства.
Таким образом, в результате решения поставленных задач были созданы очередные варианты конструкции смывных кранов, отличающиеся относительной простотой, технологичных в изготовлении, сборке и монтаже, что позволило снизить затраты на изготовление, повысить надежность их работы и соответственно увеличить время безотказной работы.
Формула изобретения
1. Кран смывной, содержащий корпус с впускным и выпускным патрубками и соответственно впускной и выпускной полостями с перепускным отверстием между ними, причем впускная полость включает цилиндрический участок, внутри которого коаксиально размещены поршень, взаимодействующий с седлом перепускного отверстия, и шток, установленную на корпусе со стороны цилиндрического участка впускной полости резьбовую пробку с прокладкой и механизм приведения крана в действие, отличающийся тем, что механизм приведения крана в действие включает подпружиненную кнопку, установленную на корпусе со стороны, противоположной размещению поршня, и снабженную осью с резьбовым отверстием, расположенной в направляющей, выполненной в корпусе и снабженной герметичным уплотнением, шток выполнен в виде винта, головка которого размещена внутри поршня с образованием зазора и возможностью осевого перемещения в сторону пробки, а резьбовая часть винта ввернута в резьбовое отверстие оси кнопки, при этом на внутренней поверхности цилиндрического участка впускной полости корпуса выполнена продольная канавка, длина которой превышает ход поршня по обе его стороны.
2. Кран по п.1, отличающийся тем, что поршень снабжен манжетой, открытая полость которой расположена со стороны впускного патрубка.
3. Кран по п.1, отличающийся тем, что шток выполнен регулируемым по длине и снабжен контргайкой, расположенной на его резьбовой части.
4. Кран по п.1, отличающийся тем, что герметичное уплотнение оси кнопки выполнено в виде манжеты, взаимодействующей с осью.
5. Кран по п.1, отличающийся тем, что, по меньшей мере, часть корпуса со стороны кнопки включает поверхность для упора ее пружины.
6. Кран смывной, содержащий корпус с впускным и выпускным патрубками и соответственно впускной и выпускной полостями с перепускным отверстием между ними, причем впускная полость включает цилиндрический участок, внутри которого коаксиально размещены поршень, взаимодействующий с седлом перепускного отверстия, и шток, установленную на корпусе со стороны цилиндрического участка впускной полости резьбовую пробку с прокладкой и механизм приведения крана в действие, отличающийся тем, что механизм приведения крана в действие включает подпружиненную ручку, установленную на корпусе со стороны размещения поршня и снабженную осью, расположенной в направляющей, выполненной, по крайней мере, в пробке и снабженной герметичным уплотнением, шток выполнен регулируемым по длине в виде винта с удлиненной головкой, частично размещенной внутри поршня с образованием зазора и возможностью осевого перемещения в сторону пробки, а второй частью связан с осью ручки, причем резьбовая часть винта снабжена гайкой и контргайкой, при этом на внутренней поверхности цилиндрического участка впускной полости корпуса выполнена продольная канавка, длина которой превышает ход поршня по обе его стороны.
7. Кран по п.6, отличающийся тем, что поршень снабжен манжетой, открытая полость которой расположена со стороны впускного патрубка.
8. Кран по п.6, отличающийся тем, что герметичное уплотнение подпружиненной ручки выполнено в виде манжеты, взаимодействующей с ее осью.
9. Кран по п.6, отличающийся тем, что удлиненная головка винта снабжена резьбой для размещения и фиксации на ней упора для пружины ручки.
РИСУНКИ
|
|