|
|
(21), (22) Заявка: 2007113389/03, 10.04.2007
(24) Дата начала отсчета срока действия патента:
10.04.2007
(43) Дата публикации заявки: 27.10.2008
(46) Опубликовано: 27.03.2009
(56) Список документов, цитированных в отчете о поиске:
RU 2236517 С2, 20.09.2004. FR 2309816 A1, 26.11.1976. FR 2228208 A1, 29.11.1974. DE 4410447 A1, 28.09.1995.
Адрес для переписки:
443100, г.Самара, ул. Молодогвардейская, 244, Главный корпус СамГТУ, патентный отдел
|
(72) Автор(ы):
Кудинов Анатолий Александрович (RU), Зиганшина Светлана Камиловна (RU), Горбачев Илья Николаевич (RU)
(73) Патентообладатель(и):
Государственное образовательное учреждение высшего профессионального образования Самарский государственный технический университет (RU)
|
(54) СИСТЕМА ОБОРОТНОГО ВОДОСНАБЖЕНИЯ ЭЛЕКТРОСТАНЦИИ С ГРАДИРНЕЙ
(57) Реферат:
Изобретение относится к области энергетики. Система оборотного водоснабжения электростанции с градирней содержит самотечный водовод к циркуляционному насосу, рециркуляционный трубопровод, соединяющий напорный трубопровод к конденсатору паровой турбины со сливным напорным трубопроводом к градирне, состоящей из вытяжной башни и водосборного бассейна, соединенного самотечным перепускным каналом с водоприемным колодцем. При этом вытяжная башня снабжена водораспределительным лотком с разбрызгивающими соплами, оросительным устройством и водоуловителем. Система оборотного водоснабжения электростанции с градирней дополнительно снабжена регулятором расхода циркуляционной воды, подаваемой в конденсатор паровой турбины, связанным с датчиком давления в конденсаторе и регулирующим органом, установленным на напорном трубопроводе к конденсатору паровой турбины, и регулятором расхода циркуляционной воды по рециркуляционному трубопроводу. При этом регулятор расхода связан с датчиком расхода и с датчиком температуры циркуляционной воды на входе в конденсатор и регулирующим органом, установленным на рециркуляционном трубопроводе. Технический результат заключается в повышении тепловой эффективности системы оборотного водоснабжения и экономичности электростанции. 1 ил.
Изобретение относится к энергетике и может быть использовано на тепловых электрических станциях.
Известен аналог – система оборотного водоснабжения электростанции с градирней (см. патент РФ №2236517, БИ №26, 2004), содержащая самотечный водовод к циркуляционному насосу, рециркуляционный трубопровод, соединяющий напорный трубопровод к конденсатору паровой турбины со сливным напорным трубопроводом к градирне, состоящей из вытяжной башни и водосборного бассейна, соединенного самотечным перепускным каналом с водоприемным колодцем, при этом вытяжная башня снабжена водораспределительным лотком с разбрызгивающими соплами, оросительным устройством и водоуловителем. Данный аналог принят за прототип.
К причине, препятствующей достижению указанного ниже технического результата при использовании известной системы оборотного водоснабжения электростанции с градирней, принятой за прототип, относится то, что при реализации известной системы оборотного водоснабжения электростанции с градирней не осуществляется непрерывное регулирование расхода и температуры циркуляционной воды, подаваемой в конденсатор паровой турбины в зависимости от давления в нем. Температура циркуляционной воды и давление в конденсаторе паровой турбины в процессе работы электростанции могут изменяться. Так, при повышении температуры атмосферного воздуха степень охлаждения циркуляционной воды в градирне башенного типа снижается, а температура воды на выходе из градирни возрастает, что приводит к повышению давления в конденсаторе паровой турбины и снижению коэффициента полезного действия электростанции. Кроме того, при увеличении пропуска отработавшего в турбине пара в конденсатор для поддерживания заданного давления (экономического вакуума) в нем необходимо понижать температуру циркуляционной воды или увеличивать ее расход через конденсатор паровой турбины. Так как при эксплуатации турбинной установки давление в конденсаторе изменяется в зависимости от температуры циркуляционной воды и пропуска пара в конденсатор, то для поддерживания экономического вакуума в конденсаторе паровой турбины необходимо осуществлять регулирование расхода и температуры циркуляционной воды, подаваемой в конденсатор паровой турбины.
Сущность изобретения заключается в следующем. Для повышения тепловой эффективности системы оборотного водоснабжения электростанции с градирней с целью повышения экономичности электростанции целесообразно осуществлять непрерывный контроль и поддерживать на заданном уровне в соответствии с давлением в конденсаторе паровой турбины расход и температуру циркуляционной воды на входе в конденсатор. Для этого предлагается установить в системе оборотного водоснабжения электростанции с градирней регулятор расхода циркуляционной воды, подаваемой в конденсатор паровой турбины, связанный с датчиком давления в конденсаторе и регулирующим органом, установленным на напорном трубопроводе к конденсатору паровой турбины, и регулятор расхода циркуляционной воды по рециркуляционному трубопроводу, связанный с датчиком расхода и с датчиком температуры циркуляционной воды на входе в конденсатор и регулирующим органом, установленным на рециркуляционном трубопроводе, соединяющем напорный трубопровод к конденсатору паровой турбины со сливным напорным трубопроводом к градирне.
Технический результат – повышение тепловой эффективности системы оборотного водоснабжения электростанции с градирней путем осуществления непрерывного контроля и поддерживания на заданном уровне в соответствии с давлением в конденсаторе паровой турбины расхода и температуры циркуляционной воды на входе в конденсатор.
Указанный технический результат при осуществлении изобретения достигается тем, что известная система оборотного водоснабжения электростанции с градирней содержит самотечный водовод к циркуляционному насосу, рециркуляционный трубопровод, соединяющий напорный трубопровод к конденсатору паровой турбины со сливным напорным трубопроводом к градирне, состоящей из вытяжной башни и водосборного бассейна, соединенного самотечным перепускным каналом с водоприемным колодцем, при этом вытяжная башня снабжена водораспределительным лотком с разбрызгивающими соплами, оросительным устройством и водоуловителем. Особенность заключается в том, что система оборотного водоснабжения электростанции с градирней дополнительно снабжена регулятором расхода циркуляционной воды, подаваемой в конденсатор паровой турбины, связанным с датчиком давления в конденсаторе и регулирующим органом, установленным на напорном трубопроводе к конденсатору паровой турбины, и регулятором расхода циркуляционной воды по рециркуляционному трубопроводу, связанным с датчиком расхода и с датчиком температуры циркуляционной воды на входе в конденсатор и регулирующим органом, установленным на рециркуляционном трубопроводе.
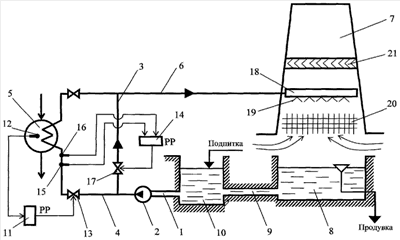
На чертеже представлена схема системы оборотного водоснабжения электростанции с градирней.
Система оборотного водоснабжения электростанции с градирней содержит самотечный водовод 1 к циркуляционному насосу 2, рециркуляционный трубопровод 3, соединяющий напорный трубопровод 4 к конденсатору 5 паровой турбины со сливным напорным трубопроводом 6 к градирне, состоящей из вытяжной башни 7 и водосборного бассейна 8, соединенного самотечным перепускным каналом 9 с водоприемным колодцем 10, регулятор 11 расхода циркуляционной воды, подаваемой в конденсатор 5 паровой турбины, связанный с датчиком 12 давления в конденсаторе 5 и регулирующим органом 13 расхода циркуляционной воды, установленным на напорном трубопроводе 4 к конденсатору 5, регулятор 14 расхода циркуляционной воды по рециркуляционному трубопроводу 3, связанный с датчиками 15 и 16 соответственно расхода и температуры циркуляционной воды на входе в конденсатор 5 и регулирующим органом 17 расхода циркуляционной воды, установленным на рециркуляционном трубопроводе 3. Вытяжная башня 7 градирни снабжена водораспределительным лотком 18 с разбрызгивающими соплами 19, оросительным устройством 20 и водоуловителем 21.
Работа системы оборотного водоснабжения электростанции с градирней осуществляется следующим образом.
Охлажденная в градирне вода циркуляционным насосом 2 по напорному трубопроводу 4 подается в конденсатор 5 паровой турбины, при этом часть общего потока охлажденной воды направляется в рециркуляционный трубопровод 3 на повторное охлаждение, минуя конденсатор 5. В конденсаторе 5 паровой турбины циркуляционная вода нагревается за счет теплоты конденсации (парообразования) отработавшего в турбине пара и совместно с движущейся по рециркуляционному трубопроводу 3 охлажденной водой подается по сливному напорному трубопроводу 6 в водораспределительный лоток 18, откуда поступает в разбрызгивающие сопла 19. С помощью сопел 19 поток воды разбрызгивается и в форме струй и капель падает на оросительное устройство 20, а затем стекает в виде дождя в водосборный бассейн 8.
В вытяжной башне 7 градирни навстречу потоку воды движется атмосферный воздух. В процессе непосредственного контакта теплоносителей осуществляется тепло- и массообмен между водой и воздухом, при этом вода охлаждается, а воздух подогревается и насыщается водяными парами. Затем воздух проходит водоуловитель 21, где из него отделяется капельная влага и через вытяжную башню 7 отводится в атмосферу.
Из водосборного бассейна 8 охлажденная вода по самотечному перепускному каналу 9 поступает в водоприемный колодец 10 и в самотечный водовод 1, откуда циркуляционным насосом 2 снова подается в рециркуляционный и напорный трубопроводы 3 и 4 соответственно.
Давление в конденсаторе 5 паровой турбины поддерживается на заданном уровне путем изменения расхода и температуры циркуляционной воды на входе в конденсатор. В процессе работы системы оборотного водоснабжения электростанции с градирней осуществляется непрерывное измерение давления в конденсаторе 5 паровой турбины датчиком 12. Сигнал от датчика 12 давления в конденсаторе 5 поступает на вход регулятора 11 расхода циркуляционной воды, выход которого соединен с регулирующим органом 13 расхода циркуляционной воды, установленным на трубопроводе 4. Кроме того, в процессе работы системы оборотного водоснабжения электростанции с градирней осуществляется непрерывное измерение расхода и температуры циркуляционной воды на входе в конденсатор 5 паровой турбины соответственно датчиком 15 и 16. Сигналы от датчиков 15 и 16 соответственно расхода и температуры циркуляционной воды на входе в конденсатор 5 поступают на вход регулятора 14 расхода циркуляционной воды по рециркуляционному трубопроводу 3, выход которого соединен с регулирующим органом 17 расхода циркуляционной воды, установленным на рециркуляционном трубопроводе 3.
При возникновении ситуации, когда давление в конденсаторе 5 паровой турбины отклоняется от заданного значения, по сигналу от датчика 12 регулятором 11 вырабатывается командный сигнал на изменение расхода циркуляционной воды, подаваемой в конденсатор 5. Командный сигнал, вырабатываемый регулятором 11, воздействует на регулирующий орган 13, которым осуществляется изменение расхода циркуляционной воды, подаваемой в конденсатор 5. Новому значению расхода циркуляционной воды, величина которого измеряется датчиком 15, соответствует определенное значение ее температуры. При изменении расхода циркуляционной воды на входе в конденсатор 5 регулятором 14 вырабатывается командный сигнал на изменение расхода циркуляционной воды по рециркуляционному трубопроводу 3. Командный сигнал, вырабатываемый регулятором 14, воздействует на регулирующий орган 17, которым осуществляется изменение расхода циркуляционной воды по рециркуляционному трубопроводу 3. Изменением расхода циркуляционной воды по рециркуляционному трубопроводу 3 достигается требуемое значение температуры циркуляционной воды на выходе из градирни, то есть на входе в конденсатор 5, значение которой непрерывно измеряется датчиком 16.
Таким образом, в процессе работы системы оборотного водоснабжения электростанции с градирней будет осуществляться непрерывный контроль и поддерживаться на заданном уровне в соответствии с давлением в конденсаторе паровой турбины расход и температура циркуляционной воды на входе в конденсатор.
Снабжение системы оборотного водоснабжения электростанции с градирней регулятором расхода циркуляционной воды, подаваемой в конденсатор паровой турбины, связанным с датчиком давления в конденсаторе и регулирующим органом, установленным на напорном трубопроводе к конденсатору паровой турбины, и регулятором расхода циркуляционной воды по рециркуляционному трубопроводу, связанным с датчиком расхода и с датчиком температуры циркуляционной воды на входе в конденсатор и регулирующим органом, установленным на рециркуляционном трубопроводе, позволяет осуществлять регулирование расхода и температуры циркуляционной воды, подаваемой в конденсатор паровой турбины, и, тем самым, поддерживать экономический вакуум в конденсаторе, что повышает экономичность электростанции.
Формула изобретения
Система оборотного водоснабжения электростанции с градирней, содержащая самотечный водовод к циркуляционному насосу, рециркуляционный трубопровод, соединяющий напорный трубопровод к конденсатору паровой турбины со сливным напорным трубопроводом к градирне, состоящей из вытяжной башни и водосборного бассейна, соединенного самотечным перепускным каналом с водоприемным колодцем, при этом вытяжная башня снабжена водораспределительным лотком с разбрызгивающими соплами, оросительным устройством и водоуловителем, отличающаяся тем, что система оборотного водоснабжения электростанции с градирней дополнительно снабжена регулятором расхода циркуляционной воды, подаваемой в конденсатор паровой турбины, связанным с датчиком давления в конденсаторе и регулирующим органом, установленным на напорном трубопроводе к конденсатору паровой турбины, и регулятором расхода циркуляционной воды по рециркуляционному трубопроводу, связанным с датчиком расхода и с датчиком температуры циркуляционной воды на входе в конденсатор и регулирующим органом, установленным на рециркуляционном трубопроводе.
РИСУНКИ
|
|