|
|
(21), (22) Заявка: 2007107938/12, 14.07.2005
(24) Дата начала отсчета срока действия патента:
14.07.2005
(30) Конвенционный приоритет:
03.08.2004 TR 2004/01931
(43) Дата публикации заявки: 10.09.2008
(46) Опубликовано: 27.03.2009
(56) Список документов, цитированных в отчете о поиске:
JP 54-016857 А1, 07.02.1979. US 3181827 А, 04.05.1965. ЕР 0695825 А1, 07.02.1996. Лир Э.В. Справочник по электробытовым машинам и приборам. – Киев: Техника, 1976, с.179-181.
(85) Дата перевода заявки PCT на национальную фазу:
05.03.2007
(86) Заявка PCT:
IB 2005/052346 (14.07.2005)
(87) Публикация PCT:
WO 2006/016286 (16.02.2006)
Адрес для переписки:
129090, Москва, ул. Б.Спасская, 25, стр. 3, ООО “Юридическая фирма Городисский и Партнеры”
|
(72) Автор(ы):
АВЧИ Коркут (TR), ОЗКАЛАЙ Корхан (TR)
(73) Патентообладатель(и):
АРЧЕЛЫК АНОНИМ ШИРКЕТИ (TR)
|
(54) СТИРАЛЬНО-СУШИЛЬНАЯ МАШИНА
(57) Реферат:
Стирально-сушильная машина содержит барабан, в который загружается белье, бак, в котором расположен барабан, корпус, вмещающий и поддерживающий бак и другие компоненты, жгут кабелей, передающий напряжение, полученное из сети, к соответствующим функционирующим компонентам, и подвесную пружину. Пружина расположена вблизи жгута кабелей и демпфирует силы, воздействующие на бак, создаваемые в результате веса и динамического движения бака. В машину введен кожух кабелей, на котором расположен жгут кабелей и держатель, содержащий, по меньшей мере, один кожух подвесной пружины. На кожухе прикреплена подвесная пружина так, что предотвращается контакт жгута кабелей и подвесной пружины друг с другом, что является техническим результатом данного изобретения. 5 з.п. ф-лы, 7 ил.
Данное изобретение относится к стирально-сушильным машинам (1), в которых жгут кабелей и подвесная пружина (4) закреплены в желаемом положении.
В стирально-сушильных машинах жгут кабелей, передающих напряжение, полученное из сети к соответствующим функционирующим компонентам, следует надежно прикреплять на корпусе. Особенно в частях, где проходит подвесная пружина, жгут кабелей, включающий в себя кабели и подвесную пружину, которая поддерживает бак во время движения, следует располагать таким способом, чтобы они не контактировали друг с другом и не приводили к утечке тока.
Цель заявленного изобретения – обеспечить стирально-сушильную машину, в которой жгут кабелей и ее подвесная пружина закреплены таким способом, что они не контактируют друг с другом.
Стирально-сушильная машина, спроектированная, чтобы выполнять цель заявленного изобретения, иллюстрирована на приложенных чертежах, где:
фиг.1 – схематичный вид стирально-сушильной машины.
фиг.2 – вид сверху в перспективе держателя.
фиг.3 – вид снизу в перспективе держателя.
фиг.4 – вид в перспективе держателя, помещенного на корпус так, чтобы жгут кабелей и подвесная пружина находились над ним.
фиг.5 – другой вид в перспективе держателя, помещенного на корпус так, чтобы жгут кабелей и подвесная пружина находились над ним.
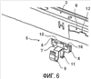
фиг.6 – изображение в разобранном виде корпуса, держателя, жгута кабелей и подвесной пружины.
Стирально-сушильная машина (1) включает в себя барабан (15), в который загружается белье, бак (14), в котором расположен барабан (15), корпус (2), который вмещает и поддерживает бак (14), барабан (15) и другие компоненты, жгут (3) кабелей, имеющий кабели, передающие напряжение, полученное из сети к соответствующим функционирующим компонентам, подвесную пружину (4), которая демпфирует силы, создаваемые в результате веса и динамического движения бака, и держатель (5), который обеспечивает фиксирование подвесной пружины (4) и жгута (3) кабелей, которые близко расположены друг к другу, на корпусе (2), таким способом, чтобы предотвратить их разрушение друг об друга.
Корпус (2) включает в себя проем (6), предпочтительно на выступе из стального листа, до которого можно достать с обеих сторон, в котором располагается держатель (5), и, по меньшей мере, один выступ (12) внутри проема (6) для фиксации суппорта (7).
Держатель (5) в центре включает в себя суппорт (7), канал (8) под суппортом (7), в который вставляются стороны проема (6), обеспечивая его посадку в проем (6), по меньшей мере, один кожух (10) подвесной пружины, где подвесная пружина (4) прикреплена таким способом, чтобы предотвратить контакт жгута (3) кабелей и подвесной пружины (4) друг с другом, кожух (9) кабеля, в котором располагается жгут (3) кабелей, скобу (11), расположенную на одной из сторон суппорта (7), которая предотвращает выпадение подвесной пружины (4) из проема (6) из-за сил, воздействующих на нее, и прорези (13) в форме и количестве, подходящем соответствующим присоединяемым выступам (12), которые обеспечивают фиксацию к корпусу (2).
В предпочтительном варианте осуществления изобретения кожухи (10) подвесной пружины расположены на каждой стороне суппорта (7).
В предпочтительном варианте осуществления изобретения используется кожух (9) кабеля в форме крючка.
В предпочтительном варианте осуществления изобретения корпус (2) включает в себя структуры и поверхности в форме выступов и/или выемок на периферии проема (б), чтобы предотвратить влияние на нее сил и моментов, действующих в различных направлениях.
В предпочтительном варианте осуществления изобретения после того, как держатель (5) помещен в проем (6), приводной агрегат стирально-сушильной машины (1) подвешивается к держателю (5) посредством подвесной пружины (4). Дальнейшие шаги по сборке включают в себя фиксацию кабелей посредством прикрепления жгута (3) кабелей, включающего кабели, к держателю (5).
С применением представленного изобретения предотвращаются последствия, наносимые движущимися компонентами-частями, к которым приложено усилие, такими как подвесная пружина (4), или свободными колебаниями жгута (3) кабеля, таким образом, пользователь защищен от возможной утечки электричества.
Перечень ссылочных позиций:
1. Стирально-сушильная машина;
2. Корпус;
3. Жгут кабелей;
4. Подвесная пружина;
5. Держатель;
6. Проем;
7. Суппорт;
8. Канал;
9. Кожух кабеля;
10. Кожух подвесной пружины;
11. Скоба;
12. Выступ;
13. Прорезь;
14. Бак;
15. Барабан.
Формула изобретения
1. Стирально-сушильная машина (1), включающая в себя барабан (15), в который загружается белье, бак (14), в котором расположен барабан (15), корпус (2), вмещающий и поддерживающий бак (14) и другие компоненты, жгут (3) кабелей, передающий напряжение, полученное из сети, к соответствующим функционирующим компонентам, и подвесную пружину (4), расположенную вблизи жгута (3) кабелей и демпфирующую силы, воздействующие на бак (14), создаваемые в результате веса и динамического движения бака (14), отличающаяся тем, что содержит держатель (5), включающий, по меньшей мере, один кожух (10) подвесной пружины, на котором прикреплена подвесная пружина (4) так, что предотвращается контакт жгута (3) кабелей и подвесной пружины (4) друг с другом, и кожух (9) кабелей, на котором расположен жгут (3) кабелей.
2. Машина (1) по п.1, отличающаяся тем, что содержит корпус (2), включающий в себя проем (6), до которого можно достать с обеих сторон, предпочтительно на выступе из стального листа, в котором располагается держатель (5), и, по меньшей мере, один выступ (12) внутри проема (6), который позволяет прикреплять суппорт (7), при этом держатель (5) имеет прорези (13) на одной из сторон суппорта (7) в форме и количестве, подходящими для крепления к выступам (12), которые обеспечивают его фиксацию к корпусу (2).
3. Машина (1) по п.2, отличающаяся тем, что держатель (5) включает в себя суппорт (7) в его средней части, канал (8) под суппортом (7), в который вставляются стороны проема (6), обеспечивая его посадку в проем (6).
4. Машина (1) по любому из пп.1-3, отличающаяся тем, что держатель (5) включает в себя скобу (11), предотвращающую выпадение подвесной пружины (4) из проема (6) под воздействием сил, приложенных к ней.
5. Машина (1) по любому из пп.1-3, отличающаяся тем, что держатель (5) включает в себя кожух (9) кабелей в форме крючка.
6. Машина (1) по любому из пп.1-3, отличающаяся тем, что держатель (5) включает в себя кожухи (10) подвесной пружины, расположенные на каждой стороне суппорта (7).
РИСУНКИ
|
|